书籍:《炬丰科技-半导体工艺》
文章:衬底的预栅清洗系统和方法
编号:JFKJ-21-297
作者:炬丰科技
摘要
一种用于半导体晶片清洗的系统和方法 ,其中SCI和SC2的使用被淘汰和取代
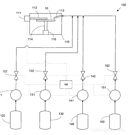
通过使用DIO和稀释化学剂。在一个方面,本发明是一种方法,包括:工艺室至少一个半导体晶圆,具有硅粉底至少有一层二氧化硅层 (b)应用的水溶液氢氟酸在去离子水(DI)到半导体硅片去除二氧化硅层,形成一个门;(c)应用臭氧去离子水(DIO) 半导体晶圆(d)应用稀释溶液 ......

发明摘要
当标准被发现时HF-SC1+SC2的顺序配方用于预浇口。因此,是否已发现开发一种可取的清洁在不降低颗粒和金属去除能力的情况下,从配方中消除SC1的系统和方法。此外,新的清洗系统和方法必须清洗后形成高质量的SiO2层。
实验
本发明改进的浇口前并将其电子Qbd日期与标准进行比较 略
该发明提出了一种替代传统HF-SC1+SC2清洗顺序的新方法,使用DIO和稀释化学剂进行半导体晶片的预栅清洗,旨在提高清洗效率并保持SiO2层的质量。实验结果显示,此新方法在不降低颗粒和金属去除能力的同时,能有效清洗晶片并形成高质量的SiO2层。
511

被折叠的 条评论
为什么被折叠?



