书籍:《炬丰科技-半导体工艺》
文章:湿法处理衬底的设备和系统装置
编号:JFKJ-21-350
作者:炬丰科技
摘要
公开了一种用于湿法处理衬底的设备和系统,其可用于化学处理,例如蚀刻或清洗半导体衬底。该设备具有处理室,在该处理室中湿法处理衬底。处理液通过开口和喷嘴注入处理室,基板漂浮在注入的液体中并通过注入的液体流围绕其中心轴旋转。湿处理系统由上述处理设备、通过水流传送基材的水承载系统和旋转干燥器组成。承水系统还用作洗涤设备。

湿法加工设备
发明背景
1.发明领域
本发明涉及一种用于湿法处理的设备或系统,特别是用于半导体器件制造中的衬底的清洗或蚀刻工艺。本发明提供一种连续一个接一个地处理基板的设备和系统。
2.现有技术的描述
在半导体制造中,有许多湿法工艺,例如基板的清洗和蚀刻。对于这样的工艺,已经使用了批量工艺,其中将多个基板放置在桶中并在篮中蚀刻,或者将基板放置在架子上并浸入蚀刻剂中。在这种批量处理中,难以精确控制蚀刻,因为在桶中的蚀刻剂被水替换或从蚀刻剂中取出支架并浸入水中期间,基板的蚀刻继续进行。此外,难以均匀地处理表面,因为当基板从蚀刻剂中提起时蚀刻剂会从基板的一侧滴下。
发明内容
本发明的主要目的是提供一种可连续处理基材的湿法处理装置。
本发明的另一目的在于提供一种可同时处理基板两面的湿法处理装置。
本发明的另一个目的是提高在待处理基材表面上湿法处理的准确性和均匀性,并提高产量。
本发明的又一目的是提供一种系统fbr湿法处理,该系统可以一个接一个地连续处理基材。
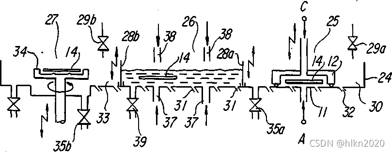
本发明的上述目的通过提供一种设备来实现,该设备用用于湿法处理的液体流来处理基板。基板顺着处理液流向下流动,并被处理液的喷射流旋转。将处理液倾倒或喷洒在基材表面上,从而使基材的两面得到均匀处理。
处理完成后,将处理液切换为纯水,基板由水流一一输送,如同输送系统。当基材沿着输水器(或承水)前进时,基材被喷洒在其上的水清洗和清洁。
在水轴承的末端,有一个旋转干燥器。基材位于旋转干燥器的卡盘上。当基材定位后,百叶窗关闭并将旋转干燥器与洗涤区分开。然后将旋转干燥器中的水抽出,干燥器的卡盘固定基材,并开始旋转。因此,基板被快速干燥。
911

被折叠的 条评论
为什么被折叠?



