在医疗健康领域日新月异的今天,精准的市场洞察与数据支持已成为医疗器械企业制胜的关键。面对错综复杂的市场环节,如何快速把握行业脉搏、精准定位目标客户、优化产品布局,是每个医疗器械企业面临的重大挑战。
公立医院作为医疗体系的重要组成部分,占据了国内医疗市场的主体地位,其医疗器械的采购量巨大,为医疗器械企业提供了广阔的市场空间,是几乎所有医疗器械企业的必争之地。
为此,药智网匠心独运,推出了中国医院医疗设备销售分析系统,该系统收录了各省市公示的医院医疗设备中标公告信息,通过自研编码体系对数据进行了规范化处理。该系统支持多维度浏览、多条件筛选及一键智能分析,可查询产品名称、中标价格、供应商、采购人等信息,为医疗器械相关企业提供全方位的市场数据支持。
数据库应用价值
1、洞见市场趋势
本系统深度整合了全国数千家公立医院的医疗器械采购数据,覆盖广泛、信息详尽。通过大数据分析技术,企业能够轻松获取医疗器械产品在样本医院的市场规模及增长趋势,为产品策略调整、市场布局优化提供坚实的数据支撑。
例如:通过中国医院医疗设备销售分析系统简单的筛选,即可获取内窥镜产品2021到2023年在样本医院的市场规模及销售趋势。

图片来源:药智医械数据
2、剖析竞争格局
此外,中国医院医疗设备销售分析系统还能深度剖析各品牌市场份额,助力企业识别竞争对手优势,制定差异化竞争策略,从而在激烈的市场竞争中脱颖而出。
以下便是2021到2023年内窥镜销售品牌top10,可以看到在当前的内窥镜市场中,奥林巴斯、卡尔史托斯、富士等国际品牌凭借先进的技术和丰富的产品线占据着领先地位。同时,国内品牌如迈瑞医疗、开立生物、图迈等也在快速崛起,通过技术创新和市场拓展,不断提升市场份额。

图:2021-2023内窥镜销售品牌top10
图片来源:药智医械数据
3、挖掘代理商
在医疗器械市场中,优质的代理商是连接产品与市场的桥梁。中国医院医疗设备销售分析系统凭借其强大的数据挖掘能力,能够精准定位活跃于各大医院的医疗器械代理商,为企业提供潜在的合作伙伴信息。这不仅大大节省了企业自行寻找代理商的时间与成本,更为企业快速拓宽销售渠道、提升市场份额提供了有力支持。
只需要在中国医院医疗设备销售分析系统中检索具体产品名称、产品类型、年份,选择按供应商名称浏览,就可轻松了解产品的供应商都有哪些。
下图便是2021到2023年内窥镜供应商检索结果,从中可以看到各供应商的中标金额、品牌个数、采购单位家数等,这些供应商大多数就是内窥镜产品的代理商。医疗器械厂家在找代理商的时候就可以通过这个方法结合自己的需求去找到合适的代理商。

图片来源:药智医械数据
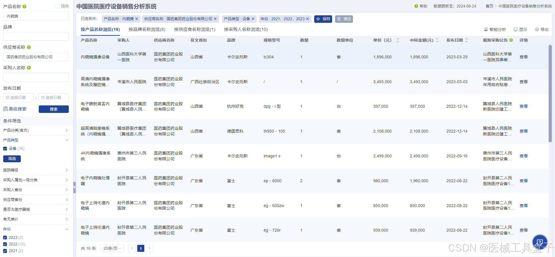
此外,在检索结果中点击具体的供应商名称如国药集团药业股份有限公司,选择按产品名称浏览还可以查看国药集团在2023年所有与内窥镜相关的项目。

图片来源:药智医械数据
如果是选择按采购人名称浏览,则可以查看2023年国药集团所有内窥镜项目的采购医院。医疗器械厂家在找代理商的时候可以可以根据其目前合作的医院、地区分布等情况进行综合评估。

图片来源:药智医械数据
4、分析采购单位分布
深入了解采购单位的分布与偏好,是实施精准营销的前提。本系统可轻松分析各类医疗器械产品采购单位的分布情况,帮助企业甄别高潜力市场制定更具针对性的营销策略提供重要数据支撑。
仍以2023年的内窥镜产品采购为例,按采购单位所在地区统计,采购金额最大的地区是北京、其次是广西、四川、广东等地。

图片来源:药智医械数据
进一步分析广东地区的采购单位分布情况,这些采购单位中,采购金额最多的还是三级甲等医院,占比49%。

图片来源:药智医械数据
再具体到医院,2023年广东地区内窥镜采购金额最大的是中山大学附属第一(南沙)医院,其次是广州医科大学附属第一医院。

图片来源:药智医械数据
结语
以上便是对中国医院医疗设备销售分析系统的简要介绍,利用好中国医院医疗设备销售分析系统可以为企业的战略决策、产品研发、市场营销等环节提供重要参考依据。欢迎有兴趣的朋友前往药智医械数据试用体验,如对产品功能有任何优化建议也欢迎向我们提出,后续我们也将不断对该系统进行迭代升级。
593

被折叠的 条评论
为什么被折叠?



