在医疗器械行业,产品说明书是极具价值的 “官方信息载体”,其内容涵盖产品技术细节、合规性声明、临床应用场景等核心信息。它是确保医疗器械安全使用的重要工具之一。对于医疗器械企业而言,不管是研发阶段进行产品调研对比,还是为自家产品说明书编写作参考,或是注册审批过程中提交同类产品的对比分析信息等,都需要查询竞品或同类医疗器械产品的说明书。
目前我国并无强制公开医疗器械说明书的政策,这使得大多数时候我们获取说明书的过程都非常困难。2024年8月,国家药监局发布了《中华人民共和国医疗器械管理法(草案征求意见稿)》,其中首次提到“医疗器械注册人、备案人应当主动向社会公开经药品监督管理部门批准或者备案的说明书内容”。不过这也只是草案征求意见稿,正式实施不知何时,也不确定最终是否会有调整。

那么,现目前获取竞品或同类医疗器械产品说明书都有哪些途径呢?
监管机构
境内:
国内可以通过国家药监局数据库查询到产品的注册人信息,再通过其他方式联系这家企业获取该产品的说明书。https://www.nmpa.gov.cn/datasearch/home-index.html#category=ylqx
另外,在医疗器械审评中心的审评报告模块,部分体外诊断试剂产品审评报告末尾会附带说明书或标签。https://www.cmde.org.cn/xwdt/shpbg/index.html
境外:
境外目前有部分国家及地区对于已注册上市的医疗器械产品说明书会进行公示。如美国FDA经 PMA 路径审批的IVD产品就会公开说明书和标签。
美国FDA:https://www.accessdata.fda.gov/scripts/cdrh/cfdocs/cfPMA/pma.cfm
首先根据需求搜索需要查询的产品名称、厂家等信息,在结果页面选择具体产品,然后点击“Original PMA”,下拉并点击“Labeling"就可以下载产品说明书。

日本PMDA数据库:https://www.pmda.go.jp/english/safety/info-services/e-pack-ins/0001.html
搜索引擎
这是我们较多使用的一种方式,通过搜索引擎进行关键词检索。我们可以在搜索引擎中输入医疗器械的名称、型号、品牌等加上“说明书”、“IFU”等相关词语进行搜索。搜索结果中可能会包含各个品牌、厂商提供的官方网站、技术支持网站等,这些网站上通常会提供最新的医疗器械说明书供用户下载。
此外,在使用搜索引擎过程中,正确运用一些搜索语法,也能让我们搜索更高效,结果更精准,以下列举部分搜索语法:
1、使用空格组合两个关键词进行搜索。
例如:搜索 维生素D检测 说明书,则返回与维生素D检测以及说明书相关的内容。
2、使用双引号("")完全匹配搜索词,确保结果包含引号内的完整短语。
例如:搜索 "持续葡萄糖监测系统" 说明书,返回结果中短语顺序和内容与引号内完全一致。
3、使用减号(-)排除包含减号后关键词的页面。
例如:搜索 葡萄糖监测系统 -持续 说明书,返回结果包含葡萄糖监测系统说明书且不含“持续”两个字的页面。
4、使用OR(|)搜索返回包含任意一个关键词的结果。
例如:搜索 持续葡萄糖监测系统 | 动态葡萄糖监测系统 说明书,返回结果中持续葡萄糖监测系统说明书和动态葡萄糖监测系统说明书的页面都会展现。
5、使用site:在指定网站进行搜索
例如:搜索 葡萄糖监测系统 site:nmpa.gov.cn,只返回国家药监局官网中的相关页面。
搜索 葡萄糖监测系统 site:gov.cn,返回所有政府官网中的相关页面。
6、使用filetype:搜索特定格式文件(如 PDF、DOC、PPT)
例如:搜索 葡萄糖监测系统 说明书 filetype:pdf,返回 PDF 格式的说明书。
关于搜索语法还有很多,且不同搜索引擎的部分语法略有差异,以上都是一些较为通用的语法,此处列举也仅作思路启发,如果对这部分内容感兴趣的人较多,后面再考虑单独写一篇详细列举介绍。
需要注意的是,搜索引擎本身也不是万能的,没被收录的页面,都是搜索不到的。
厂家官网
部分医疗器械厂家,特别是国外的一些大型企业在其官方网站中都会有一个“产品支持”或“技术文档”等专栏,用户可以直接在该专栏中找到所需的医疗器械说明书。在这些专栏中,通常会提供按照产品分类或型号进行检索的功能,用户只需选择相应的产品分类或输入产品型号,系统即可自动筛选并显示出符合条件的医疗器械说明书。
以下列举部分
强生:Welcome | Johnson & Johnson Medical Devices Companies
美敦力:https://manuals.medtronic.com/manuals/main/en%20US/home/index
西门子:Document Library - Siemens Healthineers
贝克曼:https://www.beckmancoulter.com/en/search
伯乐:https://myeinserts-app.qcnet.com/home
雅培:主页
https://www.globalpointofcare.abbott/cn/zh_cn/index.html
专业数据库
如果有相关预算,也可以考虑商业数据库,毕竟是经过专业整理过的,还是要省时省力很多。
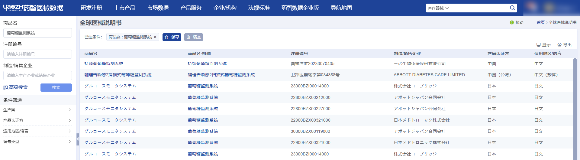
以药智医械数据为例,其全球医械说明书数据库汇聚了包括中国在内的全球数十个国家及地区的医疗器械产品说明书,用户可以根据医疗器械的名称、注册编号、制造商等信息进行检索,然后可以筛选产品生产国家、产品认证方、说明书适用地区/语言等信息,即可得到满足条件的所有产品信息,点击具体产品进入详情页后便可下载PDF版的医疗器械产品说明书。


这个数据库是针对企业会员开放下载,普通用户可以先在他们的专业版(其专业版针对普通用户开放,可查询部分数据)先查询看是否有需要的信息,有的话再联系他们。当然,就算没有,也可以找他们,用他们自己的渠道查询下,这样可以多一个查询渠道,多一份几率找到。
药智医械数据-全球医械说明书数据库https://db.yaozh.com/qxsms
除了医疗器械说明书,例如医疗器械专利、性能指标、标准、临床信息、注册信息等研发注册数据,以及上市产品、市场销售、企业机构信息药智医械数据也都有收录,有需求的可以去体验了解下。
资源站点及电商平台
抗体世界:国内外试剂盒说明书免费下载 http://ivdab.com/download/download.aspx
生物之家:说明书+生物原料查询 http://www.usbiohome.com
Manuals:包含部分医疗器械产品说明书 Fitness & health manual? Download your manual for free!
ManualsLib:直接搜索产品,也可以按品牌搜索 https://www.manualslib.com/
论坛及威客平台:对于一些常见的医疗器械说明书,如小木虫、药智汇等一些医疗行业论坛及威客平台上也会有用户共享的资源。可以通过在这些网站上搜索、提问或发布需求的方式,获取其他用户分享的医疗器械说明书。这种方式虽然不如前面几种方式直接和官方渠道获取的说明书可靠,但在一些特定情况下,仍然可以提供一些参考和帮助。
购物网站 如阿里巴巴等一些B2B的网站中会有医疗器械产品,可以找客服索取
其他渠道
直接购买:根据《医疗器械说明书和标签管理规定》凡在中华人民共和国境内销售、使用的医疗器械,应当按照本规定要求附有说明书和标签。所以,对于一时找不到说明书且价格不太高的产品,可以考虑直接购买产品,都会附带纸质说明书。
医疗机构:医院等医疗机构一直都是医用器械的主要采购和使用单位,所以医疗机构往往也会有很多采购和使用过的医疗器械产品说明书,如果有相关资源,也可以从医疗机构获取。
厂商资源对接:以采购的名义,联系你感兴趣产品的销售(尤其是代理),索取产品说明书。
行业人脉网络:通过前同事/圈内伙伴获取一手资源,建议多添加一些行业群,群内互助发布需求,哪怕有偿提供如果能找到也很不错。
特别提醒:在查询医疗器械说明书时,要注意选择正规的途径和渠道,同时注意甄别,以避免误导和信息不准确的情况以及可能带来的风险。
871

被折叠的 条评论
为什么被折叠?



