关注、星标公众号,精彩内容每日送达
来源:网络素材概述
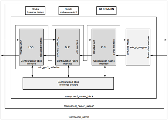
Serial RapidIO(SRIO) 特指 RapidIO 标准的串行物理层实现。

RapidIO 标准定义为三层:
逻辑层:定义总体协议和包格式,包含设备发起和完成事务的必要信息。
传输层:提供包传输的路由信息,对顶层不可见。
物理层:描述设备级接口细节(包传输机制、流控、电气特性、低级错误管理)。

逻辑层(LOG)
逻辑层划分为以下模块控制并解析数据包,提供三类接口:
用户接口(User Interface)
传输接口(Transport Interface)(相当于缓存 Buffer,对顶层不可见)
配置接口(Configuration Fabric Interface)(用于读写本地配置空间及逻辑/传输层寄存器)

用户接口(重点关注)
包含 I/O 端口集 和三个可选端口:
I/O 端口集:
支持事务:NWRITEs、NWRITE_Rs、SWRITEs、NREADs、RESPONSEs(不含维护事务响应)、门铃事务。
消息事务(取决于配置是否分离 I/O 与 Message 端口)。
消息端口:专用于消息事务。
维护端口:专用于维护事务。
用户自定义端口:支持自定义类型(未使能时丢弃包)。
I/O 端口类型
类型 | 描述 |
|---|---|
| Condensed I/O | 单一 AXI4-Stream 通道发送/接收所有包 |
| Initiator/Target | 分离请求与响应,共 4 个 AXI4-Stream 通道: |
顶层信号映射:
s_axis_ireq*→ireqm_axis_iresp*→irespm_axis_treq*→treqs_axis_tresp*→tresp

物理层(PHY)
功能:
处理链路训练(Link Training)、初始化、协议
插入 CRC 与应答标识符
连接高速串行收发器(外部例化模块)
接口:
2 个 AXI4-Stream 通道连接传输层
1 个 AXI4-Lite 接口连接配置层
1 个串行接口连接收发器(FPGA 使用 GT 接口实现)
寄存器空间
类型 | 描述 |
|---|---|
| 能力寄存器(CAR) | 在逻辑层实现 |
| 状态寄存器(CSR) | 在逻辑层实现 |
HELLO 包格式
标准化包头域,包头与数据分离传输:
Size 域:值 = 传输字节总数 - 1(有效范围 0~255 → 实际传输 1~256 字节)
限制:必须与 RapidIO 包中的 size/address/wdptr 域匹配,IP 核不会修正非法值。

注意:AXI4-Stream 的 tdata 为 8 字节(双字),需根据数据量是否小于 8 字节分别处理。
SRIO 事务类型及关系
1. 直接 I/O(DMA)事务
事务 | 特性 |
|---|---|
| NWRITE | 写操作,无需响应(效率最高) |
| NWRITE_R | 写操作,需响应(确保数据完整性,带宽利用率低) |
| SWRITE | 流式写操作,数据长度需为 8 字节整数倍(无响应,适用连续数据流) |
| NREAD | 读操作,从设备返回响应包携带数据 |
2. 消息传递事务
事务 | 特性 |
|---|---|
| DOORBELL | 短消息通知(邮箱号+少量数据,如中断触发) |
| MESSAGE | 长消息传输,数据路由到指定缓冲区(需软件解析) |
3. 维护事务
事务 | 用途 |
|---|---|
| MAINTENANCE READ/WRITE | 读写配置寄存器(初始化/错误处理) |
事务对比
维度 | 直接 I/O 事务 | 消息传递事务 |
|---|---|---|
| 效率 | 高(NWRITE/SWRITE 无响应) | 低(需软件介入) |
| 可靠性 | NWRITE_R/NREAD 通过响应保证 | 依赖软件处理 |
| 适用场景 | 硬件实时数据传输(DSP-FPGA) | 动态拓扑/软件交互(多处理器) |
事务类型表
详见 PG007 手册 P73。

总结
Xilinx SRIO IP核的事务类型覆盖了从高效硬件控制到灵活软件交互的全场景需求,用户需根据延迟、带宽、可靠性等指标选择合适类型。例如,实时数据采集可采用SWRITE,而系统配置则依赖MAINTENANCE事务。
直接 I/O:用于低延迟硬件控制(如实时数据采集用 SWRITE)。
消息传递:用于灵活软件交互(如系统通知)。
维护事务:用于设备配置管理。
(全文完)
声明:我们尊重原创,也注重分享;文字、图片版权归原作者所有。转载目的在于分享更多信息,不代表本号立场,如有侵犯您的权益请及时联系,我们将第一时间删除,谢谢!

想要了解FPGA吗?这里有实例分享,ZYNQ设计,关注我们的公众号,探索
6107

被折叠的 条评论
为什么被折叠?



