使用无线传感器网络的工业自动化
1. 简介
反馈控制使得手动操作的机器被自动化设备所取代,从而提高了产品的生产率和质量。自动化应用涵盖工厂自动化、离散与批量过程控制、嵌入式机器控制以及制造生产线自动化。此外,无线通信的出现得益于无线传感器网络(WSNs)易于安装、维护和灵活性,进一步提高了工业中自动化的生产率和效率。
无线传感器网络正被应用于各个领域,以满足众多应用的需求。无线传感器网络由许多小型、廉价且低功耗的设备组成,这些设备称为节点,它们通过复杂的网络相互通信并协同工作。这些节点被部署用于收集感知信息,也可用于控制某些执行操作,从而进一步控制环境(或系统)。节点可在难以到达的位置实现灵活安装与维护,具有广泛的部署范围广且成本低,使得无线传感器网络成为从农业到工业自动化等多个领域中最受青睐的技术。
工业中的一个过程可以利用无线传感器网络(WSN)进行有效控制。该网络由许多较小的簇组成,这些簇通过网关相互连接。本文旨在开发一种簇,该簇可复制成所需数量的集群并相互连接。这样的簇将包含若干用于采集数据的节点和若干用于控制各种执行操作的节点。簇内的节点通过中央节点相互通信,并通过该中央节点与用户进行交互,中央节点充当用户界面。
网络中的通信基于星型拓扑,并使用 Simpliciti协议。该网络可以轻松重新设计以满足特定工业的需求,从而适应不同类别的工业3。
摘要
背景/目标:
The advent of Wireless Sensor Networks(WSNs) have revolutionized the field of automation in many ways. This paper presents the implementation of one such WSN useful for industrial applications.
方法/ 统计分析:
The establishment of the WSN cluster using low cost MSP430 processor and RF transceivers is explained. This network could be easily modified to suit the needs of a particular process in an industry.
研究结果:
A basic hardware system comprising of a cluster having five nodes is tested with real time control signals. Such a network was found to be reliable, low cost and low power consuming. This cluster can be duplicated and such clusters can be integrated with the use of gateways to form a large network to monitor and control the various processes in an industry simultaneously. In the consumer end these networks will be more user friendly and available at low cost.
应用/ 改进:
The WSN clusters can be used for automation of various industries with the possibility of easy modification or expansion in the future.
关键词: Actuation, Industrial Automation, Sensing, Wireless, Wireless Cluster, WSN
工业中广泛分布的地点之间需要持续通信,以及灵活安装与维护的需求,使得无线通信成为工业领域的一大福音。将计算与物理过程相集成,形成了信息物理系统(CPS)。信息物理系统可通过由传感器、处理器和执行器组成的异构系统,对复杂的工业过程实现有效控制4。克林特·海耶尔探讨了在石油和天然气行业中,使用远程控制的工业机器人如何能够在人类难以进入或危险的区域开展工作2。该讨论围绕人机交互及其所面临的挑战展开。
无线传感器网络(WSN)由体积小、成本低且具备无线通信功能的传感器构成,这些传感器被部署用于构建多种监控与控制系统网络,广泛应用于工业自动化、过程控制、农业、医院监控系统等领域。例如,Joaquin Gutierrez及其团队开发了一种自动灌溉系统,该系统通过无线网络优化农业用水,并通过互联网传输数据1。另一个WSN的应用实例是 R. 迪尔马加尼及其团队开发的网络,用于监控患有慢性病、需持续观察但居家生活的患者。该网络采用SimpliciTI协议,并将数据上传至互联网,以便医院进行实时分析5。
在6中讨论了无线传感器网络(WSNs)的设计。他们解释了为弥合控制算法设计与网络设计之间的差距所需采取的各种措施。多年来,无线传感器网络已得到极大发展7 ,并开发出了不同的标准8。Wi‐Fi、蓝牙、Zigbee、无线局域网是一些在工业中常用的协议10。每种协议都有其各自的优缺点。例如,无线局域网具有较高的数据速率,但与蓝牙或Zigbee相比电池寿命较短11。为特定网络选择协议时,必须考虑许多因素,如数据大小、速度、节点数量、范围等。位置路由协议可有效实现节点间的通信。在12中提出了一种利用智能天线估计网络中节点位置的位置路由协议,并基于邻居的状态连接和相对位置做出路由决策来传递信息。
在无线传感器网络中,能效和通信可靠性是需要重点考虑的关键因素13。14已表明如何利用射频识别技术开发零功耗无线传感器网络。本文展示了基于射频识别的应变、温度、水质和有害气体传感器的实际应用。
15基于Zigbee和GPRS开发了无线传感器网络网关。详细阐述了ZigBee网络与GPRS网络之间的数据转换任务,并提出了因ZigBee模块和GPRS模块传输速率不同而导致的数据丢失问题的解决方案。
16讨论了一种用于仪表和预测性维护系统的智能传感器平台。通过实验研究了链路延迟、带宽随距离变化、流量和数据包突发等相关性能指标。比较了蓝牙和Wi‐Fi的这些性能指标,认为蓝牙是工业应用中的更优选择。17提出了一种新的复杂系统,其中网络本身充当控制器,他们称之为无线控制网络。
在工业中实施无线传感器网络有助于不同过程的有效自动化。工业系统中的需求不同于通用无线传感器网络需求。在18中讨论了多种先进的无线传感器网络标准,以满足这些工业的需求。19讨论了在工业过程监控与控制中实施无线传感器网络所面临的优点和挑战。20介绍了可用于工业过程自动化的多种协议以及国际标准化的相关活动。
工业应用中部署的无线传感器网络的需求包括满足应用和通信参数的实时特性。目前针对无线通信的先进解决方案较少工业自动化可用3。提出了一种基于分布式估计的局部协同控制算法,以应对无线通信中的传感器测量噪声和数据包丢失问题,该算法充分利用了工业自动化中执行器与传感器之间的协作21。
2. 提出的方法
本文提出了一种构建包含五个节点的簇的方法。该簇采用星型拓扑结构连接。所有终端节点(节点1至节点5)通过射频收发器与中央节点相连。中央节点控制所有其他节点。该簇的基本框图如图2所示。
2.1 中央节点
中央节点,也称为接入点,作为连接簇中所有其他节点的中心枢纽。它用于网络管理任务,并且还可以在网络中实例化传感器和执行器。每个终端节点仅通过半双工传输模式连接到中央节点。中央节点默认处于接收状态,随时准备接收来自其他终端节点的请求以及任何警报消息(中断),以便采取相应措施。
当中央节点需要获取传感数据或发出执行命令(例如开启/关闭电机)时,中央节点将进入发送状态,并发送一个包含目标节点地址及需传输给该节点命令的数据包。如果需要向簇内所有终端节点发送消息,中央节点会将其标记为广播消息,该消息将被传送到簇内的所有终端节点。该命令可能指示节点将传感数据发送回中央节点或执行操作。消息传输完成后,中央节点重新切换回接收状态。
2.2 传感节点
该簇中的节点1和节点2为传感节点。这些传感器可以是数字或模拟传感器。它们持续监测物理参数并存储所需数值。这些节点默认处于接收状态。每当中央节点需要传感数据时,会发送一条命令,寻址相应的传感器节点以发送其数据。一旦传感器节点接收到此命令,便会切换到发送状态,确认命令并将所需数据发送至中央节点,然后返回接收状态。
2.3 执行节点
节点3、节点4和节点5是该集群中的执行节点。节点5通过有线协议与中央节点连接。使用有线协议的目的是仅作为一个示例,以说明不同的协议可以被整合到集群中,以满足应用的需求。如有需要,节点5与中央节点之间的通信也可以像其他终端节点一样采用无线方式。因此,这些集群是灵活的,可以根据应用的需求进行定制。
节点3用于控制一个执行器,例如驱动传送带的电机。根据中央节点的命令,可以控制电机以所需的速度、方向等运行。节点4也是一个类似的执行节点,可用于控制另一个执行器,例如工业中的照明负载。
所有这些节点均处于接收状态,等待中央节点的命令,以便中断各节点正在进行的任何活动。这些节点还可被编程,在执行中央节点的命令后,将执行状态反馈回去。
2.4 节点间的通信
节点以星型拓扑结构连接,中央节点位于星型的中心。簇中的所有终端节点仅与中央节点相连。节点之间的任何通信都必须通过中央节点进行。因此,用户可以通过中央节点访问和控制该簇。
簇内两个节点之间的通信过程如下。最初,要发送消息的节点会短暂切换到发送状态并发送消息,一旦传输完成,该节点便返回接收状态。当任意节点发送消息时,消息中包含三个实体:目的地址、发往目标节点的消息内容以及源地址。每个节点都有唯一的地址。默认情况下,所有节点均处于接收模式。当某个消息被发出后,所有节点都会接收到该消息,并将其中的目的地址与自身的唯一地址进行比较。如果地址不匹配,则忽略该命令;如果地址匹配,则该节点对命令进行解码并执行相应的操作。无论是从中央节点向终端节点发送消息,还是从终端节点向中央节点发送消息,均遵循相同的过程。但存在一个例外情况:当目的地址为0X00时,该消息被视为广播消息,即发送给所有节点的消息。此类消息只能由中央节点发出。在此情况下,所有接收到消息的节点都将解码消息并执行必要的操作。
上述方法中仅解释了网络中的单个簇。可根据具体应用需求建立具有相同结构的簇(包含数量可变的传感节点和执行器节点),并通过网关将这些簇连接起来,从而构成完整的网络以实现工业过程的自动化。
3. 实现
所提出的这种无线传感器网络的基本思想是它可以轻松定制以满足任何工业的需求。本节描述了上述簇的实现方式。
簇中的每个节点都通过德州仪器MSP‐EXP430G2 LaunchPad实现,该LaunchPad用作传感器与射频通信模块。这些节点采用MSP430处理器,16 位。通信模块基于CC110L器件,板载A110LR09A 无线电模块配备集成天线,工作在欧洲 868‐870MHz和美国902‐928MHz ISM频段。该无线电模块作为每个节点(包括中央节点)的收发器。网络建立使用了868‐870MHz ISM频段。带射频模块的LaunchPad如图3所示。节点5采用8位 ATMEGA处理器,通过有线协议连接到中央节点。
用于建立连接的无线协议是德州仪器的低功耗射频协议SimpliciTI。它是一种灵活的协议,支持点对点或星型拓扑,并且由于支持休眠设备,可用于低功耗应用。表1给出了簇中所有终端节点的详细信息。
| Node | 通信模式 | 通信协议 | 传输模式 | 由传感器/执行器控制的 |
|---|---|---|---|---|
| 节点1 | 无线 | SimpliciTI | 半双工 | LM35 – 温度传感器 |
| 节点2 | 无线 | SimpliciTI | 半双工 | ADXL335 – 加速度计 |
| 节点3 | 无线 | SimpliciTI | 半双工 | 步进电机 |
| 节点4 | 无线 | SimpliciTI | 半双工 | 轻负载 |
| 节点5 | 有线 | SPI | 全双工 | 直流电机 |
3.1 节点1
这是一个传感器节点。它用于监控过程中的实体的温度。所使用的传感器是LM35,一种精密3引脚集成电路温度传感器。在LM35中,温度与连接到输出引脚的电阻两端的电压成正比。通过MSP430处理器测量电压来计算温度。因此,该节点持续监控温度。每当节点收到来自中央节点的消息中断时,它会瞬间切换到发送状态,将当时的温度发送至中央节点,然后切换回接收状态并继续监控温度。
3.2 节点2
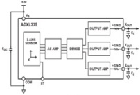
这也是一个传感器节点。该节点使用的传感器是加速度计ADXL335。ADXL335的功能模块如图4所示。
该加速度计有3个输出,每个轴对应一个输出。此节点用于监测物体的三维位置。我们假设物体仅沿单个轴移动。加速度计被校准为三个范围:如果加速度计输出值在阈值范围内,则判定为中立位置;如果超过阈值,则判定为倾斜位置;如果低于阈值,则判定为下降位置。因此,该节点持续监测系统的 “位置”。与节点1类似,当它收到来自中央节点的消息时,会发送系统当前的位置。
3.3 节点3
这是一个执行节点。所用的执行器是12V、0.4A、1.8°步进角的步进电机。该电机通过H桥驱动器LM393与处理器相连。电机默认处于空闲状态。处理器内存中保存有步进电机的当前位置。在接收到中央节点的消息后,该节点会根据中央节点发送的命令执行以下两项任务之一。如果命令是发送电机的当前位置,则该节点会像在节点1和节点2中讨论的那样,将当前位置发送给中央节点。如果命令是将步进电机移动到新位置,则中央节点发送的命令中包含步进电机需要运行的方向和速度。处理器随后生成相应的信号,以按照指定的方向和速度驱动电机到达新的位置。此时,电机的新位置将被存储在处理器的内存中。
3.4 节点4
该节点可用于开启/关闭任何负载。此处使用了简单的轻负载。处理器在其内存中保存有LED灯的状态,即开启/关闭。与节点3类似,该节点根据接收到的命令执行两项任务:要么报告系统的状态,要么开启或关闭灯,并更新内存中的状态。
3.5 节点5
上述所有节点均通过SimpliciTI协议以无线方式连接到中央节点。该节点是一个例外,它通过有线协议连接到中央节点。此处使用的协议是串行外设接口(SPI)协议。该协议是最简单的有线协议之一,支持全双工传输,且由于没有最大数据速率限制,传输速度非常高。该节点处理器的传输(TX)引脚连接到中央节点的接收(RX)引脚,同样,该节点的接收(RX)引脚连接到中央节点的传输(TX)引脚。两个节点必须具有共地。该节点用于监控一台持续运行的230V、8.5A、2马力直流电机的工作状态。当电机因过载或故障等原因停止运转时,会触发一个中断,并向中央节点发送警报消息。一旦问题被排除,可通过中央节点重新开启电机。处理器通过功率MOSFET与电机相连,用于控制电机的开关。
上述所有节点均为通过5V电池供电的独立设备。然而,中央节点充当簇的用户界面。中央节点通过USB电缆与计算机进行串行连接。来自其他节点的消息可以通过计算机上的串行监视器查看。发送到其他节点的命令也在此处输入。如前所述,通过将目的地址设为0X00,可以广播消息。如果需要将消息传输到特定节点,则必须指定目标节点的地址。
4. 结果与讨论
实现并测试了一个包含5个终端节点的簇,其中4个节点通过无线通信连接,1个节点通过有线通信连接。中央节点被编程为每隔一分钟向每个节点 individually 发送一条命令。传感器的数据已成功传回中央节点。通过从中央节点发送期望值,可改变步进电机的位置。灯也由中央节点控制。实现实验结果在表2和表3中进行了详细讨论。当目的地址为0X00且发送的消息为“Status”时,所有节点都会发送其对应的值/状态以及消息来自哪个节点的信息。上述所有情况均为通过无线传输获得的结果。
| Case | 目的地址 | 节点(从中央节点发出) | 对应于目的地址 | 消息发送自中央节点 | 状态/值在目的地node | 在目的地采取的动作node |
|---|---|---|---|---|---|---|
| 案例1 | 0X01 | 节点1 | 状态 | 27°C | 发送温度值到中央节点。 | |
| 案例2 | 0X02 | 节点2 | 状态 | 倾斜 | 将位置发送到中央节点。 | |
| 案例3 | 0X03 | 节点3 | 状态 | 250° | 发送电机的当前位置到中央节点。 | |
| 案例4 | 0X03 | 节点3 | 位置: 300° 方向:正向 速度:0.25 | 250° | 将步进电机旋转至额外的 50°,以 0.25 转/秒。 | |
| 案例5 | 0X04 | 节点4 | 状态 | OFF | 发送灯光已关闭的信息至中央节点。 | |
| 案例6 | 0X04 | 节点4 | 开启 | OFF | 开启灯 |
| Case | 目标地址 | 节点(从末端发送节点) | 节点对应到目的地址 | 当前状态/目的地的值 | 发送到中央节点从终端节点 | 消息已送达至中央节点 |
|---|---|---|---|---|---|---|
| 案例1 | 0X10 | 中央节点 | 27°C | 来自:节点1 温度:27°C | 来自:节点1 温度:27°C | |
| 案例2 | 0X10 | 中央节点 | 倾斜 | 来自:节点2 位置:倾斜 | 来自:节点2 位置:倾斜 | |
| 案例3 | 0X10 | 中央节点 | 250° | 来自:节点3 位置:250° | 来自:节点3 位置:250° | |
| 案例4 | 0X10 | 中央节点 | 300° | 来自:节点3 位置 300° | 来自:节点3 位置 300° | |
| 案例5 | 0X10 | 中央节点 | OFF | 来自:节点4 状态:关闭 | 来自:节点4 状态:关闭 | |
| 案例6 | 0X10 | 中央节点 | ON | 来自:节点4 状态:开启 | 来自:节点4 状态:开启 |
直流电机遭遇了一次临时故障。电机停止运转,并立即向中央节点发送了错误消息。故障排除后,中央节点发送“ON”消息重新启动电机。处理器向MOSFET生成相应的门控脉冲,从而开启电机。该装置在不同工况下进行了测试。
5. 结论
如所建议的,已实现一个包含5个节点的无线传感器网络簇,并取得了满意的结果。该系统易于实施和维护。该无线传感器网络的独特之处在于它是一个灵活的、可靠的低成本系统,可根据各工业的需求进行部署,并可在将来轻松修改。同一簇可以复制,并通过使用网关构建大型网络。目前正在进行网络的安全性和服务质量(QoS)研究。未来工作包括建立可靠网关。此外,选择合适的安全协议以及减少网络数据包丢失是需要进一步研究的方向。
2868

被折叠的 条评论
为什么被折叠?



