前言
在前两期连载中,我们分析了DRV871x-Q1的产品架构、引脚配置和电气特性。本期我们将深入探讨DRV871x-Q1的功能框图和工作模式,这是理解芯片内部工作机制的关键。
通过分析功能框图,我们能够清晰地了解各功能模块之间的关系和信号流向;通过工作模式分析,我们能够掌握芯片在不同应用场景下的配置方法。这些知识对于系统设计和故障排查都至关重要。
功能框图深度解析
DRV8718S-Q1功能框图

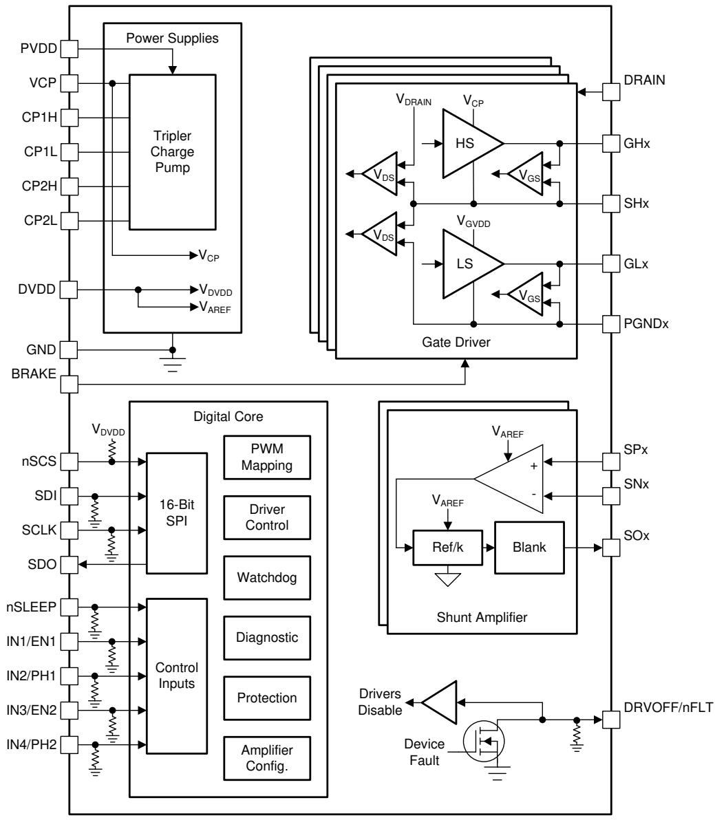
图1:DRV8718S-Q1 RVJ封装功能框图
DRV8718S-Q1是8通道版本,从功能框图中可以清晰地看到其主要功能模块:
-
SPI接口:提供数字化配置能力
-
PWM输入:4个PWM输入,通过映射控制8个半桥
-
电荷泵系统:三倍电荷泵提供栅极驱动电压
-
栅极驱动器:8个半桥驱动通道
-
电流检测放大器:2个宽共模电流检测放大器
-
保护电路:包括VDS监测、VGS监测、热保护等
-
状态监测:故障状态报告和诊断功能
DRV8714S-Q1功能框图

图2:DRV8714S-Q1 RVJ封装功能框图
DRV8714S-Q1是4通道版本,与DRV8718S-Q1相比,主要区别在于:
-
半桥驱动器数量减少为4个
-
其他功能模块基本相同
DRV8714S-Q1 RHA封装功能框图

图3:DRV8714S-Q1 RHA封装功能框图
RHA封装是40引脚版本,相比56引脚版本,有以下特点:
-
引脚数量减少,但保留核心功能
-
AREF引脚不存在,电流检测放大器参考电压由DVDD提供
-
布局更紧凑,适合空间受限应用
DRV8714H-Q1功能框图

图4:DRV8714H-Q1 RHA封装功能框图
DRV8714H-Q1是硬件接口版本,与SPI版本相比,主要区别在于:
-
取消SPI接口,改用模拟配置引脚
-
配置选项减少,但操作更简单
-
引脚功能复用,如DRVIVE、MODE、GAIN和VDS引脚
信号流分析
控制信号路径
从功能框图可以看出,控制信号的流向:
-
SPI接口版本:
SPI接口 → 内部寄存器 → 控制逻辑 → 栅极驱动器
-
硬件接口版本:
PWM输入 → 输入滤波 → 模式解码 → 栅极驱动器 模拟配置引脚 → 电平检测 → 参数设置
电源路径
电源系统的信号流向:
PVDD → 电荷泵第一级 → 电荷泵第二级 → 电荷泵第三级 → VCP VCP
DRV871x-Q1功能框图与工作模式详解

最低0.47元/天 解锁文章
851

被折叠的 条评论
为什么被折叠?



