混合交通中驾驶行为的博弈分析
摘要
基于动态重复博弈理论,构建了混合交通环境下非机动车与机动车驾驶行为的效用函数,以研究驾驶员在混合交通环境中针对非机动车与机动车的决策行为。该效用函数根据影响决策行为的驾驶员个性、时间细化以及每一小周期内非机动车与机动车到达冲突点的时间差来建立。通过对非机动车与机动车驾驶行为效用函数的分析表明,博弈过程中存在纳什均衡,并获得了非机动车与机动车在动态博弈中的最优决策。实例分析表明,在决策过程中:(1)冲动型驾驶员选择加速策略;(2)温和型驾驶员倾向于匀速或减速策略;(3)谨慎型驾驶员选择减速策略。
关键词 :智能交通系统;混合交通;重复博弈;交通冲突;纳什均衡
1 引言
交叉口是城市道路网络节点,对于交通流的转换具有重要意义。我国平面交叉口最显著的特征是混合交通,当非机动车流量较大时,会加剧整个交通系统的运行状态受到影响。非机动车是混合交通中刺激并影响机动车驾驶员行为的重要信息源。交通冲突发生在非机动车与机动车之间,以及非机动车与行人之间,尤其是非机动车与机动车之间的交通冲突,是导致交叉口交通事故的主要原因。因此,研究与模拟混合交通下驾驶员针对非机动车与机动车的驾驶行为具有重要意义。
许多国内外学者对驾驶员的决策行为进行了研究。M. DOLFIN 等人提出了一种基于宏观守恒方程的动态宏观系统,并在混合交通中构建了宏观或微观模型。G. LEU 等人认为,在人工生成环境中的多种机制下,个性特征与情绪变化会影响驾驶员在道路交通网络系统中的决策行为,作者还建立了一种基于驾驶员个性特征与情绪的决策行为模型,并描述了驾驶员在不同交通环境下的实时心理状态与决策行为。通过分析交通流密度和年龄对驾驶员在通过交叉口时决策行为的影响,并结合间隙插入理论。R. LOBJOIS 等人提出了驾驶员通过交叉口时的决策行为建议。上述模型的作者忽略了车速对驾驶员决策行为的影响。因此,这些模型无法准确反映驾驶员的决策行为。
基于博弈论,陈[4]建立了交叉口驾驶员决策行为模型,通过混合策略的纳什均衡解,引入了灯控旋转平衡机制的设定标准。王[5]对驾驶员决策行为进行了仿真,为分析多源信息刺激下驾驶员的协作行为提供了理论基础。针对驾驶员心理,通过分析驾驶员在交叉口的决策过程,整合驾驶员行为的影响因素,并利用逻辑回归模型,建立了驾驶员决策行为模型。
基于对某交叉口的分析和数据采集,WU[6]构建了倒计时信号交叉口。LONG[7]利用视频采集数据研究了驾驶员在黄灯时间的决策行为,并采用逻辑回归建立了驾驶员行为模型。GUO[8]使用现场图解工具建立了驾驶员行为模型,并基于博弈论设计了协调算法。这些模型均将两辆冲突车辆之间驾驶员的决策行为简化为单一决策,忽略了冲突车辆之间决策行为的相互影响,因此无法准确描述交叉口内冲突车辆之间驾驶员复杂的心理过程。
LIU[9]等作者通过更小的空间和时间尺度,考虑了车辆在交叉口发生交叉行为时的具体情况,并建立了无信号控制交叉口下驾驶员车辆交叉行为的博弈论模型。该研究分析了不同驾驶员组合及其相应决策下车辆交叉博弈过程的纳什均衡,但将驾驶员的决策行为简化为“加速策略”或“减速策略”,缺乏全面性。
本研究主要通过时间细化方法,分析驾驶员在无信号交叉口的决策行为,并考虑两辆冲突车辆之间的交互对驾驶员决策行为的影响。获取了影响驾驶员决策行为的个性因素,以及不同策略间相关潜在因素的效用函数。随后,结合冲突车辆到达冲突点的时间差进行分析。构建了驾驶员决策行为的动态重复博弈模型,能够模拟驾驶员的实际决策行为。通过计算不同时刻不同性格驾驶员的效用值,得到纳什均衡点,从而合理地模拟出不同性格驾驶员的最优决策行为。
2 机动车与非机动车之间的冲突分析
非机动车对机动车的干扰在道路交通系统中可以分为阻塞和侧向干扰。阻塞干扰是指非机动车阻碍了机动车的行驶,迫使机动车减速或停车,从而延误了机动车的通行。侧向干扰是指非机动车从一侧靠近机动车,导致机动车驾驶员为安全而减速。
在现有非机动车与机动车共存的交叉口,来自不同方向的非机动车、机动车和行人之间存在大量冲突,其中大多数可归类为阻塞干扰。进入冲突区域的非机动车数量越多,机动车寻找间隙穿越的机会就越小,机动车受到的阻塞干扰就越大,从而导致机动车延误时间更长。非机动车具有稳定性差、灵活性强、群聚性和变异性大的特点,因此非机动车在行驶过程中常随意变换方向,其行驶轨迹不固定且具有高度随机性。非机动车与机动车的主要区别在于,非机动车具有集群行为,通常不会排成队列依次行驶,而是不同程度地相互穿行,这对机动车驾驶员产生显著影响。通过研究机动车驾驶员决策行为与非机动车数量之间的关系发现:当交叉口内非机动车数量小于八时,机动车驾驶员通常会选择寻找间隙穿越的方式通过交叉口;当交叉口内非机动车数量大于八时,机动车驾驶员通常会选择减速或停车等待,让非机动车优先通过交叉口;当机动车驶离非机动车的影响区域,或非机动车驶离机动车的影响区域时,非机动车与机动车之间的冲突得以消除。
3 驾驶员行为的博弈模型
3.1 冲突区域的确定
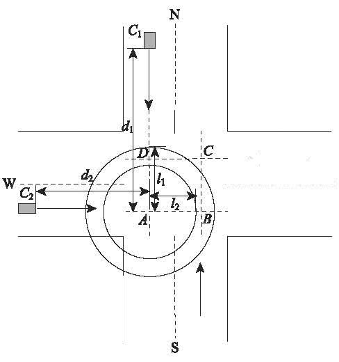
鉴于非机动车与机动车的速度不同,影响彼此的临界距离也不同。因此,非机动车与机动车的冲突区域通过两个同心圆来表示。根据非机动车与机动车的行驶特性,假设 O 为冲突节点,即非机动车与机动车车轮轨迹节点的交叉点。以冲突节点 O 为圆心,l₁ 和 l₂ 为圆的半径,其中 l₁ 是机动车影响非机动车的临界距离,l₂ 是非机动车影响机动车的临界距离;且 l₁ > l₂。当机动车进入半径为 l₁ 的圆内,同时非机动车进入半径为 l₂ 的圆内时,非机动车与机动车之间的冲突便会产生,如图1所示。
为确保非机动车与机动车安全通过交叉口,当驾驶员因前方车辆而采取减速策略直至停车,同时保持与前车的安全距离时,影响两类车辆的临界距离便会显现。因此,非机动车与机动车相互影响的临界距离可表示为:
$$
l = v_m t + \frac{v_m^2}{2a_m} + h
$$
其中,$v_m$ 是车辆的最大速度,$t$ 是驾驶员反应时间;$a_m$ 是车辆的最大加速度;以及 $h$ 为两车之间的安全距离。
3.2 驾驶员行为博弈分析
无信号交叉口的交通状况十分复杂,当机动车、行人和非机动车三者同时通过交叉口时,形成一种相互博弈过程。在这三者中,非机动车与机动车之间的博弈是一个典型的“重复博弈”过程。驾驶员在驾驶过程中具有复杂的心理状态,一名驾驶员必须做出一系列决策,以尽快且安全地通过交叉路口,而这一系列决策会受到其他决策的影响。
图2显示为一个两车道的无信号交叉口,其中 N 代表北,S 代表南,W 代表西,E 代表东。对于直行交通流,交叉口内存在四个冲突点 A、B、C、D。其中,A 是南北向与东西向两条直行交通流的冲突点;B 是南向北与东西向两条直行交通流的冲突点;C 是南向北与东向西两条直行交通流的冲突点;D 是北向南与东向西两条直行交通流的冲突点。我们假设存在一个未进行 vision 筛选的交叉口,机动车车辆 C1 位于北向南方向,机动车车辆 C2 位于西向东方向,形成两条直行交通流。在博弈过程中,机动车与非机动车之间无行人干扰。
设机动车 C1 发现非机动车 C2 的时刻为 $t_0$;对于 C1 和 C2,任一车辆首次通过冲突点的时刻为 $t_n$。从 $t_0$ 到 $t_n$ 的时间段被划分为 $n$ 个等份,即 $[t_0, t_1], [t_1, t_2], \cdots, [t_{n-1}, t_n]$。为了安全快速地通过冲突点 A,C1 和 C2 的驾驶员在每个短时间段开始时以均匀速度加速或决定减速。在时刻 $t_0$,我们假设 $l_1$ 和 $l_2$ 分别为 C1 和 C2 到点 A 的距离,$v_1$ 和 $v_2$ 分别为 C1 和 C2 的速度,且 $a_1$ 和 $a_2$ 分别为 C1 和 C2 的加速度。在每一个时刻 $t_i (i=1,2,\cdots,n)$ 之后,两位驾驶员根据对方驾驶员前一时刻的数据来决定下一时刻的操作。
特别地,根据时刻 $t_i$ 时 C2 的速度 $v_{2,i}$ 和加速度 $a_{2,i}$,C1 可预测出 C2 在时刻 $t_{i+1}$ 处的值。如果我们假设车辆在每个短时间段内的加速度保持不变,则该时刻的速度 $v_i$ 和加速度 $a_i$ 可表示如下:
$$
v_{1,i+1} = v_{1,i} + a_{1,i} \Delta t, \quad a_{1,i+1} = a_{1,i}
$$
$$
v_{2,i+1} = v_{2,i} + a_{2,i} \Delta t, \quad a_{2,i+1} = a_{2,i}
$$
其中 $\Delta t$ 为每个小周期的时长。
根据公式(2),C2 在时刻 $t_i$ 到该时刻行驶的距离 $s_{2,i}$ 可表示为:
$$
s_{2,i} = v_{2,i} \Delta t + \frac{1}{2} a_{2,i} (\Delta t)^2
$$
基于相同的方法,可得以下结果:
$$
s_{1,i} = v_{1,i} \Delta t + \frac{1}{2} a_{1,i} (\Delta t)^2
$$
其中 $s_{1,i}$ 是 C1 从时刻 $t_{i-1}$ 到时刻 $t_i$ 的距离。
车辆 C1 在时刻 $t_i$ 驶离冲突点 A 的距离 $L_{1,i}$,以及车辆 C2 在从 $t_0$ 到 $t_i$ 时间段内行驶的距离 $L_{2,i}$,可分别表示如下:
$$
L_{1,i} = L_1 - s_{1,i}, \quad L_{2,i} = L_2 - s_{2,i}
$$
设 $\tau_{1,i}$ 为车辆 C1 在时刻 $t_i$,以相应的速度和加速度到达冲突点 A 所需的时间,$\tau_{2,i}$ 为车辆 C2 在时刻 $t_i$,以相应的速度和加速度到达冲突点 A 所需的时间。根据公式:
$$
\tau_{1,i} = \frac{-v_{1,i} + \sqrt{(v_{1,i})^2 + 2a_{1,i} L_{1,i}}}{a_{1,i}}
$$
基于相同的方法,可得以下结果:
$$
\tau_{2,i} = \frac{-v_{2,i} + \sqrt{(v_{2,i})^2 + 2a_{2,i} L_{2,i}}}{a_{2,i}}
$$
因此,根据公式(7)和(8),车辆 C1 和车辆 C2 到达冲突点 A 的时间差 $\Delta T_i$ 可表示为:
$$
\Delta T_i = |\tau_{1,i} - \tau_{2,i}|
$$
3.3 重复博弈模型
博弈可分为动态和静态。重复博弈是一种特殊且极为重要的动态博弈,它指的是具有相同结构的博弈多次重复进行,每次博弈称为阶段博弈,所有参与者在每个阶段博弈中同时行动,并观察过去的博弈。
对于一个动态重复博弈,包含三个重要要素:
(1) 参与者集合 $C$:$C = {车辆 C1, 车辆 C2}$,其中 $C_i$ 是参与者 $i$;
(2) 策略集 $S$:$S = {S_1, S_2}$,其中 $S_i$ 是参与者 $C_i$ 的策略集;
(3) 参与者 $C_i$ 的效用不仅与其自身策略有关,还与其他参与者的策略相关。设参与者 $C_i$ 的效用为 $B_i(s_1, s_2)$,其中 $s_i$ 表示参与者 $i$ 的策略,即 $s_i \in S_i$。
假设在时刻 $t_0$,车辆 C1 位于半径为 $l_1$ 的圆内,车辆 C2 位于半径为 $l_2$ 的圆内。根据给定定义,交叉口内的参与者集合为 $C = {C1, C2}$,参与者车辆 C1 和车辆 C2 的效用函数可分别表示为 $B_1(s_1, s_2)$ 和 $B_2(s_1, s_2)$。
每位驾驶员在每个周期初 $t_i$ 同时做出决策,且每位驾驶员的决策不仅受自身因素影响,还受到其他驾驶员个性的影响。
驾驶员的特性可分为冲动型、温和型和谨慎型。个性因素影响驾驶员决策行为,主要体现在车辆加速度上。在第 $i$ 个时段,如果车辆 C1 或 C2 选择加速策略,导致时间差 $\Delta T_i$,则公式(9)发生变化。$\Delta T_i$ 的数量影响非机动车与机动车通过交叉口的状态。当 $\Delta T_i = 0$ 时,车辆 C1 和 C2 同时到达冲突点并发生碰撞。当 $0 < \Delta T_i \leq T_m$,其中 $T_m$ 是车辆 C1 和 C2 的最小时间无冲突且为常数时,车辆 C1 与 C2 之间将存在交通冲突。当 $0 < \Delta T_i < T_m$,车辆 C1 和 C2 均无法通过冲突区域。当 $\Delta T_i \geq T_m$,先到达冲突点的车辆 C1 或 C2 可以通过冲突区域,而另一辆车则无法通过。当 $\Delta T_i \geq T_m$,车辆 C1 与 C2 之间不存在交通冲突,两车均可通过冲突区域。因此,车辆 C1 和 C2 在小周期总数 $n$ 中的效用函数 $B_j (j=1,2)$ 在周期 $i$ 可表示为:
$$
B_j =
\begin{cases}
-e^{-\Delta T_i}, & \text{if } \Delta T_i = 0 \
e^{-|\Delta T_i - T_m|}, & \text{if } 0 < \Delta T_i < T_m \
e^{\Delta T_i - T_m}, & \text{if } \Delta T_i \geq T_m
\end{cases}
$$
其中,$j=1,2$;如果 $C_i$ 首先到达冲突点 $A$,则 $\delta_i = 1$;否则,$\delta_i = -1$。
4 算法
如果 C1 和车辆 C2 都希望安全且快速地通过冲突区域,并且双方驾驶员均理性驾驶,则驾驶员决策行为的博弈过程表达如下:
步骤 1 : 设 $i = 0$,输入车辆 C1 和 C2 在初始时刻的速度和加速度:$v_{1,0}, v_{2,0}, a_{1,0}, a_{2,0}$,以及小周期总数 $n$、参数 $\Delta t, T_m, L_1, L_2, l_1, l_2$ 和 $v_m$;并且满足 $L_1 \leq l_1$, $L_2 \leq l_2$。
步骤 2 : 根据公式 (3)–(9),可求得时间差 $\Delta T_i$,即 C1 和 C2 到达冲突点的时间差。
步骤 3 :根据 $\Delta T_i$ 的值,利用公式 (10),可计算出 C1 和 C2 的效用值 $B_j$,其中 $j=1,2$。
步骤 4
: 更新变量:
$$
a_{1,i+1} = a_{1,i}, \quad a_{2,i+1} = a_{2,i}
$$
$$
v_{1,i+1} = v_{1,i} + a_{1,i} \Delta t, \quad v_{2,i+1} = v_{2,i} + a_{2,i} \Delta t
$$
$$
L_{1,i+1} = L_1 - \sum_{k=1}^{i+1} s_{1,k}, \quad L_{2,i+1} = L_2 - \sum_{k=1}^{i+1} s_{2,k}
$$
其中 $s_{1,k} = v_{1,k} \Delta t + \frac{1}{2} a_{1,k} (\Delta t)^2$, $s_{2,k} = v_{2,k} \Delta t + \frac{1}{2} a_{2,k} (\Delta t)^2$。
步骤 5 : 如果 $i < n$,则 $i = i + 1$,并重复步骤 2,否则停止计算。
首先,根据初始时刻 $v_{1,0}, v_{2,0}, a_{1,0}, a_{2,0}$,以及参数 $\Delta t, T_m, L_1, L_2, l_1, l_2$ 和 $v_m$,算法计算博弈双方在每一时刻的效用。随后对初始时刻的数据进行迭代,并将得到的数据作为下一时刻博弈双方的初始值,计算后续时刻博弈双方各自的效用。通过一系列迭代,可获得每一时刻博弈双方的初始值。最后,根据每一时刻博弈双方的效用值,分析效用值的变化趋势及双方的交通状态,以判断各方在每一时刻通过冲突区域的情况,从而模拟博弈双方在每一时刻可能选择的决策行为。
5 示例
如图2所示,每个时间段的长度为 $\Delta t = 1.5\,\text{s}$,$T_m = 5\,\text{s}$,且在初始时刻 $t_0$,车辆 C1 和 C2 距冲突点的距离分别为 $L_1 = 60\,\text{m}$ 和 $L_2 = 30\,\text{m}$,C1 和 C2 的速度分别为 $v_{1,0} = 45\,\text{km/h}$ 和 $v_{2,0} = 25\,\text{km/h}$,C1 和 C2 的加速度分别为 $a_{1,0} = 0$ 和 $a_{2,0} = 0$。设非机动车与机动车驾驶员的反应时间为 $t = 1.5\,\text{s}$,非机动车与机动车的安全距离为 $h = 1\,\text{m}$,非机动车与机动车的最大速度分别为 $45\,\text{km/h}$ 和 $80\,\text{km/h}$,非机动车与机动车的最大加速度分别为 $5\,\text{m/s}^2$ 和 $7\,\text{m/s}^2$。根据公式 (1),可得 $l_1 = 67\,\text{m}$,$l_2 = 33\,\text{m}$。
鉴于非机动车与机动车的性能存在差异,机动车的冲动型、温和型和谨慎型驾驶员在通过冲突点时进行博弈,选择加速策略可分别表示为 $a_1^+ = 2.5\,\text{m/s}^2$,$a_2^+ = 2\,\text{m/s}^2$ 和 $a_3^+ = 1.5\,\text{m/s}^2$;当选择减速策略时,表达式分别为 $a_1^- = -1.5\,\text{m/s}^2$,$a_2^- = -2\,\text{m/s}^2$ 和 $a_3^- = -2.5\,\text{m/s}^2$。非机动车的冲动型、温和型和谨慎型驾驶员在通过冲突点时进行博弈,选择加速策略可表示为 $b_1^+ = 1.5\,\text{m/s}^2$,$b_2^+ = 1\,\text{m/s}^2$ 和 $b_3^+ = 0.5\,\text{m/s}^2$,而选择减速策略可表示为 $b_1^- = -0.5\,\text{m/s}^2$、$b_2^- = -1\,\text{m/s}^2$ 和 $b_3^- = -1.5\,\text{m/s}^2$。根据公式 (10),驾驶员在时刻 $t_{i+1}$ 选择加速度、匀速或减速策略的效用值如表1所示。
如表1所示,驾驶员 C1 和 C2 之间的博弈过程中存在纳什均衡。例如,表格数据中的加粗部分为均衡。例如,当驾驶员 C1 和 C2 的个性为(冲动型,谨慎型)时,博弈过程中存在纳什均衡,双方的均衡效用分别为 0.3106,0.3106。C1 和 C2 对应的策略是:C1 选择加速策略,C2 选择减速策略。
根据博弈中车辆 C1 和 C2 的均衡效用,通过在博弈开始时结合双方的不同性格类型,可以获得最优策略。最终效用,其中双方采用各种策略。博弈开始时,如表2所示。
表1 博弈效用值
| 不同策略下的效用值 | 车辆C2的冲动型驾驶员 | 车辆C2的温和型驾驶员 | 谨慎型驾驶员C2 |
|---|---|---|---|
| 加速度 均匀 减速 | 加速度 均匀 减速 | 加速度 均匀 减速 | |
| C1冲动型 | |||
| 加速度 | -1.9746 -1.7714 -0.9988 | -2.3978 -1.7714 -0.0020 | -2.4489 -1.7714 0.3106 |
| 均匀 | -0.7114 -1.8127 -2.5122 | -0.9373 -1.8127 -0.5889 | -1.2681 -1.8127 0.2340 |
| 减速 | 0.2220 -0.0593 -0.3826 | 0.1689 -0.0593 -1.9965 | 0.0861 -0.0593 0.1837 |
| C1温和型 | |||
| 加速度 | -1.7394 -2.0096 -1.1639 | -2.1271 -2.0096 -0.0627 | -2.6881 -2.0096 0.3006 |
| 均匀 | -0.7114 -1.8127 -2.5122 | -0.9373 -1.8127 -0.5889 | -1.2681 -1.8127 0.2340 |
| 减速 | 2.7183 0.3502 0.3147 | 0.3671 0.3502 0.1531 | 0.3627 0.3502 -0.4554 |
| C1谨慎型 | |||
| 加速度 | -1.4971 -2.3058 -1.3703 | -1.8478 -2.3058 -0.1400 | -2.3562 -2.3058 0.2885 |
| 均匀 | -0.7114 -1.8127 -2.5122 | -0.9373 -1.8127 -0.5889 | -1.2681 -1.8127 0.2340 |
| 减速 | 0.3646 0.3414 0.3180 | 0.3607 0.3414 0.2745 | 0.3537 0.3414 -1.5846 |
表2 博弈过程中不同驾驶员类型组合的最优策略
| 驾驶员类型 | 车辆C2的冲动型驾驶员 | 车辆C2的温和型驾驶员 | 车辆C2的谨慎型驾驶员 |
|---|---|---|---|
| C1的冲动型驾驶员 | (减速, 加速度) | (减速, 加速度) | (加速度, 减速) |
| C1的温和型驾驶员 | (减速, 加速度) | (减速, 加速度) | (减速, 加速度) |
| C1的谨慎型驾驶员 | (减速, 加速度) | (减速, 加速度) | (减速, 加速度) |
图3、图4 和 图5 表示不同性格类型驾驶员策略的效用值变化趋势。例如,C1 和 C2 车辆驾驶员的个性为(冲动型, 冲动型),如图3(a)所示。
如果 C1 和 C2 选择(均匀, 加速度)策略,则从时刻 1 到时刻 9,C1 和 C2 的效用值增加,并在时刻 9 达到峰值 2.7183。在时刻 9 之后,效用值稳定保持在峰值。由于 C1 的效用值在时刻 8 整个时间段内的变化最为显著,此时 C1 和 C2 更有可能改变策略。在前三个时间段内,车辆 C1 和 C2 的效用值均为负,而在时刻 4 之后,C1 和 C2 的效用值均为正。因此,在前三个时间段内,车辆 C1 与 C2 之间存在交通冲突,双方均无法安全通过冲突区域。而在时刻 4 之后,C1 与 C2 之间不存在交通冲突,双方均可安全通过。
如果车辆 C1 和 C2 选择 (减速, 均匀) 策略,则车辆 C1 和 C2 的效用值从时刻 1 增加到时刻 4,并在时刻 4 达到峰值 2.7183。在时刻 4 之后,车辆 C1 和 C2 的效用值稳定保持在峰值。由于车辆 C1 和 C2 的效用值在时刻 3 变化最为显著,因此在整个时间段内,它们更有可能在此时刻改变策略。在整段时间内,车辆 C1 和 C2 的效用值均为正。因此,车辆 C1 和 C2 之间不存在交通冲突,双方参与者均可安全通过冲突区域。
如果 C1 和车辆 C2 选择 (减速, 减速) 策略,则从时刻 1 到时刻 6,效用值逐渐增加,并在时刻 6 达到 2.7183 的峰值。在时刻 6 之后,车辆 C1 和 C2 的效用值稳定保持在峰值。由于车辆 C1 和 C2 的效用值在整个周期中在时刻 3 变化最为显著,因此它们更有可能在此时刻改变策略。从时刻 1 到时刻 2,双方参与者的效用值均为负,在时刻 2 之后变为正。因此,在时刻 1 到时刻 2 之间,车辆 C1 与 C2 存在交通冲突,双方无法安全通过冲突区域。然而,在时刻 3 之后,车辆 C1 与 C2 之间不存在交通冲突,双方可以顺利通过。
通过相同的方法,如果车辆 C1 和 C2 选择(减速,加速度)策略,则从时刻 1 到时刻 3,双方参与者的效用值均增加,并在时刻 3 达到峰值 2.7183。在时刻 3 之后,车辆 C1 和 C2 的效用值稳定保持在该峰值。鉴于在整个时间段内,车辆 C1 和 C2 的效用值在时刻 2 变化最为显著,因此双方参与者在此时刻更有可能改变其策略,且此时双方的效用值均为正,并在整个周期中达到最大值。此时,车辆 C1 和 C2 安全通过冲突区域的可能性最大。因此,在博弈开始阶段,具有(冲动型,冲动型)性格类型的驾驶员最有可能选择(减速,加速度)策略。基于相同的方法,其他性格类型的驾驶员的效用值也会发生变化。
显然,所有具有(冲动型,温和型)和(冲动型,谨慎型)性格类型的驾驶员分别最有可能选择(减速,加速)和(加速,减速)策略。
如图 4 和 图 5 所示,对于性格类型为(温和型, 冲动型)、(温和型, 温和型)和(温和型, 谨慎型)的驾驶员,博弈开始时最可能选择(减速, 加速度)策略。然而,对于性格类型为(谨慎型, 冲动型)、(谨慎型, 温和型)和(谨慎型, 谨慎型)的驾驶员,(减速, 加速度)策略在博弈开始时最可能被选择。
图6 展示了在每次博弈达到纳什均衡时,九种不同性格类型和策略的驾驶员效用值的变化趋势。对于具有(温和型,温和型)个性的驾驶员,车辆 C1 和 C2 的效用值从时刻 1 到时刻 2,并在时刻 2 达到峰值 2.7183。在时刻 2 之后,车辆 C1 和 C2 的效用值稳定保持在峰值。显然,参与者可以通过不断调整自身行为策略,安全且快速地通过冲突区域。
通过分析不同时刻具有不同性格类型的驾驶员的决策行为,冲动型驾驶员显然更倾向于选择加速策略。温和型驾驶员更偏好匀速或减速策略。谨慎型驾驶员选择减速策略。仿真结果表明,该模型能够有效反映两名冲突车辆之间具有不同类型个性的驾驶员决策行为。
6 结论
根据具有不同性格类型的驾驶员之间决策行为的交互关系,将非机动车与机动车通过交叉口时的冲突时间划分为若干较小的时间段,并分析驾驶员在每个时间段内的策略行为。根据非机动车与机动车到达冲突点各时刻驾驶员决策行为影响的时间差,得到不同策略的效用函数,从而研究车辆在交叉口行驶时驾驶员的决策行为。基于动态重复博弈理论,建立了非机动车与机动车驾驶员的决策行为模型。最后,将本文模型应用于实例分析,计算各时刻不同性格类型的驾驶员组合的效用值,判断博弈过程中纳什均衡的存在性,并分析不同性格类型驾驶员在博弈过程中的最优决策行为策略、双方参与者的效用值变化趋势以及纳什均衡等内容。显然,冲动型驾驶员更倾向于选择加速策略,温和型驾驶员更倾向于选择匀速或减速策略,谨慎型驾驶员则更倾向于选择减速策略。
本研究中的模型能够在一定程度上反映驾驶员在不同条件下的行为变化过程。该模型不仅为车辆通过无信号灯交叉口时的冲突车辆提供了理论参考,而且有助于提高交通效率并减少无信号灯交叉口的交通事故数量。然而,在建模过程中仅考虑了两辆车参与博弈,相关的影响因素也被相应简化。因此,多车之间的更合理的博弈模型仍有待进一步研究。
2063

被折叠的 条评论
为什么被折叠?



