直流电机工作原理
直流电机特点及应用范围
• 结构复杂,使用和维护较方便,使用直流电源。
• 调速性能好。
• 起动、制动转矩大,易于快速起动、停车。
• 易于控制。
• 应用:轧钢机、电气机车、无轨电车、中大型龙门刨床等调速范围大的大型设备;用蓄电池做电源的地方,如
汽车、拖拉机等;家用。
直流电机工作原理
直流发电机
1.主磁极建立磁场
2.外加机械转矩
3.线圈在磁场中旋转
4.运动导体在磁场中产生感应电势**_e _=Blv**
5.带电负载
6.对外输出电能
如何保证输出直流
电动势波形特点:交流
措施:换向
1.线圈旋转方向不变
2.导体感应电势
• 在不同极性磁极下感应电势方向不同
• 导体感应电势交变
3.感应电势换向=整流
• 经过磁极的几何中性线,交换线圈输出极性
• 输出直流,否则,输出交流
4.减小的电动势脉动的方法:
• 增加导体数量;
• 当每极下导体数大于8时,脉动可小于1%
直流电动机
1.主磁极建立磁场
2.外加直流电压
3.在线圈中产生电流
4.载流导体在磁场中产生电磁力f=Bxlif = B_x lif=Bxli
5.克服阻力旋转
6.对外输出机械能
电流换相——保证输出力矩方向一致
1.直流电源供电
2.电流方向不变
3.旋转180电角度后电磁力方向反向,平均电磁转矩为0
4 若要维持电磁力方向不变,必须:
—— 改变磁极极性
—— 改变电流方向
—— 二者改变且仅改变一个
5.位置:几何中性线
• 磁极的几何分界线
6.电刷和换向器配合
7.电流换向=电流逆变
• 导体运动经过磁极的几何中性线期间
• 交换线圈电源极性
• 交换线圈电流方向
• 电磁力方向维持不变
直流电机基本结构

静止部分(定子)
• 主磁极、励磁绕组、轴承、磁轭和电刷装置等
旋转部分(转子、电枢)
• 电枢铁心、电枢绕组、换向器、轴等
主磁极
主磁极简称主极,用于产生气隙磁场。绝大部分直流电机的主极都不用永久磁铁,而是用结构形式(主极铁心外套励磁绕组),即由励磁绕组通以直流电流来建立磁场。 为降低电机运行过程中磁场变化可能导致的涡流损耗,主极铁心一般用 1mm~1.5mm 厚的 低碳钢板冲片叠压而成。极靴与电枢表面形成的气隙通常是不均匀的,并有极靴中部圆弧与 电枢外圆同心、但两侧极尖间隙稍大的同心式气隙,和极靴圆弧半径大于电枢外圆半径的偏 心式气隙两种。由于电机中磁极的 N 极和 S 极只能成对出现,故主极的极数一定是偶数,并 且要以交替极性方式沿机座内圆均匀排列。
电机转子
2.1电枢铁心
电枢铁心是用来构成磁通路径并嵌放电枢绕组的。为了减少涡流损耗,电枢铁心一般用 厚 0.35mm~0.5mm 的涂有绝缘漆的硅钢片叠压而成。嵌放绕组的槽型通常有矩形和梨形两种。对于小容量电机,铁心叠片(也叫冲片)尽可能采用整形圆片;而大容量电机则 可能要多片拼接,并且还要沿轴向方向分段,段与段之间再设置径向通风道,以加强冷却。 需要说明的是,电枢铁心的轴向通风道是铁心叠片上预留的通风孔叠压后形成的。
2.2电枢绕组
电枢绕组是用来感应电动势、通过电流并产生电磁力或电磁转矩,使电机能够实现机电能量转换的核心构件。电枢绕组由多个用绝缘导线绕制的线圈连接而成。小型电机的线圈用圆铜线绕制,较大容量时用矩形截面铜材绕制,各线圈以一定规律与换向器焊连。 导体与导体之间,线圈与线圈之间以及线圈与铁心之间都要求可靠绝缘。为防止电机转动时 线圈受离心力作用而甩出,槽口要加槽楔固定。唯一例外的是无槽电机,此时电枢绕组均匀 敷设在电枢表面,但依然需要牢固绑扎,并且只可能在小容量直流电机中采用。 
2.3换向器
换向器的作用是把电枢绕组内的交流电动势用机械换接的方法转换为电刷间的直流电 动势。换向器由多片彼此绝缘的换向片构成,有多种结构形式,下图是最常见的一种。
2.4. 电刷装置
电刷的作用之一是把转动的电枢与外电路相连接,使电流经电刷进入或离开电枢;其 二是与换向器配合作用而获得直流电压。电刷装置由电刷、刷握、刷杆和汇流条等零件构成。 图 2.14 是电刷的一种结构形式,图 2.15 是一种电刷装置。 
绕组绕线
绕组
• 由一系列元件边和端接线按一定规律排列构成的感应电势和产生电磁力的导体集合。绕组是电机中电流通道的主体,也是电磁力的载体,是实施机电能量转换的枢纽。
作用
• 将导体感应电势有效组织起来
• 将电枢电流有效分布
要求
• 节省材料
• 结构简单
• 制造维护方便
• 将两根导体组成一个线圈
• 将多个线圈通过换向片连接起来
• 所有换向片组成换向器
• 所有线圈组成绕组
绕组常用术语
元件:构成绕组的线圈称为绕组元件,分单匝和多匝两种。
元件的首末端:每一个元件均引出两根线与换向片相连,其中一根称为首端,另一根称为末端。
极距:相邻两个主磁极轴线沿电枢表面之间的距离,用τ\tauτ表示。τ=πD2p\tau = \frac{\pi D}{2p}τ=2pπD
叠绕组:指串联的两个元件总是后一个元件的端接部分紧叠在前一个元件端接部分,整个绕组成折叠式前进。
波绕组:指把相隔约为一对极距的同极性磁场下的相应元件串联起来,象波浪式的前进。
第一节 y1:一个元件的两个有效边在电极表面跨过的距离。
第二节 y2:连接同一换向片上的两个元件中第一个元件的下层边与第二个元件的上层边的距离。
合成节距 y:连接同一换向片上的两个元件对应边之间的距离。
单叠绕组 y = y1 - y2
单波绕组 y = y1 + y2
换向节距 yk:同一元件首末端连接的换向片之间的距离。
单叠绕组:所有元件依次串联
- y=1y = 1y=1,右行;,右行;,右行;y=−1y = -1y=−1,左行
- 所有元件电势全部串联成一环状,电刷分割
- 电刷放在(感应电势为零的元件上)几何中心线上
- 同一主磁极下的元件串联成一条支路,主磁极数与支路数相同。
y=yc=±1y = y_c = \pm 1y=yc=±1
单波绕组:同一极性下元件串联,构成绕组
单波绕组只有两条并联支路,与磁极对数无关;
yc=y=k±1py_c = y = \frac{k \pm 1}{p}yc=y=pk±1
单叠绕组组成
无头无尾的闭合绕组
• 单叠绕组是把每个主极下的元件串联成一条支路
• 并联支路数等于极数:2_a_=2_p_
• 电刷放在(感应电势为零的元件上)几何中心线上
• 同一主磁极下的元件串联成一条支路,主磁极数与支路数相同。
单叠绕组展开图步骤

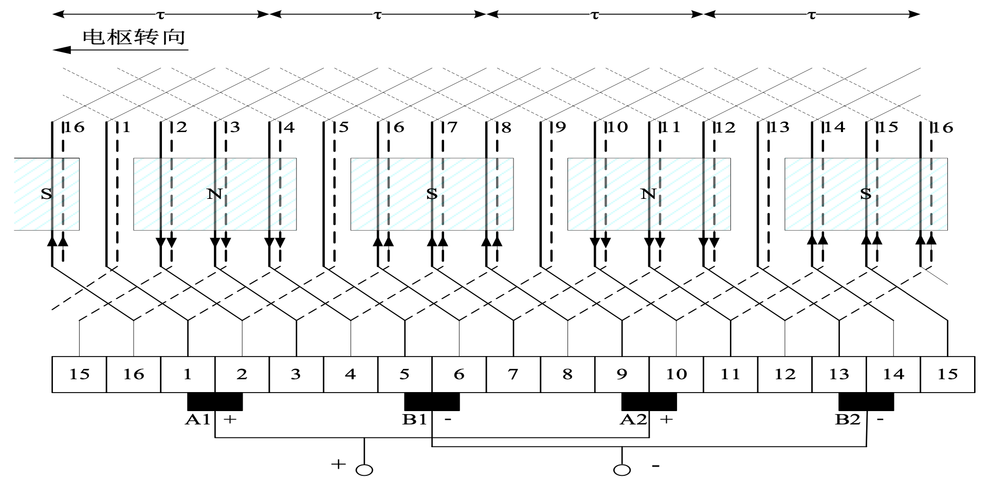
极数2p=4,虚槽数Qu,元件数S,换向片数K均为16。
第一节距y1:y1=Qu2p+ε=164=4y_1 = \frac{Q_u}{2p} + \varepsilon = \frac{16}{4} = 4y1=2pQu+ε=416=4
合成节距和换向器节距yk:y=yk=1y = y_k = 1y=yk=1
第二节距2:y2=y1−y=4−1=3y_2 = y_1 - y = 4 - 1 = 3y2=y1−y=4−1=3
画槽

放磁极

画换向片

连绕组

确定电动势方向

放电刷

单叠绕组瞬间等效电路

- 单叠绕组的是相邻元件(绕圈)相互叠压,合成节距与换向节距均为1,即y=y_k=1;
- 同一主磁极下的元件串联成一条支路,主磁极数与支路数相同,2a=2p;
- 电刷数等于主磁极数,电刷位置应使感应电动势最小,电刷间电动势等于并联支路电动势;
- 电枢电流等于各支路电流之和。
单波绕组

单波绕组是把所有处于相同极性下的元件都串联起来构成一条支路
• 并联支路数等于2,此时2a=2
• 单波绕组只有两条并联支路,与磁极对数无关;
某直流电机,极数2p=4,虚槽数Qu、元件数S、换向片数K均为15。
第一节距y1 y1 = Qu/2p ± ε = 15/4 - 3/4 = 3 y1’ = Qu/2p ± ε = 15/4 + 1/4 = 4
合成节距y和换向器节距yk y = yk = (K ∓ 1)/p = (15-1)/2 = 7
第二节距y2 y2 = y1 - y = 7 - 3 = 4 y2’ = y1’ - y = 7 - 4 = 3
展开图

等效电路图

单叠绕组vs单波绕组
并联支路对数不同
• 单波绕组:同极性下各元件串联起来组成一条支路,支路对数为1,与磁极对数无关;
• 单叠绕组:同一主磁极下的元件串联成一条支路,主磁极数与支路数相同,2a=2p。
每条并联支路所串联的绕组不同
小结
本文详细介绍了直流电机的工作原理、结构和绕组类型。文章重点阐述了直流电机的基本构造,包括主磁极、电机转子和绕组绕线等关键部分。特别强调了单叠绕组和单波绕组的特点及区别,并通过展开图和等效电路图深入解释了绕组的结构和工作方式。文章还探讨了直流发电机和电动机的工作原理,以及如何通过电流换向保证输出力矩方向的一致性。
- 直流电机由主磁极、电机转子和绕组绕线等基本结构组成
- 单叠绕组和单波绕组是两种主要的绕组类型,它们在并联支路数量和绕组连接方式上存在差异
- 直流发电机通过电磁感应原理将机械能转换为电能
- 直流电动机通过电流换向技术保证输出力矩方向一致
- 绕组展开图的绘制包括画槽、放磁极、画换向片等多个步骤
- 单叠绕组的支路数与磁极数相同,而单波绕组的支路数为1
- 直流电机的应用范围广泛,具有调速性能好、启动转矩大等特点

1607

被折叠的 条评论
为什么被折叠?



