关注、星标公众号,精彩内容每日送达
来源:网络素材AMD 最新聚焦 DRAM 的专利实现了内存带宽翻倍,其核心并非依赖更快的 DRAM 硅片,而是通过改变模块级逻辑设计达成。
AMD 专利突破:无需升级 DRAM 硅片即可翻倍内存带宽
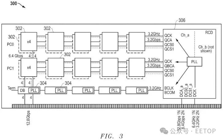
硬件层面的升级往往存在局限性,因其不可避免伴随架构迭代或逻辑 / 半导体利用率重构的 “额外成本”。然而,AMD 的最新专利展示了一种更直接的技术路径,成功将 DDR5 内存带宽输出翻倍,该技术被其命名为 “高带宽 DIMM”(HB-DIMM)。这项专利并未单纯聚焦 DRAM 工艺升级,而是通过集成寄存器 / 时钟驱动器(RCD)和数据缓冲芯片来提升内存带宽,本质上是针对 DIMM 模块的架构革新。

技术实现细节解析
专利显示,HB-DIMM 技术的核心并非优化 DRAM 本身 —— 通过简单的时序重调和多路复用,内存带宽从每引脚 6.4 Gb/s 提升至 12.8 Gb/s,实现输出翻倍。具体而言,AMD 借助 RCD 整合板载数据缓冲器,将两路标准速率的 DRAM 数据流合并为一路高速数据流传输至处理器,从而在分配给主机系统时使带宽翻倍。
应用场景与拓展可能
该方案主要面向 AI 等带宽敏感型工作负载,同时专利中还提及一项与 APU/iGPU 相关的有趣设计:采用双物理层(PHY)架构 —— 标准 DDR5 PHY 与新增的 HB-DIMM PHY。其中,较大的内存池由 DDR5 提供,而较小的部分则通过 HB-DIMM 技术实现数据高速传输。

对于 APU 而言,这种设计在设备端 AI 场景中优势显著:当系统处理需要海量数据流的 AI 任务时,可优先保障更快的响应速度。随着边缘 AI 在传统系统中重要性与日俱增,该方案将为 AMD 带来显著竞争力。值得注意的是,这一方案的潜在缺点是高内存带宽可能导致功耗上升,因此需要配套高效的散热机制。
技术积累与行业定位
作为内存领域的领军企业之一,AMD 与 SK 海力士合作研发 HBM(高带宽内存)的经历已彰显其技术积淀。HB-DIMM 方案的突破性在于,它无需依赖 DRAM 硅片工艺进步,即可实现内存带宽的翻倍提升,这一思路为未来内存技术发展提供了新的可能性。
(全文完)
声明:我们尊重原创,也注重分享;文字、图片版权归原作者所有。转载目的在于分享更多信息,不代表本号立场,如有侵犯您的权益请及时联系,我们将第一时间删除,谢谢!

想要了解FPGA吗?这里有实例分享,ZYNQ设计,关注我们的公众号,探索
1835

被折叠的 条评论
为什么被折叠?



