目 录
在信息技术快速发展的今天,超市仓储管理的复杂性和精细化要求日益增加。传统的手工记录和管理方式已难以满足现代超市对高效、准确库存管理的需求。为应对这一挑战,本文提出了一款基于Java的超市仓储管理系统。该系统旨在通过信息化手段提升仓库管理效率,优化资源配置,为企业提供更加智能化的运营解决方案。
本论文首先概述了信息技术发展背景下超市仓储管理面临的挑战与需求,强调了传统管理方式的局限性以及引入信息化系统的必要性。随后详细介绍了基于Java的超市仓储管理系统的架构设计和技术实现细节。利用Spring Boot框架的自动配置特性及嵌入式服务器支持,系统实现了便捷的开发与部署流程,大幅缩短了上线时间。同时,Spring Boot提供的安全机制有效保障了数据的安全性和用户隐私,其丰富的插件库和强大的社区支持为系统的持续改进提供了坚实的基础。
系统功能方面,针对仓库员工和管理员设计了不同的操作权限和界面。仓库员工可以通过注册登录系统,方便地查看后台首页信息,进行仓库信息查询、商品入库及出库管理等操作,从而提高工作效率。管理员则拥有更广泛的权限,可以全面掌控系统,包括用户管理、商品类型管理和仓库信息管理等功能,实现对整个仓储体系的细致化管理。系统不仅支持详细的信息查询和记录提交,还能通过精准的数据分析帮助决策者及时调整策略,以应对市场变化。
关键词:超市仓储管理系统;Java;Spring Boot
In today's rapidly developing information technology, the complexity and refinement requirements of supermarket warehouse management are increasing day by day. The traditional manual recording and management methods are no longer able to meet the needs of modern supermarkets for efficient and accurate inventory management. To address this challenge, this article proposes a Java based supermarket warehouse management system. The system aims to improve warehouse management efficiency, optimize resource allocation, and provide more intelligent operational solutions for enterprises through information technology.
This paper first outlines the challenges and demands faced by supermarket warehouse management under the background of information technology development, emphasizing the limitations of traditional management methods and the necessity of introducing information systems. Subsequently, the architecture design and technical implementation details of a supermarket warehouse management system based on Java were introduced in detail. By utilizing the automatic configuration feature of the Spring Boot framework and embedded server support, the system has implemented a convenient development and deployment process, significantly reducing the online time. At the same time, the security mechanism provided by Spring Boot effectively ensures the security of data and user privacy. Its rich plugin library and powerful community support provide a solid foundation for the continuous improvement of the system.
In terms of system functionality, different operating permissions and interfaces have been designed for warehouse employees and administrators. Warehouse employees can easily view the backend homepage information, perform warehouse information queries, manage product inbound and outbound operations, and improve work efficiency by registering and logging into the system. Administrators have broader permissions and can comprehensively control the system, including user management, product type management, and warehouse information management, achieving detailed management of the entire warehousing system. The system not only supports detailed information queries and record submissions, but also helps decision-makers adjust strategies in a timely manner through accurate data analysis to respond to market changes.
Keywords:Supermarket warehouse management system; Java; Spring Boot
1 绪论
1.1 研究背景
在当今信息技术迅猛发展的背景下,超市仓储管理面临着前所未有的复杂性和精细化要求。随着商品种类和库存量的不断增长,传统的手工记录和管理方式已难以满足现代超市对高效、准确库存管理的需求。为了提升仓库管理效率,优化资源配置,并确保信息处理的及时性和准确性,构建一个先进的超市仓储管理系统显得尤为重要。这样的系统不仅能够帮助超市应对日益复杂的运营挑战,还能通过信息化手段显著提升整体业务流程的效率和精确度。
Java作为一种跨平台的编程语言,以其丰富的类库和出色的兼容性,在多种应用场景中展现出卓越的性能和稳定性,尤其适合处理高并发和大数据量的任务。其强大的功能为构建高效、稳定的超市仓储管理系统奠定了坚实的基础。
Spring Boot作为一款流行的Java开发框架,极大地简化了应用开发的过程。它不仅能够帮助开发者迅速搭建项目的基本架构,还提供了众多扩展点,使开发者可以根据具体需求灵活定制和优化应用程序。采用Spring Boot框架开发的超市仓储管理系统充分利用了其自动配置特性和嵌入式服务器的支持,大幅简化了开发与部署流程,确保系统可以快速上线并及时响应市场变化。此外,Spring Boot内置的安全机制有效保障了系统数据的安全性,保护企业敏感信息和用户隐私不受侵犯。借助Spring Boot广泛的社区支持和丰富的插件库资源,该系统展现了强大的可扩展性,能够根据企业的具体需求灵活调整功能模块,实现系统的持续改进和升级。这种灵活性不仅降低了维护成本,还促进了技术创新,为企业带来了持久的竞争优势。
基于Java的超市仓储管理系统的开发具有深远的意义,不仅对内部用户如仓库员工和管理员有着直接的帮助,同时也对企业整体运营产生积极影响。对于仓库员工来说,通过注册并登录系统,他们能够便捷地访问后台首页信息,并执行仓库信息查看、商品入库及出库管理等操作,极大提升了工作效率与准确性。系统提供的详细查询功能和记录提交机制确保了每一步操作都有据可查,减少了人为错误的可能性。
管理员则拥有更广泛的权限来全面掌控系统,包括但不限于用户管理、商品类型管理和仓库信息管理等功能。这些功能使得管理员可以实现对整个仓储体系的精细化管理,从调整商品分类到监控库存水平,每一个环节都得到了优化。此外,系统强大的数据分析能力为决策者提供了宝贵的洞察力,使他们可以根据实时数据迅速调整策略以应对市场变化。这不仅有助于减少不必要的运营成本,提高经济效益,还能显著增强企业的市场竞争力和服务质量。
从企业长远发展的角度来看,该系统通过精准的数据分析和高效的资源管理促进了企业的可持续发展。它帮助企业更好地理解市场需求,优化库存结构,从而在降低持有成本的同时满足客户需求。此外,借助先进的技术优势,如自动化的流程处理和智能化的数据分析,实现了仓储管理的现代化和智能化,为企业带来了可观的价值。这种现代化管理模式不仅提升了企业的运营效率,还为其在未来竞争中保持领先地位奠定了坚实的基础。总之,基于Java的超市仓储管理系统不仅仅是一个工具,它是推动企业向数字化转型的重要力量,助力企业在日益复杂的商业环境中稳步前行。
近年来,随着信息技术的快速发展,超市仓储管理系统在国内的研究与应用也取得了显著进展。王治提出了一种基于无源RFID技术的仓库物资管理系统设计方案,该系统通过实现仓库库位的可视化管理,并在极短时间内精准定位货物位置,极大地方便了物料出入库管理和清点工作,减少了仓库管理员的任务量,提高了仓库管理效率[1]。这表明利用RFID技术可以有效提升超市仓储管理的智能化和数字化水平。
张桦、邱雄飞等人提出的基于物联网技术的后方仓库管理系统建设方案,设计了一套包含业务管理、库房管理、安全管理、人员设备管理及其他辅助性功能子系统的综合管理系统[2]。这一研究为超市仓储管理系统提供了全面的技术框架参考,展示了如何通过整合多种管理模块来提高整体仓储管理效率。
针对特定行业的仓储需求,刘银浩、向军等人开发出基于B/S架构的纱线仓储管理系统,实现了快捷品种管理、出入库管理、报表管理等功能,大大提高了纺织企业仓储管理效率,降低了企业仓储成本[3]。虽然这项研究主要聚焦于纺织行业,但其采用的技术和管理模式对超市仓储管理系统同样具有借鉴意义。
王玉魁、李峰等人设计并实现了一款基于SpringBoot与Vue框架的仓储管理系统,集成了用户管理、基础资料、库存管理、库存记录编辑与查询等核心功能[4]。这款系统的设计理念对于构建高效、便捷的超市仓储管理系统提供了重要的实践指导。
刘苏逸探讨了利用RFID、传感器、无线通信等技术构建智慧仓储系统,旨在实现自动化、可视化、智能化管理[5]。这些技术的应用不仅可以增强超市仓储管理系统的功能,还能进一步优化库存管理流程,提升操作效率和服务质量。
综上所述,国内对于超市仓储管理系统的研究已经涵盖了从技术创新到实际应用的多个方面,为超市仓储管理的现代化和智能化发展奠定了坚实的基础。通过不断引入先进的信息技术,如物联网、RFID等,不仅能够提升仓储管理效率,还能降低运营成本,提高客户满意度。
国外对于超市仓储管理系统的研究已经取得了显著进展,特别是在利用先进技术提升库存管理效率和准确性方面。随着物联网(IoT)、射频识别(RFID)技术以及区块链技术的发展,越来越多的研究开始探索如何将这些新兴技术应用于仓储管理中,以解决传统管理方式中存在的低效、易错等问题。
Maleshkov V., Valchanov H., 和 Aleksieva V. 提出了一种结合物联网设备和射频识别标签的新型区块链模型,该模型专注于仓库管理中的安全性和来源验证问题,尤其是在艺术品领域。他们指出,通过这种综合应用技术的方法,不仅提高了库存准确性,减少了人为错误,还在跟踪有价值的物品方面提供了有效的解决方案[6]。这一研究为超市仓储管理系统在提高库存管理准确性和安全性方面提供了宝贵的经验,表明类似的技术组合同样可以应用于超市环境,以增强商品追踪和管理的可靠性。
此外,国际上还有许多关于自动化仓库管理和智能物流的研究。例如,一些研究强调了自动化立体仓库系统的应用,这不仅能大幅度提高空间利用率,还能有效降低人力成本。另一些则关注于利用大数据分析优化库存水平,通过预测需求来减少过剩库存和缺货现象。这些技术的应用,不仅提升了仓储管理的效率,也为企业带来了可观的经济效益。
总的来说,国外对超市仓储管理系统的研究呈现出多元化和技术化的特点,从基础的库存控制到复杂的供应链管理都有涉及。特别是随着物联网、RFID、区块链等技术的不断成熟,它们在仓储管理中的应用前景广阔。借鉴这些研究成果,超市仓储管理系统可以通过引入先进的信息技术手段,进一步提升自身的竞争力和服务质量,满足现代商业环境中日益增长的需求。
在本研究中,Java语言是构建超市仓储管理系统的核心技术之一。主要使用Java语言开发后端系统,采用Spring Boot框架来实现业务逻辑和数据交互。Spring Boot简化了配置和开发过程,提供了一套开箱即用的解决方案,能够专注于业务功能的实现。同时,Java的多线程和并发处理能力,使平台能够高效处理大量用户请求和并发交易,保证系统的稳定性和响应速度。此外,Java语言的跨平台特性和丰富的类库支持,使得系统具有良好的可移植性和可扩展性,能够适应不同的操作环境和业务需求[7]。总之,Java语言在本系统中的应用,为实现一个高效、安全、稳定的超市仓储管理系统提供了坚实的技术基础。
MySQL是一种流行的开源关系型数据库管理系统,用于存储和管理数据。在超市仓储管理系统中,MySQL可以用于数据存储、数据查询和数据管理等方面,用户可以免费使用和修改源代码,为平台提供可靠和高性能的数据库支持。MySQL支持多种存储引擎,如InnoDB和MyISAM,可以根据不同的应用场景选择合适的存储引擎,以提高性能;提供了多种数据安全机制,如用户权限管理、数据加密和备份恢复等,确保数据的安全性[8-9]。
本研究中,Spring Boot框架用于开发超市仓储管理系统的后端系统。Spring Boot是基于Spring框架的一款快速开发工具,提供了简化的配置和自动化的设置,极大地提高了开发效率。它通过“约定优于配置”的理念,减少了人员的配置工作,使得项目能够快速启动和运行[10]。Spring Boot内置了嵌入式服务器(如Tomcat),无需进行复杂的服务器配置即可运行项目。此外,Spring Boot还支持微服务架构,方便系统的模块化开发和部署,提高了系统的可扩展性和维护性。通过Spring Boot能够快速构建出一个高效、稳定且具备良好扩展性的后端系统,满足超市仓储管理系统的业务需求。
本文共分为六章,章节内容安排如下:
第一章:绪论,主要介绍基于Java的超市仓储管理系统领域研究的背景和意义及概述研究现状和介绍开发技术。
第二章:系统分析,主要从基于Java的超市仓储管理系统的可行性、用户功能、操作流程等方面进行分析,为后续系统设计提供理论支持。
第三章:系统总体设计,主要对基于Java的超市仓储管理系统的系统架构、功能模块、数据库进行设计。
第四章:系统详细设计与实现,主要介绍了基于Java的超市仓储管理系统各个用户功能界面的实现。
第五章:系统测试,主要对基于Java的超市仓储管理系统进行测试,验证功能完整性、稳定性和安全性,评估系统在实际运行中的性能表现。
第六章:结论。总结全文研究内容。
2系统分析
系统分析是对系统开发的可行性进行研究,分析功能需求以确保系统满足用户期望。系统用例设计将明确定义系统与外部用户的交互场景,系统流程规划则细化系统内部功能流程,确保系统各模块协调工作。通过系统分析,可以建立清晰的系统框架,明确系统目标和功能,为系统开发和实施奠定基础。
2.1 可行性分析
1. 技术可行性
Java是一种跨平台的编程语言,具有丰富的类库和良好的兼容性,广泛应用于各种场景。Java语言具有较高的性能和稳定性,可以满足系统高并发、大数据处理的需求。此外,Spring Boot是一个非常流行的Java开发框架,Spring Boot不仅能够帮助开发者快速搭建应用的基本框架,还提供了丰富的扩展点,使得开发者可以灵活地定制和优化应用程序,满足不同场景下的需求。因此,从技术层面来说是可行的。
- 经济可行性
该系统的开发主要基于开源技术(如Java、Spring Boot、MySQL等),这大大降低了技术选型的费用,无需支付高额的许可费用。系统的开发只需具备Java相关的技术背景,开发成本相对较低。此外,Spring Boot的代码质量和可维护性较高,可以降低后期维护成本。因此,从经济角度分析是可行的。
Spring Boot应用易于监控和调试,结合自动化运维工具,能够显著减少运营复杂度,并确保系统的稳定性和可靠性。为了进一步提升操作可行性,系统界面设计直观易用,降低用户的上手难度,并提供详尽的使用指南和技术支持,帮助用户快速使用该系统。因此,从操作层面上分析是可行的。
4.社会可行性
随着信息技术的进步,企业对信息化管理的重要性有了深刻认识,为系统推广奠定了坚实的社会基础。实现自动化和精确化的库存管理不仅能减少人为错误,提高工作效率。优化后的库存管理帮助企业更灵活地应对市场需求变化,有效减少资源浪费,促进绿色经济的发展。因此,从社会层面分析是可行的。
综上所述,基于Java的超市仓储管理系统在经济、技术、操作,社会等方面都具有较高的可行性。
按照基于Java的超市仓储管理系统的角色,主要包括仓库员工和管理员这两大用户功能模块,各用户功能模块的具体功能说明如下。
- 仓库员工功能
- 注册登录:用户可以通过注册成为系统用户,注册后后可以用账号密码登录系统。
- 后台首页:用户可以查看后台首页展示的相关信息。
- 仓库信息管理:用户可以查看列表中某个仓库的某个商品的信息详情并可以提交出入库记录。支持通过关输入仓库名称、仓库位置、商品名称或选择商品类型进行查询相关仓库信息。
- 商品入库管理:用户可以查看商品入库列表中某个商品的入库信息详情,持通过输入仓库名称、商品名称、商品类型或员工姓名来查询相关商品入库信息。
- 商品出库管理:用户可以查看商品出库列表中某个商品的出库信息详情,持通过输入仓库名称、商品名称、商品类型或员工姓名来查询相关商品出库信息。
- 我的:用户点击我的头像的下拉菜单“个人信息”可以修改个人资料;点击“修改密码”可以修改登录密码;点击“退出”即可退出系统登录。
仓库员工角色的用例图如下图2-1所示:

图2-1仓库员工用例图
- 管理员功能
- 登录:管理员的账号和密码是事先在数据库中设定好的,管理员可以通过在后台输入正确的账号、密码和验证码进行登录。
- 后台首页:管理员可以查看后台首页展示的商品入库统计、商品出库统计图信息。
- 系统用户:管理员可以对所有用户信息(仓库员工、管理员)进行查询、添加和删除操作。如管理员可以查看某个仓库员工的信息详情并可以修改用户状态等信息。
- 商品类型管理:在该模块管理员可以对商品类型列表进行管理和进行商品类型添加。管理员点击“商品类型列表”可以查看列表中某个商品类型的详情;点击“商品类型添加”进入页面填写类型名称后点击“提交”即可完成商品类型信息的添加。
- 仓库信息管理:在该模块管理员可以对仓库信息列表进行管理和进行仓库信息添加。管理员点击“仓库信息列表”可以查看列表中某个仓库信息的详情并提交出入库记录;点击“仓库信息添加”进入页面填写仓库名称、仓库位置、商品名称等信息和上传商品图片后点击“提交”即可完成仓库信息的添加。
- 商品入库管理:管理员可以查看商品入库列表中某个商品的入库信息详情,可以对列表进行查询和删除操作;支持通过输入仓库名称、商品名称、商品类型或员工姓名来查询相关商品入库信息。
- 商品出库管理:管理员可以查看商品出库列表中某个商品的出库信息详情,可以对列表进行查询和删除操作;支持通过输入仓库名称、商品名称、商品类型或员工姓名来查询相关商品出库信息。
- 我的:管理员点击我的头像的下拉菜单“个人信息”可以修改个人资料;点击“修改密码”可以修改登录密码;点击“网站首页”可以浏览首页信息;点击“退出”即可退出系统登录。
管理员用例图如下图2-2所示。

图2-2管理员用例图
非功能性需求分析主要是分析本系统的安全性怎么样(是否会泄露用户个人信息),可靠性怎么样(用户操作的时候是不是能够根据实际操作显示信息),性能怎么样(运行是否操作流畅),可拓展性怎么样(功能能否继续拓展)等。具体可以表示在如下2-1表格中:
表2-1基于Java的超市仓储管理系统非功能需求表
| 需求类型 | 描述 |
| 性能 | 系统应具有高性能,能够快速响应用户请求,保持稳定的性能水平,支持高并发访问和大规模数据处理。 |
| 可靠性 | 系统应具有高可靠性,确保系统稳定运行,防止系统故障和数据丢失,提供数据备份和恢复机制。 |
| 安全性 | 系统应具有高安全性,保护用户隐私信息和数据安全,采用加密传输技术、访问控制和身份验证机制。 |
| 可用性 | 系统应具有高可用性,保证系统全天候运行,最大限度减少系统故障和维护时间,提供灾备和故障转移功能。 |
| 易用性 | 系统应具有良好的易用性,用户界面设计友好,操作简单直观,提供清晰的指导和帮助文档。 |
| 可维护性 | 系统应具有良好的可维护性,易于维护和升级,提供模块化和结构化代码,方便开发人员进行维护和修改。 |
| 可扩展性 | 系统应具有良好的可扩展性,支持新增功能和模块的集成,具备良好的架构设计和扩展性能。 |
2.3系统流程分析
用户访问系统,可以选择进行注册或登录操作。注册成功后,用户可以使用注册的账号登录平台。登录后的用户可以进入系统功能界面,使用自己权限内的功能操作。程序操作流程图如下图2-3所示。

未有账号的用户可进入注册界面进行注册操作,填写注册表格,包括用户名、密码、姓名等必要信息。后台系统验证并保存用户提交的信息。分配唯一用户标识符。注册成功后,用户可以使用账号密码进行登录。用户注册流程图如下图2-4所示。

图2-4注册操作流程图
用户访问系统,进入登录页面页面,入其用户名和密码,后端服务接收登录请求,验证用户提供的用户名和密码是否匹配数据库中存储的信息,验证通过即可登录成功。登录流程图如下图2-5所示。

图2-5登录操作流程图
2.4本章小结
本章主要通过对基于Java的超市仓储管理系统的可行性分析、功能分析、系统用例分析、流程分析,确定整个系统要实现的功能。同时也为系统的代码实现和测试提供了标准。
本章主要讨论的内容包括 基于Java的超市仓储管理系统的架构设计、功能模块设计和数据库系统设计。
3.1 系统架构设计
在系统架构设计中,我将确定系统的整体结构和组件之间的关系。这包括选择适当的架构风格,划分系统的层次结构,并定义各个模块的职责和交互方式。架构图如下图所示。

图3-1系统架构设计图
表示层(Presentation Layer):负责与用户进行交互,将系统的功能和数据以易于理解和操作的方式展示给用户。通常包括用户界面、页面设计和用户输入验证等。
业务逻辑层(Business Logic Layer):处理系统的核心业务逻辑,包括对用户请求的处理、业务规则的执行以及数据的处理和转换。它独立于表现层和数据层,实现了业务逻辑的封装和复用。
数据层(Data Layer):负责数据的存储、访问和管理,包括数据库和持久化机制。数据层提供了对数据的增删改查操作,并与业务逻辑层进行交互,使系统能够有效地存储和检索数据。
这三个层次相互独立,通过明确的接口和协议进行通信,实现了系统的模块化和可扩展性。表现层负责将用户的请求传递给业务逻辑层,业务逻辑层处理请求并返回结果,最后数据层负责与数据库交互并提供数据支持。这种分层架构有助于实现系统的可维护性、灵活性和可测试性。
3.2 系统功能模块设计
3.2.1系统整体功能模块设计
通过整体功能模块设计,根据需求分析的结果,将系统的功能划分为不同的模块。每个模块负责实现特定的功能,并与其他模块进行协作。我们将详细定义每个模块的输入、输出、处理逻辑和相互依赖关系。具体的功能模块图如图3-2所示。

图3-2 系统功能模块图
3.2.2系统用户模块设计
(1)系统用户模块结构图
本系统主要分为管理员和仓库员工这两个用户角色。他们共享基本功能,但仓库员工多了一个注册功能,以便能够注册使用系统。管理员用户在系统中有着操作权限和功能,确保了系统的一致性和易用性。用户模块结构图如下图3-3所示:

图3-3系统用户模块结构图
(2)各个结构的具体业务逻辑
a.查询用户信息:设计基础的查询功能,允许用户根据用户姓名查询用户信息。此功能主要用于管理员查询用户信息和用户自行查询个人信息。
b.添加用户信息:仓库员工可以通过注册获取账号,成为系统的仓库员工,以便享受系统提供的服务和功能。管理员可以在后台添加用户信息。
c.修改用户信息:用户可以根据需要修改个人基本信息,包括姓名、密码、头像等。这种操作可以提高用户个性化体验。
d.删除用户信息:管理员可以对删除系统用户信息。
3.2.3仓库信息管理模块设计
(1)仓库信息管理模块结构图
基于Java的超市仓储管理系统需要一个完善的仓库信息管理模块来存储和管理仓库商品信息。仓库员工可以查询仓库信息并提交商品出入库记录。管理员则具有查询、添加、和修改仓库信息信息的权限,这样的仓库信息模块能够有效地组织和管理仓库信息,提供用户查询仓库信息的便利性,同时为管理员提供仓库信息管理的功能,确保系统的正常运行和用户体验。具体的结构图如下图3-4所示:

图3-4 仓库信息管理模块结构图
(2)各个结构的具体业务逻辑
a.查询仓库信息:管理员/仓库员工可以搜索查询仓库信息。
b.添加仓库信息:管理员具有添加仓库信息信息的权限,可以添加仓库信息到系统中。
c.删除仓库信息:管理员可以删除仓库信息信息。
3.3 数据库设计
3.3.1 E-R 图
通过总的E-R图的设计,可以清晰地展现各个实体之间的关系,为数据库表格的设计提供依据。基于Java的超市仓储管理系统总体E-R图如下图3-5所示。

图3-5 系统总E-R关系图
3.3.2 数据库表结构设计
在E-R图确定后,接下来可以根据实体和关系的属性设计数据库表结构。在E-R图明确了实体和它们之间的关系后,接下来可以开始设计数据库表结构。每个实体对应一个数据库表,每个属性对应表中的字段。如下列表格所示,在此列举主要数据表。
表goods_warehousing (商品入库)
| 编号 | 名称 | 数据类型 | 长度 | 小数位 | 允许空值 | 主键 | 默认值 | 说明 |
| 1 | goods_warehousing_id | int | 10 | 0 | N | Y | 商品入库ID | |
| 2 | warehouse_number | varchar | 64 | 0 | Y | N | 仓库编号 | |
| 3 | warehouse_name | varchar | 64 | 0 | Y | N | 仓库名称 | |
| 4 | warehouse_location | varchar | 64 | 0 | Y | N | 仓库位置 | |
| 5 | warehouse_inventory | double | 9 | 2 | Y | N | 0.00 | 仓库库存 |
| 6 | product_name | varchar | 64 | 0 | Y | N | 商品名称 | |
| 7 | product_type | varchar | 64 | 0 | Y | N | 商品类型 | |
| 8 | warehouse_staff | int | 10 | 0 | Y | N | 0 | 仓库员工 |
| 9 | employee_name | varchar | 64 | 0 | Y | N | 员工姓名 | |
| 10 | storage_time | date | 10 | 0 | Y | N | 入库时间 | |
| 11 | inventory_quantity | double | 9 | 2 | Y | N | 0.00 | 入库数量 |
| 12 | create_time | datetime | 19 | 0 | N | N | CURRENT_TIMESTAMP | 创建时间 |
| 13 | update_time | timestamp | 19 | 0 | N | N | CURRENT_TIMESTAMP | 更新时间 |
| 14 | source_table | varchar | 255 | 0 | Y | N | 来源表 | |
| 15 | source_id | int | 10 | 0 | Y | N | 来源ID | |
| 16 | source_user_id | int | 10 | 0 | Y | N | 来源用户 |
表product_type (商品类型)
| 编号 | 名称 | 数据类型 | 长度 | 小数位 | 允许空值 | 主键 | 默认值 | 说明 |
| 1 | product_type_id | int | 10 | 0 | N | Y | 商品类型ID | |
| 2 | product_type | varchar | 64 | 0 | Y | N | 商品类型 | |
| 3 | create_time | datetime | 19 | 0 | N | N | CURRENT_TIMESTAMP | 创建时间 |
| 4 | update_time | timestamp | 19 | 0 | N | N | CURRENT_TIMESTAMP | 更新时间 |
表warehouse_information (仓库信息)
| 编号 | 名称 | 数据类型 | 长度 | 小数位 | 允许空值 | 主键 | 默认值 | 说明 |
| 1 | warehouse_information_id | int | 10 | 0 | N | Y | 仓库信息ID | |
| 2 | warehouse_number | varchar | 64 | 0 | Y | N | 仓库编号 | |
| 3 | warehouse_name | varchar | 64 | 0 | Y | N | 仓库名称 | |
| 4 | warehouse_location | varchar | 64 | 0 | Y | N | 仓库位置 | |
| 5 | warehouse_inventory | double | 9 | 2 | Y | N | 0.00 | 仓库库存 |
| 6 | product_name | varchar | 64 | 0 | Y | N | 商品名称 | |
| 7 | product_type | varchar | 64 | 0 | Y | N | 商品类型 | |
| 8 | product_images | varchar | 255 | 0 | Y | N | 商品图片 | |
| 9 | supplier_merchant | varchar | 64 | 0 | Y | N | 供应商家 | |
| 10 | supply_price | varchar | 64 | 0 | Y | N | 供应价格 | |
| 11 | supply_remarks | text | 65535 | 0 | Y | N | 供应备注 | |
| 12 | goods_warehousing_limit_times | int | 10 | 0 | N | N | 0 | 入库限制次数 |
| 13 | product_outbound_limit_times | int | 10 | 0 | N | N | 0 | 出库限制次数 |
| 14 | create_time | datetime | 19 | 0 | N | N | CURRENT_TIMESTAMP | 创建时间 |
| 15 | update_time | timestamp | 19 | 0 | N | N | CURRENT_TIMESTAMP | 更新时间 |
表warehouse_staff (仓库员工)
| 编号 | 名称 | 数据类型 | 长度 | 小数位 | 允许空值 | 主键 | 默认值 | 说明 |
| 1 | warehouse_staff_id | int | 10 | 0 | N | Y | 仓库员工ID | |
| 2 | employee_name | varchar | 64 | 0 | Y | N | 员工姓名 | |
| 3 | employee_gender | varchar | 64 | 0 | Y | N | 员工性别 | |
| 4 | employee_phone_number | varchar | 64 | 0 | Y | N | 员工电话 | |
| 5 | examine_state | varchar | 16 | 0 | N | N | 已通过 | 审核状态 |
| 6 | user_id | int | 10 | 0 | N | N | 0 | 用户ID |
| 7 | create_time | datetime | 19 | 0 | N | N | CURRENT_TIMESTAMP | 创建时间 |
| 8 | update_time | timestamp | 19 | 0 | N | N | CURRENT_TIMESTAMP | 更新时间 |
3.4本章小结
整个基于Java的超市仓储管理系统的需求分析主要对系统总体架构以及功能模块的设计,通过建立E-R模型和数据库逻辑系统设计完成了数据库系统设计。
4 系统详细设计与实现
本系统的实现主要是根据前面的系统需求分析和系统总体设计来设计页面并实现业务逻辑。主要从基于Java的超市仓储管理系统界面实现、业务逻辑实现这两部分进行介绍。
4.1仓库员工功能模块
4.1.1用户注册界面
用户注册界面用于新用户进行账号注册,用户需要填写必要的个人信息并选择合适的用户名和密码。系统会对输入的信息进行验证,验证通过后即可完成注册。其界面展示如下图4-1所示。

图4-1用户注册界面图
用户登录界面用于已注册的用户进行账号登录,用户需要输入正确的用户名、密码和验证码才能成功登录系统。系统会对输入的信息进行验证,验证通过后即可完成登录,同时,系统提供密码找回或重新注册的选项。其界面如下图4-2所示。

图4-2用户登录界面图
登录代码如下:
/**
* 登录
* @param data
* @param httpServletRequest
* @return
*/
@PostMapping("login")
public Map<String, Object> login(@RequestBody Map<String, String> data, HttpServletRequest httpServletRequest) {
log.info("[执行登录接口]");
String username = data.get("username");
String email = data.get("email");
String phone = data.get("phone");
String password = data.get("password");
List resultList = null;
Map<String, String> map = new HashMap<>();
if(username != null && "".equals(username) == false){
map.put("username", username);
resultList = service.selectBaseList(service.select(map, new HashMap<>()));
}
else if(email != null && "".equals(email) == false){
map.put("email", email);
resultList = service.selectBaseList(service.select(map, new HashMap<>()));
}
else if(phone != null && "".equals(phone) == false){
map.put("phone", phone);
resultList = service.selectBaseList(service.select(map, new HashMap<>()));
}else{
return error(30000, "账号或密码不能为空");
}
if (resultList == null || password == null) {
return error(30000, "账号或密码不能为空");
}
//判断是否有这个用户
if (resultList.size()<=0){
return error(30000,"用户不存在");
}
User byUsername = (User) resultList.get(0);
Map<String, String> groupMap = new HashMap<>();
groupMap.put("name",byUsername.getUserGroup());
List groupList = userGroupService.selectBaseList(userGroupService.select(groupMap, new HashMap<>()));
if (groupList.size()<1){
return error(30000,"用户组不存在");
}
UserGroup userGroup = (UserGroup) groupList.get(0);
//查询用户审核状态
if (!StringUtils.isEmpty(userGroup.getSourceTable())){
String res = service.selectExamineState(userGroup.getSourceTable(),byUsername.getUserId());
if (res==null){
return error(30000,"用户不存在");
}
if (!res.equals("已通过")){
return error(30000,"该用户审核未通过");
}
}
//查询用户状态
if (byUsername.getState()!=1){
return error(30000,"用户非可用状态,不能登录");
}
String md5password = service.encryption(password);
if (byUsername.getPassword().equals(md5password)) {
// 存储Token到数据库
AccessToken accessToken = new AccessToken();
accessToken.setToken(UUID.randomUUID().toString().replaceAll("-", ""));
accessToken.setUser_id(byUsername.getUserId());
Duration duration = Duration.ofSeconds(7200L);
redisTemplate.opsForValue().set(accessToken.getToken(), accessToken,duration);
// 返回用户信息
JSONObject user = JSONObject.parseObject(JSONObject.toJSONString(byUsername));
user.put("token", accessToken.getToken());
JSONObject ret = new JSONObject();
ret.put("obj",user);
return success(ret);
} else {
return error(30000, "账号或密码不正确");
}
}
4.1.3修改密码界面
用户点击我的头像下拉菜单“修改密码”进入页面输入原始密码、新密码、确认新密码信息后点击“提交”即可完成登录密码的修改,修改后可以用新密码登录系统。其界面展示如下图4-3所示。

图4-3 修改密码界面图
用户点击“仓库信息列表”可以查看列表中某个仓库的某个商品的信息详情;点击“入库”输入入库数量等相关信息后点击“提交”即可完成该商品的入库记录的提交;点击“出库”输入出库数量等相关信息后点击“提交”即可完成该商品的出库记录的提交。支持通过关输入仓库名称、仓库位置、商品名称或选择商品类型进行查询相关仓库信息。其界面如下图4-4示。

图4-4仓库信息管理界面图
查询的代码如下:
@RequestMapping("/get_obj")
public Map<String, Object> obj(HttpServletRequest request) {
List resultList = service.selectBaseList(service.select(service.readQuery(request), service.readConfig(request)));
if (resultList.size() > 0) {
JSONObject jsonObject = new JSONObject();
jsonObject.put("obj",resultList.get(0));
return success(jsonObject);
} else {
return success(null);
}
}
用户可以查看商品出库列表中某个商品的出库信息详情,持通过输入仓库名称、商品名称、商品类型或员工姓名来查询相关商品出库信息。其界面如下图4-5所示。

图4-5商品出库管理界面图
4.2管理员功能模块
4.2.1 后台首页界面
后台首页界面为管理员提供了方便快捷地查看商品入库统计、商品出库统计等重要信息的功能,帮助他们更好地了解和分析当前商品的库存情况,以便制定相应的管理策略。其界面如下图4-6所示。

图4-6 后台首页界面图
管理员可以对所有用户信息(仓库员工、管理员)进行查询、添加和删除操作。如管理员可以查看某个仓库员工的信息详情并可以修改用户状态等信息。支持通过输入员工姓名或选择员工性别来查询相关员工信息。其界面如下图4-7所示。

图4-7系统用户界面图
修改的代码如下:
@PostMapping("/set")
@Transactional
public Map<String, Object> set(HttpServletRequest request) throws IOException {
service.update(service.readQuery(request), service.readConfig(request), service.readBody(request.getReader()));
return success(1);
}
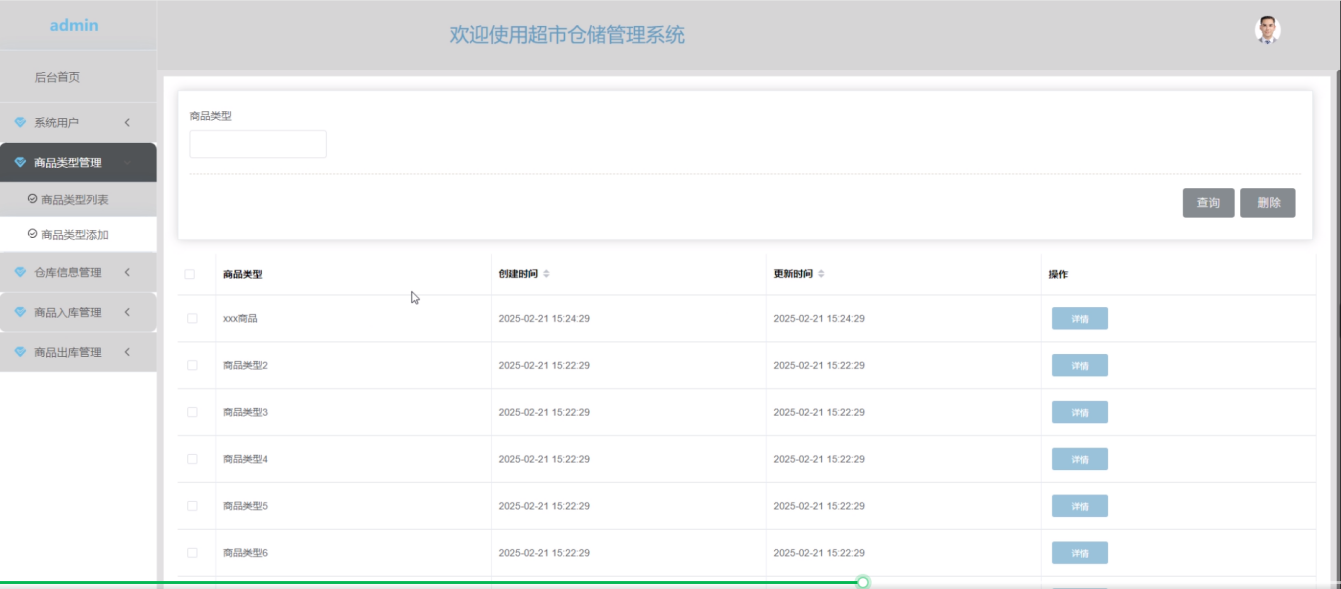
在该模块管理员可以对商品类型列表进行管理和进行商品类型添加。管理员点击“商品类型列表”可以查看列表中某个商品类型的详情;点击“商品类型添加”进入页面填写类型名称后点击“提交”即可完成商品类型信息的添加。以商品类型列表其界面如下图4-8所示。

添加的代码如下:
@PostMapping("/add")
@Transactional
public Map<String, Object> add(HttpServletRequest request) throws IOException {
service.insert(service.readBody(request.getReader()));
return success(1);
}
public Map<String, Object> addMap(Map<String,Object> map){
service.insert(map);
return success(1);
}
在该模块管理员可以对仓库信息列表进行管理和进行仓库信息添加。管理员点击“仓库信息列表”可以查看列表中某个仓库信息的详情并提交出入库记录;点击“仓库信息添加”进入页面填写仓库名称、仓库位置、商品名称等信息和上传商品图片后点击“提交”即可完成仓库信息的添加。以仓库信息添加为例,其界面如下图4-9所示。

图4-9仓库信息添加界面图
图片/文件上传的代码如下:
@PostMapping("/upload")
public Map<String, Object> upload(@RequestParam("file") MultipartFile file) {
log.info("进入方法");
if (file.isEmpty()) {
return error(30000, "没有选择文件");
}
try {
//判断有没路径,没有则创建
String filePath = System.getProperty("user.dir") + "/src/main/resources/static/";
File targetDir = new File(filePath);
if (!targetDir.exists() && !targetDir.isDirectory()) {
if (targetDir.mkdirs()) {
log.info("创建目录成功");
} else {
log.error("创建目录失败");
}
}
String fileName = file.getOriginalFilename();
File dest = new File(filePath + fileName);
log.info("文件路径:{}", dest.getPath());
log.info("文件名:{}", dest.getName());
file.transferTo(dest);
JSONObject jsonObject = new JSONObject();
jsonObject.put("url", "/api/upload/" + fileName);
return success(jsonObject);
} catch (IOException e) {
log.info("上传失败:{}", e.getMessage());
}
return error(30000, "上传失败");
}
管理员可以查看商品入库列表中某个商品的入库信息详情,可以对列表进行查询和删除操作;支持通过输入仓库名称、商品名称、商品类型或员工姓名来查询相关商品入库信息。其界面如下图4-10所示。

图4-10商品入库管理界面图
删除的代码如下:
@RequestMapping(value = "/del")
@Transactional
public Map<String, Object> del(HttpServletRequest request) {
service.delete(service.readQuery(request), service.readConfig(request));
return success(1);
}
public void delete(Map<String,String> query,Map<String,String> config){
QueryWrapper wrapper = new QueryWrapper<E>();
toWhereWrapper(query, "0".equals(config.get(FindConfig.GROUP_BY)),wrapper);
baseMapper.delete(wrapper);
log.info("[{}] - 删除操作:{}",wrapper.getSqlSelect());
}
管理员可以查看商品出库列表中某个商品的出库信息详情,可以对列表进行查询和删除操作;支持通过输入仓库名称、商品名称、商品类型或员工姓名来查询相关商品出库信息。其界面如下图4-11所示。

图4-11商品出库管理界面图
5系统测试
为了保证基于Java的超市仓储管理系统的质量,使其能够稳定的运行,并排除其可能存在的未知隐患。解除软件可能存在的故障,理清楚测试与纠错的关系,如图5-1所示。

图5-1测试与纠错信息流程
5.2 系统功能测试
通过对系统中所含的主要实体对象及其功能操作进行测试用例设计。系统功能测试包括:用户注册登录功能测试、员工提交入库信息功能测试、管理员添加仓库信息功能测试、管理员删除商品类型功能测试,如表5-1、5-2、5-3、5-4所示:
表5-1用户注册登录测试表
用户注册登录测试用例:
| 用例说明 | 测试目的 | 测试步骤 | 预期结果 | 输出结果 | 通过情况 |
| 用户注册、登录 | 测试仓库员工正确注册、登录 |
| 用户注册成功,登录成功 | 结果输出符合预期 | 通过 |
表5-2员工提交入库记录测试表
员工提交入库记录测试用例:
| 用例说明 | 测试目的 | 测试步骤 | 预期结果 | 输出结果 | 通过情况 |
| 员工提交如今记录测试 | 测试员工提交入库记录功能 |
| 员工能正常提交商品入库信息 | 结果输出符合预期 | 通过 |
表5-3管理员添加仓库信息测试表
管理员添加仓库信息测试用例:
| 用例说明 | 测试目的 | 测试步骤 | 预期结果 | 输出结果 | 通过情况 |
| 管理员添加仓库信息测试 | 测试管理员添加仓库信息 |
| 仓库信息添加成功,仓库信息列表可以查看该信息 | 结果输出符合预期 | 通过 |
表5-4管理员删除商品类型测试表
管理员删除商品类型测试用例:
| 用例说明 | 测试目的 | 测试步骤 | 预期结果 | 输出结果 | 通过情况 |
| 管理员删除商品类型删除测试 | 测试管理员删除商品类型功能 |
| 商品类型删除成功,商品类型列表不在展示该商品类型信息 | 结果输出符合预期 | 通过 |
5.3 测试结果总结
通过编写 基于Java的超市仓储管理系统的功能测试用例,已经检测完毕系统测试包括:用户注册登录功能测试、员工提交入库信息功能测试、管理员添加仓库信息功能测试、管理员删除商品类型功能测试,通过这四大模块功能测试将为基于Java的超市仓储管理系统的后期推广运营提供了强力的技术支撑。
在开发基于Java的超市仓储管理系统前,需要对用户的实际需求进行全面分析。这不仅涵盖了系统的可行性研究,还包括对功能需求及其他非功能性需求(如性能、安全性等)的详细探讨。在可行性分析阶段,从技术可行性和经济合理性等多个角度对系统实现的可能性进行了全面评估,结果显示该系统的实施是完全可行且具有实际价值的。
本文首先概述了基于Java的超市仓储管理系统开发的背景及其重要性,随后深入解析了系统的具体业务需求。根据这些需求,设计了系统的整体架构和各个功能模块。整个系统被细分为多个独立而又相互关联的功能模块,每个模块都具备特定的功能和职责,以确保系统的高效运行和用户体验的优化。
在本系统的开发过程中,我学到了许多课堂之外的知识,积累了宝贵的实践经验。尽管系统已经基本完成,但由于个人专业知识和经验的限制,仍存在改进空间,例如界面布局的进一步优化、代码编写的规范化等方面。未来,我将继续深化学习,提高技术水平,致力于系统的持续改进和完善。
同时,衷心希望这个基于Java的超市仓储管理系统能够有机会投入实际使用。它能够帮助商家更高效地管理商品库存,确保库存数据的准确性和实时更新。通过优化库存管理流程,该系统还将有助于减少过剩库存和缺货现象,为商家节省成本并提高经济效益。
- 王治.基于RFID的仓库物资管理系统[J].电子测试,2022,(19):107-110.
- 张桦,邱雄飞,赵润泽.基于物联网技术的后方仓库管理系统建设研究[J].物联网技术,2023,13(08):95-98.
- 刘银浩,向军,潘如如.基于B/S架构的纱线仓储管理系统开发与应用[J].棉纺织技术,2024,52(01):33-36.
- 王玉魁,李峰,乔彦超,等.基于Springboot与Vue框架的仓储管理系统设计与实现[J].河南科技,2024,51(18):29-33.
- 刘苏逸.基于物联网的智慧仓储系统设计与优化[J].铁路采购与物流,2024,19(09):53-54+66.
- Maleshkov V ,Valchanov H ,Aleksieva V .Blockchain-Based Model for Warehouse Management Systems for Artworks and Collectibles †[J].Engineering Proceedings,2024,70(1):39-39.
- 朱金波.Java编程语言在计算机软件开发中的应用优势分析[J].信息记录材料,2023,24(05):68-70.
- 熊群毓.大数据时代MySQL数据库的应用分析[J].信息与电脑(理论版),2023,35(14):209-212.
- 李泳.Spring Boot开发与测试实战[M].人民邮电出版社:202211.435.
- 张素青,翟慧.MySQL数据库技术与应用[M].北京:人民邮电出版社:2023
- 张晓艳.智能仓储系统在鞋服企业中的应用研究[J/OL].中国皮革,1-4[2025-02-26].
- 朱一舟.企业仓储管理数字化转型探析[J].中国物流与采购,2025,(01):153-154.
- 马丽.基于大数据技术的企业智能仓储管理系统设计与实现[J].中国管理信息化,2024,27(21):100-102.
- 李彩梅.SC医药公司仓储管理智能化升级研究[D].南昌大学,2024.DOI:10.27232/d.cnki.gnchu.2024.001487.
- 谢喆,李晨曦.电商物资仓储智能化的探索与应用[J].物流科技,2023,46(12):44-46.
- ]徐梦娜.大宗商品仓储管理系统的设计与开发[D].东华大学,2022.
- 李春晖,翁枫,韩卫民,等.新型3D智慧仓库管理系统的设计[J].机械制造与自动化,2021,50(05):208-210.DOI:10.19344/j.cnki.issn1671-5276.2021.05.057.
- 宁雪梅.仓库管理系统数据库设计与实现[J].大众标准化,2021,(16):139-141.
- Khan N ,Solvang D W ,Yu H , et al.Towards the design of a smart warehouse management system for spare parts management in the oil and gas sector[J].Frontiers in Sustainability,2024,51426089-1426089.
- KorkusuzPolat T ,Baran E .A Blockchain-Based Quality 4.0 Application for Warehouse Management System[J].Applied Sciences,2024,14(23):10950-10950.
首先,我要向我的论文指导老师致以最深切的敬意和感谢。在整个论文创作的过程中,老师的指导如同明灯一般照亮了我的前行道路。他不仅耐心地解答我的疑问,还凭借其深厚的学识和敏锐的洞察力,提出了许多具有深远意义的建议。老师的严谨治学态度、敬业精神和高超的教学艺术,为我树立了追求卓越的榜样,对我未来的人生道路和学业成就产生了深远的影响。
同时,我要向我的同学们表达诚挚的感谢。你们不仅是我的亲密战友,也是我生活中的良师益友。正是你们的鼓励和支持,使我在大学期间的学习和生活变得丰富多彩。我要对所有在我求学路上给予我帮助的老师和同学们表示衷心的感谢,是你们的支持和帮助给了我继续前进的力量。
我还要向我的父母表达深深的感激之情。是你们用无尽的爱和关怀,将我抚养成人。你们的养育之恩,我将永生铭记在心。我将会用我的行动和成绩来回报你们的期望。在未来的日子里,我将继续努力,用实际行动来回报你们对我的付出和关爱。
再次感谢所有支持和帮助我的人,是你们让我在求学之路上不再孤单,让我有勇气面对一切挑战。谢谢你们!
点赞+收藏+关注 →私信领取本源代码、数据库
关注博主下篇更精彩
一键三连!!!
一键三连!!!
一键三连!!!
感谢一键三连!!!

被折叠的 条评论
为什么被折叠?



