计算机毕业设计ssm基于SpringMVC+MyBatis的社区动物领养系统xhs3ex21
(配套有源码 程序 mysql数据库 论文)本套源码可以先看具体功能演示视频领取,文末有联xi 可分享
随着社会的发展,人们对动物的关爱意识逐渐增强,越来越多的人选择通过领养的方式为流浪动物提供一个温暖的家。社区动物领养系统作为一种高效的解决方案,不仅能够帮助流浪动物找到合适的领养者,还能促进社区的和谐发展。基于SpringMVC + MyBatis技术构建的社区动物领养系统,旨在提供一个便捷、高效且安全的平台,让领养过程更加顺畅。
系统功能介绍
本系统涵盖了用户、管理员和志愿者等多角色的功能需求,主要功能包括:
-
用户管理:用户注册、登录、个人信息管理、密码修改等。
-
动物信息管理:动物信息的添加、查询、修改、删除,支持按宠物名称、分类等条件进行搜索。
-
领养申请管理:用户提交领养申请,管理员或志愿者审核领养申请,支持按宠物名称、领养状态查询。
-
爱心募捐管理:发布募捐信息,用户进行捐赠,管理员或志愿者管理募捐记录。
-
捐赠记录管理:记录捐赠信息,支持按宠物名称、是否支付等条件查询。
-
志愿者管理:志愿者信息的添加、查询、修改、删除,志愿者申请审核。
-
回访记录管理:记录对领养用户和动物的回访情况。
-
公告信息发布:管理员发布系统公告、领养资讯等。
-
个人中心:用户查看自己的领养申请、捐赠记录、收藏信息等。
-
系统设置:管理员进行系统参数配置、用户权限管理等。
系统功能总结
本社区动物领养系统通过SpringMVC + MyBatis技术实现了用户、管理员和志愿者的多角色管理,涵盖了动物信息管理、领养申请处理、爱心募捐、捐赠记录管理、志愿者管理、公告发布等核心功能。系统不仅为领养者提供了便捷的领养渠道,也为志愿者和管理员提供了高效的管理工具,极大地简化了社区动物领养的流程,提升了领养效率,同时也为流浪动物的救助和管理提供了有力支持。
注:完成的毕业设计程序以下面的的环境软件、功能图和界面为准。
系统所需要的环境软件:idea、eclipse+mysql5.7、8.0+Navicat+JDK1.8+tomcat7.0
3.2系统用例图
用例图,即以用户视角来描述本社区动物领养系统的功能,前面已经分析了本社区动物领养系统的总体设计,讨论了各个方面的需求。下面,将以管理员、用户、志愿者为例。
管理员的用例图,如图3-1所示。

图3-1管理员用例图
志愿者的用例图,如图3-2所示。

图3-2 志愿者用例图
用户的用例图,如图3-3所示。

图3-3 用户用例图
3.3系统流程设计
3.3.1 系统开发流程
社区动物领养系统的设计和开发,首先要对用户的实际使用需求和具体情况进行细致的分析,分析出系统要完成的全部功能,然后再针对整个系统的工作流程和功能进行设计,力求每个模块都能够达到用户的要求,最后通过测试来解决问题,保证系统的稳定和正常的运转,本系统的开发流程如图3-4所示。

图3-4系统开发流程图
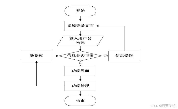
3.3.2 用户登录流程
登录流程实现了管理员和其他用户的登录,在登录页面需要用户填写自己的信息,前端页面会将信息传递给后端接口,然后查询数据库确定该身份有效后登录成功,否则此用户登录失败,需要重新填写信息,进行再次验证,如图3-5所示。

图3-5登录流程图
3.3.3 系统操作流程
系统操作流程分析是软件开发过程中的一个关键环节,它是整个系统整体的运行过程,必须保证其中的每一个步骤都是确定的,这样一个规范的流程图可以使开发者易于理解,快速的投入到接口开发中,从而提升系统开发效率。
同时,流程图还能减少开发者对系统操作流程产生歧义和降低沟通的成本,系统操作流程如图3-6所示。

图3-6系统操作流程图
3.3.4 添加信息流程
系统的正常运行离不开数据的支撑,因此,在本系统中添加了数据插入功能,数据库中数据的缺失,会直接影响到数据的查询结果,查询结果错误又会导致逻辑处理出现偏差,最终导致系统性错误或故障,所以在对系统进行数据添加操作时,必须要对数据进行合法性校验,确定此条数据是否有惟一的主关键字和字段是否允许为空等等,若数据库表中不允许某字段为空,而程序没有进行该字段非空逻辑校验,那么就会出现数据存储失败,可能因此造成严重系统后果。添加信息流程如图3-7所示。

图3-7添加信息流程图
3.3.5 修改信息流程
因为使系统的使用者是人,所以难免会有疏忽,从而造成系统输入的信息有误。或者由于其他原因导致数据发生改变,使得必须对系统内的数据进行相应的调整,所以在程序运行中,数据的修改操作是不可缺少的重要环节。
在进行数据更新时,必须要有一个惟一的主关键字,以便数据库能够查询到相应的数据;另外,还必须遵守数据插入过程的操作规范,以确保数据的正确性。修改信息流程图如图3-8所示。

图3-8修改信息流程图
3.3.6 删除信息流程
删除操作在系统中并非是必须的,可根据用户及系统的需要来决定是否添加删除功能,删除操作就是使用delete语句将数据库中的某一匹配数据删除,因为此操作会导致用户数据丢失,所以为了避免使用者误按删除键,应在用户点击删除按钮时添加一个提示确认弹窗,当用户确定要删除时,再进行数据库的操作,并且在删除操作完成后要对用户进行反馈。删除信息流程图如图3-9所示。

图3-9 删除信息流程图
4系统设计
4.1系统功能结构图
系统功能结构图是系统设计阶段,系统功能结构图只是这个阶段一个基础,整个系统的架构决定了系统的整体模式,是系统的根据。社区动物领养系统的整个设计结构如图4-1所示。

图4-1系统功能结构图
4.2系统数据库设计
对于社区动物领养系统而言,数据库中最核心的数据就是信息,并且有许多其他关联数据都储存于数据库中。随着时间推移,将发布大量信息于本系统中,届时数据库中也将蕴藏海量数据。一个优秀的数据库设计方案能在保证系统能够高效处理大量数据的同时保证系统的安全性。因此,在本社区动物领养系统设计方案中将数据库的设计摆在重要位置,将数据库设计视为系统设计的重要内容。
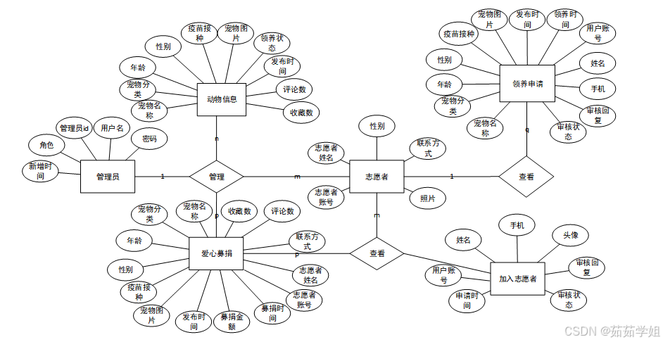
4.2.1数据库E-R图
E-R图,是通过用户的想法将一些数据形成一种关系结构,这种关系结构也可视为一种概念模型,而数据库的数据处理可以通过概念模型表现直观反映出来。由于E-R图是从用户的角度设立的模型,因此系统E-R图具有很强的实践意义。
志愿者信息E-R如图4-2所示:

图4-2志愿者信息E-R图
加入志愿者E-R如图4-3所示:

图4-3加入志愿者E-R图
动物信息E-R如图4-4所示:

图4-4动物信息E-R图
领养申请E-R如图4-5所示:

图4-5领养申请E-R图
爱心募捐E-R如图4-6所示:

图4-6爱心募捐E-R图
(6)社区动物领养系统实体联系E-R图,如图4-7所示。

图4-7社区动物领养系统实体联系E-R图
5.2 前台用户模块实现
在注册流程中,用户在Vue前端填写必要信息(如用户名、密码等)并提交。前端将这些信息通过HTTP请求发送到Java后端。后端处理这些信息,检查用户名是否唯一,并将新用户数据存入MySQL数据库。完成后,后端向前端发送注册成功的确认,前端随后通知用户完成注册。这个过程实现了新用户的数据收集、验证和存储。如图5-1所示:

图5-1 用户注册界面
在登录流程中,用户首先在Vue前端界面输入用户名和密码。这些信息通过HTTP请求发送到Java后端。后端接收请求,通过与MySQL数据库交互验证用户凭证。如果认证成功,后端会返回给前端,允许用户访问系统。这个过程涵盖了从用户输入到系统验证和响应的全过程。如图5-2所示;

图5-2用户登录界图
注册账号成功且登录系统后,用户即可进入主页查看首页、领养资讯、动物信息、爱心募捐、流浪动物社会、公告信息、个人中心,并开始执行业务操作,如图5-3所示:

图5-3 系统首页界面
用户可通过动物信息页面输入宠物名称,进行查询,可以查看物等具体信息,还可以点击领养或者收藏、评论等操作,如图5-4所示:

图5-4动物信息页面
用户可通过爱心募捐页面输入宠物名称,进行查询,可以查看爱心募捐等具体信息,还可以点击捐赠或者收藏等操作,如图5-5所示:

图5-5爱心募捐页面
在用户成功登录社区动物领养系统后,通过个人中心页面,用户可以方便地管理自己的个人信息,用户也可以点击页面显示的修改密码、领养申请、捐赠记录、加入志愿者、回访用户记录、回访动物记录、我的发布、我的收藏进行操作,如图5-6所示:

图5-6个人中心页面
5.3 后台管理员模块实现
管理员登录,在登录页面选择需要登录的角色,在正确输入用户名和密码后,点击登录进入系统进行操作;如图5-7所示。

图5-7管理员登录界面
管理员进入系统主页面,主要功能包括对系统首页、个人中心、用户管理、志愿者管理、领养资讯管理、宠物分类管理、动物信息管理、领养申请管理、爱心募捐管理、捐赠记录管理、加入志愿者管理、回访用户记录管理、回访动物记录管理、流浪动物社区、系统管理等进行操作。管理员主页面如图5-8所示:

图5-8管理员主界面
用户功能实现是在ssm后端部分,您需要创建一个新的应用,然后在该应用下创建一个模型(models.py)来定义用户的数据结构,使用ssm的ORM来处理与MySQL数据库的交互,包括志愿者信息的增删改查等操作。接着,在views.py中编写视图逻辑来处理前端请求,使用ssm的URL路由(urls.py)将请求映射到相应的视图函数。对于数据的验证和序列化,可以使用ssm的表单或序列化器来实现。在前端Vue.js部分,将创建相应的Vue组件,在这些组件中使用axios或其他HTTP库与ssm后端的API进行交互,实现志愿者信息的展示、新增志愿者、编辑志愿者信息和删除志愿者等功能。状态管理可以通过Vuex来维护,比如在store目录下定义志愿者模块的状态、突变、动作和获取器。如图5-9所示:

图5-9志愿者界面
管理员点击“领养资讯”会显示出所有的领养资讯,支持输入标题进行查询,如果想要增加新的领养资讯,点击“增加”按钮,输入相关信息,点击“提交”按钮就可以增加了,同时可以选择某一条领养资讯,点击“删除”进行删除,也可以点击后面的“添加”按钮对领养资讯进行更新维护。如图5-10所示:

图5-10领养资讯界面
动物信息功能实现是在ssm后端部分,您需要创建一个新的应用,然后在该应用下创建一个模型(models.py)来定义动物信息的数据结构,使用ssm的ORM来处理与MySQL数据库的交互,包括动物信息的增删改查等操作。接着,在views.py中编写视图逻辑来处理前端请求,使用ssm的URL路由(urls.py)将请求映射到相应的视图函数。对于数据的验证和序列化,可以使用ssm的表单或序列化器来实现。在前端Vue.js部分,将创建相应的Vue组件,在这些组件中使用axios或其他HTTP库与ssm后端的API进行交互,实现动物信息的展示、新增动物、编辑动物信息和删除动物信息等功能。状态管理可以通过Vuex来维护,比如在store目录下定义动物信息模块的状态、突变、动作和获取器。如图5-11所示:

图5-11动物信息界面
管理员点击“领养申请”会显示出所有的领养申请,支持输入宠物名称、领养状态进行查询,同时可以选择某一条领养申请,点击“删除”进行删除,也可以点击后面的“添加”按钮对领养申请进行更新维护。如图5-12所示:

图5-12领养申请界面
管理员点击“爱心募捐”会显示出所有的爱心募捐,支持输入宠物名称进行查询,同时可以选择某一条爱心募捐,点击“删除”进行删除,也可以点击后面的“添加”按钮对爱心募捐进行更新维护。如图5-13所示:

图5-13爱心募捐界面
管理员点击“捐赠记录”会显示出所有的捐赠记录,支持输入宠物名称、是否支付进行搜索,同时可以选择某一条捐赠记录,点击“删除”进行删除,也可以点击后面的“添加”按钮对捐赠记录进行更新维护。如图5-14所示:

图5-14捐赠记录界面
5.3后台志愿者模块实现
志愿者登录,通过登录页面填写用户名和密码选择角色等信息,点击登录操作,如图5-15所示。

图5-15志愿者登录页面
源码无偿分享,文未领取

被折叠的 条评论
为什么被折叠?



