克雷西 发自 凹非寺
量子位 | 公众号 QbitAI
苹果正在研发的神秘可穿戴设备被曝光,结果竟然是……一枚戒指?!
但它又不只是戒“指”——据爆料,这款产品可以佩戴在身体上的任何部位。
有了它,用户就可以用肢体动作来操纵手机,再也不用担心冬天手指被冻掉了。

近日,美国专利主管部门公布了一批新的专利许可,其中就包括苹果这款神秘的“戒指”。
这项专利名为“带环形设备的电子系统”,于去年3月提交,并在刚刚获得批准。

那么,从这项专利中,都能解读出关于这款神秘产品的哪些信息呢?
用手势操作电子设备
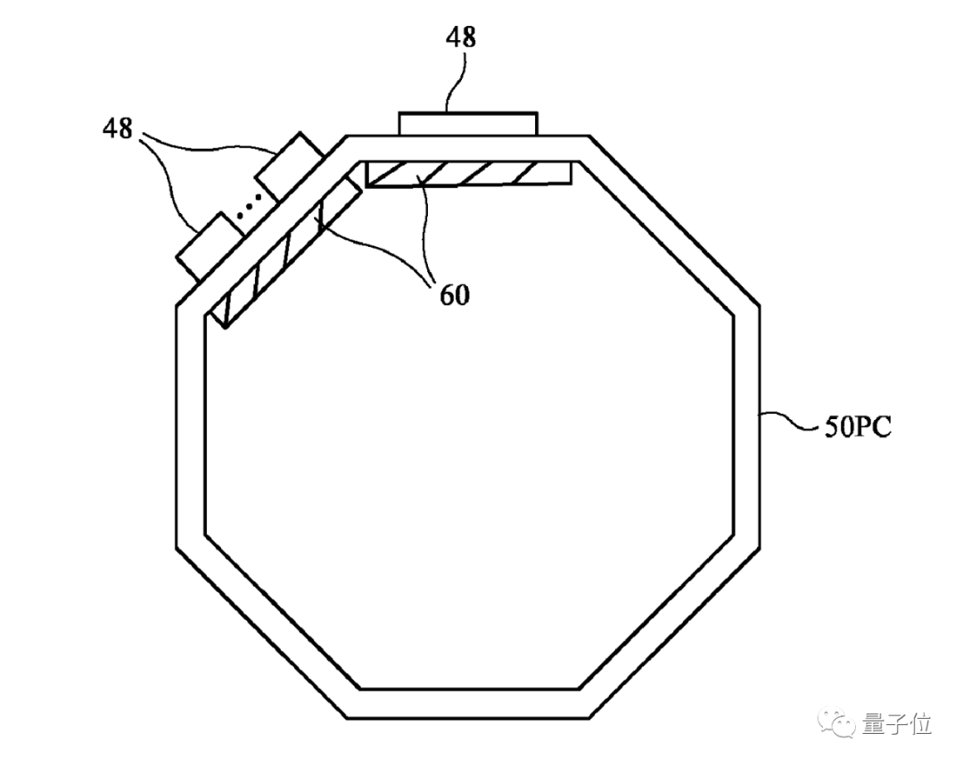
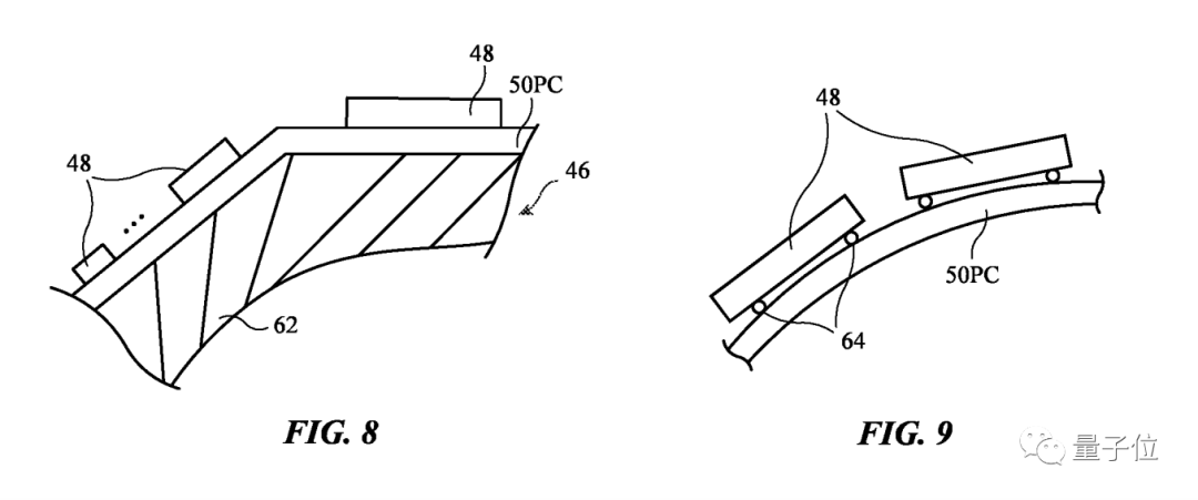
外观上看,如开头的图所示,这款设备的形状是一个环,外围还包括一个或数个按钮。
关于其中的按钮苹果专门放了两张局部细节图,但没有做进一步的解释说明。

内部结构上,它由控制电路、输入/出设备(包括IMU和其他传感器)、天线、电源系统四部分组成。

其中的天线又包括线圈、NFC模块、磁传感器和无线充电模块。

而至于用法,苹果在专利文档中的确提到了智能戒指,也多次使用了将其戴在手指上的例子。
但苹果在文档中同时强调,戒指只是(这个环形设备众多用法中的)一个例子。
实际上苹果“关心”的只有这个形状——这个圆环可以佩戴在用户的(任何)身体部位上,并且无论用在哪个部位都在专利保护范畴。

不过Apple Insider介绍,在允许的范围内尽可能把专利的内容写得广泛而模糊是行业的一贯做法。
值得注意的是,这枚“戒指”当中并不包含屏幕,因此更可能是一种用于操纵手机等其他设备的辅助工具。
这个指环设备可以通过各种传感器来检测并收集用户输入,比如手势、手指动作或其他基于用户身体位置的信息。
具体来说,这些传感器可以包括至少以下内容:
力传感器,如应变仪、电容式力传感器等;
声音传感器,如麦克风;
触摸传感器和距离传感器;
光学传感器,如红外传感器、环境光传感器、相机模块等;
人体和环境信息传感器,如指纹模块、温度计、气压计等;
更复杂的传感器,如深度传感器、3D传感器等,可用于人脸识别等功能。
通过无线方式,“戒指”将这些信息发送给配对的设备(如手机、平板电脑等),就可以控制这些设备了。
而这枚“戒指”中的NFC模块也发挥着重要作用:当传感器检测到触碰操作时,NFC读取功能会被唤醒,此时商品标签等NFC标签上的信息就会被采集并发送至用户设备。

此外,带有NFC功能的穿戴设备也可以用作一种身份标签,倘若可以解决用户认证问题(即验证是否由本人佩戴),就可以作为门禁系统的一种无感通行凭证。
One More Thing
关于智能穿戴设备,除了这枚“戒指”之外,苹果最近还获批了很多其他相关的专利。
这些专利既包括完整的设备,也包括传感器、检测方法等上游技术。

今年上半年,此次“戒指”的第一发明人Michael Ershov还有一项名为“带有腕带设备的手表”的专利获得批准。
从摘要来看,这项专利强调了“智能表带”的作用,表带和手表本体可以相互配合,但也各自有独立的功能。

不过也有网友说,专利获批不等于产品会很快问世,苹果这种“买票不上车”的做法实际上会阻碍新技术的发展,应该设法阻止,进而倒逼厂商尽快拿出真产品。

那么,你是否期待苹果的新设备呢?
参考链接:
https://appleinsider.com/articles/23/11/28/apples-smart-ring-technology-may-not-be-limited-to-fingers
专利文档:
https://image-ppubs.uspto.gov/dirsearch-public/print/downloadPdf/11829831
— 完 —
MEET 2024大会定档!
最新嘉宾阵容公布
12月14日,量子位「MEET2024智能未来大会」不容错过!点击报名线下现场
李培根院士、李开复博士及十余位AI各领域领先企业核心负责人已确认出席!戳此了解嘉宾详情:第二批嘉宾来袭!报名MEET2024的理由,今天又多了一个


















< 左右滑动查看嘉宾海报 >
点击“预约”按钮,一键直达大会直播现场!
点这里👇关注我,记得标星噢
12

被折叠的 条评论
为什么被折叠?



