我在工厂跑项目这些年,发现设备管理其实没那么玄乎,归根到底就是三件事:设备有台账、有人按计划点检、出现异常有人跟进维修
听上去谁都能做到,但现实是大多数企业做不到闭环。
设备到底健康不健康,没人说得出。突然停机才发现有问题,老板看到 OEE 掉下去,只会说一句:
“为什么又停线了?”
我们在现场就像在救火,而不是在管理设备。
我后来意识到: 设备管理最难的不是执行,而是 把执行的过程记录下来,让信息能被追踪、复盘,然后持续改进。
这就是为什么后来越来越多企业开始用设备管理系统的原因。
我写这篇,是想从我做项目的视角讲清楚三件事:
- 设备闭环到底应该怎么跑?
- 台账 → 点检 → 维修 → 复盘”应该是什么节奏?
- 系统怎么上线才能避免形式主义,不变成领导检查用的 PPT?
真正做过项目的人才知道,系统只是工具,管理闭环才是目的。
一、为什么企业设备管理永远做不成闭环?
先说根源,不理解根源,系统上线也会失败。
① 信息分散 —— 数据散在多个载体,没人愿意整合
- 台账:Excel
- 点检:纸质表单
- 维修:微信群 + 口头沟通
- 采购备件:另外的 ERP 或者还是 Excel
你不可能在不同载体之间建立逻辑关系,所以没有“闭环”,只有碎片。
https://s.fanruan.com/ls7ir
② 设备管理不透明 —— 管理层看不到风险
点检只是“做了”,但结果没人汇总、没人分析,管理层看到的只是结果:
“又停了?怎么又坏了?”
问题不是坏,而是 坏之前没人发现趋势。

③ 维修信息不沉淀 —— 设备健康无历史,经验无积累
维修记录挂在手机聊天记录里,过了 3 天就没人找得到。
更不用说:
- MTTR(平均维修时间)
- MTBF(平均故障间隔)
这些管理指标根本算不出来。
④ 设备管理是跨部门业务,没有流程就一定散
涉及:
- 新设备建档:设备工程 / PMC / 财务
- 点检执行:设备组 / 操作员
- 报修 + 派单:操作员 / 班长 / 设备部
- 采购备件:设备部 / 采购
- 维修复盘:设备部 / 质量部 / 制造部
没系统,靠流程管不住。 没流程,系统也救不了。
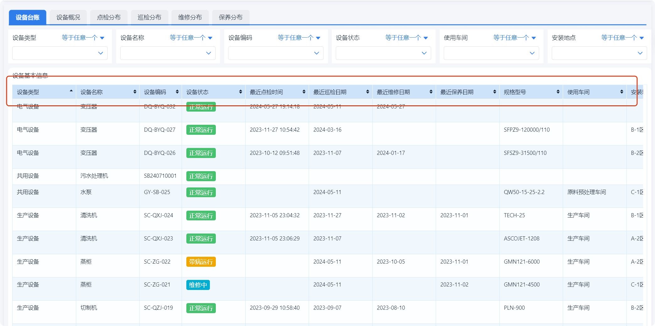
二、闭环管理要从设备台账做起
许多企业上 CMMS / 设备管理时直接冲着点检去,结果越做越乱。
原因很简单:
你点检的对象是什么?
设备没准确建档,后面所有动作都无从谈起。
闭环管理要从设备台账做起,不是从点检开始。
设备台账至少要包含的内容,一张表格送给大家以便参考:

设备台账不是登记,是数据结构设计。
如果设备资产建档阶段没有建好,点检和维修所有环节都会手忙脚乱。


三、点检不是抄表,是提前发现风险
很多企业的点检表长这样:
- 润滑油刻度 —— 正常 / 不正常
- 螺丝松动 —— 正常 / 不正常
- 振动 —— 正常 / 不正常
问题是:点检做完没人处理、异常没有升级机制、数据无法沉淀和分析
点检不是填表,是风险识别。
一个成熟系统应该做到:
- 手机点检 → 录入数据(而不是 Yes/No)
- 出现异常 → 自动触发维修工单
- 点检记录归档 → 与设备台账挂接
- 点检趋势分析 → 提前预判故障


举个例子,操作员点检时测得振动值偏高:
系统自动判断超过阈值 → 自动生成维修工单派给设备组。
这就叫 预防性维护,不是等坏了才去修。
四、维修管理要——复盘+追责+改进
企业真正的问题不是设备坏,而是坏了之后一直重复坏同样的地方。
你会发现:80% 的维修来自 20% 的设备
而那 20% 的设备常常是 —— 点检没做到。
一个规范的维修闭环应该是:
报修:由操作员工单发起,带现场照片或视频
派单:设备负责人分配给维修人员
维修执行:记录更换备件、维修时长、维修措施
验收:操作员确认恢复运行
复盘:维修记录沉淀到设备台账,并评估是否需要优化点检项

成熟的系统会自动记录:
- MTTR(平均维修时间)
- MTBF(平均故障间隔)
- 故障类型统计
做到 维修数据可分析、维保策略可优化。

为什么说 Excel/纸张做不到?
核心原因只有一个:
Excel 只能“记录”,不能“驱动流程”。
你用 Excel,只能做到“看到数据”; 你用系统,才能做到“推动动作”。
设备管理是事件驱动型业务:谁做?什么时候做?怎么做?对谁负责?
点检异常:自动触发维修工单
维修完成:系统要求操作员验收
备件不足:自动提醒采购
指标低:系统自动统计 MTBF、MTTR 等
没有系统,就没有闭环。
五、落地经验总结
这些是我做设备系统项目沉淀下来的经验。
- 建议从一个产线、一个车间先试点,不要“一口吃胖子”
设备系统上线不是 IT 项目,是管理变革。
- 点检表不要一次性上 100 个点,先上关键点检项
否则一线执行者会抵触。
- 数据上收,不要靠 Excel 导入台账
因为导入只是搬家,不是变革。
- 系统要能 灵活自定义字段和流程
每家企业的设备流程不一样,买来即用的模板常常不适配。
很多企业现在倾向于用低代码平台来搭建设备管理系统,「简道云」就是这种可以自定义工单、台账、点检表、流程派单,让设备部自己改流程,不依赖 IT。

六、设备管理的本质是数据驱动运维
一句话总结:
没有数据,就没有管理;没有闭环,就没有改善。
闭环不是系统的事情,是管理的能力。 系统只是工具,但没有工具,闭环就是空话。
如果你负责设备管理,我建议你反问自己三个问题:
- 我能看到每台设备的 MTBF 吗?
- 点检异常能自动触发维修吗?
- 每次故障都是新的,还是可以从历史维修中找到依据?
当你能够回答能,你就真正意义上实现设备闭环。
设备管理闭环全解析
1331

被折叠的 条评论
为什么被折叠?



