
在现代社会,电力系统不仅是工业生产的“心脏”,也是城市运行的“血脉”。随着新能源接入比例提升、电网结构日益复杂、用电需求不断增长,电力管理的难度和风险显著增加。如何在保障供电安全的同时,提高运行效率、降低运维成本、实现节能减排,已成为各类用电主体共同关注的问题。
本文将以AIRIOT智慧系统搭建平台打造的AIRIOT电力管理系统为例,科普一个现代化电力管理体系是如何构建的。通过八大核心模块,我们将一步步剖析从数据采集、分析、调度到运维闭环的全流程,拆解电力管理的关键环节和背后的技术思路与落地效果。
一、管理驾驶舱

模块概述:作为运维“总指挥席”,统一汇聚状态、告警与绩效指标,实现一屏尽览、角色定制、事件联动。 功能点:故障消息|参数监控|任务单进度|设备保养信息|能源统计|计划达成 搭建思路与技巧
-
数据集成:对接 SCADA/EMS/AMI/IoT 网关与PMS,数据延迟控制在 ≤5s;指标统一编码(点表/测点ID/设备ID)。
-
可视化布局:左侧设备健康与告警,中区负荷/电压电流趋势,右侧工单与计划达成;支持大屏/PC/移动端自适应。
-
角色视图:运维/调度/管理/财务四类看板,关注点差异化呈现。 应用场景
-
园区能源管理中心总览运行与告警。
-
工商业用户用能绩效与成本管控统一看板。 落地成效
-
决策响应时间缩短 30%+;关键异常发现提前 分钟级。
二、能源效率管理

模块概述:以“测—析—控”为主线,先分项计量、再异常识别、最后闭环改进,提升能效与削峰填谷能力。 功能点:总/实时耗电趋势|分项分区分时能耗|耗电设备占比|设备在线率|能效改进建议 搭建思路与技巧
-
分项计量:主回路+重点设备(空压机、冷机、生产线)加装计量;粒度1–5分钟。
-
基线模型:按班次/气象/产量建立能耗基线,异常偏差自动告警(阈值+统计/学习混合策略)。
-
成本维度:引入峰谷电价、需量电费与容量约束,优化用能时段。
-
闭环改进:措施库(工艺优化、变频改造、无功补偿、余热回收),ROI与回收期自动评估。 应用场景
-
节假日/夜间能耗异常追踪与节能策略优化。
-
多园区能效排名与对标。 落地成效
-
综合电费下降 5–15%;尖峰负荷降低 8–12%。
三、设备监测诊断

模块概述:从“看得见状态”到“看得见风险”,以资产台账+健康体检+预测性维护降低停机与事故。 功能点:设备台账|运行记录|故障趋势|健康指数HI|预测性维护 搭建思路与技巧
-
台账标准化:统一编码(资产编码/回路/一次二次设备),绑定铭牌、投运日期、维保策略。
-
感知覆盖:关键设备布设温度/振动/局放/油色谱/泄漏电流等传感;边缘端预处理降噪。
-
预测模型:以 MTBF/退化曲线/异常检测(Isolation Forest、LSTM)识别早期故障征兆。
-
工单联动:告警→生成维保工单→进度追踪→验收归档,闭环可追溯。 应用场景
-
变压器油色谱异常预警、开关柜局放监测。
-
生产线关键电机振动温升趋势预判。 落地成效
-
非计划停机减少 20–35%;设备寿命延长 10–20%。
四、故障定位分析

模块概述:以拓扑建模+时间同步+因果推断实现快速定位与根因分析,缩短MTTR。 功能点:设备故障率|历史故障记录|拓扑联动|根因路径|SOP建议 搭建思路与技巧
-
电气拓扑:一次/二次系统拓扑建模,事件沿馈线/母线/开关自动回溯。
-
时间同步:全网采集点同步到 NTP/PTP 标准,保障事件先后顺序可信。
-
根因库:FMEA/故障树+规则引擎(如过流→保护动作→重合闸失败→区段定位)。
-
处置卡片:自动生成SOP与所需备件清单。 应用场景
-
馈线跳闸快速区段定位与复电路径推荐。
-
发电机异常振动与历史工况关联分析。 落地成效
-
故障定位时间缩短 40–60%;复电效率提升 30%+。
五、电能质量监测

模块概述:围绕电压/电流/频率/谐波/三相不平衡/功率因数进行持续监测与治理,降低停机与罚款风险。 功能点:频率趋势|电能质量事件|电压暂降/闪变|谐波谱|功率因数 搭建思路与技巧
-
采样与合规:PQ分析仪采样≥256点/周波;对标 IEC 61000/EN 50160。
-
事件捕捉:暂降/暂升/闪变自动截波与波形回放;事件与设备状态交叉还原。
-
治理联动:无功补偿、APF有源滤波、相序优化,按经济性最优组合执行。 应用场景
-
机加工/注塑车间谐波治理与功率因数提升。
-
数据中心电压暂降风险告警与整改。 落地成效
-
PQ事件减少 30–50%;功率因数达标率 >98%,电费罚款显著降低。
六、智能调度优化

模块概述:融合负荷预测、源网荷储协调、价格信号,实现安全与经济并重的调度。 功能点:实时负荷曲线|短中期负荷预测|经济调度|安全校核|优化建议|调度计划 搭建思路与技巧
-
预测引擎:气象/历史/生产计划驱动的多模型融合(XGBoost/Prophet/LSTM)。
-
多能协同:光伏/储能/燃机/电网分担,目标函数综合购电成本+弃光弃风+约束惩罚。
-
储能策略:削峰填谷、需量控制、套利模式自动切换。
-
约束检查:潮流/越限/N-1 安全校核;调度方案可视化对比。 应用场景
-
工商业“光伏+储能+电网”微网优化运行。
-
价格型需求响应(ToU/实时电价)策略执行。 落地成效
-
购电成本下降 8–18%;可再生消纳率提升 10–25%。
七、实时监控与报警
模块概述:构建“异常早发现、告警少打扰、处置有闭环”的监控报警体系。 功能点:系统总览|报警统计|设备状态列表|实时报警记录|多级联动 搭建思路与技巧
-
多级门限:静态阈值 + 自适应阈值(随工况/季节/班次漂移)。
-
降噪去重:告警归并、抑制与窗口化,避免“告警风暴”。
-
联动策略:告警触发→广播/联锁→生成工单→移动端确认与回传。
-
值班与升级:按岗位轮值自动升级;逾时未处理自动转派。 应用场景
-
重点回路温升异常→自动降载与工单派发。
-
关键设备离线→短信/APP/语音多通道通知。 落地成效
-
有效告警确认率 ≥98%;虚假告警降低 50%+。
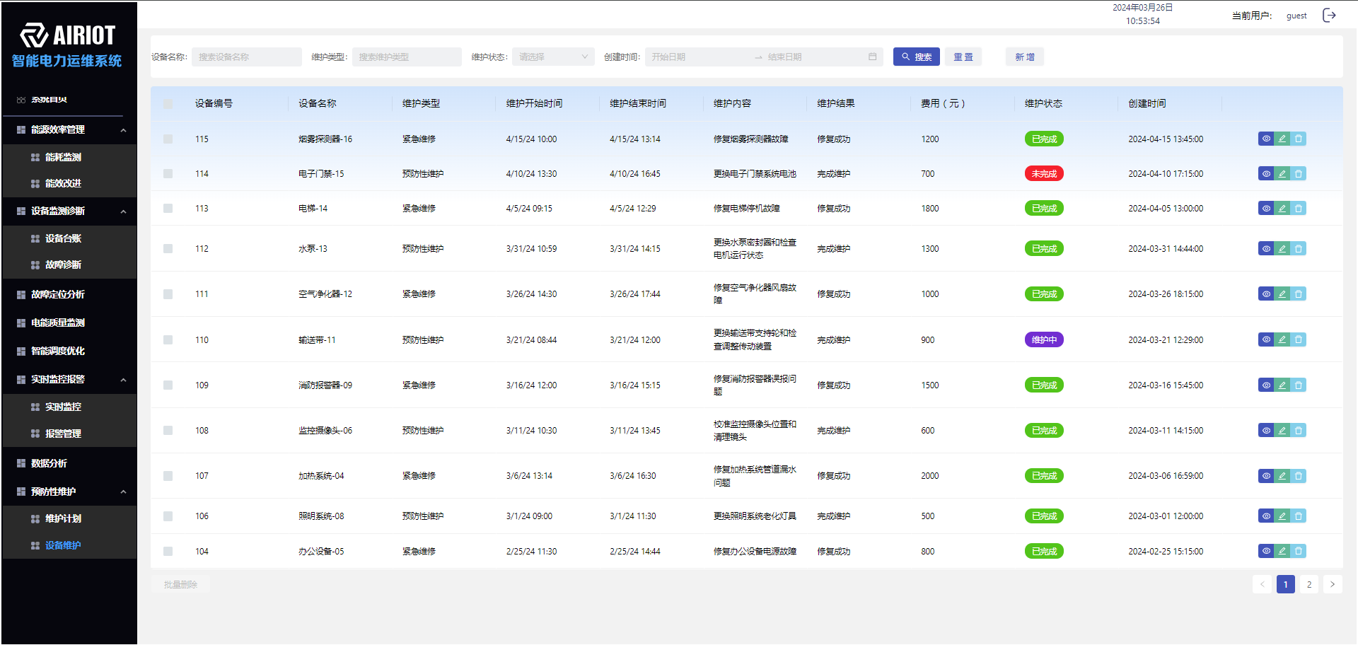
八、预防性维护

模块概述:从策略制定—计划排程—现场执行—复核归档的全流程数字化,向状态检修/预测性维护转型。 功能点:维护计划|点检路线|备件与工具|作业票/SOP|验收与评估 搭建思路与技巧
-
策略分层:RCM(可靠性中心维护)+ CBM(基于状态)结合,按关键度/风险/成本分级。
-
移动作业:APP 扫码获取SOP、风险提示与检修清单;照片/视频留痕。
-
备件联动:维保计划自动校验库存并预留,缺件预警。
-
闭环复盘:维护效果评估反馈至预测模型与计划参数。 应用场景
-
变压器年度检修、开关柜点检路线优化。
-
外委维保统一票据化与安全作业管控。 落地成效
-
计划外检修减少 25–40%;工单准时率 ≥95%。
电力管理系统的建设并不仅仅是安装几台仪表、接入几个传感器那么简单,而是一个从架构规划、数据治理、模型算法到业务流程再造的系统工程。AIRIOT电力管理系统在这一过程中提供了灵活的模块化能力和丰富的行业经验,能够帮助企业和园区在不同发展阶段,快速搭建符合自身需求的电力管理体系。
通过本文的八大模块示例,我们可以看到一个成熟的智慧电力管理系统如何在安全、稳定、经济和绿色之间找到平衡。对于未来的能源系统,这样的数字化管理平台不仅是提升效率的工具,更是实现“双碳”目标和能源转型的重要基石。
#电力管理系统#智慧电力运维#能源效率管理#电能质量监测#智能调度优化#预测性维护#AIRIOT智慧系统搭建平台
900

被折叠的 条评论
为什么被折叠?



