摘 要
随着互联网的发展和电子商务的兴起,阅读书店管理系统成为数字化时代图书行业的重要组成部分。本文基于SSM框架设计开发了一款阅读书店管理系统,旨在提供便捷的平台,方便管理员进行图书、留言和订单的管理,同时为注册用户提供良好的图书浏览、购买和留言体验。系统包括管理员和注册用户两个角色,管理员可以管理轮播图、留言和资源分类,而注册用户可以浏览图书商城、查看订单和留言反馈。通过这样的系统设计与实现,能够提升图书销售效率、优化用户体验,推动阅读文化的传播和发展。
本次开发项目的页面设计采用Java、HTML、SSM和CSS等实现,数据库设计则使用了MySQL,是一款B/S模式的系统,给用户带来到一种全新的图书的体验,享受足不出户送货上门的服务。
关键词:阅读书店管理系统;ssm框架;Mysql数据库
SSM Reading Bookstore Management System
Abstract
With the development of the Internet and the rise of e-commerce, the reading bookstore management system has become an important part of the book industry in the digital era. This article designs and develops a reading bookstore management system based on the SSM framework, aiming to provide a convenient platform for administrators to manage books, messages, and orders. At the same time, it provides a good book browsing, purchasing, and message experience for registered users. The system includes two roles: administrator and registered user. The administrator can manage the carousel map, messages, and resource classification, while the registered user can browse the book mall, view orders, and leave feedback. By designing and implementing such a system, we can improve the efficiency of book sales, optimize user experience, and promote the dissemination and development of reading culture.
The page design of this development project is implemented using Java, HTML, SSM, and CSS, while the database design uses MySQL, which is a B/S mode system that brings users a brand new book experience and allows them to enjoy door-to-door delivery services without leaving their homes.
Keywords: Reading bookstore management system; SSM framework; MySQL database
目 录
随着互联网和移动技术的迅猛发展,图书行业也面临了巨大的变革。传统实体书店受限于空间、库存和地理位置等因素,无法满足用户多样化的需求和购书习惯。同时,读者对于个性化推荐、社交互动和便捷购书体验的期望日益增加。因此,基于互联网技术的阅读书店管理系统的研究与开发具有重要意义。
阅读书店管理系统可以通过数字化管理和自动化流程提高图书销售效率。传统实体书店需要人工管理图书信息、库存和订单,容易出现错误和延误。而阅读书店管理系统可以实现实时库存管理、快速订单处理和自动生成报表,减少人力成本和提高销售效率。管理员可以方便地添加、编辑和删除图书信息,实现图书的准确记录和管理。
该系统能够优化用户体验,为用户提供更便捷、个性化的图书浏览和购买体验。注册用户可以通过系统浏览图书商城,根据个人兴趣和需求进行搜索和筛选,并查看图书详情、评价和相关资讯。留言功能使用户能够与其他读者交流和分享意见,增加社交互动性。同时,系统还可以根据用户的购买历史和喜好推荐相关图书,提升用户体验和满意度。
随着互联网技术的不断发展,阅读书店管理系统的研究与开发对于实体书店的数字化转型具有重要的研究意义和实际应用价值。通过提高销售效率、优化用户体验、拓展图书资源和知识传播以及利用数据分析进行营销策略,该系统有助于推动图书行业的创新发展和适应消费者需求的变化。通过构建一个更便捷、个性化和社交化的图书购买平台,可以满足用户的多样化需求,促进阅读文化的传播和图书行业的可持续发展。
国外对网络商城的研究始于二十世纪的九十年代,当时只是借助计算机软件,实现对网络商城数据的存储和查询,后来随着信息化技术的不断发展,开始设计更为复杂的网络商城软件,包括商品销售数据的存储管理、商品销售数据的查询、商品销售数据的报表统计。管理学在九十年代末开始得到系统的发展这个时候出现了产业链的概念,这个时候网络商城的软件开发人员,在软件的设计过程当中引入了产业链的概念,网络商城在这个时候开始得到了实质性的发展。后来随着数据挖掘技术的出现,在网络商城软件的设计与实现的过程当中引入的数据挖掘技术,能够在海量的数据当中提取出有效的信息进行统计和分析,为商品销售的管理人员制定决策的时候提供一些数据依据。
目前我国企业的发展逐步走向决策型的发展模式,对于网络商城来说,如何在现代化经济条件下适应决策型网络商城,将作为企业未来发展一个重要方向。我国的决策型网络商城研究,仍然处于低级阶段,但是对于决策型管理信息系统的研究在未来的发展过程中将会有一个比较大的创新与突破。大部分的黑客会攻击安装不适当和配置不正确的服务器,因此,此类服务器往往存在着许多安全漏洞,网络商城的建立是为了实现企业内部管理各个系统的数据交换与共享,因此,系统的安全性尤为重要,为了防止商品销售数据被竞争对手获取,或者被黑客恶意篡改和破坏,财务软件需要具备一定的安全性。财务软件需要保证系统架构硬件平台具备一定安全性,在网络操作过程中以及自身应用程序中需要具备一定的安全性。
本研究的主要内容是基于SSM框架的阅读书店管理系统的设计和开发。研究将围绕以下几个方面展开:
需求分析:通过调研和用户需求收集,明确阅读书店管理系统所需具备的功能和特点。了解管理员和注册用户对系统的期望和需求,确定系统的基本功能和核心模块。
系统设计与架构:在需求分析的基础上,设计系统的整体架构。确定系统的前端界面设计、后端数据库结构以及业务逻辑的实现方式。同时,考虑系统的可扩展性和灵活性,以满足未来的功能增加和升级需求。
模块开发:根据需求分析,逐步开发系统的各个功能模块。这包括但不限于管理员账号管理、图书管理、留言管理、订单管理等。每个模块都将有相应的操作界面和数据处理逻辑,以确保功能的正常运行和用户体验的良好。
系统集成与测试:在模块开发完成后,进行系统的集成和测试。确保各个模块之间的协调工作,以及整个系统的稳定性和安全性。同时,进行一系列的功能测试和性能测试,以确保系统的质量和稳定运行。
用户体验优化:在系统开发完成后,根据用户反馈和实际使用情况,对系统进行优化和改进。通过改善用户界面、完善功能等方式,提升用户体验,使其更加便捷和友好。
根据论文的整体架构,第一章引入了研究背景和意义,并概述了研究内容和主要工作。第二章对相关技术进行详细的说明,为后续的需求分析和系统设计提供理论支持。第三章对系统需求进行分析,包括用户需求和功能需求。第四章根据需求分析结果,进行系统设计,包括系统框架、功能模块和数据库的设计。第五章详细介绍了系统的实现过程,包括框架搭建、界面和功能的实现。第六章对系统进行测试,确保界面和功能的正常运行。最后一章总结全文,指出存在的问题和不足,并展望未来的研究方向。
Java是一种广泛应用于软件开发的高级编程语言。它于1995年由Sun Microsystems公司发布,现在由Oracle公司维护和发展。Java语言的设计目标是实现"一次编写,到处运行"的原则,即通过Java虚拟机(JVM)可以在不同的操作系统上运行相同的程序。
Java被广泛用于开发各种类型的应用程序,包括桌面应用程序、移动应用程序、企业级应用程序以及嵌入式系统等。其主要特点之一是面向对象编程(OOP),通过类和对象的概念,使得程序设计更加模块化、可扩展和易于维护。
另一个重要的特点是Java具有平台无关性。开发人员可以将Java程序编译成字节码,然后在任何支持Java虚拟机的平台上运行。这种特性为跨平台开发提供了便利,大大降低了开发和维护成本。
此外,Java还提供了丰富的类库和工具,使得开发人员能够更高效地完成任务。Java类库包含了各种常用功能的封装,如输入输出、网络通信、数据库访问等,开发人员可以直接使用这些类库来简化开发过程。
总之,Java语言以其跨平台性、面向对象编程和丰富的类库成为了软件开发的重要工具之一。它在业界得到了广泛应用,并持续发展和演进,为开发人员提供了强大的能力和灵活性。
MySQL是一种广泛使用的开源关系型数据库管理系统。它由瑞典公司MySQL AB开发并于1995年首次发布,现在由Oracle公司维护和支持。MySQL被广泛应用于各种规模的应用程序和网站,从小型个人项目到大型企业级应用都可以使用MySQL进行数据存储和管理。
MySQL具有多种优点,其中最显著的是其高性能和可扩展性。它采用了高效的存储引擎和查询优化技术,使得MySQL能够快速处理大量数据,并支持高并发访问。此外,MySQL还提供了丰富的功能和灵活的配置选项,使得开发人员能够根据项目需求进行定制和调整。
另一个重要的特点是MySQL具有跨平台性,可以在多个操作系统上运行,包括Windows、Linux和Mac OS等。这使得开发人员能够轻松地在不同环境中部署和使用MySQL,同时也为应用程序的迁移和扩展提供了方便。
B/S结构(Browser/Server)是一种常用的系统架构,通过将前端界面放在浏览器中,后端业务逻辑放在服务器端进行处理,实现了前后端的分离。在本系统中,采用B/S结构可以简化系统的开发和维护,并提高系统的可扩展性和安全性。
SSM框架是一种常用的Java Web开发框架,它由Spring、Spring MVC和MyBatis三个成熟而强大的开源项目组成。SSM框架的结合利用了这三个项目的优势,为开发人员提供了高效、灵活和可扩展的开发环境。
Spring作为SSM框架的核心,提供了依赖注入(DI)和面向切面编程(AOP)等关键功能。它通过IOC容器管理和组织应用程序中的各个组件,使得开发人员能够更好地解耦和管理对象之间的依赖关系。同时,Spring的AOP功能可以帮助开发人员实现横切关注点的统一处理,例如事务管理和日志记录等,提高了代码的复用性和可维护性。
Spring MVC作为SSM框架的Web层框架,提供了一套灵活而强大的模型-视图-控制器(MVC)架构。它基于Servlet技术,并且具有良好的可扩展性,使得开发人员能够轻松地构建和维护Web应用程序。Spring MVC还提供了丰富的注解和标签库,简化了URL映射、表单处理和数据校验等常见的Web开发任务。
MyBatis作为SSM框架的持久层框架,提供了方便而高效的数据库访问解决方案。它通过将SQL语句和Java代码进行分离,使得开发人员能够更好地管理和维护SQL语句,并实现灵活的数据映射和查询操作。MyBatis还支持动态SQL和缓存机制等功能,进一步提升了数据库访问的性能和效率。
技术性方面,采用当前主流的ssm框架进行系统主体框架的搭建,前台使用java语言,实现前台页面的设计与美观调整,以上技术,均由本人经过系统学习,并且都是在课程设计中实践过的,可以使得开发更加便捷和系统。从技术角度看,这个系统是完全可以实现的。
实用性方面,本次设计的主要任务是在阅读书店管理系统内实现首页、系统用户(管理员、注册用户)系统管理(轮播图)留言管理、资源管理(图书资讯、资讯分类)商城管理(图书商城、分类列表、订单列表、订单配送)等,符合当前潮流的发展。从用户角度出发,同时也考虑系统运营成本和人力资源,采用网络上的便捷方式,实现线上业务,使得业务流程更系统,也更方便用户的体验,比较实用。
经济性方面,由于本课题中设计的阅读书店管理系统的主要目的是为了能够更加方便及快捷的进行信息的查询管理及检索服务,也就是能够可以直接投入使用的信息化软件。系统的主要成本主要是集中在对使用数据后期继续维护及其管理更新这个操作上。但是一旦系统投入到实际的运行及使用之后就能够很好的提高信息查询检索的效率,同时也需要有效的保证查询者的信息方面的安全性,同时这个阅读书店管理系统所带来的实际应用方面的价值是远远的超过了实际系统进行开发与维护方面的成本,因此,从经济上来说开发这个软件是可行的。
按照阅读书店管理系统的角色,我划分为了普通用户管理模块和管理员管理模块这两大部分。
用户管理模块:
(1)注册登录:游客可以随时进入到系统中,对系统中的信息浏览,但是想要实现图书商城购买、收藏以及评论等操作,就必须有这个系统的账号,如果没有本系统账号的话,可以点击“注册”按钮,根据提示输入注册的信息,然后再进行登录,登录成功以后,点击“我的”这以按钮对个人信息以及操作的信息进行管控。
(2)查看阅读书店管理系统的首页信息:阅读书店管理系统的首页信息包含了图书资讯、留言板、图书商城、商城管理(我的购物车、我的订单、我的地址)等。
(3)图书资讯:在前台点击“图书资讯”按钮进入图书资讯列表,可以输入关键词进行查询图书资讯信息,并且可以对查看的图书资讯进行评论、收藏、点赞操作。
(4)留言板:在前台点击“留言板”这一菜单按钮以后就会进入到留言板界面,可以添加留言内容进行留言。
(5)图书商城详情:用户可以点击搜索查看自己喜欢的图书产品,点击可以进入到图书产品的详细界面当中,在详情界面可以查看图书产品的各种参数,对喜欢的图书产品可以加购、立即购买、收藏、评论。
(6)我的购物车:用户对喜欢的图书产品可以加购,在购物车里面,可以查看到所有加购的图书,支持对图书数量的更改、删除图书,可以进行选择购买。
(7)我的订单:用户在提交订单后,可以对提交的订单进行管理。
(8)我的地址:点击“商城管理”中“我的地址”按钮的时候就会显示出自己的收货地址信息,支持对收货地址的增删改查操作。
(9)我的收藏:点击“我的”中“我的收藏”按钮的时候就会显示出自己收藏的各种信息了,支持对收藏信息的搜索查询,如果你想不再收藏某一信息,点击删除就可以了。
(10)订单配送管理:用户通过登录以后可以查看到自己提交的订单配送信息。
(11)个人管理:在个人管理界面对个人的基本资料以及登录的密码进行更新维护。
管理员管理模块:
(1)管理员:点击“管理员”可以查看到系统中的管理员信息,如果想要添加新的管理员,点击“添加”按钮,根据提示输入上管理员信息,点击“提交”按钮,信息没有错误的话,添加就完成了,如果管理员信息有误,可以对管理员更新维护,也可以直接删除某一管理员。
(2)普通用户:点击“普通用户”可以查看到系统中的注册用户信息,如果想要添加新的注册用户,点击“添加”按钮,根据提示输入上系统用户信息,点击“提交”按钮,信息没有错误的话,添加就完成了,如果系统用户信息有误,可以对注册用户更新维护,也可以直接删除某一注册用户。
(3)系统管理:点击“系统管理”可以查看到系统中的轮播图信息,如果想要添加新的轮播图,点击“添加”按钮,根据提示输入上轮播图信息,点击“提交”按钮,信息没有错误的话,添加就完成了,如果轮播图信息有误,可以对轮播图更新维护,也可以直接删除某一轮播图。
(4)留言板:点击“留言板”可以查看到留言板中的用户提交的留言内容,支持对留言进行回复。
(5)图书资讯:点击“图书资讯”可以查看到网站公告中的图书资讯信息,如果想要添加新的图书资讯,点击“添加”按钮,根据提示输入上图书资讯信息,点击“提交”按钮,信息没有错误的话,添加就完成了,如果图书资讯信息有误,可以对图书资讯更新维护,也可以直接删除某一图书资讯,还可以对前台用户提交的图书资讯评论信息进行回复管理。
(6)资讯分类:点击“资讯分类”可以查看到系统中的资讯分类信息,如果想要添加新的资讯分类,点击“添加”按钮,根据提示输入上资讯分类信息,点击“提交”按钮,信息没有错误的话,添加就完成了,如果资讯分类信息有误,可以对资讯分类更新维护,也可以直接删除某一资讯分类。
(7)图书商城:点击“图书商城”可以查看到系统中的图书信息,如果想要添加新的图书,点击“添加”按钮,根据提示输入上图书信息,点击“提交”按钮,信息没有错误的话,添加就完成了,如果图书信息有误,可以对图书更新维护,也可以直接删除某一图书。
(8)分类列表:点击“分类列表”可以查看到系统中的图书分类信息,如果想要添加新的分类,点击“添加”按钮,根据提示输入上分类信息,点击“提交”按钮,信息没有错误的话,添加就完成了,如果分类信息有误,可以对分类更新维护,也可以直接删除某一分类。
(9)订单列表:点击“订单列表”可以查看到用户购买的我的图书订单,对提交的订单进行管理。
(10)订单配送:点击“订单配送”可以查看到系统中的订单配送信息,如果想要添加新的订单配送,点击“添加”按钮,根据提示输入上订单配送,点击“提交”按钮,信息没有错误的话,添加就完成了,如果订单配送信息有误,可以对订单配送更新维护,也可以直接删除某一订单配送。
(11)个人管理:在个人管理界面对个人的基本资料以及登录的密码进行更新维护。
普通用户用例图如下所示。

图3-1 普通用户用例图
管理员用例图如下所示。

图3-2 管理员用例图
首先主要考虑的是系统功能软件,在具体设计的环节上,是不是能够较好的满足各类用户的基本功能需求,如果不能较好的满足用户需求,那么这个系统的存在是没有价值的。软件系统的非功能性求分析,从7个方面展开,一个是性能分析,针对系统;一个是安全分析,针对系统,一个是完整度分析,针对系统,一个是可维护分析,针对系统,一个是可扩展性分析,针对系统,一个是适应业务的性能分析。面对阅读书店管理系统存在的性能、安全、扩展、完整度等7个方面性能综合比对分析后发现,需要相应的非功能性需求分析。
安全性对每一个系统来说都是非常重要的。安全性很好的系统可以保护企业的信息和用户的信息不被窃取。提高系统的安全性不仅是对用户的负责,更是对企业的负责。尤其针对于阅读书店管理系统来说,必须要有很好的安全性来保障整个系统。
系统具有对使用者有权限控制,针对角色的不通限制使用者的权限,以此来确保系统的安全性。
数据库中的数据是从外界输入的,当数据的输入时,由于种种原因,输入的数据会无效,或者是脏数据。因此,怎样保证输入的数据符合规定,成为了数据库系统,尤其是多用户的关系数据库系统首要关注的问题。
因此,在写入数据库时,要保证数据完整性、正确性和一致性。
本阅读书店管理系统的架构设计采用了经典的3层架构,包括Web层、业务层和Model层。其中,Web层进一步细分为View层和Controller层,而Model层则包含了元数据扩展层和数据访问层。
View层:View层负责呈现用户界面,通过HTML、CSS、JavaScript等技术实现页面的展示和用户交互。它与用户直接交互,并将用户请求传递给Controller层进行处理。
Controller层:Controller层是Web层的核心,负责接收来自View层的用户请求,并调用相应的业务逻辑处理。它通过路由机制将请求转发给业务层进行处理,并将处理结果返回给View层。
业务层:业务层是系统的核心逻辑处理部分,负责处理具体的业务需求。它包括了各种服务和业务对象,根据Controller层的请求进行相应的业务逻辑处理,并与Model层进行交互。
元数据扩展层:元数据扩展层主要用于定义和管理系统中的元数据,例如书籍信息、订单信息等。它提供了对这些元数据的定义、查询和修改等功能,并为业务层和数据访问层提供统一的接口。
数据访问层:数据访问层负责与数据库进行交互,包括对数据的读取、写入和更新等操作。它使用数据库访问技术(如JDBC或ORM框架)与数据库进行通信,并将数据结果返回给业务层进行处理。系统架构如下图所示。

图4-1 系统架构
阅读书店管理系统总体分为注册用户模块、后台管理员模块。
模块表现上是分别独立存在,但是访问的数据库是一样的。每一个模块的功能都是根据先前完成的需求分析,并查阅相关资料后整理制作的。
综上所述,系统功能结构图如下图所示。

图4-2 系统功能结构图
4.3.1 数据库概念结构设计
下面是整个阅读书店管理系统中主要的数据库表总E-R实体关系图。

图4-3阅读书店管理系统总E-R关系图
4.3.2 数据库逻辑结构设计
阅读书店管理系统所拥有的数据表有以下:用户信息表,图书信息表,图书销售订单表,留言表,评论表,收藏记录表。
由于数据表较多,只展示系统主要数据表,如下表所示。
| 编号 | 名称 | 数据类型 | 长度 | 小数位 | 允许空值 | 主键 | 默认值 | 说明 |
| 1 | book_mall_id | int | 10 | 0 | N | Y | 图书商城ID | |
| 2 | author | varchar | 64 | 0 | Y | N | 作者 | |
| 3 | press | varchar | 64 | 0 | Y | N | 出版社 | |
| 4 | cart_title | varchar | 125 | 0 | Y | N | 标题:[0,125]用于产品html的标签中 | |
| 5 | cart_img | text | 65535 | 0 | Y | N | 封面图:用于显示于产品列表页 | |
| 6 | cart_description | varchar | 255 | 0 | Y | N | 描述:[0,255]用于产品规格描述 | |
| 7 | cart_price_ago | double | 8 | 2 | N | N | 0.00 | 原价:[1] |
| 8 | cart_price | double | 8 | 2 | N | N | 0.00 | 卖价:[1] |
| 9 | cart_inventory | int | 10 | 0 | N | N | 0 | 商品库存 |
| 10 | cart_type | varchar | 64 | 0 | N | N | 未分类 | 商品分类: |
| 11 | cart_content | longtext | 2147483647 | 0 | Y | N | 正文:产品的主体内容 | |
| 12 | cart_img_1 | text | 65535 | 0 | Y | N | 主图1: | |
| 13 | cart_img_2 | text | 65535 | 0 | Y | N | 主图2: | |
| 14 | cart_img_3 | text | 65535 | 0 | Y | N | 主图3: | |
| 15 | cart_img_4 | text | 65535 | 0 | Y | N | 主图4: | |
| 16 | cart_img_5 | text | 65535 | 0 | Y | N | 主图5: | |
| 17 | create_time | datetime | 19 | 0 | N | N | CURRENT_TIMESTAMP | 创建时间 |
| 18 | update_time | timestamp | 19 | 0 | N | N | CURRENT_TIMESTAMP | 更新时间 |
| 编号 | 名称 | 数据类型 | 长度 | 小数位 | 允许空值 | 主键 | 默认值 | 说明 |
| 1 | cart_id | int | 10 | 0 | N | Y | 购物车ID: | |
| 2 | title | varchar | 64 | 0 | Y | N | 标题: | |
| 3 | img | varchar | 255 | 0 | N | N | 0 | 图片: |
| 4 | user_id | int | 10 | 0 | N | N | 0 | 用户ID: |
| 5 | create_time | timestamp | 19 | 0 | N | N | CURRENT_TIMESTAMP | 创建时间: |
| 6 | update_time | timestamp | 19 | 0 | N | N | CURRENT_TIMESTAMP | 更新时间: |
| 7 | state | int | 10 | 0 | N | N | 0 | 状态:使用中,已失效 |
| 8 | price | double | 9 | 2 | N | N | 0.00 | 单价: |
| 9 | price_ago | double | 9 | 2 | N | N | 0.00 | 原价: |
| 10 | price_count | double | 11 | 2 | N | N | 0.00 | 总价: |
| 11 | num | int | 10 | 0 | N | N | 1 | 数量: |
| 12 | goods_id | mediumint | 8 | 0 | N | N | 商品id:[0,8388607] | |
| 13 | type | varchar | 64 | 0 | N | N | 未分类 | 商品分类: |
| 14 | description | varchar | 255 | 0 | Y | N | 描述:[0,255]用于产品规格描述 |
| 编号 | 名称 | 数据类型 | 长度 | 小数位 | 允许空值 | 主键 | 默认值 | 说明 |
| 1 | collect_id | int | 10 | 0 | N | Y | 收藏ID: | |
| 2 | user_id | int | 10 | 0 | N | N | 0 | 收藏人ID: |
| 3 | source_table | varchar | 255 | 0 | Y | N | 来源表: | |
| 4 | source_field | varchar | 255 | 0 | Y | N | 来源字段: | |
| 5 | source_id | int | 10 | 0 | N | N | 0 | 来源ID: |
| 6 | title | varchar | 255 | 0 | Y | N | 标题: | |
| 7 | img | varchar | 255 | 0 | Y | N | 封面: | |
| 8 | create_time | timestamp | 19 | 0 | N | N | CURRENT_TIMESTAMP | 创建时间: |
| 9 | update_time | timestamp | 19 | 0 | N | N | CURRENT_TIMESTAMP | 更新时间: |
| 编号 | 名称 | 数据类型 | 长度 | 小数位 | 允许空值 | 主键 | 默认值 | 说明 |
| 1 | comment_id | int | 10 | 0 | N | Y | 评论ID: | |
| 2 | user_id | int | 10 | 0 | N | N | 0 | 评论人ID: |
| 3 | reply_to_id | int | 10 | 0 | N | N | 0 | 回复评论ID:空为0 |
| 4 | content | longtext | 2147483647 | 0 | Y | N | 内容: | |
| 5 | nickname | varchar | 255 | 0 | Y | N | 昵称: | |
| 6 | avatar | varchar | 255 | 0 | Y | N | 头像地址:[0,255] | |
| 7 | create_time | timestamp | 19 | 0 | N | N | CURRENT_TIMESTAMP | 创建时间: |
| 8 | update_time | timestamp | 19 | 0 | N | N | CURRENT_TIMESTAMP | 更新时间: |
| 9 | source_table | varchar | 255 | 0 | Y | N | 来源表: | |
| 10 | source_field | varchar | 255 | 0 | Y | N | 来源字段: | |
| 11 | source_id | int | 10 | 0 | N | N | 0 | 来源ID: |
| 编号 | 名称 | 数据类型 | 长度 | 小数位 | 允许空值 | 主键 | 默认值 | 说明 |
| 1 | goods_id | mediumint | 8 | 0 | N | Y | 产品id:[0,8388607] | |
| 2 | title | varchar | 125 | 0 | Y | N | 标题:[0,125]用于产品和html的<title>标签中 | |
| 3 | img | text | 65535 | 0 | Y | N | 封面图:用于显示于产品列表页 | |
| 4 | description | varchar | 255 | 0 | Y | N | 描述:[0,255]用于产品规格描述 | |
| 5 | price_ago | double | 8 | 2 | N | N | 0.00 | 原价:[1] |
| 6 | price | double | 8 | 2 | N | N | 0.00 | 卖价:[1] |
| 7 | sales | int | 10 | 0 | N | N | 0 | 销量:[0,1000000000] |
| 8 | inventory | int | 10 | 0 | N | N | 0 | 商品库存 |
| 9 | type | varchar | 64 | 0 | N | N | 商品分类: | |
| 10 | hits | int | 10 | 0 | N | N | 0 | 点击量:[0,1000000000]访问这篇产品的人次 |
| 11 | content | longtext | 2147483647 | 0 | Y | N | 正文:产品的主体内容 | |
| 12 | img_1 | text | 65535 | 0 | Y | N | 主图1: | |
| 13 | img_2 | text | 65535 | 0 | Y | N | 主图2: | |
| 14 | img_3 | text | 65535 | 0 | Y | N | 主图3: | |
| 15 | img_4 | text | 65535 | 0 | Y | N | 主图4: | |
| 16 | img_5 | text | 65535 | 0 | Y | N | 主图5: | |
| 17 | create_time | timestamp | 19 | 0 | N | N | CURRENT_TIMESTAMP | 创建时间: |
| 18 | update_time | timestamp | 19 | 0 | N | N | CURRENT_TIMESTAMP | 更新时间: |
| 19 | customize_field | text | 65535 | 0 | Y | N | 自定义字段 | |
| 20 | source_table | varchar | 255 | 0 | Y | N | 来源表: | |
| 21 | source_field | varchar | 255 | 0 | Y | N | 来源字段: | |
| 22 | source_id | int | 10 | 0 | N | N | 0 | 来源ID: |
| 23 | user_id | int | 10 | 0 | Y | N | 0 | 添加人 |
| 编号 | 名称 | 数据类型 | 长度 | 小数位 | 允许空值 | 主键 | 默认值 | 说明 |
| 1 | type_id | int | 10 | 0 | N | Y | 商品分类ID: | |
| 2 | father_id | smallint | 5 | 0 | N | N | 0 | 上级分类ID:[0,32767] |
| 3 | name | varchar | 255 | 0 | Y | N | 商品名称: | |
| 4 | desc | varchar | 255 | 0 | Y | N | 描述: | |
| 5 | icon | varchar | 255 | 0 | Y | N | 图标: | |
| 6 | source_table | varchar | 255 | 0 | Y | N | 来源表: | |
| 7 | source_field | varchar | 255 | 0 | Y | N | 来源字段: | |
| 8 | create_time | timestamp | 19 | 0 | N | N | CURRENT_TIMESTAMP | 创建时间: |
| 9 | update_time | timestamp | 19 | 0 | N | N | CURRENT_TIMESTAMP | 更新时间: |
| 编号 | 名称 | 数据类型 | 长度 | 小数位 | 允许空值 | 主键 | 默认值 | 说明 |
| 1 | logistics_delivery_id | int | 10 | 0 | N | Y | 物流配送ID | |
| 2 | order_number | varchar | 64 | 0 | Y | N | 订单号 | |
| 3 | product_name | varchar | 64 | 0 | Y | N | 商品名称 | |
| 4 | purchase_quantity | varchar | 64 | 0 | Y | N | 购买数量 | |
| 5 | total_transaction_amount | double | 11 | 2 | Y | N | 0.00 | 交易总额 |
| 6 | the_date_of_issuance | date | 10 | 0 | Y | N | 发货日期 | |
| 7 | delivery_number | varchar | 30 | 0 | Y | N | 配送订单 | |
| 8 | ordinary_users | int | 10 | 0 | Y | N | 0 | 普通用户 |
| 9 | shipping_address | varchar | 64 | 0 | Y | N | 收货地址 | |
| 10 | delivery_status | varchar | 64 | 0 | Y | N | 配送状态 | |
| 11 | signing_status | varchar | 64 | 0 | Y | N | 签收状态 | |
| 12 | recommend | int | 10 | 0 | N | N | 0 | 智能推荐 |
| 13 | contact_name | varchar | 255 | 0 | Y | N | 联系人名字 | |
| 14 | merchant_id | int | 10 | 0 | Y | N | 商家id | |
| 15 | create_time | datetime | 19 | 0 | N | N | CURRENT_TIMESTAMP | 创建时间 |
| 16 | update_time | timestamp | 19 | 0 | N | N | CURRENT_TIMESTAMP | 更新时间 |
| 编号 | 名称 | 数据类型 | 长度 | 小数位 | 允许空值 | 主键 | 默认值 | 说明 |
| 1 | message_id | int | 10 | 0 | N | Y | 留言板ID: | |
| 2 | user_id | int | 10 | 0 | N | N | 0 | 用户ID: |
| 3 | title | varchar | 64 | 0 | Y | N | 标题: | |
| 4 | content | longtext | 2147483647 | 0 | N | N | 内容: | |
| 5 | nickname | varchar | 32 | 0 | N | N | 昵称: | |
| 6 | avatar | varchar | 255 | 0 | Y | N | 头像: | |
| 7 | | varchar | 125 | 0 | Y | N | 留言者邮箱 | |
| 8 | phone | varchar | 11 | 0 | Y | N | 留言者手机号码 | |
| 9 | create_time | timestamp | 19 | 0 | N | N | CURRENT_TIMESTAMP | 创建时间: |
| 10 | update_time | timestamp | 19 | 0 | N | N | CURRENT_TIMESTAMP | 更新时间: |
| 11 | reply | longtext | 2147483647 | 0 | Y | N | 回复 | |
| 12 | reply_state | tinyint | 4 | 0 | Y | N | 0 | 回复状态 |
| 编号 | 名称 | 数据类型 | 长度 | 小数位 | 允许空值 | 主键 | 默认值 | 说明 |
| 1 | order_id | int | 10 | 0 | N | Y | 订单ID: | |
| 2 | order_number | varchar | 64 | 0 | Y | N | 订单号: | |
| 3 | goods_id | mediumint | 8 | 0 | N | N | 商品id:[0,8388607] | |
| 4 | title | varchar | 32 | 0 | Y | N | 商品标题: | |
| 5 | img | varchar | 255 | 0 | Y | N | 商品图片: | |
| 6 | price | double | 10 | 2 | N | N | 0.00 | 价格: |
| 7 | price_ago | double | 10 | 2 | N | N | 0.00 | 原价: |
| 8 | num | int | 10 | 0 | N | N | 1 | 数量: |
| 9 | price_count | double | 8 | 2 | N | N | 0.00 | 总价: |
| 10 | norms | varchar | 255 | 0 | Y | N | 规格: | |
| 11 | type | varchar | 64 | 0 | N | N | 未分类 | 商品分类: |
| 12 | contact_name | varchar | 32 | 0 | Y | N | 联系人姓名: | |
| 13 | contact_email | varchar | 125 | 0 | Y | N | 联系人邮箱: | |
| 14 | contact_phone | varchar | 11 | 0 | Y | N | 联系人手机: | |
| 15 | contact_address | varchar | 255 | 0 | Y | N | 收件地址: | |
| 16 | postal_code | varchar | 9 | 0 | Y | N | 邮政编码: | |
| 17 | user_id | int | 10 | 0 | N | N | 0 | 买家ID: |
| 18 | merchant_id | mediumint | 8 | 0 | N | N | 0 | 商家ID: |
| 19 | create_time | timestamp | 19 | 0 | N | N | CURRENT_TIMESTAMP | 创建时间: |
| 20 | update_time | timestamp | 19 | 0 | N | N | CURRENT_TIMESTAMP | 更新时间: |
| 21 | description | varchar | 255 | 0 | Y | N | 描述:[0,255]用于产品规格描述 | |
| 22 | state | varchar | 16 | 0 | N | N | 待付款 | 订单状态:待付款,待发货,待签收,已签收,待退款,已退款,已拒绝,已完成 |
| 23 | remark | text | 65535 | 0 | Y | N | 订单备注 | |
| 24 | delivery_state | varchar | 16 | 0 | Y | N | 未配送 | 发货状态:未配送,已配送 |
| 25 | vip_discount | double | 11 | 2 | Y | N | 0.00 | 折扣 |
| 编号 | 名称 | 数据类型 | 长度 | 小数位 | 允许空值 | 主键 | 默认值 | 说明 |
| 1 | registered_users_id | int | 10 | 0 | N | Y | 注册用户ID | |
| 2 | name | varchar | 64 | 0 | Y | N | 姓名 | |
| 3 | gender | varchar | 64 | 0 | Y | N | 性别 | |
| 4 | examine_state | varchar | 16 | 0 | N | N | 已通过 | 审核状态 |
| 5 | user_id | int | 10 | 0 | N | N | 0 | 用户ID |
| 6 | create_time | datetime | 19 | 0 | N | N | CURRENT_TIMESTAMP | 创建时间 |
| 7 | update_time | timestamp | 19 | 0 | N | N | CURRENT_TIMESTAMP | 更新时间 |
在SSM阅读书店管理系统中,数据库访问层(Data Access Layer)的实现涉及以下步骤:首先定义与数据库表对应的实体类,然后配置数据源和数据库连接信息。接下来,使用MyBatis框架编写映射文件,建立实体类与数据库表之间的映射关系。为每个实体类设计DAO接口,并在DAO实现类中使用MyBatis提供的API执行SQL语句。如果需要支持事务操作,可以在DAO层进行事务管理。最后,编写相应的单元测试用例来验证数据库访问层的正确性和稳定性。在开发过程中,还需考虑数据安全性和其他功能需求,如参数验证和防止SQL注入攻击等。通过以上步骤,可完成SSM阅读书店管理系统的数据库访问层实现。
游客可以随时进入到系统中,对系统中的信息浏览,但是想要实现图书商城购买、收藏以及评论等操作,就必须有这个系统的账号,如果没有本系统账号的话,可以点击“注册”按钮,根据提示输入注册的信息,然后再进行登录,登录成功以后,点击“我的”这以按钮对个人信息以及操作的信息进行管控。用户注册流程图如下图所示。

图5-1用户注册流程图
用户注册界面如下图所示。

图5-2用户注册界面
登录模块是SSM阅读书店管理系统中的关键部分。实现该模块的步骤包括创建登录页面,编写控制器方法处理登录请求,并在业务层中验证用户信息。根据验证结果,在控制器中返回相应的消息,并设置会话状态以识别用户身份。最后,根据登录结果进行页面跳转。为确保系统安全性,应对用户密码进行加密存储和比对。此外,可以增加记住登录状态、验证码验证等功能。通过以上步骤,可实现SSM阅读书店管理系统的登录模块,提升用户体验和系统安全性。登录流程图如下图所示。

图5-3登录流程图
用户登录界面如下图所示。

图5-4用户登录界面
在SSM阅读书店管理系统中,用户可以通过前台界面点击"图书资讯"按钮进入图书资讯列表页面。在该页面,用户可以输入关键词进行查询图书资讯信息,并且能够对查看到的图书资讯进行评论、收藏和点赞等操作。
管理员在登录后点击"图书资讯"按钮,可以查看网站公告中的图书资讯信息。若管理员希望添加新的图书资讯,可点击"添加"按钮,并按照提示输入相应的图书资讯信息。完成输入后,点击"提交"按钮进行信息提交。如果输入的图书资讯信息正确无误,添加操作即完成。但若发现图书资讯信息有误,管理员可选择更新维护该信息,或直接删除某一图书资讯。此外,管理员还可以对前台用户提交的图书资讯评论信息进行回复管理。
图书资讯界面如下所示。

图5-6图书资讯界面
-
- 图书管理模块的实现
在SSM阅读书店管理系统中,用户可以通过点击搜索按钮来查看自己喜欢的图书产品。点击图书产品后,会进入详细界面,在该界面用户可以查看图书产品的各种参数,并进行加购、立即购买、收藏和评论等操作。
管理员登录系统后,点击"图书商城"按钮可以查看系统中的图书信息。如果管理员想要添加新的图书,可点击"添加"按钮,并根据提示输入相应的图书信息。完成输入后,点击"提交"按钮进行信息提交。如果输入的图书信息正确无误,添加操作即完成。但若发现图书信息有误,管理员可选择更新维护该信息,或直接删除某一图书。
图书管理流程图如下图所示。

图5-7图书管理流程图
图书添加界面如下图所示。

图5-8图书添加界面
图书展示管理界面如下图所示。

图5-9图书展示管理界面
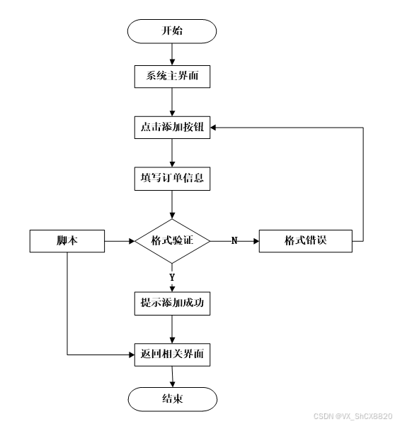
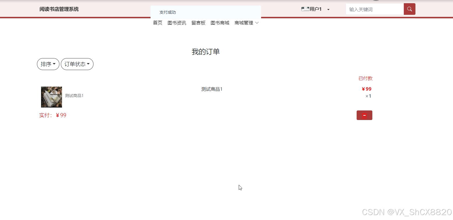
在SSM阅读书店管理系统中,用户在提交订单后,可以方便地对自己的订单进行管理。用户可以查看已提交的订单,包括订单详情、付款状态和配送信息等,并进行相应操作如取消订单或申请退款。
管理员登录系统后,点击"订单列表"可以查看到所有用户购买的图书订单。管理员可以对这些订单进行管理,包括确认订单、发货处理、退款处理等操作。管理员还可以查看订单详细信息,以便提供客户服务和解决订单相关问题。图书订单流程图如下图所示。

图5-10图书订单流程图
图书订单界面如下图所示。

图5-11图书订单界面
订单管理界面如下图所示。

图5-12订单管理界面
对任何系统而言,测试都是必不可少的环节,测试可以发现系统存在的很多问题,所有的软件上线之前,都应该进行充足的测试之后才能保证上线后不会Bug频发,或者是功能不满足需求等问题的发生。下面分别从单元测试,功能测试和用例测试来对系统进行测试以保证系统的稳定性和可靠性。
下表是系统登录功能测试用例,检测了用户名和密码的不同的输入情况,观察系统的响应情况。得出该功能达到了设计目标。
表6-1 系统登录功能测试用例
| 功能描述 | 用于系统登录 | |
| 测试目的 | 检测登录时的合法性检查 | |
| 测试数据以及操作 | 预期结果 | 实际结果 |
| 输入的用户名和密码带有非法字符 | 提示用户名或者密码错误 | 与预期结果一致 |
| 输入的用户名或者密码为空 | 提示用户名或者密码错误 | 与预期结果一致 |
| 输入的用户名和密码不存在 | 提示用户名或者密码错误 | 与预期结果一致 |
| 输入正确的用户名和密码 | 登录成功 | 与预期结果一致 |
下表是注册功能测试用例,检测了各种数据的输入情况,观察系统的响应情况。得出该功能达到了设计目标。
表6-2 注册功能测试用例
| 功能描述 | 用于用户注册 | |
| 测试目的 | 检测用户注册时的合法性检查 | |
| 测试数据以及操作 | 预期结果 | 实际结果 |
| 输入的手机号不合法 | 提示请输入正确的手机号码 | 与预期结果一致 |
| 输入的字段为空 | 提示必填项不能为空 | 与预期结果一致 |
| 输入的密码少于6位 | 提示密码必须为6-12位 | 与预期结果一致 |
| 输入的密码大于12位 | 提示密码必须为6-12位 | 与预期结果一致 |
下表是图书管理功能的测试用例,检测了图书管理中对图书信息的增加,删除,修改,查询操作是否成功运行。观察系统的响应情况,得出该功能也达到了设计目标,系统运行正确。
前置条件;用户登录系统。
表6-3 图书管理的测试用例
| 功能描述 | 用于图书管理 | |
| 测试目的 | 检测图书管理时的各种操作的运行情况 | |
| 测试数据以及操作 | 预期结果 | 实际结果 |
| 点击添加图书,必填项合法输入,点击保存 | 提示添加成功 | 与预期结果一致 |
| 点击添加图书,必填项输入不合法,点击保存 | 提示必填项不能为空 | 与预期结果一致 |
| 点击修改图书,必填项修改为空,点击保存 | 提示必填项不能为空 | 与预期结果一致 |
| 点击修改图书,必填项输入不合法,点击保存 | 提示必填项不能为空 | 与预期结果一致 |
| 点击删除图书,选择图书删除 | 提示删除成功 | 与预期结果一致 |
| 点击搜索图书,输入存在的图书名 | 查找出图书 | 与预期结果一致 |
| 点击搜索图书,输入不存在的图书名 | 不显示图书 | 与预期结果一致 |
下表是图书信息管理功能的测试用例,检测了图书信息管理中对图书信息信息的增加,删除,修改,查询操作是否成功运行。观察系统的响应情况,得出该功能也达到了设计目标,系统运行正确。
前置条件;用户登录系统。
表6-4 订单信息管理的测试用例
| 功能描述 | 用于订单信息管理 | |
| 测试目的 | 检测订单信息管理时的各种操作的运行情况 | |
| 测试数据以及操作 | 预期结果 | 实际结果 |
| 点击添加订单信息,必填项合法输入,点击保存 | 提示添加成功 | 与预期结果一致 |
| 点击添加订单信息,必填项输入不合法,点击保存 | 提示必填项不能为空 | 与预期结果一致 |
| 点击修改订单信息,必填项修改为空,点击保存 | 提示必填项不能为空 | 与预期结果一致 |
| 点击修改订单信息,必填项输入不合法,点击保存 | 提示必填项不能为空 | 与预期结果一致 |
| 点击删除订单信息,选择订单信息删除 | 提示删除成功 | 与预期结果一致 |
| 点击搜索订单信息,输入存在的订单信息名 | 查找出订单信息 | 与预期结果一致 |
| 点击搜索订单信息,输入不存在的订单信息名 | 不显示订单信息 | 与预期结果一致 |
下表是订单配送管理功能的测试用例,检测了订单管理中订单配送的操作是否成功运行。观察系统的响应情况,得出该功能也达到了设计目标,系统运行正确。
前置条件;用户登录系统。
表6-5 订单配送管理的测试用例
| 功能描述 | 用于订单配送管理 | |
| 测试目的 | 检测订单配送管理时各种操作的情况 | |
| 测试数据以及操作 | 预期结果 | 实际结果 |
| 未选择订单,点击提交 | 提示请选择订单 | 与预期结果一致 |
| 未输入配送单号,点击提交 | 提示请输入配送单号 | 与预期结果一致 |
| 未输入收货地址,点击提交 | 提示请输入收货地址 | 与预期结果一致 |
性能测试是评估SSM阅读书店管理系统在不同负载条件下的性能表现和稳定性的过程。通过确定测试目标、设计测试场景、配置测试环境,执行性能测试并进行分析和优化,可以找出系统的性能瓶颈和问题,并采取相应的优化措施。反复测试和验证后,生成性能测试报告,总结关键指标、发现的问题和优化建议。这些步骤有助于全面评估系统的性能,并提升系统的性能和稳定性,以满足用户需求和提供良好的用户体验。
随着计算机互联网技术的快速发展,各行各业都开始使用计算机相关技术来管理不断增长的数据。本论文的课题是基于这一趋势,以阅读书店管理系统为核心进行研究和开发。
阅读书店管理系统的开发基于Java编程语言,在Myeclipse平台上完成编码工作,采用B/S架构,数据库系统使用Mysql。论文详细分析了阅读书店管理系统的研究背景、研究目的和意义、开发工具和相关技术,以及系统需求、系统详细设计和系统测试等方面的内容。系统实现了阅读书店管理系统所需的基本功能,并通过测试对这些功能进行了完善,提高了系统的实用性。在开发过程中,运用了大量的Java知识以及前端开发所需的HTML和JavaScript等技术,并涉及了多个开源框架和组件,例如后台系统中使用的MVVM架构和Freemarker模板引擎,以及前端使用的UI框架等。
在系统投入运行后,各功能均正常运行。系统的界面操作符合常规逻辑,易于使用且界面友好。整个系统的功能设计合理,考虑到了用户的需求,体现了人性化的设计。
然而,由于自己在系统开发过程中对一些相关知识和技术的掌握不够扎实,加上缺乏充足的开发经验,因此系统在某些方面的功能还不够完善,也没有考虑到所有的细节。因此,整个系统仍需逐步完善和改进。
参考文献
[1]Jarvis Tamika,Mah Allison M L,Wang Rosalie H,Wilson Michael G. Web-Based System Navigation Database to Support Equitable Access to Assistive Technology: Usability Testing Study.[J]. JMIR formative research,2022,6(11).
[2]刘冰,贾子彦,孙华林. 基于Vue.js的高校档案管理系统[J]. 软件,2022,43(09):70-73.
[3]陈小燕,朱映辉,余晓春. 基于ssm+Vue的好农物商城的设计与实现[J]. 电脑知识与技术,2022,18(22):37-39.
[4]任建新,王一鸣,李鑫,刘曜嘉,孙岩琦. 基于Java Web的智慧商城购物系统设计[J]. 信息技术与信息化,2022,(07):23-27.
[5]朱琨日. 高性能智能商城系统架构设计与实现[D].桂林电子科技大学,2022.
[6]贾黎,刘忠超,李英玲. 基于ssm+Vue新冠疫苗接种全过程管理系统[J]. 西南民族大学学报(自然科学版),2022,48(02):181-189.
[7]田松涛,段元梅. 基于ssm的线上商城平台设计[J]. 无线互联科技,2022,19(01):56-57.
[8]蒋晟,陈科. 基于ssm的学生宿舍管理系统的设计与实现[J]. 现代信息科技,2021,5(12):6-9.
[9]Fuyuan Cheng. Talent Recruitment Management System for Small and Micro Enterprises Based on ssm Framework[J]. Advances in Educational Technology and Psychology,2021,5(2).
[10]李唯. 基于ssm的作业管理系统设计与开发[J]. 电脑编程技巧与维护,2020,(12):73-74.
[11]Jian Chen,Chen Jian,Pan Hailan. Design of Man Hour Management Information System on ssm Framework[J]. Journal of Physics: Conference Series,2020,1646(1).
[12]邱丹萍. 应用ssm的食堂订餐管理系统设计[J]. 福建电脑,2020,36(06):115-117.
[13]杨锦山,王辉. 基于ssm的项目信息管理系统的设计与实现[J]. 电子技术与软件工程,2020,(09):38-39.
[14]石冠洲. 基于Vue的Web系统前端性能优化研究与应用[D].长安大学,2020.
[15]李英. 基于B/S架构的母婴商城设计与实现[J]. 计算机产品与流通,2019,(11):142.
[16]叶方超,张思扬,李传锴. 基于ssm的旧物回收商城的设计与实现[J]. 智能计算机与应用,2019,9(05):84-86.
[17]王予诺. 基于Web的C2C农业电子商城的设计与实现[J]. 信息与电脑(理论版),2019,(12):89-90.
[18]王强,张虎,宋冰严,刘星星,程龙飞. 基于Java Web的网上医药商城的设计与实现[J]. 无线互联科技,2019,16(10):28-29+32.
[19]潘昊. 平价商店线上综合服务平台的设计与实现[D].扬州大学,2018.
[20]Wu Hongyan. Construction of Online Teaching System Based on ssm Framework for Normal University Students’ Informatization Teaching Ability Training[P]. 2022 2nd International Conference on Education, Information Management and Service Science (EIMSS 2022),2022..
致谢
本次设计历时3个月,期间得到了指导教师的指导,使整个过程基本顺利进行。指导老师在毕业设计和论文写作中都给予了我很大的帮助。他的认真负责、谨慎的教学精神和高水平的理论素养让我受益匪浅。他勤恳谨慎的工作态度和教学方法也给我留下了深刻的印象。我从老师那里学到了很多东西,我的技能在理论和实践中得到了极大的提高。在此,我向教师表示由衷的感激。
经过对毕业设计的研究和开发,我的系统研发经历了从需求分析到实现详细功能,再到最终测试和维护的完整过程。这让我对系统研发有了更深层次的认识。我的动手能力和解决问题的能力也得到了大幅提升,这是我这次毕业设计最宝贵的收获。
最后,在整个系统开发过程中,我还得到了周围同学和朋友们的意见和建议,使我能够快速确定系统的商业思路。因此,我要由衷地感谢他们。
免费领取项目源码,请关注❥点赞收藏并私信博主,谢谢~
1184

被折叠的 条评论
为什么被折叠?



