摘 要
当前就业市场竞争激烈,高校毕业生面临着就业难的问题,同时企业也面临招聘难、选人难的挑战。为了更好地对接高校毕业生和企业之间的需求,为毕业生提供个性化的就业求着信息,开发一套充分利用Django和Python技术实现的毕业生就业推荐系统是非常必要的。
本研究旨在探讨运用Python编程语言,采取django开源模型,结合MySQL数据库作为后台数据的主要存储单元进行开发,实现了毕业生就业数据的抓取、存储、分析生成直观的数据分析图表,以便为毕业生提供精准、合适的就业信息推荐,基于MVC 架构提供使用界面,通过网络结构模式 B/S,借助WEB浏览器,为用户提供了一个友好、便捷、安全、高效的高校毕业生就业推荐平台,实现用户注册、登录、首页(信息推荐)、通知公告、就业资讯、职位信息、个人简历、我的账户、个人中心(投递记录、面试信息、录用通知、个人简历、收藏)等功能,基本实现了整个高校毕业生就业流程。
关键词:高校毕业生就业推荐系统;django;Python;MySQL
Abstract
The current job market competition is fierce, and college graduates are facing difficulties in finding employment. At the same time, enterprises are also facing challenges in recruitment and talent selection. It is necessary to develop a graduate employment recommendation system that fully utilizes Django and Python technology in order to better meet the needs of college graduates and enterprises, and provide personalized employment seeking information for graduates.
This study aims to explore the use of Python programming language, the open source model of django, and the development of MySQL database as the main storage unit for backend data. It realizes the capture, storage, and analysis of graduate employment data to generate intuitive data analysis charts, in order to provide accurate and suitable employment information recommendations for graduates. Based on the MVC architecture, a user interface is provided, and a friendly, convenient, secure, and efficient employment recommendation platform for college graduates is provided through the network structure mode of B/S, with the help of a WEB browser. It realizes user registration, login, homepage (information recommendation), notification announcement, employment information, job information, personal resume, my account, and personal center (delivery records, interview information, employment notice). functions such as resume, bookmarking, etc, The entire employment process for college graduates has been basically realized.
Keywords: employment recommendation system for college graduates; Django; Python; MySQL
目 录
当前社会高校毕业生就业面临着多重挑战,包括市场竞争激烈、人才供需不平衡、信息不对称、竞争激烈、就业困难等问题。传统的招聘方式往往存在着效率低下、匹配不精准、沟通不畅等困难,导致了招聘双方的资源浪费和效果不佳。同时,随着人才市场需求的快速变化,传统的招聘模式已经无法满足企业对不同层次、不同专业的人才需求,需要更加灵活、智能的招聘服务来更好地满足企业的用人需求。为了更好地对接高校毕业生和企业之间的需求,为毕业生提供个性化的就业求着信息,开发一套充分利用Django和Python技术实现的毕业生就业推荐系统是非常必要的。通过构建智能化的高校毕业生就业服务系统,有助于提升招聘效率和质量,促进高校毕业生与企业之间更加精准、高效的匹配,有利于促进人才流动,推动社会经济的发展。
本研究旨在探讨运用Python编程语言,采取django开源模型,结合MySQL数据库作为后台数据的主要存储单元进行开发,实现了毕业生就业数据的抓取、存储、分析生成直观的数据分析图表,以便为毕业生提供精准、合适的就业信息推荐,基于MVC 架构提供使用界面,通过网络结构模式 B/S,借助WEB浏览器,为用户提供了一个友好、便捷、安全、高效的高校毕业生就业推荐平台,实现用户注册、登录、首页(信息推荐)、通知公告、就业资讯、职位信息、个人简历、我的账户、个人中心(投递记录、面试信息、录用通知、个人简历、收藏)等功能,基本实现了整个高校毕业生就业流程。
当前国内外针对高校毕业生就业服务系统的研究主要集中在以下几个方面:
数据驱动的招聘平台:许多研究致力于利用大数据、人工智能等技术构建智能化的招聘平台,通过数据分析和算法匹配,提高招聘效率和准确性。
职业素养提升:研究关注如何通过培训和指导提升高校毕业生的求职技能和职业素养,增强其就业竞争力。
招聘需求预测:借助数据分析和预测算法,研究机构和企业可以更好地预测人才需求,从而有针对性地开展招聘活动。
人才匹配算法:研究人员探索不同的人才匹配算法,以实现高效且精准的高校毕业生与企业之间的匹配,提高双方满意度。
国外的相关研究主要聚焦在高校与企业合作模式、技术驱动的创新招聘平台等方面;国内则着重于数据驱动、人才培训、人才匹配等方面的研究。未来,随着科技的发展和社会需求的变化,国内外对高校毕业生就业服务系统的研究将更加注重技术创新、个性化服务和人才培养的结合,以更好地适应人才市场的需要。
第一章是绪论,本文章的开头部分,对本题目的研究背景、意义、现状、内容等一些做文字性的描述。
第二章研究了高校毕业生就业推荐系统的所采用的开发技术和开发工具。
第三章是系统分析部分,包括系统总体需求描述、功能性角度分析系统需求、非功能性等各个方面分析系统是否可以实现。
第四章是系统设计部分,本文章的重要部分,提供了系统架构的详细设计和一些主要功能模块的设计说明。
第五章是系统的具体实现,介绍系统的各个模块的具体实现。
第六章在前几章的基础上对系统进行测试和运行。
最后对系统进行了认真的总结,以此对未来有一个新的展望。
Python是一种既使用简单又功能强大的高级动态编程语言,同时支持面向过程的编程和面向对象的编程 ,被广泛应用于软件开发、数据科学、人工智能等领域。它具有简洁易读的语法结构、丰富的标准库和强大的第三方库支持,使得开发效率极高。Python支持面向对象、函数式和过程式编程范式,同时也拥有各种用于快速开发和调试的工具。此外,Python还有一个庞大的社区,为开发者提供了丰富的资源和支持。因此,Python被认为是一种适合初学者和专业开发者的通用编程语言。Python 具有是简单易学,功能强大的特点它有高效率的高层数据结构,简单而有效地实现面向对象编程。与现在流行的编程语言Java、C、C++等相比,完成同样的功能,Python编写的代码更短,开发的效率更高。
爬虫,即网络爬虫,是通过递归访问网络资源,抓取网络中信息的技术。网络为搜索引擎从万维网下载网页。一般分为传统爬虫和聚焦爬虫。传统爬虫从一个或若干初始网页的URL开始,获得初始网页上的URL,在抓取网页的过程中,不断从当前页面上抽取新的URL放入队列,直到满足系统的一定停止条件。通俗的讲,也就是通过源码解析来获得想要的内容。聚焦爬虫的工作流程较为复杂,需要根据一定的网页分析算法过滤与主题无关的链接,保留有用的链接并将其放入等待抓取的URL队列。然后,它将根据一定的搜索策略从队列中选择下一步要抓取的网页URL,并重复上述过程,直到达到系统的某一条件时停止。另外,所有被爬虫抓取的网页将会被系统存贮,进行一定的分析、过滤,并建立索引,以便之后的查询和检索;对于聚焦爬虫来说,这一过程所得到的分析结果还可能对以后的抓取过程给出反馈和指导。
爬虫程序是一个自动获取网页的程序。它为搜索引擎从互联网上下载网页,是搜索引擎的重要组成部分。爬虫程序的实现策略,运行效率直接影响搜索引擎的搜索结果。不同的搜索引擎,会根据对搜索结果的不同需求,选择最合适的爬行策略来搜集互联网上的信息。高效,优秀的爬虫程序可以使人们在互联网上寻找到更及时,更准确的信息。
实现网络爬虫的重点和难点有多线程的实现;对临界资源的分配;遍历web图的遍历策略选择和实现;存储数据结构的选择和实现。
django是高水准的Python编程语言驱动的一个开源模型视图,控制器风格的Web应用程序框架,它起源于开源社区。使用这种架构,程序员可以方便、快捷地创建高品质、易维护、数据库驱动的应用程序。这也正是OpenStack的Horizon组件采用这种架构进行设计的主要原因。另外,在django框架中,还包含许多功能强大的第三方插件,使得django具有较强的可扩展性。django 项目源自一个在线新闻 Web 站点,于 2005 年以开源的形式被释放出来。django框架的核心组件有:用于创建模型的对象关系映射;为最终用户设计较好的管理界面;URL 设计;设计者友好的模板语言;缓存系统。
MySQL 经过多次的更新,功能层面已经非常的丰富和完善了,从Mysql4版本到5版本进行了比较大的更新,在商业的实际使用中取得了很好的实际应用效果。最新版本的MySQLl支持对信息的压缩,同时还能进行加密能更好的满足对信息安全性的需求。同时经过系统的多次更新,数据库自身的镜像功能也得到了很大的增强,运行的流畅度和易用性方面有了不小的进步,驱动的使用和创建也更加的高效快捷。最大的变动还是进行了空间信息的显示优化,能更加方便的在应用地图上进行坐标的标注和运算。强大的备份功能也保证了用户使用的过程会更加安心,同时支持的Office特性还支持用户的自行安装和使用。在信息的显示形式上也进行了不小的更新,增加了两个非常使用的显示区,一个是信息区,对表格和文字进行了分类处理,界面的显示更加清爽和具体。第二是仪表的信息控件,能在仪表信息区进行信息的显示,同时还能进行多个信息的比对,为用户的实际使用带来了很大的便捷[7][8]。
数据库管理系统的总体结构图如下图所示。

图2-1 数据库组成结构
可行性分析的目的是确定一个系统是否有必要开发、确定系统是否能以最小的代价实现。接下来将分别是技术、经济、操作和社会等方面的可行性对高校毕业生就业推荐系统进行详细的分析和阐述。
该系统主要通过高水准的Python编程语言驱动的开源模型django,并采用MySQL数据库进行数据的储存和处理。使用简单又功能强大的高级动态Python编程语言和django架构,可以方便、快捷地创建高品质、易维护、数据库驱动的应用程序,实现动态的页面,嵌入低依赖性的设计模式,配合稳定的服务器,能够整个系统的运行效率大大提升。同时利用爬虫技术对就业信息进行爬取,为后期数据分析、生成图表、实现就业信息推荐做准备。此外,在校期间也接触过django、Python、MySQ的课程,对此有一定的开发经验,所以开发难度不高,因此,从技术上来说是可行的。
开发本高校毕业生就业推荐系统的技术都是可以从网上直接免费下载,不用花一分钱,而且系统的源代码都是自己进行设计开发的,不需要额外的成本,如果后期想要进行运营,只要把配置到服务器上,花费服务器的租赁费用,在使用中可以进行增加广告收益,因此在经济方面是可行的。
当下网络新时代,计算机已经得到了普及,多数人对计算机都比较的熟悉,知道如何使用它,当然也存在对计算机比较陌生的这一群体,也需要对其进行考虑。在进行高校毕业生就业推荐系统页面的设计的时候,考虑到使用人群,可能也存在对计算机比较陌生的人,所以,在页面的设计方面,设计的很是简单、简洁,布局明了,色调明朗,让无论是对计算机陌生还是对计算机熟悉的使用者,都可以使用自如,这也说明了该程序的操作方面也是非常可行。
在系统开发设计前,应该对功能做初步设想,清楚这个管理系统有什么板块,每个板块有什么功能,整体的设计是否满足使用者的需求,接着对所开发的系统功能进行的详细分析总结,从而设计出完整的系统并将其实现。用户和开发人员的交流分析,使其达到最佳理解程度,使系统功能达到最佳。
根据使用该系统的用户角色可以划分为毕业生用户、企业用户和管理员,具体如下所示。
高校毕业生就业推荐系统毕业生用户角色用例图如下所示。

图3-1 毕业生用户角色用例图
高校毕业生就业推荐系统毕业生用户角色用例图如下所示。

图3-2 毕业生用户角色用例图
高校毕业生就业推荐系统管理员角色用例图如下所示。

图3-3 管理员角色用例图
根据系统需求调研分析,并结合系统总体的功能要求,从用户角度分析可以分为毕业生用户模块和管理员模块,以上模块又可细分为总体不同的功能模块。具体功能模块说明如下所示:
- 毕业生用户模块:
- 注册登录:毕业生可以通过注册成为系统用户,使用账号密码可进行登录,使用系统功能。
- 首页:毕业生用户可查看轮播图、通知公告、就业资讯、职位信息推荐(根据用户点击最多分类,优先推荐同类型职位),并可使用系统其他功能。
- 通知公告:毕业生用户可查看包括关于我们、联系方式、网站介绍等管理员发布的所有通知公告信息详情。
- 就业资讯:毕业生用户可查看管理员发布的所有就业资讯信息详情,支持局部、筛选、排序搜索,同时支持热门文章推荐,进行点赞、收藏和评论。
- 职位信息:毕业生用户可查看发布的所有职位信息详情,支持企业名称、职位名称、职位类型、排序搜索,可进行点赞、收藏和评论,并可点击投递简历操作。
- 个人简历:毕业生用户可添加个人简历信息,填写并提交个人简历信息。
- 我的账户:毕业生用户可对个人资料进行管理,包括修改密码和修改资料。
- 个人中心:毕业生用户可对个人首页、投递记录、面试信息、录用通知、个人简历、收藏等信息进行管控和查阅信息详情。
- 毕业生用户模块:
- 注册登录:企业可以通过注册成为系统用户,注册成功后,可使用账号密码可登录系统后台,使用系统功能,并对个人信息和密码进行管理。
- 职位信息管理:企业用户可查看自己的职位信息详情,进行增改删查操作,支持企业名称、职位名称、职位类型搜索,并可查看评论信息。
- 职位类型管理:企业用户可查看自己的职位类型信息详情,进行增改删查操作,支持职位类型搜索。
- 投递记录管理:企业用户可查看自己的投递记录信息详情,进行查询操作,支持企业名称、职位名称、毕业生姓名搜索,并可点击面试邀请操作。
- 面试信息管理:企业用户可查看自己的面试信息详情,进行查询操作,支持企业名称、职位名称、毕业生姓名搜索,并可点击录用通知操作。
- 录用通知管理:企业用户可查看自己的录用通知信息详情,进行查询操作,支持企业名称、职位名称、毕业生姓名搜索。
- 管理员模块
- 登录:管理员账号密码由系统生成,可使用账号密码可登录系统后台,使用系统功能,并对个人信息和密码进行管理。
- 后台首页:管理员可查看职位信息、数据信息、学历分析、城市分析等统计信息数据分析图表。
- 系统用户:管理员可对毕业生用户、企业用户和管理员等系统用户信息进行管控和查看其信息详情,进行增改删查操作。
- 职位信息管理:管理员可查看所有职位信息详情,进行增改删查操作,支持企业名称、职位名称、职位类型搜索,并可查看评论信息。
- 职位类型管理:管理员可查看所有职位类型信息详情,进行增改删查操作,支持职位类型搜索。
- 投递记录管理:管理员可查看所有投递记录信息详情,进行查询和删除操作,支持企业名称、职位名称、毕业生姓名搜索,并可点击面试邀请操作。
- 面试信息管理:管理员可查看所有面试信息详情,进行查询和删除操作,支持企业名称、职位名称、毕业生姓名搜索,并可点击录用通知操作。
- 录用通知管理:管理员可查看所有录用通知信息详情,进行查询和删除操作,支持企业名称、职位名称、毕业生姓名搜索。
- 个人简历管理:管理员可查看所有个人简历信息详情,进行增改删查操作,支持简历名称搜索。
- 数据信息管理:管理员可查看所有数据信息详情,进行查询和删除操作,支持公司名称、行业名称、职位名称搜索,可点击爬取操作,爬取就业信息,并可点击学历分析、城市分析操作,根据数据信息管理的信息在后台首页生成数据分析图表。
- 学历分析管理:管理员可查看所有学历分析信息详情,进行查询和删除操作,支持公司名称、行业名称、职位名称搜索。
- 城市分析管理:管理员可查看所有城市分析详情,进行查询和删除操作,支持公司名称、行业名称、职位名称搜索。
- 系统管理:管理员可对首页的轮播图进行管理和查看其信息详情,进行增删改查操作,支持标题搜索。
- 通知公告管理:管理员可对通知公告进行管理理和查看其信息详情,进行增删改查操作,支持标题搜索。
- 资源管理:管理员可对就业资讯和资讯分类进行管理理和查看其信息详情,进行增删改查操作;其中就业资讯支持标题、标签、分类搜索,可查看其查看评论信息;资讯分类支持类型名称搜索。
系统非功能需求有非常多,比如性能需求、可承载最大用户数、稳定性、易用性需求等。本系统分析时考虑到易用性需求,因为系统是给人使用的,所以必须充分从用户的角度出发,考虑用户体验,使系统易理解易上手易操作。本高校毕业生就业推荐系统的非功能需求具体如下:
稳定性:高校毕业生就业推荐系统应具备良好的性能,能够快速响应用户请求和处理大量并发操作。系统需要进行性能测试和优化,确保在高负载和高并发情况下仍能保持稳定和高效的运行。
可靠性:高校毕业生就业推荐系统应具备高度可靠性,能够持续稳定地运行,并且能够自动恢复故障或异常状态。系统需要进行容错处理、错误处理和异常处理,以确保数据的完整性和可用性。
安全性:高校毕业生就业推荐系统应具备良好的安全性,保护用户个人信息和敏感数据的安全。系统需要采用合适的身份验证和授权机制,以及加密技术来保护数据的传输和存储安全。同时,要注意防范常见的安全攻击,如跨站脚本(XSS)、跨站请求伪造(CSRF)等。
可扩展性:高校毕业生就业推荐系统应具备良好的可扩展性,能够根据业务需求进行灵活的扩展和变更。系统架构和设计应考虑到未来的业务扩展,采用模块化和可插拔的方式,方便新增功能和模块的集成。
可维护性:高校毕业生就业推荐系统应具备良好的可维护性,使得开发团队能够快速定位问题并进行修复、更新。代码结构清晰、注释明确,并遵循一致的编码规范。此外,系统应提供适当的日志记录和监控机制,以便及时发现和解决潜在的问题。
用户体验:高校毕业生就业推荐系统应提供良好的用户体验,保证界面简洁直观、操作流畅。系统的响应时间应尽量缩短,页面加载速度要快,交互过程要流畅,以提升用户满意度和使用体验。
可移植性:高校毕业生就业推荐系统应具备良好的可移植性,能够在不同的操作系统和硬件环境中运行。Springboot+jsp的跨平台特性和自包含的部署方式,有助于系统的移植和部署。
毕设互助开发时,首先进行需求分析,进而对系统进行总体的设计规划,设计系统功能模块,数据库的选择等,本系统的开发流程如下图所示

图3-3系统开发流程图
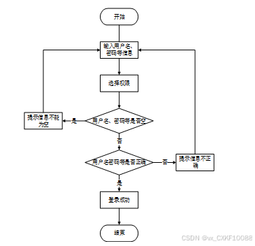
用户打开并进入系统后,会先显示登录界面,输入正确的用户名和密码,系统自动检测信息,若信息无误,则用户会进入系统功能界面,进行操作,否则会提示错误无法登录,操作流程如下图所示。

图3-4 系统操作流程图
为了保证系统的安全性,要使用本系统对系统信息进行管理,必须先登陆到系统中。登录流程如下图所示。

图3-5 登录流程图
管理员可以对信息的添加,用户也可以对自己权限内的信息进行添加,输入信息后,系统会自行验证输入的信息和数据,若信息正确,会将其添加到数据库内,若信息有误,则会提示重新输入信息,添加信息流程如下图所示。

图3-6 添加信息流程图
管理员可以对信息等进行修改,用户也可以对自己权限内的信息进行修改,首先进入修改信息界面,输入修改信息数据,系统进行数据的判断验证,修改信息合法则修改成功,信息更新至数据库,信息不合法则修改失败,重新输入。修改信息流程图如下图所示。

图3-7 修改信息流程图
管理员可以对信息等进行信息的删除,对要删除的信息进行选中后,点击删除按钮,系统会询问是否确定,若点击确定,则系统会删除掉选中的信息,并在数据库内对信息进行删除,删除信息流程图如下图所示。

图3-8 删除信息流程图
目前B/S体系的系统主要的数据访问方式是:通过浏览器页面用户可以进入系统,系统可以自动对用户向服务器发送的请求进行处理,处理请求是在系统后台中进行的,用户在浏览器页面上进行相应操作,就能够看到服务端传递的处理结果。高校毕业生就业推荐系统主要分为视图-模型-控制三层架构设计。在视图层中,主要是操作在服务器端向客户端反馈并显示的数据,在模型层中,主要处理相关的业务逻辑、数据整合等,最后的控制层它介于视图和模型之间,主要是调整两层之间的关系,最终落实数据的传递。
系统架构图如下图所示。

图4-1系统架构图
系统设计的目的是分析系统包括的所有功能结构,为开发人员设计开发和实现系统做好准备工作。经过前期的需求调查、分析和整理之后,确定的总体需求主要包括多个模块,分别是注册登录、系统用户、职位信息管理、职位类型管理、投递记录管理、面试信息管理、录用通知管理、个人简历管理、数据信息管理、学历分析管理、城市分析管理、系统管理、通知公告管理、资源管理等。系统整体角色分为三大模块,一是毕业生用户、二是企业用户、三是管理员。权限分布也是很明显,管理员是最高权限拥有者。
系统功能结构图如下图所示。

图4-2系统功能结构图
(1)出错信息类型
出错信息类型包括:
A 未输入必填项;
B 应输入合法字符或数字却输入非法字符或数字;
C 对空数据表进行更改或删除操作;
D 向要求唯一值的关键字段添加重复值。
(2)出错处理对策
对于错误A,系统要求用户输入非空值。
对于错误B,系统要求用户输入合法字符。
对于错误C,系统提示数据表无记录可更改或删除。
对于错误D,系统要求用户输入非重复值。
高校毕业生就业推荐系统是个现代化的高度集成的综合信息系统,系统主要服务对象为用户,最大化在页面中提供多的信息,因此在系统维护上,数据量较大,整体的维护设计如下:
(1)代码的维护:部署在云服务器上或本地服务器,通过SVN或FTP保持版本更新迭代。
(2)功能增加:功能升级在必要的前提下。
(3)数据维护:根据安全性等需求,定期对数据库进行人工备份。
数据库设计一般包括需求分析、概念模型设计、数据库表建立三大过程,其中需求分析前面章节已经阐述,概念模型设计有概念模型和逻辑结构设计两部分。对高校毕业生就业推荐系统进行数据分析,根据前面的数据流程图,结合系统的功能模块设计,设计出符合系统的各信息实体。
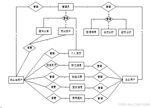
高校毕业生就业推荐系统总体E-R图如下图所示。

图4-7系统总体E-R图
数据库逻辑结构就是将E-R图在数据库中用具体的字段进行描述。用字段和数据类型描述来使对象特征实体化,最后形成具有一定逻辑关系的数据库表结构。高校毕业生就业推荐系统所需要的部分数据结构表如下表所示。
表access_token (登陆访问时长)
| 编号 | 名称 | 数据类型 | 长度 | 小数位 | 允许空值 | 主键 | 默认值 | 说明 |
| 1 | token_id | int | 10 | 0 | N | Y | 临时访问牌ID | |
| 2 | token | varchar | 64 | 0 | Y | N | 临时访问牌 | |
| 3 | info | text | 65535 | 0 | Y | N | ||
| 4 | maxage | int | 10 | 0 | N | N | 2 | 最大寿命:默认2小时 |
| 5 | create_time | timestamp | 19 | 0 | N | N | CURRENT_TIMESTAMP | 创建时间: |
| 6 | update_time | timestamp | 19 | 0 | N | N | CURRENT_TIMESTAMP | 更新时间: |
| 7 | user_id | int | 10 | 0 | N | N | 0 | 用户编号: |
| 编号 | 名称 | 数据类型 | 长度 | 小数位 | 允许空值 | 主键 | 默认值 | 说明 |
| 1 | article_id | mediumint | 8 | 0 | N | Y | 文章id:[0,8388607] | |
| 2 | title | varchar | 125 | 0 | N | Y | 标题:[0,125]用于文章和html的title标签中 | |
| 3 | type | varchar | 64 | 0 | N | N | 0 | 文章分类:[0,1000]用来搜索指定类型的文章 |
| 4 | hits | int | 10 | 0 | N | N | 0 | 点击数:[0,1000000000]访问这篇文章的人次 |
| 5 | praise_len | int | 10 | 0 | N | N | 0 | 点赞数 |
| 6 | create_time | timestamp | 19 | 0 | N | N | CURRENT_TIMESTAMP | 创建时间: |
| 7 | update_time | timestamp | 19 | 0 | N | N | CURRENT_TIMESTAMP | 更新时间: |
| 8 | source | varchar | 255 | 0 | Y | N | 来源:[0,255]文章的出处 | |
| 9 | url | varchar | 255 | 0 | Y | N | 来源地址:[0,255]用于跳转到发布该文章的网站 | |
| 10 | tag | varchar | 255 | 0 | Y | N | 标签:[0,255]用于标注文章所属相关内容,多个标签用空格隔开 | |
| 11 | content | longtext | 2147483647 | 0 | Y | N | 正文:文章的主体内容 | |
| 12 | img | varchar | 255 | 0 | Y | N | 封面图 | |
| 13 | description | text | 65535 | 0 | Y | N | 文章描述 |
| 编号 | 名称 | 数据类型 | 长度 | 小数位 | 允许空值 | 主键 | 默认值 | 说明 |
| 1 | type_id | smallint | 5 | 0 | N | Y | 分类ID:[0,10000] | |
| 2 | display | smallint | 5 | 0 | N | N | 100 | 显示顺序:[0,1000]决定分类显示的先后顺序 |
| 3 | name | varchar | 16 | 0 | N | N | 分类名称:[2,16] | |
| 4 | father_id | smallint | 5 | 0 | N | N | 0 | 上级分类ID:[0,32767] |
| 5 | description | varchar | 255 | 0 | Y | N | 描述:[0,255]描述该分类的作用 | |
| 6 | icon | text | 65535 | 0 | Y | N | 分类图标: | |
| 7 | url | varchar | 255 | 0 | Y | N | 外链地址:[0,255]如果该分类是跳转到其他网站的情况下,就在该URL上设置 | |
| 8 | create_time | timestamp | 19 | 0 | N | N | CURRENT_TIMESTAMP | 创建时间: |
| 9 | update_time | timestamp | 19 | 0 | N | N | CURRENT_TIMESTAMP | 更新时间: |
| 编号 | 名称 | 数据类型 | 长度 | 小数位 | 允许空值 | 主键 | 默认值 | 说明 |
| 1 | auth_id | int | 10 | 0 | N | Y | 授权ID: | |
| 2 | user_group | varchar | 64 | 0 | Y | N | 用户组: | |
| 3 | mod_name | varchar | 64 | 0 | Y | N | 模块名: | |
| 4 | table_name | varchar | 64 | 0 | Y | N | 表名: | |
| 5 | page_title | varchar | 255 | 0 | Y | N | 页面标题: | |
| 6 | path | varchar | 255 | 0 | Y | N | 路由路径: | |
| 7 | position | varchar | 32 | 0 | Y | N | 位置: | |
| 8 | mode | varchar | 32 | 0 | N | N | _blank | 跳转方式: |
| 9 | add | tinyint | 3 | 0 | N | N | 1 | 是否可增加: |
| 10 | del | tinyint | 3 | 0 | N | N | 1 | 是否可删除: |
| 11 | set | tinyint | 3 | 0 | N | N | 1 | 是否可修改: |
| 12 | get | tinyint | 3 | 0 | N | N | 1 | 是否可查看: |
| 13 | field_add | text | 65535 | 0 | Y | N | 添加字段: | |
| 14 | field_set | text | 65535 | 0 | Y | N | 修改字段: | |
| 15 | field_get | text | 65535 | 0 | Y | N | 查询字段: | |
| 16 | table_nav_name | varchar | 500 | 0 | Y | N | 跨表导航名称: | |
| 17 | table_nav | varchar | 500 | 0 | Y | N | 跨表导航: | |
| 18 | option | text | 65535 | 0 | Y | N | 配置: | |
| 19 | create_time | timestamp | 19 | 0 | N | N | CURRENT_TIMESTAMP | 创建时间: |
| 20 | update_time | timestamp | 19 | 0 | N | N | CURRENT_TIMESTAMP | 更新时间: |
| 编号 | 名称 | 数据类型 | 长度 | 小数位 | 允许空值 | 主键 | 默认值 | 说明 |
| 1 | collect_id | int | 10 | 0 | N | Y | 收藏ID: | |
| 2 | user_id | int | 10 | 0 | N | N | 0 | 收藏人ID: |
| 3 | source_table | varchar | 255 | 0 | Y | N | 来源表: | |
| 4 | source_field | varchar | 255 | 0 | Y | N | 来源字段: | |
| 5 | source_id | int | 10 | 0 | N | N | 0 | 来源ID: |
| 6 | title | varchar | 255 | 0 | Y | N | 标题: | |
| 7 | img | varchar | 255 | 0 | Y | N | 封面: | |
| 8 | create_time | timestamp | 19 | 0 | N | N | CURRENT_TIMESTAMP | 创建时间: |
| 9 | update_time | timestamp | 19 | 0 | N | N | CURRENT_TIMESTAMP | 更新时间: |
| 编号 | 名称 | 数据类型 | 长度 | 小数位 | 允许空值 | 主键 | 默认值 | 说明 |
| 1 | comment_id | int | 10 | 0 | N | Y | 评论ID: | |
| 2 | user_id | int | 10 | 0 | N | N | 0 | 评论人ID: |
| 3 | reply_to_id | int | 10 | 0 | N | N | 0 | 回复评论ID:空为0 |
| 4 | content | longtext | 2147483647 | 0 | Y | N | 内容: | |
| 5 | nickname | varchar | 255 | 0 | Y | N | 昵称: | |
| 6 | avatar | varchar | 255 | 0 | Y | N | 头像地址:[0,255] | |
| 7 | create_time | timestamp | 19 | 0 | N | N | CURRENT_TIMESTAMP | 创建时间: |
| 8 | update_time | timestamp | 19 | 0 | N | N | CURRENT_TIMESTAMP | 更新时间: |
| 9 | source_table | varchar | 255 | 0 | Y | N | 来源表: | |
| 10 | source_field | varchar | 255 | 0 | Y | N | 来源字段: | |
| 11 | source_id | int | 10 | 0 | N | N | 0 | 来源ID: |
| 编号 | 名称 | 数据类型 | 长度 | 小数位 | 允许空值 | 主键 | 默认值 | 说明 |
| 1 | data_information_id | int | 10 | 0 | N | Y | 数据信息ID | |
| 2 | city_name | text | 65535 | 0 | Y | N | 城市名称 | |
| 3 | region_name | text | 65535 | 0 | Y | N | 区域名称 | |
| 4 | company_name | text | 65535 | 0 | Y | N | 公司名称 | |
| 5 | industry_name | text | 65535 | 0 | Y | N | 行业名称 | |
| 6 | position_name | text | 65535 | 0 | Y | N | 职位名称 | |
| 7 | salary_and_benefits | text | 65535 | 0 | Y | N | 薪资待遇 | |
| 8 | recruitment_requirements | text | 65535 | 0 | Y | N | 招聘要求 | |
| 9 | work_experience | text | 65535 | 0 | Y | N | 工作经验 | |
| 10 | education_required | text | 65535 | 0 | Y | N | 要求学历 | |
| 11 | company_address | text | 65535 | 0 | Y | N | 公司地址 | |
| 12 | create_time | datetime | 19 | 0 | N | N | CURRENT_TIMESTAMP | 创建时间 |
| 13 | update_time | timestamp | 19 | 0 | N | N | CURRENT_TIMESTAMP | 更新时间 |
| 编号 | 名称 | 数据类型 | 长度 | 小数位 | 允许空值 | 主键 | 默认值 | 说明 |
| 1 | delivery_records_id | int | 10 | 0 | N | Y | 投递记录ID | |
| 2 | enterprise_name | varchar | 64 | 0 | Y | N | 企业名称 | |
| 3 | enterprise_users | int | 10 | 0 | Y | N | 0 | 企业用户 |
| 4 | position_name | varchar | 64 | 0 | Y | N | 职位名称 | |
| 5 | position_type | varchar | 64 | 0 | Y | N | 职位类型 | |
| 6 | graduate_users | int | 10 | 0 | Y | N | 0 | 毕业生用户 |
| 7 | graduate_name | varchar | 64 | 0 | Y | N | 毕业生姓名 | |
| 8 | gender_of_graduates | varchar | 64 | 0 | Y | N | 毕业生性别 | |
| 9 | graduate_phone_number | varchar | 64 | 0 | Y | N | 毕业生电话 | |
| 10 | graduate_education | varchar | 64 | 0 | Y | N | 毕业生学历 | |
| 11 | graduates_major | varchar | 64 | 0 | Y | N | 毕业生专业 | |
| 12 | resume_attachment | varchar | 255 | 0 | Y | N | 简历附件 | |
| 13 | experience | text | 65535 | 0 | Y | N | 经历经验 | |
| 14 | educational_background | text | 65535 | 0 | Y | N | 教育背景 | |
| 15 | delivery_notes | text | 65535 | 0 | Y | N | 投递备注 | |
| 16 | resume_status | varchar | 64 | 0 | Y | N | 简历状态 | |
| 17 | resume_reply | text | 65535 | 0 | Y | N | 简历回复 | |
| 18 | create_time | datetime | 19 | 0 | N | N | CURRENT_TIMESTAMP | 创建时间 |
| 19 | update_time | timestamp | 19 | 0 | N | N | CURRENT_TIMESTAMP | 更新时间 |
| 编号 | 名称 | 数据类型 | 长度 | 小数位 | 允许空值 | 主键 | 默认值 | 说明 |
| 1 | educational_analysis_id | int | 10 | 0 | N | Y | 学历分析ID | |
| 2 | city_name | varchar | 64 | 0 | Y | N | 城市名称 | |
| 3 | region_name | varchar | 64 | 0 | Y | N | 区域名称 | |
| 4 | company_name | varchar | 64 | 0 | Y | N | 公司名称 | |
| 5 | industry_name | varchar | 64 | 0 | Y | N | 行业名称 | |
| 6 | position_name | varchar | 64 | 0 | Y | N | 职位名称 | |
| 7 | salary_and_benefits | varchar | 64 | 0 | Y | N | 薪资待遇 | |
| 8 | recruitment_requirements | varchar | 64 | 0 | Y | N | 招聘要求 | |
| 9 | work_experience | varchar | 64 | 0 | Y | N | 工作经验 | |
| 10 | education_required | varchar | 64 | 0 | Y | N | 要求学历 | |
| 11 | company_address | varchar | 64 | 0 | Y | N | 公司地址 | |
| 12 | data_quantity | varchar | 64 | 0 | Y | N | 数据数量 | |
| 13 | create_time | datetime | 19 | 0 | N | N | CURRENT_TIMESTAMP | 创建时间 |
| 14 | update_time | timestamp | 19 | 0 | N | N | CURRENT_TIMESTAMP | 更新时间 |
| 编号 | 名称 | 数据类型 | 长度 | 小数位 | 允许空值 | 主键 | 默认值 | 说明 |
| 1 | employment_notice_id | int | 10 | 0 | N | Y | 录用通知ID | |
| 2 | enterprise_name | varchar | 64 | 0 | Y | N | 企业名称 | |
| 3 | enterprise_users | int | 10 | 0 | Y | N | 0 | 企业用户 |
| 4 | position_name | varchar | 64 | 0 | Y | N | 职位名称 | |
| 5 | position_type | varchar | 64 | 0 | Y | N | 职位类型 | |
| 6 | graduate_users | int | 10 | 0 | Y | N | 0 | 毕业生用户 |
| 7 | graduate_name | varchar | 64 | 0 | Y | N | 毕业生姓名 | |
| 8 | gender_of_graduates | varchar | 64 | 0 | Y | N | 毕业生性别 | |
| 9 | graduate_phone_number | varchar | 64 | 0 | Y | N | 毕业生电话 | |
| 10 | graduate_education | varchar | 64 | 0 | Y | N | 毕业生学历 | |
| 11 | graduates_major | varchar | 64 | 0 | Y | N | 毕业生专业 | |
| 12 | notification_content | text | 65535 | 0 | Y | N | 通知内容 | |
| 13 | create_time | datetime | 19 | 0 | N | N | CURRENT_TIMESTAMP | 创建时间 |
| 14 | update_time | timestamp | 19 | 0 | N | N | CURRENT_TIMESTAMP | 更新时间 |
| 编号 | 名称 | 数据类型 | 长度 | 小数位 | 允许空值 | 主键 | 默认值 | 说明 |
| 1 | enterprise_users_id | int | 10 | 0 | N | Y | 企业用户ID | |
| 2 | enterprise_name | varchar | 64 | 0 | Y | N | 企业名称 | |
| 3 | user_name | varchar | 64 | 0 | Y | N | 用户姓名 | |
| 4 | user_gender | varchar | 64 | 0 | Y | N | 用户性别 | |
| 5 | contact_phone_number | varchar | 16 | 0 | Y | N | 联系电话 | |
| 6 | examine_state | varchar | 16 | 0 | N | N | 已通过 | 审核状态 |
| 7 | user_id | int | 10 | 0 | N | N | 0 | 用户ID |
| 8 | create_time | datetime | 19 | 0 | N | N | CURRENT_TIMESTAMP | 创建时间 |
| 9 | update_time | timestamp | 19 | 0 | N | N | CURRENT_TIMESTAMP | 更新时间 |
| 编号 | 名称 | 数据类型 | 长度 | 小数位 | 允许空值 | 主键 | 默认值 | 说明 |
| 1 | graduate_users_id | int | 10 | 0 | N | Y | 毕业生用户ID | |
| 2 | graduate_name | varchar | 64 | 0 | Y | N | 毕业生姓名 | |
| 3 | gender_of_graduates | varchar | 64 | 0 | Y | N | 毕业生性别 | |
| 4 | graduate_phone_number | varchar | 16 | 0 | Y | N | 毕业生电话 | |
| 5 | graduate_education | varchar | 64 | 0 | Y | N | 毕业生学历 | |
| 6 | graduates_major | varchar | 64 | 0 | Y | N | 毕业生专业 | |
| 7 | examine_state | varchar | 16 | 0 | N | N | 已通过 | 审核状态 |
| 8 | user_id | int | 10 | 0 | N | N | 0 | 用户ID |
| 9 | create_time | datetime | 19 | 0 | N | N | CURRENT_TIMESTAMP | 创建时间 |
| 10 | update_time | timestamp | 19 | 0 | N | N | CURRENT_TIMESTAMP | 更新时间 |
| 编号 | 名称 | 数据类型 | 长度 | 小数位 | 允许空值 | 主键 | 默认值 | 说明 |
| 1 | hits_id | int | 10 | 0 | N | Y | 点赞ID: | |
| 2 | user_id | int | 10 | 0 | N | N | 0 | 点赞人: |
| 3 | create_time | timestamp | 19 | 0 | N | N | CURRENT_TIMESTAMP | 创建时间: |
| 4 | update_time | timestamp | 19 | 0 | N | N | CURRENT_TIMESTAMP | 更新时间: |
| 5 | source_table | varchar | 255 | 0 | Y | N | 来源表: | |
| 6 | source_field | varchar | 255 | 0 | Y | N | 来源字段: | |
| 7 | source_id | int | 10 | 0 | N | N | 0 | 来源ID: |
| 编号 | 名称 | 数据类型 | 长度 | 小数位 | 允许空值 | 主键 | 默认值 | 说明 |
| 1 | interview_information_id | int | 10 | 0 | N | Y | 面试信息ID | |
| 2 | enterprise_name | varchar | 64 | 0 | Y | N | 企业名称 | |
| 3 | enterprise_users | int | 10 | 0 | Y | N | 0 | 企业用户 |
| 4 | position_name | varchar | 64 | 0 | Y | N | 职位名称 | |
| 5 | position_type | varchar | 64 | 0 | Y | N | 职位类型 | |
| 6 | graduate_users | int | 10 | 0 | Y | N | 0 | 毕业生用户 |
| 7 | graduate_name | varchar | 64 | 0 | Y | N | 毕业生姓名 | |
| 8 | gender_of_graduates | varchar | 64 | 0 | Y | N | 毕业生性别 | |
| 9 | graduate_phone_number | varchar | 64 | 0 | Y | N | 毕业生电话 | |
| 10 | graduate_education | varchar | 64 | 0 | Y | N | 毕业生学历 | |
| 11 | graduates_major | varchar | 64 | 0 | Y | N | 毕业生专业 | |
| 12 | interview_date | date | 10 | 0 | Y | N | 面试日期 | |
| 13 | interview_location | varchar | 64 | 0 | Y | N | 面试地点 | |
| 14 | interview_content | text | 65535 | 0 | Y | N | 面试内容 | |
| 15 | matters_needing_attention | text | 65535 | 0 | Y | N | 注意事项 | |
| 16 | create_time | datetime | 19 | 0 | N | N | CURRENT_TIMESTAMP | 创建时间 |
| 17 | update_time | timestamp | 19 | 0 | N | N | CURRENT_TIMESTAMP | 更新时间 |
| 编号 | 名称 | 数据类型 | 长度 | 小数位 | 允许空值 | 主键 | 默认值 | 说明 |
| 1 | job_information_id | int | 10 | 0 | N | Y | 职位信息ID | |
| 2 | enterprise_name | varchar | 64 | 0 | Y | N | 企业名称 | |
| 3 | enterprise_users | int | 10 | 0 | Y | N | 0 | 企业用户 |
| 4 | position_name | varchar | 64 | 0 | Y | N | 职位名称 | |
| 5 | position_type | varchar | 64 | 0 | Y | N | 职位类型 | |
| 6 | job_requirements | varchar | 64 | 0 | Y | N | 职位要求 | |
| 7 | job_responsibilities | varchar | 64 | 0 | Y | N | 职位职责 | |
| 8 | position_benefits | varchar | 64 | 0 | Y | N | 职位待遇 | |
| 9 | enterprise_address | varchar | 64 | 0 | Y | N | 企业地址 | |
| 10 | cover_photo | varchar | 255 | 0 | Y | N | 封面图片 | |
| 11 | job_description | longtext | 2147483647 | 0 | Y | N | 职位描述 | |
| 12 | hits | int | 10 | 0 | N | N | 0 | 点击数 |
| 13 | praise_len | int | 10 | 0 | N | N | 0 | 点赞数 |
| 14 | recommend | int | 10 | 0 | N | N | 0 | 智能推荐 |
| 15 | create_time | datetime | 19 | 0 | N | N | CURRENT_TIMESTAMP | 创建时间 |
| 16 | update_time | timestamp | 19 | 0 | N | N | CURRENT_TIMESTAMP | 更新时间 |
| 编号 | 名称 | 数据类型 | 长度 | 小数位 | 允许空值 | 主键 | 默认值 | 说明 |
| 1 | notice_id | mediumint | 8 | 0 | N | Y | 公告id: | |
| 2 | title | varchar | 125 | 0 | N | N | 标题: | |
| 3 | content | longtext | 2147483647 | 0 | Y | N | 正文: | |
| 4 | create_time | timestamp | 19 | 0 | N | N | CURRENT_TIMESTAMP | 创建时间: |
| 5 | update_time | timestamp | 19 | 0 | N | N | CURRENT_TIMESTAMP | 更新时间: |
| 编号 | 名称 | 数据类型 | 长度 | 小数位 | 允许空值 | 主键 | 默认值 | 说明 |
| 1 | personal_resume_id | int | 10 | 0 | N | Y | 个人简历ID | |
| 2 | resume_name | varchar | 64 | 0 | Y | N | 简历名称 | |
| 3 | graduate_users | int | 10 | 0 | Y | N | 0 | 毕业生用户 |
| 4 | graduate_name | varchar | 64 | 0 | Y | N | 毕业生姓名 | |
| 5 | gender_of_graduates | varchar | 64 | 0 | Y | N | 毕业生性别 | |
| 6 | graduate_phone_number | varchar | 64 | 0 | Y | N | 毕业生电话 | |
| 7 | graduate_education | varchar | 64 | 0 | Y | N | 毕业生学历 | |
| 8 | graduates_major | varchar | 64 | 0 | Y | N | 毕业生专业 | |
| 9 | resume_attachment | varchar | 255 | 0 | Y | N | 简历附件 | |
| 10 | experience | text | 65535 | 0 | Y | N | 经历经验 | |
| 11 | educational_background | text | 65535 | 0 | Y | N | 教育背景 | |
| 12 | create_time | datetime | 19 | 0 | N | N | CURRENT_TIMESTAMP | 创建时间 |
| 13 | update_time | timestamp | 19 | 0 | N | N | CURRENT_TIMESTAMP | 更新时间 |
| 编号 | 名称 | 数据类型 | 长度 | 小数位 | 允许空值 | 主键 | 默认值 | 说明 |
| 1 | position_type_id | int | 10 | 0 | N | Y | 职位类型ID | |
| 2 | position_type | varchar | 64 | 0 | Y | N | 职位类型 | |
| 3 | create_time | datetime | 19 | 0 | N | N | CURRENT_TIMESTAMP | 创建时间 |
| 4 | update_time | timestamp | 19 | 0 | N | N | CURRENT_TIMESTAMP | 更新时间 |
| 编号 | 名称 | 数据类型 | 长度 | 小数位 | 允许空值 | 主键 | 默认值 | 说明 |
| 1 | praise_id | int | 10 | 0 | N | Y | 点赞ID: | |
| 2 | user_id | int | 10 | 0 | N | N | 0 | 点赞人: |
| 3 | create_time | timestamp | 19 | 0 | N | N | CURRENT_TIMESTAMP | 创建时间: |
| 4 | update_time | timestamp | 19 | 0 | N | N | CURRENT_TIMESTAMP | 更新时间: |
| 5 | source_table | varchar | 255 | 0 | Y | N | 来源表: | |
| 6 | source_field | varchar | 255 | 0 | Y | N | 来源字段: | |
| 7 | source_id | int | 10 | 0 | N | N | 0 | 来源ID: |
| 8 | status | bit | 1 | 0 | N | N | 1 | 点赞状态:1为点赞,0已取消 |
| 编号 | 名称 | 数据类型 | 长度 | 小数位 | 允许空值 | 主键 | 默认值 | 说明 |
| 1 | slides_id | int | 10 | 0 | N | Y | 轮播图ID: | |
| 2 | title | varchar | 64 | 0 | Y | N | 标题: | |
| 3 | content | varchar | 255 | 0 | Y | N | 内容: | |
| 4 | url | varchar | 255 | 0 | Y | N | 链接: | |
| 5 | img | varchar | 255 | 0 | Y | N | 轮播图: | |
| 6 | hits | int | 10 | 0 | N | N | 0 | 点击量: |
| 7 | create_time | timestamp | 19 | 0 | N | N | CURRENT_TIMESTAMP | 创建时间: |
| 8 | update_time | timestamp | 19 | 0 | N | N | CURRENT_TIMESTAMP | 更新时间: |
| 编号 | 名称 | 数据类型 | 长度 | 小数位 | 允许空值 | 主键 | 默认值 | 说明 |
| 1 | upload_id | int | 10 | 0 | N | Y | 上传ID | |
| 2 | name | varchar | 64 | 0 | Y | N | 文件名 | |
| 3 | path | varchar | 255 | 0 | Y | N | 访问路径 | |
| 4 | file | varchar | 255 | 0 | Y | N | 文件路径 | |
| 5 | display | varchar | 255 | 0 | Y | N | 显示顺序 | |
| 6 | father_id | int | 10 | 0 | Y | N | 0 | 父级ID |
| 7 | dir | varchar | 255 | 0 | Y | N | 文件夹 | |
| 8 | type | varchar | 32 | 0 | Y | N | 文件类型 |
| 编号 | 名称 | 数据类型 | 长度 | 小数位 | 允许空值 | 主键 | 默认值 | 说明 |
| 1 | urban_analysis_id | int | 10 | 0 | N | Y | 城市分析ID | |
| 2 | city_name | varchar | 64 | 0 | Y | N | 城市名称 | |
| 3 | region_name | varchar | 64 | 0 | Y | N | 区域名称 | |
| 4 | company_name | varchar | 64 | 0 | Y | N | 公司名称 | |
| 5 | industry_name | varchar | 64 | 0 | Y | N | 行业名称 | |
| 6 | position_name | varchar | 64 | 0 | Y | N | 职位名称 | |
| 7 | salary_and_benefits | varchar | 64 | 0 | Y | N | 薪资待遇 | |
| 8 | recruitment_requirements | varchar | 64 | 0 | Y | N | 招聘要求 | |
| 9 | work_experience | varchar | 64 | 0 | Y | N | 工作经验 | |
| 10 | education_required | varchar | 64 | 0 | Y | N | 要求学历 | |
| 11 | company_address | varchar | 64 | 0 | Y | N | 公司地址 | |
| 12 | analysis_date | date | 10 | 0 | Y | N | 分析日期 | |
| 13 | number_of_positions | varchar | 64 | 0 | Y | N | 职位数量 | |
| 14 | create_time | datetime | 19 | 0 | N | N | CURRENT_TIMESTAMP | 创建时间 |
| 15 | update_time | timestamp | 19 | 0 | N | N | CURRENT_TIMESTAMP | 更新时间 |
| 编号 | 名称 | 数据类型 | 长度 | 小数位 | 允许空值 | 主键 | 默认值 | 说明 |
| 1 | user_id | mediumint | 8 | 0 | N | Y | 用户ID:[0,8388607]用户获取其他与用户相关的数据 | |
| 2 | state | smallint | 5 | 0 | N | N | 1 | 账户状态:[0,10](1可用|2异常|3已冻结|4已注销) |
| 3 | user_group | varchar | 32 | 0 | Y | N | 所在用户组:[0,32767]决定用户身份和权限 | |
| 4 | login_time | timestamp | 19 | 0 | N | N | CURRENT_TIMESTAMP | 上次登录时间: |
| 5 | phone | varchar | 11 | 0 | Y | N | 手机号码:[0,11]用户的手机号码,用于找回密码时或登录时 | |
| 6 | phone_state | smallint | 5 | 0 | N | N | 0 | 手机认证:[0,1](0未认证|1审核中|2已认证) |
| 7 | username | varchar | 16 | 0 | N | N | 用户名:[0,16]用户登录时所用的账户名称 | |
| 8 | nickname | varchar | 16 | 0 | Y | N | 昵称:[0,16] | |
| 9 | password | varchar | 64 | 0 | N | N | 密码:[0,32]用户登录所需的密码,由6-16位数字或英文组成 | |
| 10 | | varchar | 64 | 0 | Y | N | 邮箱:[0,64]用户的邮箱,用于找回密码时或登录时 | |
| 11 | email_state | smallint | 5 | 0 | N | N | 0 | 邮箱认证:[0,1](0未认证|1审核中|2已认证) |
| 12 | avatar | varchar | 255 | 0 | Y | N | 头像地址:[0,255] | |
| 13 | open_id | varchar | 255 | 0 | Y | N | 针对获取用户信息字段 | |
| 14 | create_time | timestamp | 19 | 0 | N | N | CURRENT_TIMESTAMP | 创建时间: |
| 15 | vip_level | varchar | 255 | 0 | Y | N | 会员等级 | |
| 16 | vip_discount | double | 11 | 2 | Y | N | 0.00 | 会员折扣 |
| 编号 | 名称 | 数据类型 | 长度 | 小数位 | 允许空值 | 主键 | 默认值 | 说明 |
| 1 | group_id | mediumint | 8 | 0 | N | Y | 用户组ID:[0,8388607] | |
| 2 | display | smallint | 5 | 0 | N | N | 100 | 显示顺序:[0,1000] |
| 3 | name | varchar | 16 | 0 | N | N | 名称:[0,16] | |
| 4 | description | varchar | 255 | 0 | Y | N | 描述:[0,255]描述该用户组的特点或权限范围 | |
| 5 | source_table | varchar | 255 | 0 | Y | N | 来源表: | |
| 6 | source_field | varchar | 255 | 0 | Y | N | 来源字段: | |
| 7 | source_id | int | 10 | 0 | N | N | 0 | 来源ID: |
| 8 | register | smallint | 5 | 0 | Y | N | 0 | 注册位置: |
| 9 | create_time | timestamp | 19 | 0 | N | N | CURRENT_TIMESTAMP | 创建时间: |
| 10 | update_time | timestamp | 19 | 0 | N | N | CURRENT_TIMESTAMP | 更新时间: |
系统的登录窗口是用户的入口,用户只有在登录成功后才可以进入访问。通过在登录提交表单,后台处理判断是否为合法用户,进行页面跳转,进入系统中去。
登录合法性判断过程:用户输入账号和密码后,系统首先确定输入输入数据合法性,然后在login.Python页面发送登录请求,调用src下的mainctrl类的dopost方法来验证。
用户登录模块的IPO如下所示:
输入:用户名和密码。
处理:
1)检测用户输入的账号、密码是否正确及在数据库已对应存在。
2)从数据库中提取记录,并储存在本地的session中(timeout默认=30min)。
3)根据用户名,将其显示在系统首页上。
输出:是否成功的信息。
登录流程图如下所示。

图5-1 登录流程图
登录界面如下:

图5-2 用户登录界面图
此页面实现毕业生用户的注册,必须注册登录后才能使用系统大部分功能,用户名不允许重复如果重复将会注册失败,并弹出相应的提示,通过js实现对输入的验证。
用户注册流程图如下所示。

图5-3 用户注册流程图
注册界面如下:

图5-4 用户注册界面图
-
-
- 前台首页模块
-
毕业生用户登录系统后,首先进入前台首页,可以查看轮播图、通知公告、就业资讯、职位信息推荐(根据用户点击最多分类,优先推荐同类型职位)等信息,并可以使用系统其他功能。界面如下图所示。

图5-5 前台首页界面图
-
-
- 职位信息模块
-
毕业生用户可查看发布的所有职位信息详情,支持企业名称、职位名称、职位类型、排序搜索,可进行点赞、收藏和评论,并可点击投递简历操作。界面如下图所示。

图5-6 职位信息详情界面图
-
-
- 个人简历模块
-
毕业生用户可添加个人简历信息,填写并提交个人简历信息。界面如下图所示。

图5-7 个人简历界面图
-
-
- 个人中心模块
-
毕业生用户可对个人首页、投递记录、面试信息、录用通知、个人简历、收藏等信息进行管控和查阅信息详情。界面如下图所示。

图5-8 个人中心界面图
管理员可查看职位信息、数据信息、学历分析、城市分析等统计信息数据分析图表。界面如下图所示。

图5-9 管理员后台首页界面图
-
-
- 系统用户模块
-
管理员可对毕业生用户、企业用户和管理员等系统用户信息进行管控和查看其信息详情,进行增改删查操作。界面如下图所示。

图5-10管理员系统用户界面图
-
-
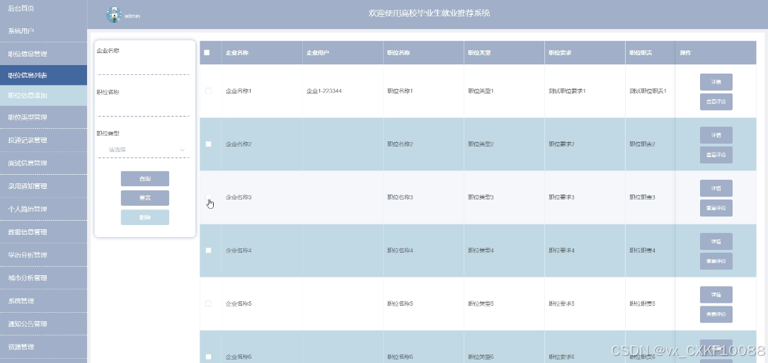
- 职位信息管理模块
-
管理员可查看所有职位信息详情,进行增改删查操作,支持企业名称、职位名称、职位类型搜索,并可查看评论信息。企业用户只可查看自己的职位信息详情,进行增改删查操作,支持企业名称、职位名称、职位类型搜索,并可查看评论信息。
例如,管理员职位信息界面如下图所示。

图5-11 管理员职位信息管理界面图
-
-
- 投递记录管理模块
-
管理员可查看所有投递记录信息详情,进行查询和删除操作,支持企业名称、职位名称、毕业生姓名搜索,并可点击面试邀请操作。企业用户可查看自己的投递记录信息详情,进行查询操作,支持企业名称、职位名称、毕业生姓名搜索,并可点击面试邀请操作。
例如,企业用户投递记录界面如下图所示。

图5-12 企业用户投递记录管理详情界面图
-
-
- 面试信息管理模块
-
管理员可查看所有面试信息详情,进行查询和删除操作,支持企业名称、职位名称、毕业生姓名搜索,并可点击录用通知操作企业用户可查看自己的面试信息详情,进行查询操作,支持企业名称、职位名称、毕业生姓名搜索,并可点击录用通知操作。
例如,企业用户投递记录界面如下图所示。

图5-13 企业用户面试信息管理界面图
-
-
- 数据信息管理模块
-
数据信息管理:管理员可查看所有数据信息详情,进行查询和删除操作,支持公司名称、行业名称、职位名称搜索,可点击爬取操作,爬取就业信息(城市名称、区域名称、公司名称、行业名称、职位名称、薪资待遇、招聘要求、工作经验、要求学历),并可点击学历分析、城市分析操作,根据数据信息管理的信息在后台首页生成数据分析图表。界面如下图所示。

图5-14 数据信息管理界面图
-
-
- 学历分析管理模块
-
管理员可查看所有学历分析信息详情,进行查询和删除操作,支持公司名称、行业名称、职位名称搜索。界面如下图所示。

图5-15 管理员学历分析管理界面图
-
-
- 系统管理模块
-
管理员可对首页的轮播图进行管理和查看其信息详情,进行增删改查操作,支持标题搜索。界面如下图所示。

图5-16 管理员系统管理界面图
-
-
- 资源管理模块
-
管理员可对就业资讯和资讯分类进行管理理和查看其信息详情,进行增删改查操作;其中就业资讯支持标题、标签、分类搜索,可查看其查看评论信息;资讯分类支持类型名称搜索。界面如下图所示。

图5-17 管理员资源管理界面图
在对该系统进行完详细设计和编码之后,就要对高校毕业生就业推荐系统的程序进行测试,检测程序是否运行无误,反复进行测试和修改,使之最后成为完整的软件,满足用户的需求,实现预期的功能。
根据系统测试目的并结合面向对象的测试方法,给出如下系统测试方案:
(1)尽可能早的、并且不断地进行系统测试。因为错误发现的越早,修正它所付出的代价以及费用就会越小。
(2)设计本测试用例时,应该给出测试的预期结果。一个合理的测试用例由两部分组成:主要有测试用的输入数据和该输入数据所期望的系统运行结果。
(3)在设计本测试用例时,不仅需要有合法的输入测试用例,还应该要有非法的输入测试用例。因为,因为在系统的实际使用过程中,通常由于各种原因,用户往往会使用一些非法的输入测试用例来进行测试。测试用例为了测试系统的正确性和完整性,本节将对系统中重点模块的测试进行介绍。
在软件的测试过程中,通常测试人员需要针对不同的功能模块设计多种测试用例。通过测试用例能够及时发现代码业务逻辑上是否与真实的业务逻辑相对应,及时发现代码上或逻辑上的缺陷,以此来来完善系统,提高软件产品的质量,使软件具有良好的用户体验。
注册测试用例表如下所示。
表6-1注册测试用例
| 测试性能 | 新用户注册 | ||
| 用例目的 | 测试系统新用户个人信息注册功能的功能和安全性 | ||
| 前提条件 | 进入注册页面填写个人信息 | ||
| 输入条件 | 预期输出 | 实际情况 | |
| 各项基本信息输入不完整 | 不允许注册,无法点击注册按钮 | 一致 | |
| 填写已存在的用户名 | 系统显示出提示信息,要求重新填写 | 一致 | |
| 两次密码输入不一致 | 系统显示出提示信息,要求重新填写 | 一致 | |
| 填写的各项信息没有符合提示的长度和字符要求 | 系统显示出提示信息,要求重新填写 | 一致 | |
| 胡乱填写电话号码 | 收不到验证码 | 一致 | |
| 填写验证码与收到的不一致 | 系统显示提示信息告知用户验证码错误,不予注册 | 一致 | |
登录测试用例表如下所示。
表6-2登录测试用例
| 测试性能 | 用户或操作员登录系统 | ||
| 用例目的 | 测试用户或操作员登录系统时功能是否正常 | ||
| 前提条件 | 进入用户登录页面或操作员登录页面 | ||
| 输入条件 | 预期输出 | 实际情况 | |
| 各项信息不予填写,直接点击登陆按钮 | 不允许登录,提示填写账号相关信息 | 一致 | |
| 填写错误的登录名或密码后点击登录系统 | 提示用户名或密码错误,要求重新填写进行登录 | 一致 | |
| 填写与验证码信息不一致的信息 | 系统显示出提示信息,表明验证码错误,要求重新填写 | 一致 | |
职位信息管理测试用例表如下所示。
表6-3职位信息管理测试用例
| 测试性能 | 职位信息相关信息管理功能 | ||
| 用例目的 | 测试系统操作者对职位信息相关内容信息进行管理的功能是否正常 | ||
| 前提条件 | 登录系统进入相关管理页面 | ||
| 输入条件 | 预期输出 | 实际情况 | |
| 进入职位信息界面,下载导入文档,正确填写所有必填项,进行保存,点击“导入”按钮 | 提示“导入成功”,并返回查询界面 | 一致 | |
| 进入职位信息界面,点击“添加”按钮,未填写一个或者多个必填项,点击提交 | 提示“导入失败”,请填写必填项 | 一致 | |
| 进入职位信息界面,选择要修改的一条数据,进入详情界面进行修改,点击提交 | 跳转至详情界面 | 一致 | |
| 在查询界面,输入查询的关键字查询可已添加的信息数据,点击“查询”按钮 | 提示“查询成功”,并返回查询界面 | 一致 | |
| 进入职位信息界面,点击某条数据后面的删除按钮 | 提示“是否要删除该数据”,如果用户点击“确定”按钮,则成功删除该条数据,并提示“删除成功”,之后返回查询界面 | 一致 | |
已完成对高校毕业生就业推荐系统的所有功能(包括但不限于以上功能测试)的测试,本系统目前所具有的所有功能均成功的实现并且通过了检测,实现了高校毕业生就业推荐系统的开发期望,能够兼容不同的浏览器,并且该系统足以满足的基本工作流程和用户日常需求基本要求。在功能项目和操作等方面也能满足操作员对于其他用户的管理。但是,还有很多功能有待添加,这个系统仅能满足大部分的需求,还需要对此系统的功能更进一步的完善,这样使用起来才能更加的完美。
通过高校毕业生就业推荐系统的开发,本人巩固了之前学过的知识,如今将平时所学到的知识融合在设计中,在设计过程中,做了很多的准备,首先,在数据库系统的设计过程中,尤其是在数据库的工作原理、工作特点,对其深刻的讨论,与此同时,对于小型站点来说,最好服务器的选择,其次,利用所学的知识点分析所做的系统,并在此基础上设计。
目前本系统已经上线,正在试运行阶段,用户反馈良好,基本完成用户所需,试运行过程中没有出现阻断性问题,有一些不足和小问题也及时予以修正,系统上线后,为了保证数据的安全性,对系统进行了备份操作,系统备份是每两个月备份一次,数据库备份为每周备份一次,系统部署在租赁的云平台服务器中。
本次系统上线成功后,得到了用户的高度认可,但是在功能上和性能上还需做进一步的研究处理,使其有更高的性能和更好的用户体验。
系统在以后的升级过程中,需要解决一系列用户所提出的问题,例如如何避免浏览器的兼容性问题,大量用户访问时,如何保持较高的响应速度,在系统今后的升级过程中将着重解决这些安全性问题。
参考文献
[1]黄俊萍.协同过滤算法在大学生就业推荐系统中的应用[J].信息技术与信息化,2023,(12):93-97.
[2]武玲梅,李秋萍,黄秀芳,等.基于Django框架的电影推荐系统的设计与实现[J].电脑知识与技术,2023,19(04):56-61.DOI:10.14004/j.cnki.ckt.2023.0204.
[3]1 C C ,2 ,Dou1 X , et al.Research and implementation of a knowledge graph-based job recommendation system[J].Computer Informatization and Mechanical System,2023,6(1):20-24.
[4]陈玲.基于Django的中国红色旅游推荐系统的设计与实现[J].软件,2022,43(09):100-103.
[5]金铄.基于用户画像的高校毕业生就业推荐方法研究[D].东北石油大学,2022.DOI:10.26995/d.cnki.gdqsc.2022.000163.
[6]冼远清,张旭新.基于Django的图书推荐系统设计[J].电子技术与软件工程,2022,(05):216-219.
[7]Naresh K ,Manish G ,Deepak S , et al.Technical Job Recommendation System Using APIs and Web Crawling.[J].Computational intelligence and neuroscience,2022,20227797548-7797548.
[8]黄俊萍.基于推荐算法的大学生就业管理系统[J].信息技术与信息化,2021,(11):6-9.
[9]赵清.基于“互联网+”平台的学校就业推荐系统设计[J].信息技术,2021,(10):117-121+126.DOI:10.13274/j.cnki.hdzj.2021.10.020.
[10]钱诗佳,陈雨龙,李全.基于Django的软件推荐平台设计[J].信息技术与信息化,2021,(10):81-83.
[11]周晓梅,段红秀.基于Django的就业推荐系统的设计与实现[J].电脑知识与技术,2021,17(27):75-77.DOI:10.14004/j.cnki.ckt.2021.2708.
[12]任晓洁.基于Django框架的音乐推荐系统的设计与实现[D].首都经济贸易大学,2021.DOI:10.27338/d.cnki.gsjmu.2021.000049.
[13]吴海南.基于Django框架的学术推荐系统设计与实现[D].大连理工大学,2021.DOI:10.26991/d.cnki.gdllu.2021.003184.
[14]杨敬旗.基于学生行为分析的就业推荐系统的研究与实现[D].辽宁大学,2021.DOI:10.27209/d.cnki.glniu.2021.001861.
[15]Gengsheng H .Design and Implementation of Visual Employment Recommendation System[J].Journal of Physics: Conference Series,2021,1856(1):
[16]刘西祥.高职院校就业推荐系统的算法[J].计算机与网络,2020,46(23):68-71.
[17]刘西祥.高职院校毕业生就业推荐系统的研究与设计[J].电子技术与软件工程,2020,(15):209-210.
[18]赵永生.面向高校毕业生的求职推荐系统研究[D].江苏科技大学,2020.DOI:10.27171/d.cnki.ghdcc.2020.000256.
[19]刘艳.基于协同过滤算法实现高校个性化就业推荐系统研究[J].现代信息科技,2019,3(15):10-11+14.
[20]陈荣征,陈景涛,林泽铭.基于网络爬虫和智能推荐的大学生精准就业服务系统研究[J].电脑与电信,2019,(Z1):39-43.DOI:10.15966/j.cnki.dnydx.2019.z1.010.
致 谢
时间过得飞快,马上就要毕业了,在母校的学习生活中,我得到了许多来自老师、朋友、同学的帮助。因此,在本文的最后,我要对许多人表示诚挚的感谢,他们为高校毕业生就业推荐系统的研发和完成做出了重要的贡献。首先,我要感谢我的导师,您给予了我悉心的指导和支持,在选题和研究过程中提供了宝贵的意见和建议。您的专业知识和严谨态度使我受益匪浅,让我能够顺利地完成毕业设计。其次,我要感谢我的同学和朋友们,你们在我写作和排版过程中给予了热情的帮助和鼓励。与你们一起度过的大学生活是我宝贵的回忆,你们的友谊让我感到无比温暖和快乐。
此外,我也要感谢那些为我们提供参考和指导的知网学者和专家们。他们的研究成果为我们的论文提供了宝贵的指导,使我们能够更好地理解问题和展开思考。
最后,我要感谢我的家人和爱人,你们一直以来对我无条件的支持和理解让我能够专注于学业。你们的鼓励和陪伴是我坚持不懈的动力。
在这段时间里,我收获了很多宝贵的经验和知识。尽管我的能力有限,但我会继续努力去完善这篇论文,并且真诚地希望各位老师和同学们能够给予宝贵的指导与意见。
最后,再次向所有支持和帮助过我的人表示深深的感谢!我会将所学所得用于实践,为社会做出自己的贡献。
免费领取项目源码,请关注❥点赞收藏并私信博主,谢谢~
1312

被折叠的 条评论
为什么被折叠?



