计算机毕设 java 城市智能打车系统 952859(配套有源码、程序、mysql 数据库、论文)本套源码可先查看具体功能演示视频领取,文末有联 xi 可分享
传统打车模式存在订单管理混乱、车辆信息不透明、司机与用户匹配低效等问题,难以满足城市出行便捷化、高效化的需求。为搭建专业化智能打车管理平台,开发一款集用户管理、司机管理、订单管理于一体的城市智能打车系统,成为提升出行体验与运营效率的关键举措。
系统涵盖管理员、用户、司机三大角色功能,核心模块包括个人中心、用户管理、司机管理、车辆信息管理、订单信息管理、司机接单管理、订单完成管理等。管理员统筹平台管理;用户可下单打车、查询订单;司机可管理车辆信息、承接订单。系统支持订单在线创建、司机快速接单、行程全程追溯等功能,实现了城市智能打车全流程的数字化与规范化。
这些功能解决了传统打车模式中信息不对称、流程繁琐的问题,通过数字化手段优化出行与运营流程,提升了用户出行便捷性与平台管理效率,为城市智能打车管理提供了专业、高效的解决方案。
注:以上是纯毕业设计介绍,并非实际开发完成,最终开发完成的毕业设计程序以下面的环境软件、功能图和界面为准。
系统所需要的环境软件:idea、eclipse+mysql5.7、8.0+Navicat+JDK1.8+tomcat7.0
3.4.1管理员需求分析
管理员端的功能主要是开放给系统的管理人员使用,能够对用户的进行管理,主要对系统首页、个人中心、用户管理、司机管理、车辆信息管理、订单信息管理、司机接单管理、订单完成管理进行查询,修改和删除等,对系统整体运行情况进行了解。管理员用例分析图,如图3-1所示。

图3-1管理员用例分析图
3.4.2用户需求分析
用户登录进入系统可以实现对系统首页、个人中心、车辆信息管理、订单信息管理、司机接单管理、订单完成管理等功能。用户用例分析图,如图3-2所示。

图3-2用户用例分析图
3.4.3司机需求分析
司机登录进入系统可以实现对系统首页、个人中心、车辆信息管理、订单信息管理、司机接单管理、订单完成管理等功能。司机用例分析图,如图3-3所示。

图3-3司机用例分析图
3.5系统流程分析
3.5.1操作流程

图3-4登录流程图
3.5.2添加信息流程
然后是添加信息的页面。进入该页面后,页面会出现一个提示框,示意操作者可以进行信息的添加,从而进行下一步的操作。用户输入想要添加的信息后提交,系统会对输入的内容进行检测。如果检测后输入的信息正确,则会出现“添加成功”的提示框,从而可以进行下一步操作;如果系统检测后检测到想要添加的信息不符合规范要求,则会提示报错,需要进行修改后重新添加。添加信息流程图如图3-5所示:

图3-5添加信息流程图
3.5.3删除信息流程
最后为删除信息页面。进入该页面后,用户可以对所要删除的信息进行选择,选择好删除的内容后,会有一个“是否确认删除”的提示框,操作者可以根据自己的意愿来选择“是”或“否”。完成上述操作,系统会自动的对删除的内容进行判断,如果符合删除要求则会成功删除数据记录,并且更新数据库的内容信息;如果删除的数据记录不符合要求,则会有一个“删除失败”的提示框,操作人员需要根据提示来进行修改,修改完成后重新删除知道删除成功。删除信息流程图如图3-6所示:

图3-6删除信息流程图
4 系统设计
4.1 系统体系结构

图4-1系统结构
登录系统结构图,如图4-2所示:

图4-2登录结构图
4.2 系统总功能结构设计
系统按照用户的实际需求开发而来,贴近生活。从管理员通过正确的账号的密码进入系统,可以使用相关的系统应用。管理员总体负责整体系统的运行维护,统筹协调。
系统整体模块设计:系统分为管理员、用户和司机三大角色,系统管理员有最大的权限,整体功能展示如图4-3所示。

图4-3 系统整体功能图
4.3开发流程设计
系统开发流程的分析是一个至关重要的过程,它是指通过系统的设计开发目的初衷、面向使用用户的范围、系统运行和操作的安全性、各种问题的处理以及后台数据的分析能力等各个角度,来对城市智能打车系统进行设计、开发、搭建和调节,以保证该系统能够顺利的完成,达到预期的工作状态。上述每个环节、每个步骤一开始就要下足功夫,从各个方面、各个角度进行调查研究,进行大量的测试和评估,来保证城市智能打车系统的正常和该系统的后台数据库的完整性以及安全性,从而把控系统所包含信息的安全性、确保信息进入、出口顺利过渡。然后,对系统和数据进行操作和分析,根据每一步的执行步骤,完成信息的流程图制作过程。
系统的开发对管理模型和系统应用中的数据库进行了分类,创建代码,以及系统测试,如图4-4所显示。

图4-4开发系统流程图
4.4 数据库设计原则
通过对城市智能打车系统的主要功能信息进行规划并分为若干功能实体信息,实体信息将使用E-R图加以表示,本系统的主要功能实体图如下图所示。

图4-5司机接单实体属性图

图4-6订单信息实体属性图

图4-7订单完成实体属性图

图4-8车辆信息实体属性图

图4-9用户实体属性图
5 系统详细设计
系统用户登录,在登录页面选择需要登录的角色,在正确输入用户名和密码后,进入操作系统进行操作;如图5-1所示。

图5-1系统登录界面
5.1管理员模块实现
管理员进入主页面,主要功能包括对系统首页、个人中心、用户管理、司机管理、车辆信息管理、订单信息管理、司机接单管理、订单完成管理等进行操作。管理员主页面如图5-2所示:

图5-2管理员主界面
管理员点击用户管理。在用户页面输入用户账号和性别进行查询、新增或删除用户列表,并根据需要对用户详情信息进行详情、修改或删除操作;如图5-3所示:

图5-3用户管理界面
管理员点击司机管理。在司机页面输入司机账号和司机姓名进行查询、新增或删除司机列表,并根据需要对司机详情信息进行详情、修改或删除操作;如图5-4所示:

图5-4司机管理界面
管理员点击车辆信息管理。在车辆信息页面输入车辆品牌、车辆型号进行查询或删除车辆信息列表,并根据需要对车辆详情信息进行详情、修改或删除操作;如图5-5所示:

图5-5车辆信息管理界面
管理员点击订单信息管理。在订单信息页面输入目的地和状态进行查询或删除订单信息列表,并根据需要对订单详情信息进行详情、修改或删除操作;如图5-6所示:

图5-6订单信息管理界面
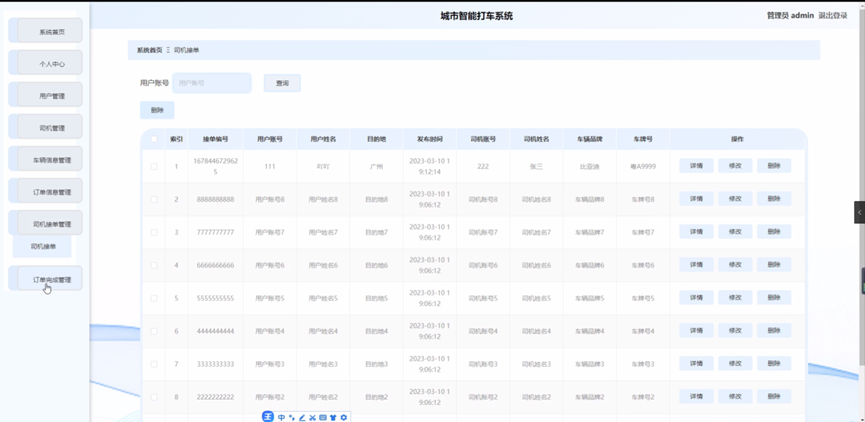
管理员点击司机接单管理。在司机接单页面输入用户账号进行查询或删除司机接单列表,并根据需要对司机接单详情信息进行详情、修改或删除操作;如图5-7所示:

图5-7司机接单管理界面
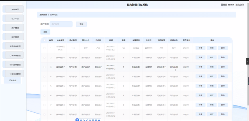
管理员点击订单完成管理。在订单完成页面输入用户账号进行查询或删除订单完成列表,并根据需要对订单完成详情信息进行详情、修改或删除操作;如图5-8所示:

图5-8订单完成管理界面
5.2用户模块实现
用户进入主页面,主要功能包括对系统首页、个人中心、车辆信息管理、订单信息管理、司机接单管理、订单完成管理等进行操作。用户主页面如图5-9所示:

图5-9 用户主界面
用户点击司机接单管理。在司机接单页面输入用户接单进行查询司机接单列表,并根据需要对司机接单详情信息进行详情操作;如图5-10所示:

图5-10司机接单管理界面
用户点击订单完成管理。在订单完成页面输入用户账号进行查询订单完成列表,并根据需要对订单完成详情信息进行详情操作;如图5-11所示:

图5-11订单完成管理界面
5.3司机模块实现
司机进入主页面,主要功能包括对系统首页、个人中心、车辆信息管理、订单信息管理、司机接单管理、订单完成管理等进行操作。司机主页面如图5-12所示:

图5-12 司机主界面
司机点击车辆信息管理。在车辆信息页面输入车辆品牌、车辆型号进行查询、新增或删除车辆信息列表,并根据需要对车辆详情信息进行详情、修改或删除操作;如图5-13所示:

图5-13车辆信息管理界面
源码无偿分享,文末领取
1414

被折叠的 条评论
为什么被折叠?



