计算机毕设 java 网上作业批阅系统 xn5u69(配套有源码、程序、mysql 数据库、论文)本套源码可先查看具体功能演示视频领取,文末有联 xi 可分享
传统作业批阅存在提交分散、批改效率低、成绩统计繁琐等问题,难以满足师生高效教学反馈的需求。为搭建专业化教学辅助平台,开发一款集作业发布、在线提交、批改统计于一体的网上作业批阅系统,成为提升教学效率的关键举措。
系统涵盖管理员、教师、学生三大角色功能,核心模块包括个人中心、学生管理、教师管理、课程作业管理、作业提交管理、批改成绩管理、在线答疑管理、试题管理、在线考试管理等。管理员统筹平台管理;教师可发布作业、在线批改、统计成绩;学生可在线提交作业、查看批改结果、参与考试。系统支持作业在线提交、批改痕迹保留、成绩自动统计等功能,实现了作业批阅全流程的数字化与规范化。
这些功能解决了传统作业处理中流程繁杂、反馈滞后的问题,通过数字化手段优化作业管理、批改流程与成绩统计,提升了教学效率与反馈及时性,为教育教学提供了专业、高效的解决方案。
注:以上是纯毕业设计介绍,并非实际开发完成,最终开发完成的毕业设计程序以下面的环境软件、功能图和界面为准。
系统所需要的环境软件:idea、eclipse+mysql5.7、8.0+Navicat+JDK1.8+tomcat7.0
4.1 系统功能模块设计
网上作业批阅系统整功能如图4-1所示:

图4-1系统总功能模块图
4.2 数据库设计
对数据库进行设计的过程中,要以系统的实际数据为依据,在对系统功能进行需求分析的时候,可以先对结构规划,数据库表逻辑结构等应用系统的数据库进行分析,对数据库应用模式进行优化,使数据库管理水平进一步提高,并且让系统可以更加有效的对数据进行处理,达到满足用户的安全性,完整性,处理请求和信息需求等需求的目的。
4.2.1 概念模型设计
学生信息实体图如图4-2所示。

图4-2学生信息实体属性图
教师信息实体图如图4-3所示。

图4-3教师信息实体图
课程作业信息实体属性图实体图如图4-4所示。

图4-4课程作业信息实体图
5.1 管理员功能实现
管理员登录模块,此模块主要功能是用于登录本系统的用户,管理员登录页面如图5-1所示。

图5-1系统登录界面图
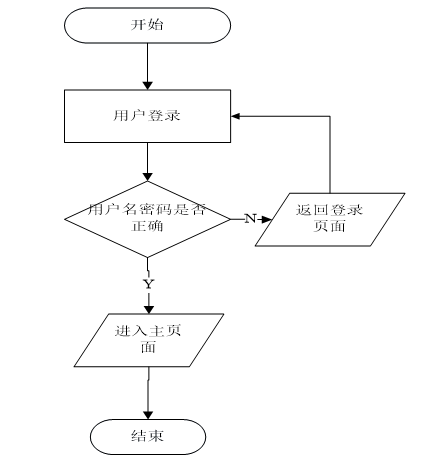
登录程序流程如图5-2所示。

图5-2登录程序流程图
管理员登录本系统后,可以管理个人中心、个人中心、学生管理、课程名称管理、年级管理、科目管理、班级管理、教师管理、课程作业管理、作业提交管理、批改成绩管理、在线答疑管理、试题管理、在线考试管理、系统管理、考试管理这些功能模块;点击学生管理,管理员可以管理学生信息。如图5-3所示。
图5-3学生管理界面图
点击年级管理,管理员可以查看系统已有的年级信息,并进行查询、新增、修改、删除、修改的操作。如图5-4所示。

图5-4教师管理界面图
管理员点击科目管理和班级管理,可以对科目和班级进行查询、新增、删除或修改的操作。具体操作如下图所示。

图5-5-1科目管理界面图
图5-5-2班级管理界面图
点击教师管理,进入教师管理页面,可以查看系统已有的教师信息,并进行新增、详情、修改、删除或查询等操作。如图5-6所示。
图5-6教师管理界面图
点击课程作业管理,管理员可以查看已有的课程作业信息,并进行详情、修改或删除的操作。如图5-7所示。
图5-7课程作业管理界面图
在作业提交管理页面,管理员可以查看系统已有的作业提交信息,并进行查询、详情、删除、修改等操作。如图5-8所示。

图5-8作业提交管理界面图
点击批改成绩管理,进入到批改成绩管理页面,管理员可以查看系统已有的信息,并进行查询、详情、删除、修改等操作。如图5-9所示。

图5-9批改成绩管理界面图
点击在线答疑管理,进入到在线答疑管理页面,管理员可以查看系统已有的信息,并进行查询、详情、删除、修改等操作。如图5-10所示。

图5-10批改成绩管理界面图
点击试题管理,进入到试题管理页面,管理员可以查看系统已有的试题信息,并进行新增、删除、修改等操作。如图5-11所示。

图5-11试题管理界面图
点击在线考试管理,进入到在线考试管理页面,管理员可以输入在线考试名称进行查询,并进行新增、详情、删除、修改等操作。如图5-12所示。

图5-12在线考试管理界面图
点击系统管理,进入到系统管理页面,管理员可以系统简介、轮播图、系统公告和关于我们模块进行操作管理。其中系统公告操作页面如图5-13所示。

图5-13系统管理系统公告界面图
点击考试管理,进入到考试管理页面,管理员可以对在线考试列表、考试记录和错题本模块进行操作管理。其中系统公告操作页面如图5-14所示。

图5-14考试管理界面图
5.2 学生功能模块
学生如果需要登录系统进行操作,需要通过输入相关信息进行注册的操作,学生注册页面如图5-15所示。

图5-15学生注册界面图
学生登录系统后,可以对课程作业、在线考试、系统公告、后台管理、个人中心等功能模块进行管理;在课程作页面,学生可以查看课程作业展示信息,并进行查看课程作业详情和提交作业的操作,具体操作页面如下图所示。

图5-16-1课程作业页面图

图5-16-2课程作业详细页面图
点击在线考试,学生可以查看在线考试信息,点击考试,可以进行在线考试。具体操作页面如图5-17所示。
图5-17-1在线考试界面图

图5-17-2在线考试考试界面图
在系统公告页面,学生可以查看系统发布的系统公告展示,并进行查看详情的操作,具体操作如图5-18所示。

图5-18-1系统公告界面图
图5-18-2系统公告详细界面图
在学生后台管理页面,学生可以系统首页、个人中心、作业提交管理、批改成绩管理、在线答疑管理、考试管理模块进行操作,学生后台管理功能如图5-19所示。

图5-19学生后台管理界面图
5.3 教师功能模块
教师用户登录系统后,可以对个人中心、课程作业管理、作业提交管理、批改成绩管理、在线答疑管理、在线考试管理、试题管理、考试管理等功能模块进行管理;点击个人中心,教师可以修改登录密码和个人信息,个人中心管理页面如下图所示。

图5-20 个人中心页面图
教师在课程作业管理页面,通过输入课程名称、作业名称、教师工号进行查询和新增的操作,对课程作业进行详情、修改和删除的操作;页面如图5-21所示。
图5-21课程作业管理界面图
教师在试题管理页面,可以对试题进行查看,并进行新增、修改、删除等操作;具体操作页面如下图所示。

图5-22-1在线试题管理界面图

图5-22-2在线试题新增界面图
教师在考试管理页面,教师可以在线考试列表、考试记录和错题本进行操作;考试管理操作页面如下图所示。

图5-23考试管理管理界面图
源码无偿分享,文末领取
826

被折叠的 条评论
为什么被折叠?



