计算机毕设 java 装修公司运营管理系统 usvx39(配套有源码 程序 MySQL 数据库 论文)本套源码可以先看具体功能演示视频领取,文末有联 xi 可分享
传统装修公司运营依赖线下对接、人工统计,存在项目排尺、设计、施工衔接不畅、进度跟踪困难等问题,难以满足高效运营需求。开发装修公司运营管理系统,通过线上整合装修套餐展示、项目排尺、进度跟踪等核心功能,实现装修运营全流程数字化管控,既能帮助管理员统筹项目经理与设计师管理、监控项目全流程,也能为客户提供便捷的套餐选择、进度查询服务,契合装修行业精细化运营发展趋势。
系统核心功能涵盖个人中心、项目经理管理、设计师管理、客户管理、装修材料管理、装修套装管理、装修订单管理、项目排尺管理、装修设计管理、项目安排管理、装修进度管理、系统管理等。可实现多角色(管理员、项目经理、设计师、客户)权限管控、装修材料与套装展示、订单创建与跟踪、项目排尺数据记录、装修设计方案对接、施工进度实时更新。这些功能覆盖从客户咨询、项目排尺到施工交付的全流程,通过数字化手段解决传统装修运营中流程分散、信息不透明的痛点,提升运营效率与项目管控精度。
注:以上是纯毕业设计介绍,并非实际开发完成,最终开发完成的毕业设计程序以下面的的环境软件、功能图和界面为准。
系统所需要的环境软件:idea、eclipse+mysql5.7、8.0+Navicat+JDK1.8+tomcat7.0
3.2系统用例图
用例图,即以用户视角来描述本装修公司运营管理系统的功能,前面已经分析了本装修公司运营管理系统的总体设计,讨论了各个方面的需求。下面,将以管理员、项目经理和设计师为例。
管理员的用例图,如图3-1所示。

图3-1管理员用例图
项目经理的用例图,如图3-2所示。

图3-2 项目经理用例图
设计师的用例图,如图3-3所示。

图3-3设计师用例图
3.3系统流程设计
3.3.1 系统开发流程
装修公司运营管理系统的设计和开发,首先要对用户的实际使用需求和具体情况进行细致的分析,分析出系统要完成的全部功能,然后再针对整个系统的工作流程和功能进行设计,力求每个模块都能够达到用户的要求,最后通过测试来解决问题,保证系统的稳定和正常的运转,本系统的开发流程如图3-4所示。

图3-4系统开发流程图
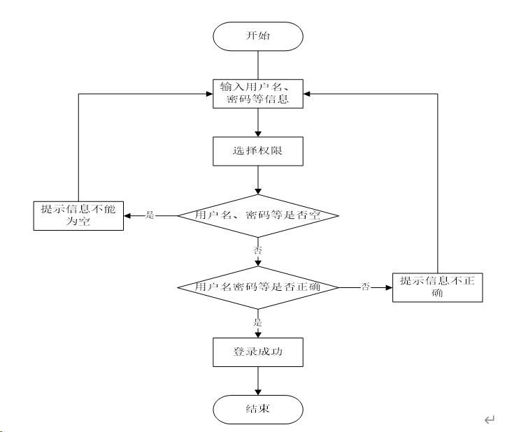
3.3.2 用户登录流程
登录流程实现了管理员和其他用户的登录,在登录页面需要用户填写自己的信息,前端页面会将信息传递给后端接口,然后查询数据库确定该身份有效后登录成功,否则此用户登录失败,需要重新填写信息,进行再次验证,如图3-5所示。

图3-5登录流程图
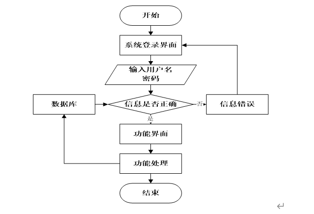
3.3.3 系统操作流程
系统操作流程分析是软件开发过程中的一个关键环节,它是整个系统整体的运行过程,必须保证其中的每一个步骤都是确定的,这样一个规范的流程图可以使开发者易于理解,快速的投入到接口开发中,从而提升系统开发效率。
同时,流程图还能减少开发者对系统操作流程产生歧义和降低沟通的成本,系统操作流程如图3-6所示。

图3-6系统操作流程图
3.3.4 添加信息流程
系统的正常运行离不开数据的支撑,因此,在本系统中添加了数据插入功能,数据库中数据的缺失,会直接影响到数据的查询结果,查询结果错误又会导致逻辑处理出现偏差,最终导致系统性错误或故障,所以在对系统进行数据添加操作时,必须要对数据进行合法性校验,确定此条数据是否有惟一的主关键字和字段是否允许为空等等,若数据库表中不允许某字段为空,而程序没有进行该字段非空逻辑校验,那么就会出现数据存储失败,可能因此造成严重系统后果。添加信息流程如图3-7所示。

图3-7添加信息流程图
3.3.5 修改信息流程
因为使系统的使用者是人,所以难免会有疏忽,从而造成系统输入的信息有误。或者由于其他原因导致数据发生改变,使得必须对系统内的数据进行相应的调整,所以在程序运行中,数据的修改操作是不可缺少的重要环节。
在进行数据更新时,必须要有一个惟一的主关键字,以便数据库能够查询到相应的数据;另外,还必须遵守数据插入过程的操作规范,以确保数据的正确性。修改信息流程图如图3-8所示。

图3-8修改信息流程图
3.3.6 删除信息流程
删除操作在系统中并非是必须的,可根据用户及系统的需要来决定是否添加删除功能,删除操作就是使用delete语句将数据库中的某一匹配数据删除,因为此操作会导致用户数据丢失,所以为了避免使用者误按删除键,应在用户点击删除按钮时添加一个提示确认弹窗,当用户确定要删除时,再进行数据库的操作,并且在删除操作完成后要对用户进行反馈。删除信息流程图如图3-9所示。

图3-9 删除信息流程图
4系统设计
4.1系统功能结构图
系统功能结构图是系统设计阶段,系统功能结构图只是这个阶段一个基础,整个系统的架构决定了系统的整体模式,是系统的根据。装修公司运营管理系统的整个设计结构如图4-1所示。

图4-1系统功能结构图
4.2系统数据库设计
对于装修公司运营管理系统而言,数据库中最核心的数据就是信息,并且有许多其他关联数据都储存于数据库中。随着时间推移,将发布大量信息于本系统中,届时数据库中也将蕴藏海量数据。一个优秀的数据库设计方案能在保证系统能够高效处理大量数据的同时保证系统的安全性。因此,在本装修公司运营管理系统设计方案中将数据库的设计摆在重要位置,将数据库设计视为系统设计的重要内容。
4.2.1数据库E-R图
E-R图,是通过用户的想法将一些数据形成一种关系结构,这种关系结构也可视为一种概念模型,而数据库的数据处理可以通过概念模型表现直观反映出来。由于E-R图是从用户的角度设立的模型,因此系统E-R图具有很强的实践意义。
用户信息实体图如图4-2所示:

图4-2用户信息实体图
装修套装实体图如图4-3所示:

图4-3装修套装实体图
设计师信息实体图如图4-4所示:

图4-4设计师信息实体图
客户信息实体图如图4-5所示:

图4-5客户信息实体图
5 装修公司运营管理系统的设计与实现部分
5.2前台首页功能模块
当游客打开系统的网址后,首先看到的就是首页界面。在这里,游客能够看到装修公司运营管理系统的导航条显示首页、装修材料、装修套餐、系统公告、后台管理、个人中心等。系统首页界面如图5-1所示:

图5-1 系统首页界面
这是项目经理登录界面,项目经理在登录页面填写账号或者密码,点击登录,如图5-2所示:

图5-2项目经理登录页面
项目经理点击出装修材料页面的搜索栏输入材料名称、材料分类、品牌进行查询,然后可以查看材料编号、材料名称、材料分类、图片、品牌、规格、数量、销售价、登记时间、点击次数等信息,还可以进行收藏或者评论等操作,如图5-3所示:

图5-3装修材料页面
项目经理点击出装修套餐页面的搜索栏输入套装名称、装修方式、项目、发布日期进行查询,然后可以查看套装名称、装修风格、装修方式、项目图片、套装价格、发布日期等信息,还可以进行收藏或者评论等操作,如图5-4所示:

图5-4装修套餐页面
在个人中心页面可以输入个人详细信息,进行信息更新,还可以对我的收藏进行操作,如图5-5所示。

图5-5个人中心界面
5.3管理员功能模块
后台管理员登录,在登录页面选择需要登录的角色,在正确输入用户名和密码后,点击登录操作;如图5-6所示。

图5-6 后台管理员登录界面
管理员进入系统主页面,主要功能包括对系统首页、个人中心、项目经理管理、设计师管理、客户管理、装修材料管理、装修套装管理、装修订单管理、项目排尺管理、装修设计管理、项目安排管理、装修进度管理、系统管理等进行操作。管理员主页面如图5-7所示:

图5-7 管理员主界面
管理员点击项目经理管理:在项目经理管理页面,可以对经理工号、经理姓名、性别、手机、头像等信息,进行查询或者新增、删除项目经理信息等操作,如图5-8所示:
图5-8项目经理管理界面
管理员点击设计师管理:在设计师管理页面,可以对设计师工号、设计师姓名、头像、职称、性别、业龄、联系电话等信息,进行查询或者新增、删除设计师信息等操作,如图5-9所示:
图5-9设计师管理界面
管理员点击客户管理:在客户管理页面,可以对客户账号、客户姓名、密码、地址、联系电话、邮箱、头像等信息,进行查询、新增或者删除客户信息等操作,如图5-10所示:
图5-10客户管理界面
管理员点击装修材料管理:在装修材料管理页面,可以对材料编号、材料名称、材料分类、图片、品牌、规格、数量、销售价、登记时间、点击次数等信息,进行查询或、新增者删除装修材料等操作,如图5-11所示:
图5-11装修材料管理界面
管理员点击装修套装管理:在装修套装管理页面,可以对套装名称、装修风格、装修方式、项目图片、套装价格、发布日期等信息,进行查询、新增或者删除装修套装等操作,如图5-12所示:
图5-12装修套装管理界面
管理员点装修订单管理:在装修订单管理页面,可以对订单编号、套装名称、装修风格、项目图片、套装价格、订单日期、客户账号、客户姓名、联系电话、完工日期、房源类型、房源地址、面积、装修合同、经理工号、经理姓名等信息,进行查询或者删除装修订单等操作,如图5-13所示:
图5-13装修订单管理界面
管理员点项目排尺管理:在项目排尺管理页面,可以对订单编号、套装名称、装修风格、项目图片、套装价格、订单日期、客户账号、客户姓名、联系电话、经理工号、经理姓名、房源类型、房源地址、面积、户型图、附件等信息,进行查询或者删除项目排尺等操作,如图5-14所示:
图5-14项目排尺管理界面
5.4项目经理功能模块
后台项目经理登录,在登录页面选择需要登录的角色,在正确输入用户名和密码后,点击登录操作;如图5-15所示。

图5-15 项目经理登录界面
项目经理点击后台管理,然后页面跳转到系统主页面,主要功能包括对系统首页、个人中心、装修材料管理、装修套装管理、装修订单管理、项目排尺管理、装修设计管理、项目安排管理、装修进度管理等进行操作。用户主页面如图5-16所示:

图5-16 项目经理主界面
5.5设计师功能模块
后台设计师登录,在登录页面选择需要登录的角色,在正确输入用户名和密码后,点击登录操作;如图5-17所示。

图5-17 设计师登录界面
设计师登录到系统主页面,主要功能包括对系统首页、个人中心、项目排尺管理、装修设计管理、项目安排管理、装修进度管理等进行操作。设计师主页面如图5-18所示:

图5-18设计师主界面
源码无偿分享,文未领取
16万+

被折叠的 条评论
为什么被折叠?



