目录
硬件结构
CPU
存储器
层次结构&&关系
离 CPU 越近越快;每个存储器只与相邻一层存储器打交道;速度越快成本越高。
寄存器:
- 通常在几十 ~ 几百个之间
- 每个寄存器一般存储 4Byte(32 位) 或者 8Byte(64 位) 数据
- 一般半个时钟周期(1 / 主频)内读写完成
CPU Cache:使用静态随机存储器(SARM Static Random-Access Memory)
- L1 高速缓存:2 ~ 4 个时钟周期;几十 KB ~ 几百 KB
- L2 高速缓存:10 ~ 20 个时钟周期;几百 KB ~ 几 MB
- L3 高速缓存:20 ~ 60 个时钟周期;几 MB ~ 几十 MB
内存:使用动态随机存储器(DRAM Dynamic Random Access Memory)
- 200 ~ 300 个时钟周期
SSD/HDD 硬盘:
- SSD(固态硬盘):比内存慢 10 ~ 1000 倍
- HDD(机械硬盘):比内存慢 10W 倍
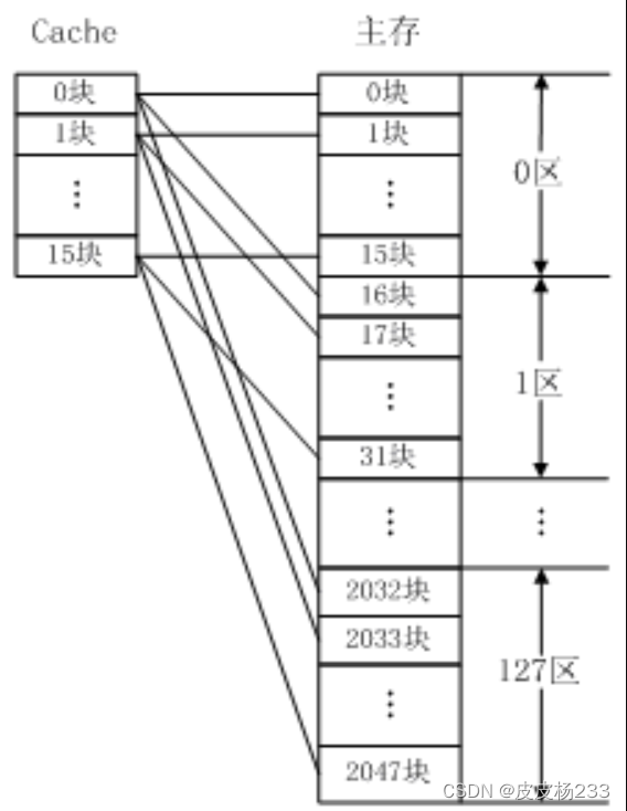
内存映射到 Cache 的方案
直接映射:
优点:
- 硬件简单,成本低,地址计算速度快
- 不涉及替换算法
缺点:
- 不灵活,每个内存块只有固定位置
- Cache 空间得不到充分利用
- 容易发生冲突,Cache 效率降低
- 只适合大容量 Cache
- 如 0 和 16 都映射到第 0 块,其实其他块空闲也不能占用,这两块会来回替换,降级命中率
全相联映射:
优点:
- 灵活,可以映射到任意块
- Cache 利用率高
- 冲突率低
缺点:
- Cache 比较电路设计和实现比较困难
- 只适合小容量 Cache
组相联映射: 为前两种的折中方法,组间使用直接映射,组内使用全相联映射




最低0.47元/天 解锁文章
1074





