分布式缓存
缓存好处:高性能 高并发
高性能(常用)
数据库查询耗费了800ms,其他用户对同一个数据再次查询 ,假设该数据在10分钟以内没有变化过,并且 10 分钟之内有 1000 个用户 都查询了同一数据,10 分钟之内,那 1000 个用户,每个人查询这个数据都感觉很慢 800ms比如 :某个商品信息,在 一天之内都不会改变,但是这个商品每次查询一次都要耗费2s,一天之内被浏览 100W次mysql 单机也就 2000qps,缓存单机轻松几万几十万qps,单机 承载并发量是 mysql 单机的几十倍。
高并发
在中午高峰期,有 100W 个用户访问系统 A,每秒有 4000 个请求去查询数据库,数据库承载每秒 4000 个请求会宕机,加上缓存后,可以 3000 个请求走缓存 ,1000 个请求走数据库。缓存是走内存的,内存天然可以支撑4w/s的请求,数据库(基于磁盘)一般建议并发请求不要超过 2000/s
缓存不良后果
- 缓存与数据库双写不一致
- 缓存雪崩
- 缓存穿透
- 缓存并发竞争
Redis 线程模型
redis 单线程 ,memcached 多线程redis 是单线程 nio 异步线程模型
Redis 和 Memcached 区别
- Redis 支持服务器端的数据操作:Redis比Memcached来说,拥有更多的数据结构和并支持更丰富的数据操作,通常在Memcached里,你需要将数据拿到客户端来进行类似的修改再set回去。这大大增加了网络 IO 的次数和数据体积。在Redis中,这些复杂的操作通常和一般的GET/SET一样高效。所以,如果需要缓存能支持更复杂的结构和操作,那么Redis会是不错的选择
- 集群模式:memcached 没有原生的集群模式,需要依靠客户端来实现往集群中分片写入数据,但是 Redis 目前是原生支持 cluster模式的
Redis 单线程模型
一个线程 一个队列
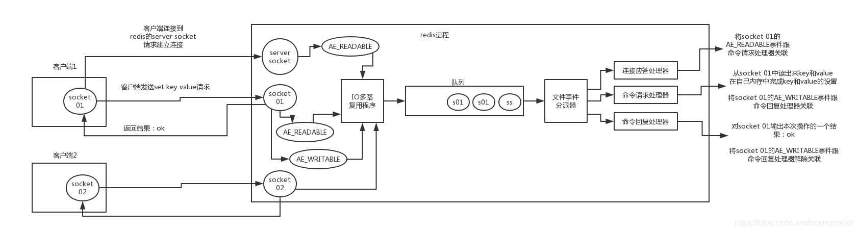
redis 基于 reactor 模式开发了网络事件处理器,这个处理器叫做文件事件处理器,file event handler,这个文件事件处理器是单线程的,所以redis 是单线程的模型,采用 io多路复用机制同时监听多个 socket,根据socket上的事件来选择对应的事件处理器来处理这个事件。文件事件处理器包含:多个 socket,io多路复用程序,文件事件分派器,事件处理器(命令请求处理器、命令回复处理器、连接应答处理器)文件事件处理器是单线程的,通过 io 多路复用机制监听多个 socket,实现高性能和线程模型简单性被监听的 socket 准备好执行 accept,read,write,close等操作的时候,会产生对应的文件事件,调用之前关联好的时间处理器处理多个 socket并发操作,产生不同的文件事件,i/o多路复用会监听多个socket,将这些 socket放入一个队列中排队。事件分派器从队列中取出socket给对应事件处理器。一个socket时间处理完后,事件分派器才能从队列中拿到下一个socket,给对应事件处理器来处理。
文件事件:AE_READABLE 对应 socket变得可读(客户端对redis执行 write操作)AE_WRITABLE 对应 socket 变得可写(客户端对 redis执行 read操作)I/O 多路复用可以同时监听AEREABLE和 AEWRITABLE ,如果同时达到则优先处理 AE_REABLE 时间文件事件处理器:连接应答处理器 对应 客户端要连接 redis命令请求处理器 对应 客户端写数据到 redis命令回复处理器 对应 客户端从 redis 读数据
流程:
- redis 初始化时,会将连接应答处理器跟 AE_READABLE事件关联
- 客户端对 redis 发起连接,产生一个 AE_READABLE 事件
- 连接应答处理器处理客户端 AEREADABLE 事件,创建客户端对应的 socket,同时将这个 socket的 AEREADABLE 事件和命令请求处理器关联
- 客户端对 redis 发起读请求,会在 socket上产生一个 AE_READABLE 事件
- 绑定 AEREADABLE 事件的命令请求处理器会从 socket 中读取请求相关数据,执行对应操作,当执行完毕后,将 socket的 AEWRITABLE 事件跟命令回复处理器关联
- 当客户端这边准备好读取响应时,会在 socket上产生一个AE_WRITABLE事件
- 绑定 AE_WRITABLE 事件的命令回复处理器将准备好的响应数据写入 socket,供客户端来读取
- 命令回复处理器写完后,删掉 socket的 AE_WRITABLE 事件和命令回复处理器的绑定关系
Redis 单线程模型效率高
一秒钟可以处理几万个请求
- 非阻塞 I/O 多路复用机制(不处理事件,只轮询请求压入队列)
- 纯内存操作(操作只有几微秒)
- 单线程反而 避免了多线程频繁上下文切换的问题
Redis 数据类型
- string
普通的 set,get kv缓存 - hash
类型 map结构,比如一个对象(没有嵌套对象)缓存到 redis里面,然后读写缓存的时候,可以直接操作hash的字段(比如把 age 改成 21,其他的不变)
key=150
value = {
"id":150,
"name":"zhangsan",
"age":20
} - list
有序列表 ,元素可以重复
可以通过 list 存储一些列表型数据结构,类似粉丝列表,文章评论列表。
例如:微信大 V的粉丝,可以以 list 的格式放在 redis 里去缓存
key=某大 V value=[zhangsan,lisi,wangwu]
比如 lrange 可以从某个元素开始读取多少个元素,可以基于 list 实现分页查询功能,基于 redis实现高性能分页,类似微博下来不断分页东西。
可以搞个简单的消息队列,从 list头怼进去(lpush),list尾巴出来 (brpop) - set
无序集合,自动去重
需要对一些数据快速全局去重,(当然也可以基于 HashSet,但是单机)
基于 set 玩差集、并集、交集的操作。比如:2 个人的粉丝列表整一个交集,看看 2 个人的共同好友是谁?
把 2 个大 V 的粉丝都放在 2 个 set中,对 2 个 set做交集(sinter) - sorted set
排序的 set,去重但是可以排序,写进去的时候给一个分数,自动根据分数排序
排行榜:
- 将每个用户以及其对应的分数写入进去
zadd board score username - zrevrange board 0 99 可以获取排名前 100 的用户
- zrank board username 可以看到用户在排行榜里的排名
例如:
zadd board 85 zhangsan
zadd board 72 wangwu
zadd board 96 lis
zadd board 62 zhaoliu
自动排序为:96 lisi85 zhangsan72 wangwu62 zhaoliu
获取排名前 3 的用户 : zrevrange board 0 396 lisi85 zhangsan72 wangwu
查看zhaoliu的排行 :zrank board zhaoliu 返回 4
Redis 过期策略
内存是宝贵的,磁盘是廉价的给key设置过期时间后,redis对这批key是定期删除 惰性删除定期删除:redis 默认每隔 100ms随机抽取一些设置了过期时间的 key,检查其是否过期了,如果过期就删除。注意:redis是每隔100ms随机抽取一些 key来检查和删除,而不是遍历所有的设置过期时间的key(否则CPU 负载会很高,消耗在检查过期 key 上)惰性删除:获取某个key的时候, redis 会检查一下,这个key如果设置了过期时间那么是否过期,如果过期了则删除。如果定期删除漏掉了许多过期key,然后你也没及时去查,也没走惰性删除,如果大量过期的key堆积在内存里,导致 redis 内存块耗尽,则走内存淘汰机制。
内存淘汰策略:
- noeviction:当内存不足以容纳新写入数据时,新写入操作直接报错(没人用)
- allkeys-lru: 当内存不足以容纳新写入数据时,在键空间中,移除最近最少使用的key(最常用)
- allkeys-random: 当内存不足以容纳新写入数据时,在键空间中,随机移除某个 key,(没人用)
- volatile-lru:当内存不足以容纳新写入数据时,在设置了过期时间的键空间中,移除最近最少使用的key(不合适)
- volatile-ttl:当内存不足以容纳新写入数据时,在设置了过期时间的键空间中,有更早过期时间的 key 优先移除(不合适)
LRU 算法:
package com.mousycoder.mycode;
import java.util.LinkedHashMap;
import java.util.Map;
/**
* @version 1.0
* @author: mousycoder
* @date: 2019/10/31 17:55
*/
public class LRUCache<K,V> extends LinkedHashMap<K,V> {
private final int CACHE_SIZE;
public LRUCache( int cacheSize) {
super((int)Math.ceil(cacheSize / 0.75) 1 ,0.75f,true);
this.CACHE_SIZE = cacheSize;
}
@Override
protected boolean removeEldestEntry(Map.Entry<K, V> eldest) {
return size() > CACHE_SIZE;
}
public static void main(String[] args) {
LRUCache<Integer,Integer> lruCache = new LRUCache<>(10);
for (int i = 0; i < 15; i ) {
lruCache.put(i,i);
}
Integer integer1 = lruCache.get(0);
for (Integer integer : lruCache.keySet()) {
System.out.println(integer);
}
}
}
Redis 高并发和高可用
缓存架构(多级缓存架构、热点缓存)redis 高并发瓶颈在单机,读写分离,一般是支撑读高并发,写请求少,也就 一秒一两千,大量请求读,一秒钟二十万次。
主从架构
一主多从,主负责写,将数据同步复制到其他 slave节点,从节点负责读,所有读的请求全部走从节点。主要是解决读高并发。、主从架构->读写分离->支撑10W 读QPS架构
Redis Replication
master->slave 复制,是异步的
核心机制:
- redis 采用异步方式复制数据到 slave 节点
- 一个 master node是可以配置多个 slave node的
- slave node也可以连接其他的 slave node
- slave node 做复制的时候,是不会 block master node的正常工作
- slave node 在做复制的时候,也不会 block对自己的查询操作,它会用旧的数据集来提供服务。但是复制完成时,需要删除旧数据集,加载新的数据集,这个时候就会暂停对外服务了。
- slave node 主要用来进行横向扩容,做读写分离,扩容 slave node 可以提高读的吞吐量
master持久化对主从架构的意义:如果开启了主从架构,一定要开启 master node的持久化,不然 master宕机重启数据是空的,一经复制,slave的数据也丢了
主从复制原理:
第一次启动或者断开重连情况:
- 当启动一个 slave node的时候,它会发送一个 PSYNC 命令给 master node
- master 会触发一次 full resynchronization (如果不是第一次连接,master 只会复制给 slave 部分缺少的数据,从backlog里找)
- master会启动一个后台线程,开始生成一份 RDB 快照( bgsave,也可以直接在内存中创建),同时将从客户端收到的所有写命令缓存在内存中。RDB 文件生成完毕之后,master会将这个RDB发送给slave,slave会先写入本地磁盘,然后再从本地磁盘加载到内存中。然后 master会将内存中缓存的写命令发送给 slave,slave也会同步这些数据(slave如果跟 master网络故障,断开连接,会自动重连,master如果发现有多个 slave 来重新连接,仅仅只会启动一个 RDB save 操作,用一份数据服务所有 slave node)
正常情况下:
master 来一条数据,就异步给 slave
Redis高可用性
全年 99.99%的时间,都是出于可用的状态,那么就可以称为高可用性redis 高可用架构叫故障转移,failover,也可以叫做主备切换,切换的时间不可用,但是整体高可用。sentinal node(哨兵)
Sentinal
作用:
- 集群监控,负责监控 redis master 和 slave进程是否正常
- 消息通知,如果某个 redis 实例有故障,那么哨兵负责发送消息作为报警通知给管理员
- 故障转移,如果 master 挂掉,会自动转移到 slave
- 配置中心,如果故障转移了,通知 client 客户端新的 master地址
两节点哨兵集群
quorum = 1 (代表哨兵最低个数可以尝试故障转移,选举执行的哨兵)master 宕机,只有 S2 存活,因为 quorum =1 可以尝试故障转移,但是没达到 majority =2 (最低允许执行故障转移的哨兵存活数)的标准,无法执行故障转移
三节点哨兵集群(经典)
如果 M1 宕机了,S2,S3 认为 master宕机,选举一个执行故障转移,因为 3 个哨兵的 majority = 2,所以可以执行故障转移
Redis 主从 哨兵
丢数据:
- master内存中数据异步同步到 slave master 就挂掉了,丢掉了 master 内存中的数据
- 脑裂,某个 master 所在机器突然脱离了正常的网络,其他 slave机器不能连接,但是实际上 master还在运行,哨兵认为 master 宕机,选举 slave为master,此时集群里有 2 个 master, client还没来得及切换到新的master,还继续写在旧的 master上,数据丢了,此时旧的 master再次恢复,被被作为一个 slave 挂到新的 master 上,自己的数据被清空 (脑裂,大脑一分为 2,同时指挥同一个人)
解决方案:
- min-slaves-max-lag 10 (至少一个 slave同步的延迟不能超过 10s) 减少异步复制的数据丢失,发现slave复制数据和 ack延时过长,拒绝写入,减少同步数据损失。让client做降级写到本地磁盘里和限流,或者先暂存到消息队列,然后重新发回 master
- min-slaves-to-write 1 减少脑裂带来的数据丢失,最多损失 10 s数据,假设master 不能继续给 slave发送数据,并且 slave 10s没给自己的 ack消息,直接拒绝客户端写请求,同时 client做降写到本地磁盘、限流,或者先暂存到消息队列,然后重新发回 master
哨兵
sdown 主观宕机,哨兵觉得一个 master 宕机(ping 超过了 is-master-down-after-milliseconds毫秒数)odown 客观宕机,quorum数量的哨兵都觉得 master宕机哨兵互相感知通过 redis的 pub/sub系统,每隔 2 秒往同一个 channel里发消息(自己的 host,ip,runid),其他哨兵可以消费这个消息以及同步交换master的监控信息。哨兵确保其他slave修改master信息为新选举的master当一个 master被认为 odown && marjority哨兵都同意,那么某个哨兵会执行主备切换,选举一个slave成为master(考虑 1. 跟master断开连接的时长 2. slave 优先级 3.复制 offset 4. runid)选举算法:
- 如果slave跟master断开连接已经超过 down-after-milliseconds * 10 master宕机时间,则放弃
- 按 slave 优先级排序 ,slave-priority 越小越靠前
- replica offset ,哪个slave复制越多的数据,越靠前
- runid 越小,越靠前
quorum 数量哨兵认为odown->选举一个哨兵切换->获得 majority哨兵的授权(quorum < majority 需要 majority个哨兵授权,quorum >= majority 需要 quorum 哨兵授权)第一个选举出来的哨兵切换失败了,其他哨兵等待 failover-time之后,重新拿confiuration epoch做为新的version 切换,保证拿到最新配置,用于 configuration传播(通过 pu/sub消息机制,其他哨兵对比 version 新旧更新 master配置)
Redis 优化方案
高并发:主从架构高容量:Redis集群,支持每秒几十万的读写并发高可用:主从 哨兵
Redis 持久化
持久化的意义在于故障恢复数据备份(到其他服务器) 故障恢复(遇到灾难,机房断电,电缆被切)
- RDB 对 Redis 中的数据执行周期性的持久化。
- AOF 机制,每条写命令作为日志,以 append-only模式写入一个日志文件总,在 redis重启的时候,可以通过回放AOF日志中的写入指令来重新构建整个数据集
AOF 只有一个,Redis 中的数据是有一定限量的,内存大小是一定的,AOF 是存放写命令的,当大到一定的时候,AOF 做 rewrite 操作,就会基于当时 redis 内存中的数据,来重新构造一个更小的 AOF 文件,然后将旧的膨胀很大的文件给删掉,AOF 文件一直会被限制在和Redis内存中一样的数据。AOF同步间隔比 RDB 小,数据更完整
RDB
优点:
- RDB 会生成多个数据文件,每个数据文件都代表了某一个时刻中 redis 的数据,这种多个数据文件的方式,非常适合做冷备,可以将这种完整的数据文件发送到一些远程的安全存储上去,RDB 做冷备,生成多个文件,每个文件都代表某一个时刻的完整的数据快照,AOF 也可以做冷备,只有一个文件,每隔一定时间去 copy一份这个文件出来。 RDB 做冷备,由Redis控制固定时长去生成快照文件,比较方便。AOF,需要自己写脚本定时控制。
- RDB 对 redis对外提供的读写服务,影响非常小,可以让 redis 保持高性能,因为 redis 主进程只需要 fork一个子进程,让子进程执行磁盘 IO 操作来进行 RDB 持久化
- 相对于 AOF 持久化机制来说,直接基于 RDB 数据文件来重启和恢复 redis 进程,更加快速
缺点: - 如果想要在 redis故障时,尽可能少丢数据,那么 RDB 没有 AOF 好,一般 RDB 数据快照,都是间隔 5 分钟,或者更长的时候生成一次,这个时候就得接受一旦 redis 进程宕机,那么会丢失最近 5 分钟数据
- RDB 每次在 fork子进程来执行 RDB 快早数据文件生成的时候,如果数据文件特别大,可能会导致对客户端提供的服务暂停数毫秒,甚至数秒(RDB 生成间隔不要太长)
AOF 存放的指令日志,数据恢复的时候,需要回放执行所有指令日志,RDB 就是一份数据文件,直接加载到内存中。
AOF
优点:
- 更好保护数据不丢失,后台线程 fsync 操作,最多丢失一秒钟数据,保证 os cache中的数据写入磁盘中
- AOF 用 append-only 模式,没有磁盘寻址开销,写入性能非常高,文件不容易损坏。
- AOF 日志过大的时候,后台 rewrite log时候,老的日志文件照常写入,新的merge后的日志文件 ready的时候,再交换新老日志文件
- 适合灾难性恢复,某人不小心 flushall清空所有数据,只要后台 rewrite还没发生,那么可以立刻拷贝 AOF 文件,将最后一条 flushall命令给删了,然后再将该 AOF 文件放回去,可以通过恢复机制,自动恢复所有数据
缺点:
- AOF 日志文件比 RDB 数据快照文件大
- 降低 Redis的写 QPS
- AOF 复杂,Bug多
- 数据恢复比较慢
最佳方案
AOF 来保证数据不丢失,RDB 做不同时间的冷备
Redis Cluster
支持 N 个 Redis master node,每个 master node挂载多个 slave node多master 读写分离 高可用
数据量很少,高并发 -> replication sentinal 集群海量数据 高并发 高可用 -> redis cluster
分布式算法
hash算法->一致性 hash 算法-> redis cluster->hash slot算法
redis cluster :自动对数据进行分片,每个 master 上放一部分数据,提供内置的高可用支持,部分master不可用时,还是可以继续工作cluster bus 通过 16379进行通信,故障检测,配置更新,故障转移授权,另外一种二进制协议,主要用于节点间进行高效数据交换,占用更少的网络带宽和处理时间
hash算法
key进行hash,然后对节点数量取模,最大问题只有任意一个 master 宕机,大量数据就要根据新的节点数取模,会导致大量缓存失效。
一致性 hash 算法
key进行hash,对应圆环上一个点,顺时针寻找距离最近的一个点。保证任何一个 master 宕机,只受 master 宕机那台影响,其他节点不受影响,此时会瞬间去查数据库。缓存热点问题:可能集中在某个 hash区间内的值特别多,那么会导致大量的数据都涌入同一个 master 内,造成 master的热点问题,性能出现瓶颈。解决方法:给每个 master 都做了均匀分布的虚拟节点,这样每个区间内大量数据都会均匀的分布到不同节点内,而不是顺时针全部涌入到同一个节点中。
Hash Slot算法
redis cluster 有固定 16384 个 hash slot,对每个key计算 CRC16 值,然后对16384取模,可以获取 key对应的 hash slotredis cluster 中每个 master 都会持有部分 slot ,当一台 master 宕机时候,会最快速度迁移 hash slot到可用的机器上(只会短暂的访问不到)走同一个 hash slot 通过 hash tag实现
Redis Cluster 核心
- 基础通信
通过 gossip 协议通信(小道留言,所有节点都持有一份元数据,不同的节点如果出现了元数据的变更,就不断将元数据发送给其他节点,让其他节点也进行元数据的变更)
集群元数据:包括 hashslot->node之间的映射表关系,master->slave之间的关系,故障的信息
集群元数据集中式存储(storm),底层基于zookeeper(分布式协调中间件)集群所有元数据的维护。好处:元数据的更新和读取,时效性好,一旦变更,其他节点立刻可以感知。缺点:所有元数据的更新压力全部集中在一个地方,可能会导致元数据的存储有压力。
goosip: 好处:元数据的更新比较分散,有一定的延时,降低了压力。缺点:更新有延时,集群的一些操作会滞后。(reshared操作时configuration error) - 10000 端口
自己提供服务的端口号 10000 ,每隔一段时间就会往另外几个节点发送ping消息,同时其他几点接收到ping之后返回pong - 交换的信息
故障信息,节点的增加和移除, hash slot 信息 - gossip协议
meet:某个节点发送 meet给新加入的节点,让新节点加入集群中,然后新节点就会开始于其他节点进行通信
ping:每个节点都会频繁给其他节点发送ping,其中包含自己的状态还有自己维护的集群元数据,互相通过ping交换元数据
ping:返回ping和meet,包含自己的状态和其他信息
fail:某个节点判断另一个节点fail之后,就发送 fail 给其他节点,通知其他节点,指定的节点宕机了 - ping消息
ping 很频繁,且携带元数据,会加重网络负担
每个节点每秒会执行 10 次 ping,每次选择 5 个最久没有通信的其他节点
当如果发现某个节点通信延迟达到了 clusternodetimeout /2 ,那么立即发送 ping, 避免数据交换延迟过长,落后时间太长(2 个节点之间 10 分钟没有交换数据,整个集群处于严重的元数据不一致的情况)。
每次ping,一个是带上自己的节点信息,还有就是带上1/10其他节点的信息,发送出去,进行数据交换
至少包含 3 个其他节点信息,最多包含总节点-2 个其他节点的信息 - JRedis原理
- 请求重定向
客户端发送到任意一个redis实例发送命令,每个redis实例接受到命令后,都会计算key对应的hash slot,如果在本地就本地处理,否则返回moved给客户端,让客户端进行重定向 (redis-cli -c) - hash slot
通过tag指定key对应的slot,同一个 tag 下的 key,都会在一个 hash slot中,比如 set key1:{100} 和 set key2:{100} - smart jedis
本地维护一份hashslot->node的映射表。
JedisCluster 初始化的时候,随机选择一个 node,初始化 hashslot->node 映射表,同时为每个节点创建一个JedisPool连接池,每次基于JedisCluster执行操作,首先JedisCluster都会在本地计算key的hashslot,然后再本地映射表中找到对应的节点,如果发现对应的节点返回moved,那么利用该节点的元数据,更新 hashslot->node映射表(重试超过 5 次报错) - hashslot迁移和ask重定向
hash slot正在迁移,那么会返回ask 重定向给jedis,jedis 接受到ask重定向之后,,会重定向到目标节点去执行 - 高可用性和主备切换原理
判断节点宕机:
如果一个节点认为另外一个节点宕机了, 就是pfail,主观宕机
如果多个节点都认为另外一个节点宕机了,那么就是fail,客观宕机(跟哨兵原理一样)
在cluster-node-timeout内,某个节点一直没有返回 pong,那么就被认为是 pfail
如果一个节点认为某个节点pfail了,那么会在gossip消息中,ping给其他节点,如果超过半数的节点认为pfail了,那么就会变成fail。
从节点过滤:
对宕机的 mster node ,从其所有的 slave node中,选择一个切换成 master node
检查每个 slave node与master node断开连接的时间,如果超过了cluster-node-timeout * cluster-slave-validity-factor,那么就没资格切换成 master(和哨兵一致)
从节点选举:
每个从节点,根据自己对 master 复制数据的 offset,设置一个选举时间,offset越大(复制数据越多)的从节点,选举时间越靠前,所有的 master node 开始投票,给要进行选举的 slave进行投票,如果大部分 master node(N/2 1) 都投票给某个从节点,那么选举通过,从节点执行主备切换,从节点切换成主节点
总结:和哨兵很像,直接集成了 replication 和 sentinal
缓存雪崩

方案:事前:保证 redis 集群高可用性 (主从 哨兵或 redis cluster),避免全盘崩溃事中:本地 ehcache 缓存 hystrix 限流(保护数据库) & 降级,避免 MySQL被打死事后: redis持久化,快速恢复缓存数据,继续分流高并发请求
限制组件每秒就 2000 个请求通过限流组件进入数据库,剩余的 3000 个请求走降级,返回一些默认 的值,或者友情提示好处 :
- 数据库绝对不会死,确保了每秒只会过去 2000 个请求
- 只要数据库不死,对于用户来说 2/5的请求可以被处理
- 系统没死,用户多点几次可能就刷出来了
缓存穿透
4000 个请求黑客攻击请求数据库里没有的数据解决方案:把黑客查数据库中不存在的数据的值,写到缓存中,比如: set -999 UNKNOWN
缓存与数据库双写一致性
- cache aside pattern

读的时候,先读缓存,缓存没有,就读数据库,然后取出数据后放入缓存,同时返回响应
更新的时候,删除缓存,更新数据库
为什么不更新缓存:
更新缓存代价太高(更新 20 次,只读 1 次),lazy思想,需要的时候再计算,不需要的时候不计算 - 修改数据库成功,删除缓存失败,导致数据库是新的数据,缓存中是旧的数据
方案:先删除缓存,再修改数据库
- 修改数据库还没修改完,同时又有查询请求,把旧的数据放到缓存中(高并发,每秒并发读几万,每秒只要有数据更新请求,就可能出现数据库 缓存不一致情况)
方案:写,读路由到相同的一个内存队列(唯一标识,hash,取模)里,更新和读操作进行串行化(后台线程异步执行队列串行化操作),(队列里只放一个更新查询操作即可,多余的过滤掉,内存队列里没有该数据更新操作,直接返回 )有该数据更新操作则轮询取缓存值,超时取不到缓存值,直接取一次数据库的旧值
TP 99 意思是99%的请求可以在200ms内返回
注意点:多个商品的更新操作都积压在一个队列里面(太多操作积压只能增加机器),导致读请求发生大量的超时,导致大量的读请求走数据库
一秒 500 写操作,每200ms,100 个写操作,20 个内存队列,每个队列积压 5 个写操作,一般在20ms完成
Redis 并发竞争问题
方案:分布式锁 时间戳比较
Redis 集群部署架构
10台机器,5 主 5 从,每个节点QPS 5W ,一共 25W QPS(Redis cluster 32G 8 核 ,Redis 进程不超过 10G)总内存 50g,每条数据10kb,10W 条数据1g,200W 条数据 20G,占用总内存不到50%,目前高峰期 3500 QPS
本文由博客一文多发平台 OpenWrite 发布!
本文探讨缓存的高性能和高并发优势,深入解析Redis线程模型、数据类型、持久化策略,以及如何应对缓存雪崩、穿透等问题,通过主从架构、哨兵和集群提升高可用性。
2176

被折叠的 条评论
为什么被折叠?



