进程
基本概念
从系统的角度看,进程是资源管理单元。进程可以使用或等待CPU、使用内存空间等系统资源,并独立于其它进程运行。
OpenHarmony内核的进程模块可以给用户提供多个进程,实现了进程之间的切换和通信,帮助用户管理业务程序流程。这样用户可以将更多的精力投入到业务功能的实现中。
OpenHarmony内核中的进程采用抢占式调度机制,支持时间片轮转调度方式和FIFO调度机制。
OpenHarmony内核的进程一共有32个优先级(0-31),用户进程可配置的优先级有22个(10-31),最高优先级为10,最低优先级为31。
高优先级的进程可抢占低优先级进程,低优先级进程必须在高优先级进程阻塞或结束后才能得到调度。
每一个用户态进程均拥有自己独立的进程空间,相互之间不可见,实现进程间隔离。
用户态根进程Init由内核态创建,其它用户态进程均由Init进程fork而来。
进程状态说明:
初始化(Init):该进程正在被创建。
就绪(Ready):该进程在就绪列表中,等待CPU调度。
运行(Running):该进程正在运行。
阻塞(Pend):该进程被阻塞挂起。本进程内所有的线程均被阻塞时,进程被阻塞挂起。
僵尸态(Zombies):该进程运行结束,等待父进程回收其控制块资源。
图 1 进程状态迁移示意图

进程状态迁移说明:
Init→Ready:
进程创建或fork时,拿到该进程控制块后进入Init状态,处于进程初始化阶段,当进程初始化完成将 进程插入调度队列,此时进程进入就绪状态。
Ready→Running:
进程创建后进入就绪态,发生进程切换时,就绪列表中最高优先级的进程被执行,从而进入运行 态。若此时该进程中已无其它线程处于就绪态,则该进程从就绪列表删除,只处于运行态;若此时该进程中还有其它线程处于就绪态,则该进程依旧在就绪队列,此时进程的就绪态和运行态共存。
Running→Pend:
进程内所有的线程均处于阻塞态时,进程在最后一个线程转为阻塞态时,同步进入阻塞态,然后发生进程切换。
Pend→Ready / Pend→Running:
阻塞进程内的任意线程恢复就绪态时,进程被加入到就绪队列,同步转为就绪态,若此时发生进程切换,则进程状态由就绪态转为运行态。
Ready→Pend:
进程内的最后一个就绪态线程处于阻塞态时,进程从就绪列表中删除,进程由就绪态转为阻塞态。
Running→Ready:
进程由运行态转为就绪态的情况有以下两种:
有更高优先级的进程创建或者恢复后,会发生进程调度,此刻就绪列表中最高优先级进程变为运行态,那么原先运行的进程由运行态变为就绪态。
若进程的调度策略为SCHED_RR,且存在同一优先级的另一个进程处于就绪态,则该进程的时间片消耗光之后,该进程由运行态转为就绪态,另一个同优先级的进程由就绪态转为运行态。
Running→Zombies:
当进程的主线程或所有线程运行结束后,进程由运行态转为僵尸态,等待父进程回收资源。
使用场景
进程创建后,用户只能操作自己进程空间的资源,无法操作其它进程的资源(共享资源除外)。 用户态允许进程挂起,恢复,延时等操作,同时也可以设置用户态进程调度优先级和调度策略,获取进程调度优先级和调度策略。进程结束的时候,进程会主动释放持有的进程资源,但持有的进程pid资源需要父进程通过wait/waitpid或父进程退出时回收。
功能
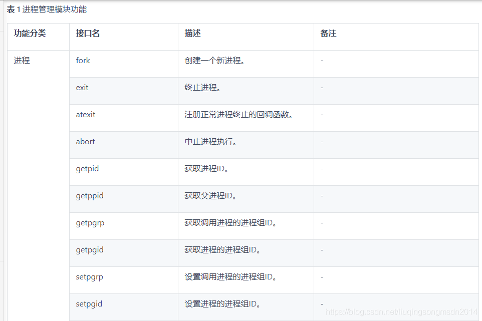
OpenHarmony内核系统中的进程管理模块为用户提供下面几种功能:
表 1 进程管理模块功能




本文深入解析OpenHarmony的进程管理机制,包括进程的基本概念、状态迁移、调度策略及用户态进程特性。了解如何在系统中创建、管理及调度进程,掌握进程间的隔离与通信,以及进程状态的动态变化。
1万+

被折叠的 条评论
为什么被折叠?



