语音控制SU-03T的使用
最近入手了SU-03T型号的语音模块,下面记录一下使用方式。相对于LD3320语音模块来说SU-03T更智能、使用更方便,从价格来讲也相对便宜,需要的可以在淘宝自行购买。


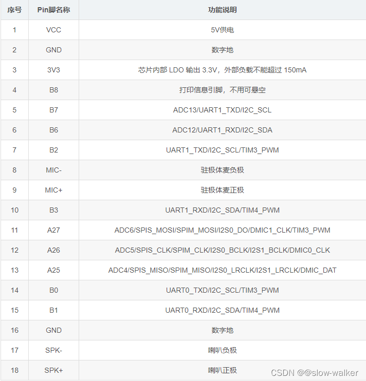
引脚详解

一、智能公元/AIOT产品化平台配置
智能公元链接
下面是该平台的首页,我们可以先注册一个账号

创建产品



语音SDK配置(下面界面中都是默认的配置)









生成SDK第一次可能时间会有点长,成功后下载生成的SDK就就可以进行下载了

下载后安装包里面的文件我们选择M-Update-Tool这个里面的内容就行了

运行烧入工具

工具的使用我们可以先查看这个文件夹下面的USB-Update_Tool_User_Guide.pdf文件

接线方式
B7引脚------------串口RXD
B6引脚------------串口TXD
GND引脚-----------串口GND

将烧入器插入电脑的USB口进行串口识别,然后点击烧录待出现下载完成后就可以将其拔掉了。

进行单片机通信
PB2--PA10 PB3--PA9
1829

被折叠的 条评论
为什么被折叠?



