前几天小编写了2篇文章
单片机上如何运行AI?单片机如何“学会思考”之TinyML崛起!(含案例,建议收藏),
引起了非常多的留言、关注和加群讨论。但是,仍然有读者朋友给小编留言,能否整理一些关于比较常用芯片比如STM32实用AI大模型的案例。为了满足粉丝朋友的诉求,小编整理了“在STM32单片机上运行AI大模型的”真实案例。
从粉丝的一个问题引出本文的思考:AI 模型能跑在 STM32 上吗?
一:先说结论
先说结论:不仅能跑,还一共有四种方案。
方案一:STM32官方提供的 STM32Cube.AI(X-CUBE-AI)
其实原理是我们把在 PC 上训练好的神经网络自动转换成可在 MCU 上运行的 C 库;然后在自己的软件/代码工程中调用已经编译产生的C库。

方案二:直接用 TensorFlow Lite Micro(TFLM)+ CMSIS-NN 在 STM32 上做端侧推理。
TensorFlow是由谷歌开发并开源的一个机器学习库,它支持模型训练和模型推理。这里提到的TFLM,全称是TensorFlow Lite for Microcontrollers,翻译过来就是“针对微控制器的TensorFlow Lite”。
它适用于微控制器和其他一些仅有数千字节内存的设备。
可以直接在“裸机”上运行,不需要操作系统支持、任何标准 C/C++ 库和动态内存分配。核心运行时在 Cortex M3 上运行时仅需16KB,加上足以用来运行语音关键字检测模型的操作,也只需 22KB 的空间。
方案三:NanoEdge AI Studio
对于“异常检测/分类/回归”这类小模型,还可以用 NanoEdge AI Studio 生成适配 STM32 的库。

Nanoedge AI Studio是用于STM32部署边缘AI的软件,Studio可生成四种类型的库:异常检测、单分类、多分类、预测。它支持所有类型的传感器,所生成的库不需要任何云连接,可以直接在本地学习与部署,支持STM32所有MCU系列。
方案四:STM32N6 + NPU
STM32N6 这代芯片把 NPU(Neural-ART)直接塞进 MCU,峰值可达百亿次级别运算,面向更重的视觉/音频任务——这等于把“在 STM32 上跑 AI”从“小巧求稳”,推进到“更大模型也能实时”。

二:四种方案的对比?该怎么选择?
| 路线 | 适用任务 | 优点 | 注意点 |
|---|---|---|---|
| STM32Cube.AI(X-CUBE-AI) | 小到中等 CNN/MLP、KWS、人形检测、回归/分类 | 图形化/命令行一体,自动把模型转成优化的 C 代码;新版本支持 ONNX 量化网络与在线开发/板农场验证 | 模型算子需被支持;建议 Int8 量化;结合板端性能页面做预估 |
| TFLite Micro + CMSIS-NN | 经典 TinyML 示例(hello_world、kws、gesture、person_detection) 上面文章中提到过的 | 开源、可控;CMSIS-NN 将核函数映射到 Cortex-M,常见可获 4–5× 提速/能效改善 | 需要自己选/裁剪算子与内存;工程化工作量稍大 |
| NanoEdge AI Studio | 异常检测、简单分类/回归(工业声音、振动等) | 向导式生成库,数据量要求低,上手快 | 黑盒程度更高,适合追“快落地”的项目 |
| STM32N6 + NPU | 更重的视觉/音频(目标/人形、语音场景) | MCU 等级首次具备“类 MPU”级别的 AI 推理吞吐;官方工具链直接支持 | 面向新芯片与生态,需对齐支持的模型/算子与工具 |
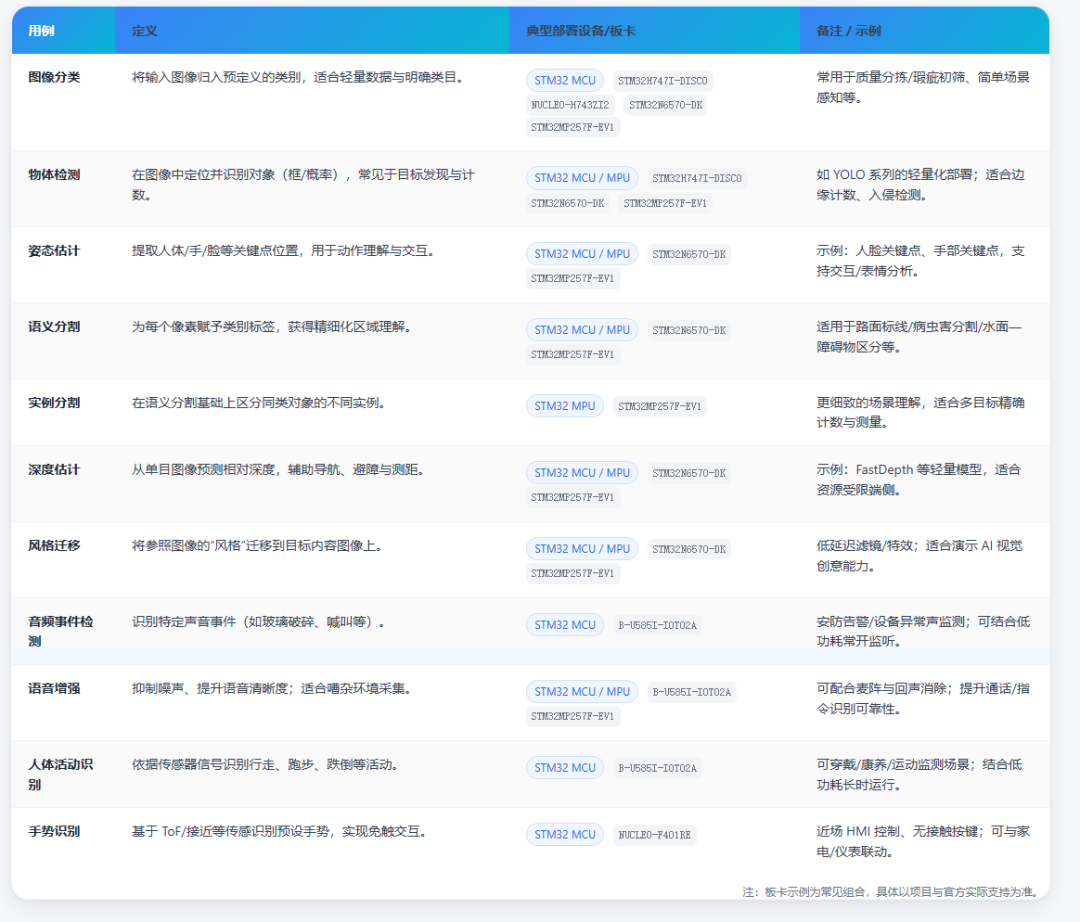
三:直接上干货:可复制的案例分享
方案1案例:STM32 AI Model Zoo(图像分类等多任务)

STM32 AI 模型库(Model Zoo)是一个针对 STM32 微控制器优化的可以直接用于设计参考的机器学习模型集合。
(1)它包含大量面向应用的模型,这些模型通常可以直接用于再训练(retraining)。
(2)提供在标准数据集上已经预训练好的模型。
(3)附带脚本,用以简化在用户自己数据集上对任一模型进行再训练、量化(quantization)、评估或基准测试(benchmarking)的过程。
(4)提供将用户 AI 模型自动生成对应应用端代码(部署代码)的示例。
关注我:回复“STM32 AI Model Zoo”可以获取到小编已经为读者朋友准备好的下载链接。
下面是针对AI模型库的案例集:(字体太小可以将下面图片保存到自己手机中放大查看)。

方案2案例:TensorFlow Lite Micro(配 CMSIS-NN)
STM32 TFLM Demos(KWS/手势/人形等)

上面的案例中包含了最基础的 “Hello World”,以及语音命令识别(Micro Speech)、手写数字分类(MNIST)等工程模板,可以从零起步逐层提升
我们学习在单片机中使用AI的能力。
关注我:回复“stm32-tflm-demo”可以获取到小编已经为读者朋友准备好的下载链接。
方案3案例:NanoEdge AI Studio
NanoEdge 数据采集 + 在线训练 + 上板推理(电流/振动/声音)

这个案例可以实现在STM32平台上实现数据记录(datalogging) 功能,并集成 NanoEdge AI 库用于异常检测 / 模型学习 / 推理。包括示例C代码、NanoEdge AI 所需库、硬件连接说明、多个开发板与传感器的组合支持。
关注我:回复“stm32ai-nanoedge”可以获取到小编已经为读者朋友准备好的下载链接。
方案4案例:STM32(集成 NPU,如 STM32N6)

这个案例是应用在 STM32N6 系列开发板的入门级图像分类示例工程。它展示了如何利用 STEdgeAI 工具将量化后的AI模型部署到 STM32N6 平台上,并通过Neural-ART NPU 加速器实现高效推理。
包含了完整的图像采集、预处理、分类显示流程,可在STM32N6570-DK
等硬件上运行。
通过该示例,开发者可快速上手 STM32N6 的 AI 部署流程,体验端到端的图像分类应用,从模型生成到实时推理一站式实现。
关注我:回复“stm32 N6”可以获取到小编已经为读者朋友准备好的下载链接。
可以加小编的微信,将上面所有案例一次性共享给您。
推荐几个小编关注的学习AI和大模型的公众号:
935





