不是不想写,只是。。。(懒)
本文为《Python编程快速上手 ——让繁琐工作自动化 第2版》改编
Python操作符
操作符是什么?
学过Java或其他编程语言的都知道,操作符是"+,-,*,/,\"
打开Python交互式环境

会弹出这样一条消息和提示符
如果没有出现,看上面的Python配置教程
消息:
Python 3.11.4 (tags/v3.11.4:d2340ef, Jun 7 2023, 05:45:37) [MSC v.1934 64 bit (AMD64)] on win32
Type "help", "copyright", "credits" or "license" for more information.
<演示的Python版本为3.11.4>
提示符:
>>>
在以后的几个文章里,我们都会用到。只有在开发项目时用编辑器。
在里面输入
print("Hello World!")
出现了

证明你已经成功的写出了Python之路上的第一条代码。
不扯远了,回到正题
什么是操作符?
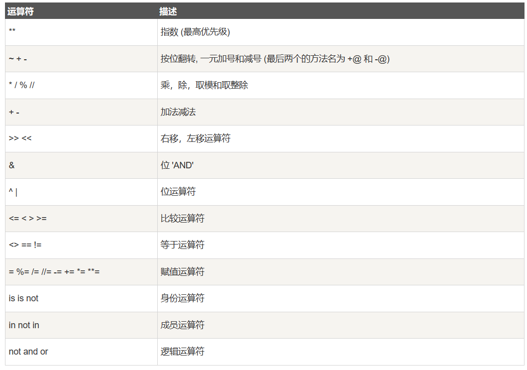
所有操作符和功能都在这几张图里(来源:菜鸟教程)






优先级为:

感觉很多是不是!
你不用全部记住,只需要记住前三张图里的就行!
然后再说说
Python语法
Python的语法并不是很难,会英语单词就行。
由于语法太多,讲到哪里说哪里就行。
上面的print("Hello World!")说明了打印Hello World!
“Hello World!”是一个字符串
Python会打印双引号里的字符串。
print("Hello World!")严格来讲是这样的:
这是一段Python代码,用于输出一个字符串"Hello World!"。
以上就是Python语法和操作符,删改可在评论区说,需要我单独讲的话可以进群<微信>Python技术。感谢。
本文改编自《Python编程快速上手 ——让繁琐工作自动化 第2版》,介绍了Python的操作符,如"+"、"-"等,并简单探讨了Python的语法,包括打印语句`print()`和字符串的使用。建议初学者只需掌握前三张图的操作符优先级。
1万+

被折叠的 条评论
为什么被折叠?



