银尔达IOT物联网开发平台:iot.yinerda.com
更多资料访问:https://yinerda.yuque.com/yt1fh6/iot
功能支持4G设备的连接,管理;支持设备数据点定义,解析,处理,储存,统计;支持微信小程序/APP管理对接;通过电话、短信、微信、邮件等报警信息通知;支持服务与服务器对接;支持服务器边缘计算数据;支持私有化部署,log替换,特殊功能定制。
企业用户就是设计产品的账户。能够创建应用,创建费用套餐,定义产品信息,调试数据等。
在平台入门实例里面已经介绍了研发步骤,创建产品,定义数据点,编辑UI,授权设备,配置设备参数,调试设备等。本文讲究一些非研发功能。
一、应用管理
1.1、创建私有应用
公版应用,如果终端客户需要使用,只能使用银尔达的公版小程序。
私有应用,是付费应用,可以部署自己的小程序,并且必须部署自己的小程序才能使用。私有小程序里面可以展示产品分类,用户余额充值,用户设备续费等功能。
账号可以创建多个私有应用,每个应用要对应一个小程序,独立运行。

点击私有应用上的设置按键可以配置信息。这些信息先去第三方平台申请账号,然后让工程师协助获取和配置,配置好后个人不要轻易去修改,除非你知道自己在做什么,否则会导致系统异常。
应用信息里面可以配置终端用户的续费套餐,通知套餐,充值套餐等信息。

私有应用是付费应用,有利于推广自己的品牌,收费等。如果只是个人使用或者对品牌要求不高,用公版应用即可。
1.2、可视化
点击应用,进入应用详情,可视化目前显示了一些基本功能,设备数量,产品数量,用户数量等。


1.3、产品管理
1.3.1、产品分类
产品分类,方便分类管理,如果是有私有化小程序的,可以显示在小程序的产品列表里面,方便推广展示自己公司产品线。

1.3.2、产品列表
产品列表就是实际定义的产品,包含产品名字,分类这些。
注意创建产品的时候,一定需要选择二级分类,才能创建产品。

1.4、设备管理
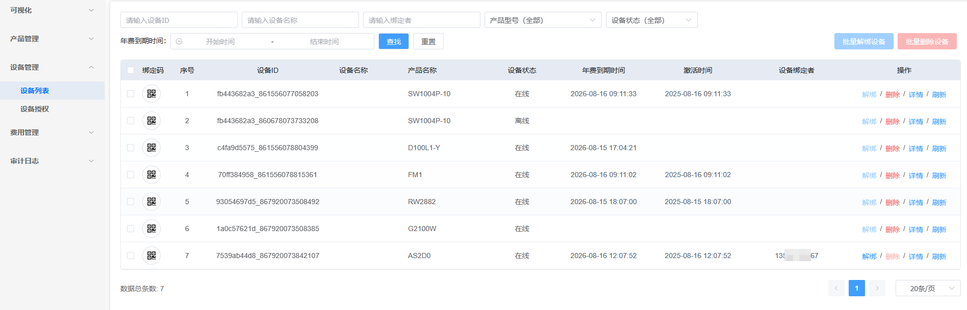
1.4.1、设备列表
设备列表展示了自己的全部设备信息,进入详情后能调试,操作,控制设备。也可以解绑终端用户的绑定关系。
注意如果你的设备是卖给第三方终端用户的,不建议你随便去修改设备的参数,避免影响到终端用户。
绑定码,是设备的绑定二维码,一般是客户找不到了包装的编码后后,可以截图给客户绑定。

1.4.2、设备授权
设备添加到 账户的时候,就需要授权到某个产品,选择授权年限,然后支付费用。
设备授权后不会马上激活设备,只能设备连接平台了才能激活设备。
设备激活后,开始倒计时使用时间。

1.5、费用管理
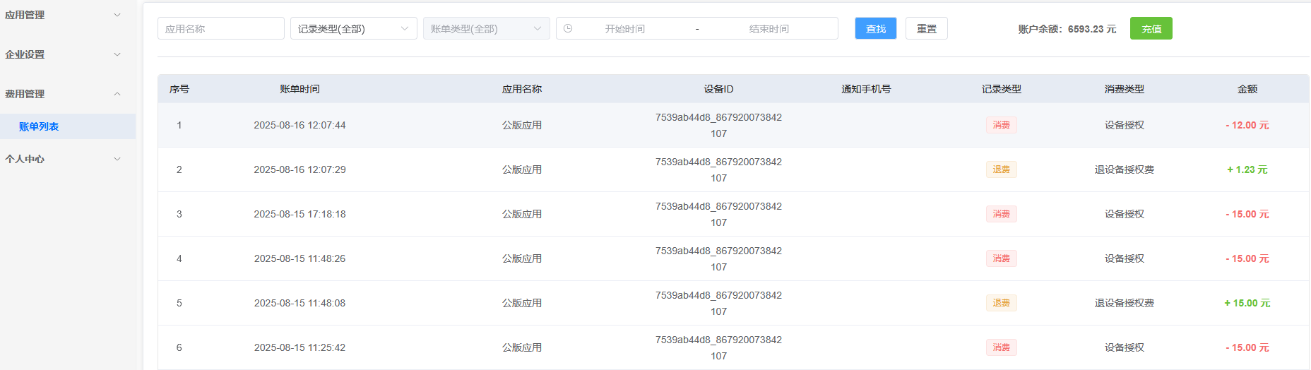
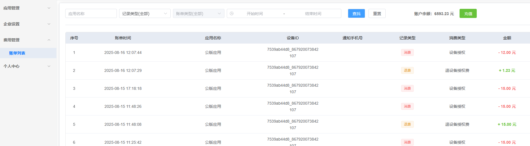
1.5.1、账单列表
账单列表,展示账号全部消耗的费用。包含了账号的终端用户消耗的费用。
如果是公版应用,终端用户说消耗的费用,都是直接扣除企业用户账号的余额。只有私有应用,终端用户才能扣除终端用户账户的余额,然后企业用户与银尔达结算费用成本,企业用户可以赚取中间差额的部分。

二、企业设置
企业设置里面目前有套餐设置。就是创建不同的收费套餐,配置到应用里面。这个只有私有应用才有用。

三、费用管理
费用管理里面能看到消费的详情,包含设备授权,设备续费,退费,电话短信扣费等记录。
注意账号企业用户必须线线下找销售充值,充值到账号后,才能在账号内部进行支付订单。电话、短信,续费都是实时与银尔达结算的,需要保证账户余额充足,否则可能影响自己用户的使用。

四、个人中心
个人中心可以修改账户密码信息

6560

被折叠的 条评论
为什么被折叠?



