什么是方法
作用:可以让相同的功能重复调用执行
写法结构方法声明:
权限修饰符 返回值类型 方法名(形参){
方法体
return 返回值
}
命名一般首单词小写后面的单词首字母大写
方法调用:一般 对象(类)**.**方法名
方法的参数
形参:方法里的定义参数名
实参:传给参数实际的值
当调用时要根据自己的需求传参时,方法需要传入值时要定义参数
方法的返回值
返回值的作用:用于结束方法
有利于后续对该放回值方法返回的值进行使用。
返回值会将返回的值返回给方法调用方,例如前端调用后端接口,后端将结果返回给前端
void无返回值
return返回基本数据类型和引用数据类型
封装思想
将常用的代码写入到一个方法中,通过对象调用
方法的重载
作用:方便记忆,调用
重载:在相同的类中,方法参数类型,个数,顺序不同
重写:面向对象的知识点
重复:方法名完全一样
重载:
0、方法名字一样
1、在同一个类里面
2、方法参数个数不一样
3、方法参数的顺序不一样
4、参数的类型不一样
5、重载跟返回值没有关系
方法递归
方法中自己调用自己可能会造成栈溢出(方法满了),也叫递归,因此我们要设置什么**时候停止**
例如:

方法嵌套调用
不同方法之间的相互调用
方法总节
1、定新(要不要有返回值)没有返回就用void有返回值看具体要返回什么类型
2、参数,具体需要不需要参数
有参无返回值
public static void a(int i){}
有参无返回值
public static void a(int i){}
有参有返回值
public static int a(int i){
return 0
}
无参无返回值
public static void a(){}
无参有返回值
public static inta(){
return 0
)
3、作用:把重复的代码封装到一个方法体内,方便调用
JVM内存图
三大部分:方法区,堆(数据结构),栈
方法区:装字节码文件.class,会将要加载类中的所有调用的类的字节码文件都要加载
堆:装对象用的(引用数据类型)
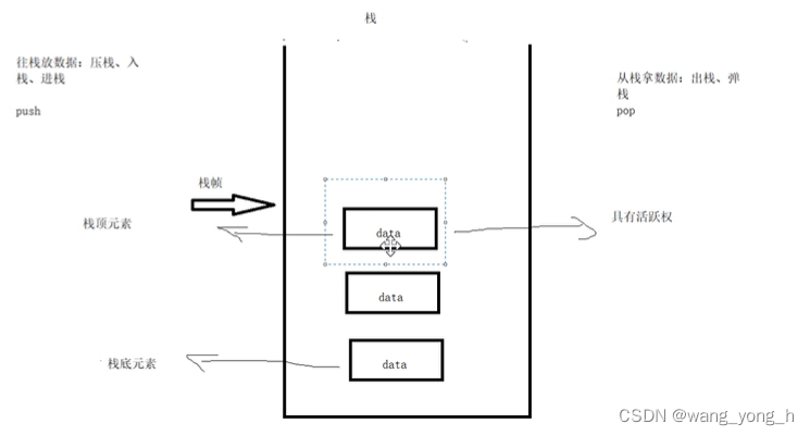
栈:先进后出。程序首先会执行main方法,将main() 方法压入栈底,将要执行的方法,按顺序压栈,执行完一个方法就弹出栈区。
栈结构详解:
单开口,栈顶元素有活跃权,他不出栈底元素就无法出

java程序在jvm的调用例如:
只要调用方法就一定会压栈

d()方法具有活跃权,先出

如何去解决一个问题
1、分析问题
2、描述问题
3、搜索问题
4、解决问题
md5加密不可逆
本文介绍了Java中的方法声明、调用和参数使用,强调了返回值在方法通信中的作用。文章还讨论了方法的重载、递归调用以及方法嵌套的概念。此外,解释了JVM内存模型的三个主要部分:方法区、堆和栈,并提供了问题解决的基本步骤。
114

被折叠的 条评论
为什么被折叠?



