目 录
摘 要
随着信息技术的快速发展,传统考勤方式如打卡机、签到表等已难以满足现代企业管理的需求。这些方式存在代打卡现象严重、数据统计繁琐以及管理效率低下等弊端。为了解决这些问题并提升考勤管理的智能化与安全性,设计并开发了基于深度学习的人脸识别考勤系统。此系统采用Python语言开发,基于Django框架和MySQL数据库,并结合深度学习技术实现高效准确的人脸识别功能。系统支持用户通过账号密码或人脸识别进行注册登录,提供个人信息管理、考勤打卡、请假申请等功能,同时管理员可以进行考勤监管及请假申请审核等操作。
该系统的推出旨在提高企业考勤管理的自动化水平,减少人为干预,增强系统的识别准确率与安全性。通过人脸识别技术的应用,不仅有效防止了代打卡行为,还实现了高效、公正且智能的企业考勤管理模式。无论是管理员还是普通用户,都可以通过本系统高效地完成考勤记录与请假流程的管理,从而极大地提升了企业的管理效率和服务质量。
关键词:Django框架;深度学习;考勤管理;
Abstract
With the rapid development of information technology, traditional attendance methods such as clock in machines and attendance sheets are no longer able to meet the needs of modern enterprise management. These methods have serious drawbacks such as the phenomenon of proxy clock in, cumbersome data statistics, and low management efficiency. In order to address these issues and enhance the intelligence and security of attendance management, a deep learning based facial recognition attendance system has been designed and developed. This system is developed in Python language, based on Django framework and MySQL database, and combined with deep learning technology to achieve efficient and accurate facial recognition function. The system supports users to register and log in through account passwords or facial recognition, providing functions such as personal information management, attendance check-in, and leave application. At the same time, administrators can perform attendance monitoring and leave application review operations.
The launch of this system aims to improve the automation level of enterprise attendance management, reduce human intervention, and enhance the recognition accuracy and security of the system. The application of facial recognition technology not only effectively prevents proxy clock in behavior, but also realizes an efficient, fair, and intelligent enterprise attendance management mode. Both administrators and ordinary users can efficiently manage attendance records and leave processes through this system, greatly improving the management efficiency and service quality of enterprises.
Keywords: Django framework; Deep learning; Attendance management;
第一章 绪 论
1.1研究背景及意义
1.1.1研究背景
随着信息技术的迅猛发展和企业管理需求的日益提升,传统的考勤方式如使用打卡机、签到表等方法逐渐显露出其局限性。这些传统方式不仅容易出现代打卡现象,导致考勤数据失真,而且在数据统计方面耗时费力,难以满足快速反馈与分析的需求[1]。此外,管理效率低下,人工审核流程繁琐,使得企业难以实时准确地掌握员工的出勤情况,进而影响到企业的运营效率和决策制定。面对这些问题,企业和组织迫切需要一种更智能、更高效的解决方案来优化考勤管理流程,提高管理效率,并确保数据的真实性和安全性[2]。基于此,本文提出了开发基于深度学习的人脸识别考勤系统的研究课题。通过利用先进的人脸识别技术和深度学习算法,旨在实现自动化、智能化的考勤管理,从而有效防止作弊行为,简化管理流程,增强系统的准确性和可靠性,为现代企业提供更加便捷、公正、高效的考勤管理服务。
1.1.2研究意义
基于深度学习的人脸识别考勤系统的研究不仅丰富了人工智能技术在实际应用中的理论体系,还推动了人脸识别技术在考勤管理领域的深入发展。通过对深度学习算法的优化与应用,该研究有助于探索更高效、准确的人脸识别方法,为相关领域提供新的思路和技术支持[3]。此外,它也促进了对数据隐私保护、模型训练效率等关键问题的探讨,为进一步提升智能系统的安全性和稳定性奠定了理论基础。
从实际应用角度来看,开发基于深度学习的人脸识别考勤系统能够显著提高企业考勤管理的效率和准确性。该系统可以有效防止代打卡现象,确保考勤数据的真实可靠,为企业提供准确的出勤记录,从而支持公正的薪酬计算和绩效评估。而通过自动化处理考勤信息,减少人工干预,简化管理流程,极大地提高了工作效率,降低了管理成本[4]。此外,系统支持远程操作和实时监控,使得企业管理者可以随时随地掌握员工的出勤情况,增强了管理灵活性和响应速度。最后,人脸识别技术的应用提升了用户体验,用户无需携带任何物理凭证即可完成考勤打卡,方便快捷[5]。综上所述,本研究对于提升企业运营效率、降低管理成本以及改善员工体验具有重要意义。
1.2国内外研究现状
近年来,国内在基于深度学习的人脸识别技术领域取得了显著进展,许多企业和研究机构纷纷开始探索将该技术应用于考勤管理系统。随着人脸识别精度的提高及计算资源的普及,国内的考勤系统逐渐从传统的刷卡打卡方式向人脸识别系统过渡。比如,华为推出的“智能考勤系统”,该系统结合深度学习技术,实现了高效的人脸识别和自动打卡,能够有效减少人为干预,提升考勤数据的准确性[6]。系统的优点在于无需携带卡片或其他设备,员工通过人脸即可完成打卡,极大地提高了便捷性。然而,系统也存在一些不足,如在光线不好的环境下可能会影响识别精度,且仍有可能存在识别错误的情况。
在国外,基于深度学习的人脸识别考勤系统也得到了广泛应用,特别是在一些科技企业和金融机构中。例如,Apple推出的“Face ID”技术,在手机安全认证方面取得了突破性的进展,虽然该技术主要用于个人设备的解锁,但其在考勤系统中的应用同样具有巨大的潜力[7]。其优势在于能够通过精准的面部识别提供便捷、安全的认证手段,且具有较高的准确性。另一方面,系统也存在一定的不足,如在多个用户面部特征相似的情况下,可能出现误识别的情况。此外,系统对于面部特征的依赖性较强,某些面部变化(如戴口罩)可能会影响识别效果。
总体来看,国内外在基于深度学习的人脸识别考勤系统的研究和应用上已经取得了可喜的成果。国内系统在企业应用上较为成熟,尤其在大规模企业的考勤管理中得到了广泛推广,且多注重技术的本地化优化,如支持中英文双语、适应不同光线环境等[8]。而国外则更多注重系统的跨平台兼容性以及与其他智能设备的结合,尤其是在隐私保护和数据安全方面有较严格的法律和技术要求。未来,随着算法的不断优化和硬件设备的提升,国内外的考勤系统将在精度、稳定性及用户体验上实现更大的突破,预计会出现更加智能化、个性化的考勤解决方案。
1.3论文组织结构
本论文共分为七个主要章节,具体结构如下:
1. 绪论:介绍研究背景与意义,回顾国内外研究现状,并概述论文的组织结构。
2. 相关技术介绍:本章节将对基于深度学习的人脸识别考勤系统的实现关键技术进行简要介绍。
3. 需求分析:对系统的功能需求和非功能需求进行分析,明确用户和管理员的需求,并进行可行性分析,包括技术、操作和经济可行性。
4. 系统设计:涵盖系统架构设计、系统模块设计,并进行数据库的概念设计与表设计。
5. 系统实现:具体描述各个功能模块的实现过程,展示系统如何根据需求进行开发。
6. 系统测试:阐述测试的目的,分析测试结果并得出结论,以验证系统的稳定性和功能完整性。
7. 总结:总结研究的主要成果和贡献,指出存在的不足及未来的研究方向。
第二章 关键技术
2.1B/S体系结构
B/S体系[1],即Browser/Server体系,是一种常见的网络应用程序架构。其工作原理基于客户端与服务器之间的请求-响应模型。用户通过浏览器向服务器发送请求,服务器接收到请求后进行处理,并生成相应的响应结果,最终将响应返回给客户端。浏览器接收到服务器返回的响应后,解析其中的标记语言(如HTML[2]),并根据CSS样式表和PythonScript脚本来渲染页面,呈现给用户。用户可以与页面进行交互,例如点击链接、填写表单等操作,这些操作会触发新的请求,循环执行上述过程。
2.2Django框架
Django是一个使用Python语言开发的Web应用程序框架[3]。它提供了一种简单而强大的方式来构建复杂的网站和应用程序。通过使用Django,开发人员可以更轻松地处理数据库、创建用户界面和处理用户请求。它还提供了一个自动生成管理界面的功能,使得管理后台数据变得更加简单。Django还具有强大的安全功能,可以保护网站免受常见的网络攻击[4]。总之,Django是一个非常实用和易于学习的框架,适用于各种规模的Web项目。无论你是初学者还是经验丰富的开发人员,都可以从Django的便利性和灵活性中受益。
2.3MySQL数据库
MySQL是一种广泛使用的开源关系型数据库管理系统[5](RDBMS),其稳定性、可靠性和卓越性能使其成为众多应用程序的首选数据库。MySQL支持标准SQL语法,并提供丰富的功能和特性,如事务处理、触发器和存储过程等,以满足开发者对数据管理和操作的需求。MySQL具有良好的可扩展性,支持主从复制、分布式架构和集群部署,适用于各种规模和负载的应用场景。作为一个开源项目,MySQL拥有庞大的用户社区和活跃的开发者社区,为用户提供了丰富的文档、教程和支持资源。总之,MySQL是一款可靠、强大且灵活的关系型数据库管理系统[6],通过其卓越性能和可扩展性,帮助开发者高效地管理和操作数据,并得到了广大用户的认可和应用。
2.4Python语言
Python是一种简洁易读、跨平台且功能强大的编程语言[7]。它拥有庞大而活跃的社区,提供了丰富的第三方库和框架,如NumPy、Pandas和Django,使开发人员能够快速构建各种应用程序。Python在数据处理和科学计算方面表现出色,通过相关库和工具,可以进行数据分析、机器学习和科学计算等任务。此外,Python广泛应用于Web开发[8]、自动化脚本、网络爬虫等领域,其多样性使其成为一个全能的编程语言。无论你是初学者还是有经验的开发者,Python的简单语法、跨平台性以及强大的社区支持都能为你提供高效、优雅和可靠的编程体验。总之,Python是一个强大而灵活的编程语言,深受开发人员喜爱,并在各个领域得到广泛应用。
2.5深度学习介绍
深度学习(Deep Learning)是人工智能领域中的重要技术分支,其核心思想是模拟人脑神经网络的结构与运行机制,通过构建多层神经网络自动从大量数据中提取特征并进行学习。与传统机器学习方法相比,深度学习不依赖人工特征提取,能够在图像识别、语音识别、自然语言处理等复杂任务中展现出强大的表现能力。常见的深度学习模型包括卷积神经网络(CNN)、循环神经网络(RNN)和生成对抗网络(GAN)等,其中CNN广泛应用于图像处理和人脸识别领域,能够有效提取图像中的空间特征,从而实现精准识别。
深度学习技术的发展得益于大数据的积累、高性能计算资源(如GPU)的普及以及算法优化的持续推进。当前,它已成为智能化系统的重要支撑技术,尤其在人脸识别考勤系统中,能够通过自动学习面部特征实现高效、精准的身份识别。然而,深度学习也面临诸如对大量标注数据的依赖、训练资源消耗大以及模型可解释性不足等挑战。随着研究的深入与技术的不断进化,深度学习将在更加广泛的领域发挥关键作用,助力智能系统的普及与升级。
第三章 系统分析
3.1系统可行性分析
3.1.1技术可行性
本系统基于Python语言开发,采用成熟的Django框架和MySQL数据库,结合深度学习中的人脸识别技术(如OpenCV、FaceNet等),具备良好的技术支持和开发基础。当前人脸识别算法已较为成熟,且硬件设备(如摄像头)普及度高,能够满足系统的识别精度与实时性要求,技术实现可行。
3.1.2经济可行性
系统开发初期需投入一定的人力与时间成本,但所使用的技术均为开源框架,无需高昂的授权费用,后期部署和维护成本较低。相较于传统考勤方式的人工管理成本,该系统可大幅减少人力开支,提升管理效率,具有较高的性价比和长期应用价值。
3.1.3操作可行性
系统界面简洁友好,用户可通过账号密码或人脸识别进行登录和打卡操作,管理员也可方便地进行数据监管与审批管理。操作流程清晰直观,无需专业培训即可上手使用,符合企业日常办公习惯,具备良好的用户体验和推广基础。
3.2系统功能分析
3.2.1功能性分析
基于深度学习的人脸识别考勤系统划分为了普通用户模块和管理员模块两大部分。
普通用户模块:
注册:用户可以通过填写账号和密码完成注册,之后使用相同的凭据进行登录。为了增加安全性,系统还支持通过人脸或图片识别技术进行登录验证,提供更便捷且安全的用户体验。
后台首页:用户登录后进入后台首页,可查看个人考勤状态、打卡记录、请假审批进度等核心信息,界面简洁直观。
个人信息:用户可查看并编辑个人资料,如姓名、性别、年龄、联系方式等,确保系统中人员信息的准确性和时效性。
修改密码:为保障账户安全,用户可随时修改登录密码,需输入旧密码并设置符合规范的新密码完成更新操作。
考勤打卡管理:用户可进行考勤打卡操作,选择打卡类型(如上班、下班),填写打卡时间及备注信息,并支持查询、删除或重置打卡记录。
请假申请管理:用户可提交请假申请,选择请假类型(如事假、病假等),填写请假日期与原因,待管理员审核结果,并可对记录进行查询或删除。
管理员模块:
登录:后端管理员模块的登录功能要求管理员输入账号和密码进行身份验证。为了增加安全性,还支持通过人脸或图片识别技术进行二次验证,确保只有授权的管理员能够访问系统。
后台首页:管理员可对系统用户的全面管理功能入口,包括用户管理、考勤打卡监管及请假申请审核等核心模块的快捷访问,便于高效管理工作。
系统用户:管理员可以查看和管理所有注册用户的信息,包括管理员和普通用户的详细资料。此功能允许管理员添加新用户、修改用户信息或删除用户,确保系统的用户数据准确无误。
考勤打卡管理:管理员能够查询所有用户的考勤记录,查看具体详情,并在必要时进行删除操作。此外,管理员还可以监督并审核员工的考勤情况,确保公司考勤制度的严格执行。
请假申请管理:管理员可以通过此功能查看所有用户的请假申请,根据实际情况进行审核并回复处理结果。这不仅保证了请假流程的透明度和规范性,也方便了管理层对公司人力资源的有效调配和管理。
3.2.2非功能性分析
基于深度学习的人脸识别考勤系统的非功能性需求比如基于深度学习的人脸识别考勤系统的安全性怎么样,可靠性怎么样,性能怎么样,可拓展性怎么样等,具体可以表示在如下3-1表格中:
表3-1基于深度学习的人脸识别考勤系统非功能需求表
| 安全性 | 主要指基于深度学习的人脸识别考勤系统数据库的安装,数据库的使用和密码的设定必须合乎规范。 |
| 可靠性 | 可靠性是指基于深度学习的人脸识别考勤系统能够安装用户的指示进行操作,经过测试,可靠性90%以上。 |
| 性能 | 性能是影响基于深度学习的人脸识别考勤系统占据市场的必要条件,所以性能最好要佳才好。 |
| 可扩展性 | 比如数据库预留多个属性,比如接口的使用等确保了系统的非功能性需求。 |
| 易用性 | 用户只要跟着基于深度学习的人脸识别考勤系统的页面展示内容进行操作,就可以了。 |
| 可维护性 | 基于深度学习的人脸识别考勤系统开发的可维护性是非常重要的,经过测试,可维护性没有问题 |
3.3系统用例分析
基于深度学习的人脸识别考勤系统的完整UML用例图分别是图3-1、3-2、3-3。
普通用户角色用例如下图所示。

图3-1基于深度学习的人脸识别考勤系统普通用户角色用例图
管理员角色用例如下图所示。

图3-2基于深度学习的人脸识别考勤系统管理员角色用例图
3.4系统总体流程设计
3.4.1数据开发流程
系统开发流程的主要步骤,从需求分析到系统完成的全过程。流程包括需求分析、总体设计(结构、功能、数据)、详细设计(模块、编码)、模块整合与调用,以及测试、扩展和完善,最终完成系统的开发。本系统的开发流程如下图所示

图3-3系统开发流程图
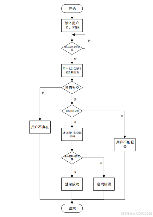
3.4.2用户登录流程
用户输入用户名和密码后,系统先检查输入是否为空,再验证用户名是否存在,若存在则通过用户名获取密码并校验。若密码正确则登录成功,否则提示密码错误。若用户名不存在或无法登录,提示用户操作无效。如下图所示。

图3-4登录流程图
3.4.3系统操作流程
用户首先进入系统登录界面,输入用户名和密码后,系统验证信息是否正确。若验证失败,返回登录界面重新输入,若验证成功,则进入功能界面,执行相应功能处理后结束操作流程。操作流程如下图所示。

图3-5系统操作流程图
3.4.4添加信息流程
管理员可以添加信息,用户添加可以自己权限内的信息,输入信息后,要想利用这个软件来进行系统的安全管理,首先需要登录到该软件中。添加信息流程如下图所示。

图3-6添加信息流程图
3.4.5修改信息流程
用户首先选择需要修改的记录,输入修改后的数据,系统判断输入数据是否合法。若数据不合法,提示重新输入,若数据合法,则将修改后的数据写入数据库,完成操作后流程结束。修改信息流程图如下图所示。

图3-7修改信息流程图
3.4.6删除信息流程
用户选择需要删除的记录后,系统判断是否确认删除。若未确认,返回选择环节,若确认删除,则更新数据库,删除对应记录,完成操作后流程结束。删除信息流程图如下图所示。

图3-8删除信息流程图
第四章 总体设计
本章主要讨论的内容包括基于深度学习的人脸识别考勤系统的功能模块设计、数据库系统设计。
4.1系统架构设计
在系统架构设计中,我将确定系统的整体结构和组件之间的关系。这包括选择适当的架构风格,划分系统的层次结构,并定义各个模块的职责和交互方式。架构图如下图所示。
图4-1系统架构设计图
表示层(Presentation Layer):负责与用户进行交互,将系统的功能和数据以易于理解和操作的方式展示给用户。通常包括用户界面、页面设计和用户输入验证等。
业务逻辑层(Business Logic Layer):处理系统的核心业务逻辑,包括对用户请求的处理、业务规则的执行以及数据的处理和转换。它独立于表现层和数据层,实现了业务逻辑的封装和复用。
数据层(Data Layer):负责数据的存储、访问和管理,包括数据库和持久化机制。数据层提供了对数据的增删改查操作,并与业务逻辑层进行交互,使系统能够有效地存储和检索数据。
这三个层次相互独立,通过明确的接口和协议进行通信,实现了系统的模块化和可扩展性。表现层负责将用户的请求传递给业务逻辑层,业务逻辑层处理请求并返回结果,最后数据层负责与数据库交互并提供数据支持。这种分层架构有助于实现系统的可维护性、灵活性和可测试性。
4.2系统模块设计
在上一章节中主要对系统的功能性需求和非功能性需求进行分析,并且根据需求分析了本基于深度学习的人脸识别考勤系统中的用例。那么接下来就要开始对本基于深度学习的人脸识别考勤系统的架构、主要功能和数据库开始进行设计。基于深度学习的人脸识别考勤系统根据前面章节的需求分析得出,基于深度学习的人脸识别考勤系统的功能模块图如下图所示。

图4-1基于深度学习的人脸识别考勤系统功能模块图
4.3数据库设计
数据库设计是系统开发中至关重要的一环,它涉及到数据的组织、存储和管理。在数据库设计中,我将根据系统的需求设计数据库的概念结构和逻辑结构,包括定义实体、属性、关系和约束等。
顶层数据流是指系统与外部实体之间的数据流动,描述了系统的整体数据流。在基于深度学习的人脸识别考勤系统中,顶层数据流包括旅游用户查看信息、管理员处理各类信息等。
系统的顶层数据流图如下图所示。

图4-2系统数据流图(顶层)
底层数据流程图是对顶层数据流程图的细化,系统的底层数据流图如下图所示。
图4-3系统数据流图(底层)
4.4数据库设计
数据库设计一般包括需求分析、概念模型设计、数据库表建立三大过程,其中需求分析前面章节已经阐述,概念模型设计有概念模型和逻辑结构设计两部分。
4.4.1数据库概念结构设计
数据库概念结构设计主要涉及数据库的实体和实体之间的关系。通过实体-关系模型或者其他适当的模型,我将定义系统中涉及的各个实体以及它们之间的联系。下面我将罗列主要的实体属性图和系统E-R图。
基于深度学习的人脸识别考勤系统总体E-R图如下图所示:

图4-4基于深度学习的人脸识别考勤系统总E-R关系图
4.4.2数据库逻辑结构设计
通过上一小节中基于深度学习的人脸识别考勤系统中总E-R关系图上得出一共需要创建多个数据表。在此主要罗列几个主要的数据库表结构设计。
表 4-1-access_token(登陆访问时长)
| 编号 | 字段名 | 类型 | 长度 | 是否非空 | 是否主键 | 注释 |
| 1 | token_id | int | 是 | 是 | 临时访问牌ID | |
| 2 | token | varchar | 64 | 否 | 否 | 临时访问牌 |
| 3 | info | text | 65535 | 否 | 否 | 信息 |
| 4 | maxage | int | 是 | 否 | 最大寿命:默认2小时 | |
| 5 | create_time | timestamp | 是 | 否 | 创建时间 | |
| 6 | update_time | timestamp | 是 | 否 | 更新时间 | |
| 7 | user_id | int | 是 | 否 | 用户编号 |
表 4-2-auth(用户权限管理)
| 编号 | 字段名 | 类型 | 长度 | 是否非空 | 是否主键 | 注释 |
| 1 | auth_id | int | 是 | 是 | 授权ID | |
| 2 | user_group | varchar | 64 | 否 | 否 | 用户组 |
| 3 | mod_name | varchar | 64 | 否 | 否 | 模块名 |
| 4 | table_name | varchar | 64 | 否 | 否 | 表名 |
| 5 | page_title | varchar | 255 | 否 | 否 | 页面标题 |
| 6 | path | varchar | 255 | 否 | 否 | 路由路径 |
| 7 | parent | varchar | 64 | 否 | 否 | 父级菜单 |
| 8 | parent_sort | int | 是 | 否 | 父级菜单排序 | |
| 9 | position | varchar | 32 | 否 | 否 | 位置 |
| 10 | mode | varchar | 32 | 是 | 否 | 跳转方式 |
| 11 | add | tinyint | 是 | 否 | 是否可增加 | |
| 12 | del | tinyint | 是 | 否 | 是否可删除 | |
| 13 | set | tinyint | 是 | 否 | 是否可修改 | |
| 14 | get | tinyint | 是 | 否 | 是否可查看 | |
| 15 | field_add | text | 65535 | 否 | 否 | 添加字段 |
| 16 | field_set | text | 65535 | 否 | 否 | 修改字段 |
| 17 | field_get | text | 65535 | 否 | 否 | 查询字段 |
| 18 | table_nav_name | varchar | 500 | 否 | 否 | 跨表导航名称 |
| 19 | table_nav | varchar | 500 | 否 | 否 | 跨表导航 |
| 20 | option | text | 65535 | 否 | 否 | 配置 |
| 21 | create_time | timestamp | 是 | 否 | 创建时间 | |
| 22 | update_time | timestamp | 是 | 否 | 更新时间 |
表 4-3-clock_in_attendance(考勤打卡)
| 编号 | 字段名 | 类型 | 长度 | 是否非空 | 是否主键 | 注释 |
| 1 | clock_in_attendance_id | int | 是 | 是 | 考勤打卡ID | |
| 2 | ordinary_user | int | 否 | 否 | 普通用户 | |
| 3 | user_name | varchar | 64 | 否 | 否 | 用户姓名 |
| 4 | punch_in_type | varchar | 64 | 否 | 否 | 打卡类型 |
| 5 | clock_in_time | datetime | 否 | 否 | 打卡时间 | |
| 6 | clock_in_remarks | text | 65535 | 否 | 否 | 打卡备注 |
| 7 | create_time | datetime | 是 | 否 | 创建时间 | |
| 8 | update_time | timestamp | 是 | 否 | 更新时间 |
表 4-4-code_token(验证码)
| 编号 | 字段名 | 类型 | 长度 | 是否非空 | 是否主键 | 注释 |
| 1 | code_token_id | int | 是 | 是 | 验证码ID | |
| 2 | token | varchar | 255 | 否 | 否 | 令牌 |
| 3 | code | varchar | 255 | 否 | 否 | 验证码 |
| 4 | expire_time | timestamp | 是 | 否 | 失效时间 | |
| 5 | create_time | timestamp | 是 | 否 | 创建时间 | |
| 6 | update_time | timestamp | 是 | 否 | 更新时间 |
表 4-5-hits(用户点击)
| 编号 | 字段名 | 类型 | 长度 | 是否非空 | 是否主键 | 注释 |
| 1 | hits_id | int | 是 | 是 | 点赞ID | |
| 2 | user_id | int | 是 | 否 | 点赞人 | |
| 3 | create_time | timestamp | 是 | 否 | 创建时间 | |
| 4 | update_time | timestamp | 是 | 否 | 更新时间 | |
| 5 | source_table | varchar | 255 | 否 | 否 | 来源表 |
| 6 | source_field | varchar | 255 | 否 | 否 | 来源字段 |
| 7 | source_id | int | 是 | 否 | 来源ID |
表 4-6-leave_application(请假申请)
| 编号 | 字段名 | 类型 | 长度 | 是否非空 | 是否主键 | 注释 |
| 1 | leave_application_id | int | 是 | 是 | 请假申请ID | |
| 2 | ordinary_user | int | 否 | 否 | 普通用户 | |
| 3 | user_name | varchar | 64 | 否 | 否 | 用户姓名 |
| 4 | leave_type | varchar | 64 | 否 | 否 | 请假类型 |
| 5 | leave_date | date | 否 | 否 | 请假日期 | |
| 6 | reason_for_leave | text | 65535 | 否 | 否 | 请假原因 |
| 7 | examine_state | varchar | 16 | 是 | 否 | 审核状态 |
| 8 | examine_reply | varchar | 255 | 否 | 否 | 审核回复 |
| 9 | create_time | datetime | 是 | 否 | 创建时间 | |
| 10 | update_time | timestamp | 是 | 否 | 更新时间 |
表 4-7-ordinary_user(普通用户)
| 编号 | 字段名 | 类型 | 长度 | 是否非空 | 是否主键 | 注释 |
| 1 | ordinary_user_id | int | 是 | 是 | 普通用户ID | |
| 2 | user_name | varchar | 64 | 否 | 否 | 用户姓名 |
| 3 | user_gender | varchar | 64 | 否 | 否 | 用户性别 |
| 4 | user_age | varchar | 64 | 否 | 否 | 用户年龄 |
| 5 | examine_state | varchar | 16 | 是 | 否 | 审核状态 |
| 6 | user_id | int | 是 | 否 | 用户ID | |
| 7 | create_time | datetime | 是 | 否 | 创建时间 | |
| 8 | update_time | timestamp | 是 | 否 | 更新时间 |
表 4-8-upload(文件上传)
| 编号 | 字段名 | 类型 | 长度 | 是否非空 | 是否主键 | 注释 |
| 1 | upload_id | int | 是 | 是 | 上传ID | |
| 2 | name | varchar | 64 | 否 | 否 | 文件名 |
| 3 | path | varchar | 255 | 否 | 否 | 访问路径 |
| 4 | file | varchar | 255 | 否 | 否 | 文件路径 |
| 5 | display | varchar | 255 | 否 | 否 | 显示顺序 |
| 6 | father_id | int | 否 | 否 | 父级ID | |
| 7 | dir | varchar | 255 | 否 | 否 | 文件夹 |
| 8 | type | varchar | 32 | 否 | 否 | 文件类型 |
表 4-9-user(用户账户)
| 编号 | 字段名 | 类型 | 长度 | 是否非空 | 是否主键 | 注释 |
| 1 | user_id | int | 是 | 是 | 用户ID | |
| 2 | state | smallint | 是 | 否 | 账户状态:(1可用|2异常|3已冻结|4已注销) | |
| 3 | user_group | varchar | 32 | 否 | 否 | 所在用户组 |
| 4 | login_time | timestamp | 是 | 否 | 上次登录时间 | |
| 5 | phone | varchar | 11 | 否 | 否 | 手机号码 |
| 6 | phone_state | smallint | 是 | 否 | 手机认证:(0未认证|1审核中|2已认证) | |
| 7 | username | varchar | 16 | 是 | 否 | 用户名 |
| 8 | nickname | varchar | 16 | 否 | 否 | 昵称 |
| 9 | password | varchar | 64 | 是 | 否 | 密码 |
| 10 | | varchar | 64 | 否 | 否 | 邮箱 |
| 11 | email_state | smallint | 是 | 否 | 邮箱认证:(0未认证|1审核中|2已认证) | |
| 12 | avatar | varchar | 255 | 否 | 否 | 头像地址 |
| 13 | open_id | varchar | 255 | 否 | 否 | 针对获取用户信息字段 |
| 14 | create_time | timestamp | 是 | 否 | 创建时间 |
表 4-10-user_group(用户组)
| 编号 | 字段名 | 类型 | 长度 | 是否非空 | 是否主键 | 注释 |
| 1 | group_id | mediumint | 是 | 是 | 用户组ID | |
| 2 | display | smallint | 是 | 否 | 显示顺序 | |
| 3 | name | varchar | 16 | 是 | 否 | 名称 |
| 4 | description | varchar | 255 | 否 | 否 | 描述 |
| 5 | source_table | varchar | 255 | 否 | 否 | 来源表 |
| 6 | source_field | varchar | 255 | 否 | 否 | 来源字段 |
| 7 | source_id | int | 是 | 否 | 来源ID | |
| 8 | register | smallint | 否 | 否 | 注册位置 | |
| 9 | create_time | timestamp | 是 | 否 | 创建时间 | |
| 10 | update_time | timestamp | 是 | 否 | 更新时间 |
第五章 详细设计与实现
基于深度学习的人脸识别考勤系统的详细设计与实现主要是根据前面的基于深度学习的人脸识别考勤系统的需求分析和基于深度学习的人脸识别考勤系统的总体设计来设计页面并实现业务逻辑。主要从基于深度学习的人脸识别考勤系统界面实现、业务逻辑实现这两部分进行介绍。
5.1普通用户功能模块
5.1.1用户注册模块
不是基于深度学习的人脸识别考勤系统中正式用户的是可以在线进行注册的,当填写上自己的账号+设置密码+确认密码+昵称+邮箱+手机号+身份+用户姓名+用户性别等信息后再点击“注册”按钮后将会先验证输入的有没有空数据,再次验证密码和确认密码是否是一样的,最后验证输入的账户名和数据库表中已经注册的账户名是否重复,只有都验证没问题后即可用户注册成功。其用户注册模块展示如下图所示。

图5-1注册模块图
5.1.2用户登录模块
基于深度学习的人脸识别考勤系统中的前台上注册后的用户是可以通过自己的用户名+密码+人脸识别进行登录的,当用户输入完整的自己的用户名+密码信息+人脸识别并点击“登录”按钮后,将会首先验证输入的有没有空数据,再次验证输入的用户名+密码+人脸识别和数据库中当前保存的用户信息是否一致,只有在一致后将会登录成功并自动跳转到基于深度学习的人脸识别考勤系统中,否则将会提示相应错误信息,登录模块如下图所示。

图5-2登录模块图
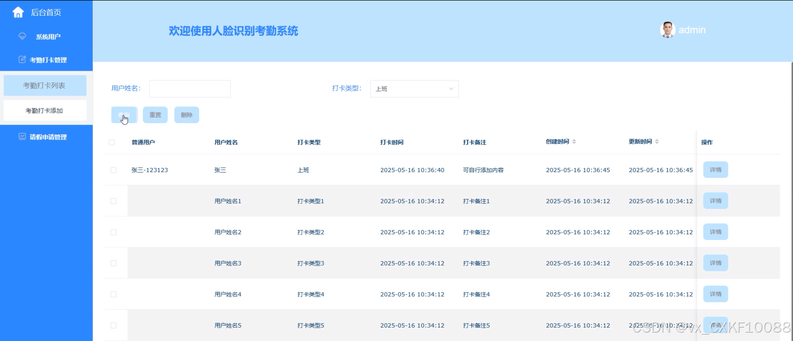
5.1.3考勤打卡管理模块
用户可通过系统进行考勤打卡,选择打卡类型(如上班、下班),并设置打卡时间及备注。支持查询、重置、删除历史考勤记录,确保考勤数据的准确和灵活管理。模块如下图所示:

图5-3考勤打卡模块图
5.1.4请假申请管理模块
用户可以提交请假申请,选择请假类型(如休假、病假、事假等),并填写请假日期和原因。管理员将在后台审核并回复申请,提供实时查询与管理功能,简化了请假流程。模块如下图所示。

图5-4请假申请模块图
5.1.5修改密码模块
为保障账户安全,用户可随时修改登录密码,需输入旧密码并设置符合规范的新密码完成更新操作。模块如下图所示。

图5-5修改密码模块图
5.2管理员功能模块
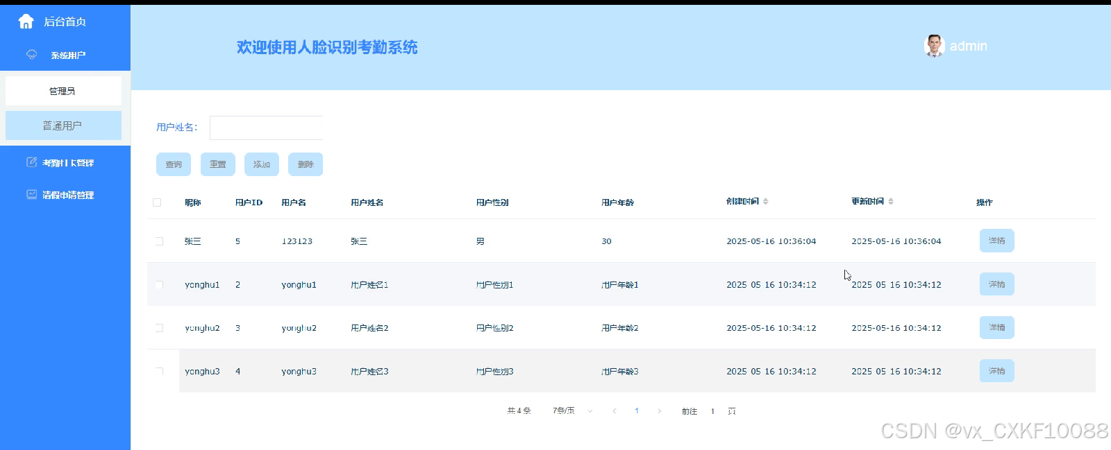
5.2.1系统用户模块
管理员可以查看和管理系统中的所有用户,包括普通用户和管理员。管理员可以对用户进行查询、重置密码或删除等操作,确保系统的安全性和秩序。流程图如下所示。

图5-6用户管理流程图
系统用户模块如下图所示。

图5-7系统用户模块图
5.2.2考勤打卡管理模块
管理员能够查询所有用户的考勤记录,查看具体详情,并在必要时进行删除操作。此外,管理员还可以监督并审核员工的考勤情况,确保公司考勤制度的严格执行。模块如下图所示。

图5-8考勤打卡管理模块图
5.2.3请假申请管理模块
管理员可以通过此功能查看所有用户的请假申请,根据实际情况进行审核并回复处理结果。这不仅保证了请假流程的透明度和规范性,也方便了管理层对公司人力资源的有效调配和管理。模块如下图所示。

图5-9审核请假模块图
第六章 系统测试
6.1系统测试的目的
测试的主要目的是确保系统的功能和性能满足预期的需求,同时识别和修复潜在的缺陷。通过系统测试,可以验证各个功能模块的正确性和稳定性,确保系统在不同使用场景下的表现符合设计要求。测试目的包括确认系统功能的完整性、验证数据处理的准确性、评估系统的性能和安全性。测试还可以提高用户满意度,保证用户在使用系统时获得流畅和可靠的体验。通过全面的测试,可以降低后期维护成本,减少系统上线后出现故障的风险,从而保障系统的长期稳定运行。
6.2测试方法
在本系统中,测试方法主要依赖于测试用例的设计与执行。测试用例是根据系统需求文档编写的,覆盖所有功能模块及其边界情况。每个测试用例包含输入数据、预期结果和实际结果的对比,以验证系统的功能是否按预期工作。
常见的测试用例包括功能测试用例、边界测试用例和异常测试用例。功能测试用例针对系统的各项功能进行验证;边界测试用例则侧重于输入数据的边界条件,验证系统在极端情况下是否能够稳定运行;异常测试用例则用于验证系统在处理错误输入或异常情况时的反应。本文选择功能测试用例进行系统测试。
在测试执行过程中,记录每个用例的执行结果,并根据实际结果与预期结果的对比,判断系统是否存在缺陷。通过系统化的测试用例执行,可以有效提高测试的覆盖率和效率,为系统的最终上线提供保障。
6.3测试用例
6.3.1用户登录功能测试
表6-1 用户登录功能测试表
| 用例名称 | 用户登录系统 |
| 目的 | 测试用户通过正确的用户名和密码可否登录功能 |
| 前提 | 未登录的情况下 |
| 测试流程 | 1) 进入登录页面 2) 输入正确的用户名和密码 |
| 预期结果 | 用户名和密码正确的时候,跳转到登录成功界面,反之则显示错误信息,提示重新输入 |
| 实际结果 | 实际结果与预期结果一致 |
6.3.2创建数据测试
在系统中,创建功能也是基础功能之一,因此创建功能的测试很有代表性。在此章节主要列举在创建时各种情况下系统结果的测试。由于系统涉及创建功能操作过多,因此将多处统称创建功能。
创建数据用例如表6-2 所示。
表6-2 创建数据测试用例
| 测试用例编号 | YL_02 | |
| 测试用例名称 | 系统使用者进行创建数据 | |
| 测试用例描述 | 使用者输入要创建的数据 | |
| 系统入口 | 浏览器 | |
| 步骤 | 预期结果 | 实际结果 |
| 输入完整并且格式正确的数据 | 提示“创建成功”,并显示所有数据 | 预期结果 |
| 核心位置数据但非必要位置不输入数据 | 提示“创建成功”,并显示所有数据 | 预期结果 |
| 核心数据位置不输入数据 | 提示“创建失败” | 预期结果 |
6.3.3修改数据测试
在系统中,修改功能是系统主要实现功能,因此修改功能的测试很有代表性。在此章节主要列举在修改时各种情况下系统结果的测试。由于系统涉及修改功能操作过多,因此将多处数据表记录修改和状态修改统称修改功能。
修改数据用例如表6-3所示。
表6-3 修改数据测试用例
| 测试用例编号 | YL_03 | |
| 测试用例名称 | 系统使用者进行修改数据 | |
| 测试用例描述 | 使用者对可修改的数据项进行修改 | |
| 系统入口 | 浏览器 | |
| 步骤 | 预期结果 | 实际结果 |
| 将现有数据修改成正确的数据 | 提示“修改成功”,并显示所有数据 | 预期结果 |
| 将现有数据修改成错误的数据 | 提示“修改失败” | 预期结果 |
6.3.4查询数据测试
在系统中,查询功能是使用系统使用最多也是最基础的功能,因此查询功能的测试很有代表性。在此章节主要列举在查询时各种情况下系统结果的测试。
查询数据用例如表6-4所示。
表6-4 查询数据测试用例
| 测试用例编号 | YL_04 | |
| 测试用例名称 | 系统使用者进行查询数据 | |
| 测试用例描述 | 全部查询以及输入关键词查询 | |
| 系统入口 | 浏览器 | |
| 步骤 | 预期结果 | 实际结果 |
| 界面自动查询全部 | 显示对应所有记录 | 预期结果 |
| 输入已存在且能匹配成功的关键字 | 显示所查询到的数据 | 预期结果 |
| 输入不存在的关键字 | 显示数据界面为空 | 预期结果 |
6.4测试结果
在本次测试的过程主要针对所有功能下的添加操作,修改操作和删除操作,并以真实数据一一进行相关功能项目的输入,最终能够保证每个项目涉及的功能都能够正常运行,因此能够保证本次设计的,已实现的功能能够正常运行并且相关数据库的信息也同样保证正确。
结 论
本文通过采用Python编程语言、Django框架以及MySQL数据库,结合深度学习技术,成功开发了一套高效的人脸识别考勤系统。系统实现了用户注册登录、个人信息管理、考勤打卡和请假申请等功能,支持人脸识别与传统账号密码双重登录方式,极大提升了考勤管理的便捷性和准确性。
在项目推进过程中,深入了解了深度学习算法优化及应用,积累了宝贵的技术实践经验,并认识到数据安全与隐私保护的重要性。
未来,随着技术不断发展,期望进一步提升系统的适应性和智能化水平,特别是在复杂环境下的识别能力,为用户提供更加稳定可靠的服务。此外,探索与其他智能办公系统的集成可能性,将有助于打造更加全面高效的数字化办公解决方案。
参考文献
- 张亮敬,姚国鹏,吴作洲.基于人脸识别的课堂考勤系统设计与实现[J].无线互联科技,2024,21(22):23-27.
- 郭顺超,庞成,韩旭日.基于人脸识别的课堂考勤管理系统设计与实现[J].无线互联科技,2024,21(17):54-57.
- 赵永丽.基于人脸识别的人力资源远程线上考勤系统[J].自动化技术与应用,2024,43(08):167-171.
- 苏昌亚.电子考勤系统设计与应用[J].工业控制计算机,2024,37(05):126-128.
- 唐琳.基于人脸识别技术的学生课堂考勤管理系统的设计与实现[J].数字技术与应用,2023,41(09):208-210.
- 李国平,李小纳.基于人脸识别的智慧教室学生考勤系统设计[J].信息与电脑(理论版),2023,35(16):130-132.
- Satria* J L ,Kamsin F I,Zainal K N.Face-Nest, Facial Recognition Attendance System with Timestamp Logs: An Information System Security Approach[J].International Journal of Information and Education Technology,2023,13(8):
- 董亚蕾,张师宁,武旭聪.基于小人脸识别的高校课堂考勤系统研究[J].现代信息科技,2023,7(12):62-65.
- Xuexiao C .Study on Student Attendance System Based on Face Recognition[J].Journal of Physics: Conference Series,2023,2492(1):
- 张苗苗.基于特征增强的低质量人脸识别方法研究与应用[D].电子科技大学,2023.002227.
- Mohd H M K ,Norliza Z ,Lucyantie M , et al.Online attendance system based on facial recognition with face mask detection.[J].Multimedia tools and applications,2023,82(22):21-21.
- 马千知,余灿玲.基于深度学习的人脸识别课堂考勤系统设计[J].信息与电脑(理论版),2023,35(02):87-89.
- 黄勇.基于人脸识别的学校考勤系统设计[J].电脑编程技巧与维护,2023,(01):127-130.DOI:10.16184/j.cnki.comprg.2023.01.004.
- 吴祥美.基于深度学习人脸识别的智慧课堂考勤系统[J].景德镇学院学报,2022,37(03):28-31.
- Kwei T W ,Hsun Y L ,Ping K L .Application of AI Face Recognition Technology in Swipe Card Attendance Systems for Hospitals[J].Proceedings of Engineering and Technology Innovation,2022,2101-09.
- 邓熠,毕磊,薛甜,等.基于深度学习的人脸识别课堂考勤系统的实现[J].无线互联科技,2021,18(14):50-52+60.
- 张艺赢.考勤系统中的动态人脸识别方法研究[D].大连海事大学,2020.000309.
- 徐建峰,孙浩,陆萍,等.基于深度学习的人脸识别会议考勤系统开发[J].现代计算机,2020,(13):86-89.
- 罗浩.基于人脸识别的考勤系统设计与实现[D].西南大学,2020.001277.
- 刘杰,孙立民.深度学习人脸识别技术在考勤系统的应用[J].智能计算机与应用,2020,10(02):17-22.
致 谢
基于深度学习的人脸识别考勤系统设计与实现工作已结束,虽然过程中充满挑战,但内心充满自豪和满足。感谢大学四年间教导我的所有老师,他们的专业知识与人生智慧让我成长为能独立完成系统的学生。特别感谢指导老师,他耐心解答疑惑,引导我解决问题,提升自主解决能力。室友和同学们的宝贵建议和支持也让我取得长足进步。未来,我将继续努力追求卓越,不辜负所学所悟和老师期望。坚信坚定信念和不懈努力,未来定能取得更辉煌成就。期待更美好未来!
基于深度学习的人脸识别考勤系统设计与实现不仅是技术挑战,挫折和困难是成长的垫脚石,让我更深入理解问题,精确找到解决方案。每次解决问题,都感到满足和自豪。
对于未来,我充满期待和信心。无论道路多崎岖,只要保持坚定信念,持续努力,定能取得更大成就。期待将知识和技能运用到实际中,为社会做出更大贡献。
最后,感谢所有帮助和支持我的人。你们的教诲、鼓励和支持让我有今天的成就。我会继续努力,不辜负期望,为实现更美好的未来而奋斗。
系统关键代码
登录代码如下:
def Login(self, ctx):
print("===================登录=====================")
ret = {
"error": {
"code": 70000,
"message": "账户不存在",
}
}
body = ctx.body
password = md5hash(body["password"]) or ""
obj = service_select("user").Get_obj(
{"username": body["username"]}, {"like": False}
)
if obj:
user_group = service_select("user_group").Get_obj({'name': obj['user_group']}, {"like": False})
if user_group and user_group['source_table'] != '':
user_obj = service_select(user_group['source_table']).Get_obj({"user_id": obj['user_id']}, {"like": False})
if user_obj['examine_state'] == '未通过':
ret = {
"error": {
"code": 70000,
"message": "账户未通过审核",
}
}
return ret
if user_obj['examine_state'] == '未审核':
ret = {
"error": {
"code": 70000,
"message": "账户未审核",
}
}
return ret
if obj["state"] == 1:
if obj["password"] == password:
timeout = timezone.now()
timestamp = int(time.mktime(timeout.timetuple())) * 1000
token = md5hash(str(obj["user_id"]) + "_" + str(timestamp))
ctx.request.session[token] = obj["user_id"]
service_select("access_token").Add(
{"token": token, "user_id": obj["user_id"]}
)
obj["token"] = token
ret = {
"result": {"obj": obj}
}
else:
ret = {
"error": {
"code": 70000,
"message": "密码错误",
}
}
else:
ret = {
"error": {
"code": 70000,
"message": "用户账户不可用,请联系管理员",
}
}
return ctx.response(json.dumps(ret, ensure_ascii=False))
注册代码如下:
def Register(self, ctx):
print("===================注册=====================")
userService = service_select("user")
body = ctx.body
if "username" not in body and body["username"] == '':
return ctx.response(json.dumps({
"error": {
"code": 70000,
"message": "用户名不能为空",
}
}, ensure_ascii=False))
if "user_group" not in body and body["user_group"] == '':
return ctx.response(json.dumps({
"error": {
"code": 70000,
"message": "用户组不能为空",
}
}, ensure_ascii=False))
if "password" not in body and body["password"] == '':
return ctx.response(json.dumps({
"error": {
"code": 70000,
"message": "密码不能为空",
}
}, ensure_ascii=False))
post_param = body
post_param['nickname'] = body["nickname"] or ""
post_param['password'] = md5hash(body["password"])
obj = userService.Get_obj({"username": post_param['username']}, {"like": False})
if obj:
return ctx.response(json.dumps({
"error": {
"code": 70000,
"message": "用户名已存在",
}
}, ensure_ascii=False))
ret = {
"error": {
"code": 70000,
"message": "注册失败",
}
}
bl = userService.Add(post_param)
if bl:
ret = {
"result": {
"bl": True,
"message": "注册成功"
}
}
return ctx.response(json.dumps(ret, ensure_ascii=False))
找回密码代码如下:
def Forget_password(self, ctx):
print("===================修改密码=====================")
ret = {
"error": {
"code": 70000,
"message": "用户信息不能没有"
}
}
body = ctx.body
if not body["code"]:
return {
"error": {
"code": 70000,
"message": "验证码不存在或者错误"
}
}
obj = service_select("user").Get_obj(
{"username": body["username"]}, {"like": False}
)
if not obj:
return {
"error": {
"code": 70000,
"message": "用户名不存在或者错误"
}
}
password = md5hash(body["password"])
if not password:
return {
"error": {
"code": 70000,
"message": "密码不存在或者错误"
}
}
bl = service_select("user").Set({"user_id": obj["user_id"]}, {"password": password})
if bl:
ret = {"result": {"bl": True, "message": "修改成功"}}
else:
ret = {
"error": {
"code": 70000,
"message": "修改失败",
}
}
return ctx.response(json.dumps(ret, ensure_ascii=False))
修改密码代码如下:
def Change_password(self, ctx):
print("===================修改密码=====================")
ret = {
"error": {
"code": 70000,
"message": "账号未登录",
}
}
request = ctx.request
headers = request.headers
if ("x-auth-token" in headers) and headers["x-auth-token"]:
token = headers["x-auth-token"]
user_id = tokenGetUserId(token, request)
userService = service_select("user")
body = ctx.body
password = md5hash(body["o_password"])
obj = userService.Get_obj({"user_id": user_id, "password": password}, {"like": False})
if obj:
password = md5hash(body["password"])
bl = userService.Set({"user_id": user_id}, {"password": password})
if bl:
ret = {"result": {"bl": True, "message": "修改成功"}}
else:
ret = {
"error": {
"code": 70000,
"message": "修改失败",
}
}
else:
ret = {
"error": {
"code": 70000,
"message": "密码错误",
}
}
else:
ret = {
"error": {
"code": 70000,
"message": "账户未登录",
}
}
return ctx.response(json.dumps(ret, ensure_ascii=False))
增删查改代码如下:
增
def Add(self, ctx):
body = ctx.body
unique = self.config.get("unique")
obj = None
if unique:
qy = {}
for i in range(len(unique)):
key = unique[i]
qy[key] = body.get(key)
obj = self.service.Get_obj(qy)
if not obj:
error = self.Add_before(ctx)
if error["code"]:
return {"error": error}
error = self.Events("add_before", ctx, None)
if error["code"]:
return {"error": error}
result = self.service.Add(body, self.config)
if self.service.error:
return {"error": self.service.error}
res = self.Add_after(ctx, result)
if res:
result = res
res = self.Events("add_after", ctx, result)
if res:
result = res
return {"result": result}
else:
return {"error": {"code": 10000, "message": "已存在"}}
删
def Del(self, ctx):
if len(ctx.query) == 0:
errorMsg = {"code": 30000, "message": "删除条件不能为空!"}
return errorMsg
result = self.service.Del(ctx.query, self.config)
if self.service.error:
return {"error": self.service.error}
return {"result": result}
改
def Set(self, ctx):
error = self.Set_before(ctx)
if error["code"]:
return {"error": error}
error = self.Events("set_before", ctx, None)
if error["code"]:
return {"error": error}
query = ctx.query
if 'page' in query.keys():
del ctx.query['page']
if 'size' in query.keys():
del ctx.query['size']
if 'orderby' in query.keys():
del ctx.query['orderby']
result = self.service.Set(ctx.query, ctx.body, self.config)
if self.service.error:
return {"error": self.service.error}
res = self.Set_after(ctx, result)
if res:
result = res
res = self.Events("set_after", ctx, result)
if res:
result = res
return {"result": result}
查多条数据:
def Get_list(self, ctx):
query = dict(ctx.query)
config_plus = {}
if "field" in query:
field = query.pop("field")
config_plus["field"] = field
if "page" in query:
config_plus["page"] = query.pop("page")
if "size" in query:
config_plus["size"] = query.pop("size")
if "orderby" in query:
config_plus["orderby"] = query.pop("orderby")
if "like" in query:
config_plus["like"] = query.pop("like")
if "groupby" in query:
config_plus["groupby"] = query.pop("groupby")
count = self.service.Count(query)
lst = []
if self.service.error:
return {"error": self.service.error}
elif count:
lst = self.service.Get_list(query,
obj_update(self.config, config_plus))
if self.service.error:
return {"error": self.service.error}
self.interact_list(ctx, lst)
return {"result": {"list": lst, "count": count}}
查一条数据:
def Get_obj(self, ctx):
query = dict(ctx.query)
config_plus = {}
if "field" in query:
field = query.pop("field")
config_plus["field"] = field
obj = self.service.Get_obj(query, obj_update(self.config, config_plus))
if self.service.error:
return {"error": self.service.error}
if obj:
self.interact_obj(ctx, obj)
return {"result": {"obj": obj}}
免费领取项目源码,请关注❥点赞收藏并私信博主,谢谢~
180

被折叠的 条评论
为什么被折叠?



