摘要
随着高校规模的不断扩大和校园内机动车辆数量的持续增加,传统的校园车辆管理模式面临着越来越多的挑战。为了解决这些问题,本研究设计并实现了一个基于SpringBoot框架的校园车辆管理系统。该系统集成了车位信息管理、预约车位服务、罚款处罚机制及订单信息处理四大核心功能模块,旨在通过信息化手段优化校园内的车辆管理流程,提升管理效率与用户体验。在车位信息管理方面,系统能够实时展示校园内所有停车位的状态,并支持按类型分类展示。用户可以通过直观的地图界面迅速找到空闲车位,管理员则可以灵活调整车位配置以应对不同需求。这一功能有效缓解了因寻找车位而导致的交通拥堵问题,提高了停车资源的利用率。预约车位服务为师生及访客提供了一种提前预定停车位的方式。用户可以通过移动应用或网页端访问系统,查看未来一段时间内的车位可用情况并进行预约。系统会根据用户的预约信息预留相应车位,并在预约时间临近时发送提醒通知。
罚款处罚机制利用先进的车牌识别技术和摄像头监控系统自动检测违规行为,并自动生成罚款通知单,这种自动化处理方式不仅提高了违规行为的发现率和处理效率,还增强了校园交通的安全性和规范性。订单信息管理模块涵盖了所有与停车相关的交易记录,包括预约费用支付、罚款缴纳等。每一笔交易都被详细记录下来,方便用户查询历史记录,也为财务部门提供了可靠的审计依据。
基于SpringBoot的校园车辆管理系统通过对车位信息的有效管理、便捷的预约服务、严格的罚款处罚以及透明的订单处理流程,构建了一个全面而高效的校园车辆管理体系,该系统的成功实施不仅提升了校园交通管理的整体水平,也为其他领域探索智能化管理模式提供了有益参考。
Abstract
With the continuous expansion of the scale of universities and the increasing number of motor vehicles on campus, the traditional campus vehicle management model is facing more and more challenges. To address these issues, this study designed and implemented a campus vehicle management system based on the SpringBoot framework. The system integrates four core functional modules: parking space information management, reserved parking space service, fine punishment mechanism, and order information processing. It aims to optimize the vehicle management process on campus through information technology, improve management efficiency and user experience. In terms of parking space information management, the system can display the status of all parking spaces on campus in real time and support classification display by type. Users can quickly find available parking spaces through an intuitive map interface, while administrators can flexibly adjust parking space configurations to meet different needs. This feature effectively alleviates traffic congestion caused by searching for parking spaces and improves the utilization of parking resources. The reserved parking space service provides a way for teachers, students, and visitors to book parking spaces in advance. Users can access the system through mobile applications or web pages to view the availability of parking spaces for a period of time in the future and make reservations. The system will reserve corresponding parking spaces based on the user's reservation information and send reminder notifications when the reservation time is approaching.The fine punishment mechanism utilizes advanced license plate recognition technology and camera monitoring systems to automatically detect violations and generate fine notices. This automated processing method not only improves the detection rate and processing efficiency of violations, but also enhances the safety and standardization of campus traffic. The order information management module covers all transaction records related to parking, including reservation fee payments, penalty payments, etc. Every transaction is recorded in detail, making it convenient for users to access historical records and providing a reliable audit basis for the finance department.
The campus vehicle management system based on SpringBoot has built a comprehensive and efficient campus vehicle management system through effective management of parking space information, convenient reservation services, strict fine penalties, and transparent order processing procedures. The successful implementation of this system not only improves the overall level of campus traffic management, but also provides useful references for exploring intelligent management models in other fields.
Keywords: SpringBoot framework; Campus management;MySQL database; Campus Vehicle Management System
目 录
-
第章 绪 论
1.1选题背景与意义
随着高校规模的不断扩大和校园内机动车辆数量的持续增加,传统的校园车辆管理方式已经难以满足现代校园安全管理的需求。许多高校面临着诸如外来车辆随意进出、停车资源紧张、交通拥堵等问题。尤其是在高峰时段,如上下课期间,校园内的交通秩序往往显得尤为混乱,不仅影响了师生的正常出行,还对校园安全构成了潜在威胁。基于SpringBoot框架构建一个智能化的校园车辆管理系统,可以通过自动化手段有效监控和管理校园内的所有车辆进出情况,为解决上述问题提供了新的思路和技术支持。
该系统能够通过车牌识别等技术自动记录车辆信息,减少人工干预的同时提高了数据处理的准确性和效率,使得校园管理部门可以更加精准地掌握车辆动态,及时发现并处理异常情况。其次,通过对车辆进出数据的分析,可以帮助学校合理规划停车设施,优化校园内部交通流线设计,缓解停车难和交通堵塞的问题。此外,系统的实施还有助于提升校园的整体管理水平,增强校园的安全防范能力,为师生提供一个更加安全、便捷的学习和工作环境。在当前智慧校园建设的大背景下,这一系统的应用无疑将进一步推动校园信息化建设和管理现代化进程。
1.2国内外研究现状
随着高校规模的扩大和机动车辆数量的增加,校园内交通管理和车辆监控成为亟待解决的问题。近年来,国内学者针对这一问题进行了广泛研究,并提出了多种基于先进技术的解决方案。本文将基于上述文献,探讨基于SpringBoot框架构建校园车辆管理系统的相关研究进展。田荣(2025)的研究指出,在V2X模式下智能汽车在校园中的应用前景广阔,其通过车联网技术实现车辆与校园设施、人员的互联互通,为校园安全管理提供了新的思路[1]。这表明,现代校园车辆管理系统不仅需要满足基本的车辆进出控制需求,还应考虑如何利用新兴技术提升整体运行效率和安全性。张书豪等(2025)提出了一种基于YOLOv5和CRNN模型的混合式车辆监控系统,该系统能够有效识别超速和违停行为,并自动发出预警。这种基于深度学习的方法显著提升了车辆检测的精确度和召回率,为校园交通安全提供了坚实的技术支持[2]。此外,程冠琦(2023)的工作展示了机器视觉结合深度学习在校园车速检测中的应用,实现了对超速车辆的高效识别和管理,进一步强调了技术手段在提高校园交通安全中的重要性[3]。在智慧校园建设方面,郝慧娟等(2023)的研究聚焦于出入管控系统的开发,旨在通过信息化手段提高校园出入口的管理效率,保障师生安全[4]。戴玉飞等(2021)也指出,校园车辆智能管理系统对于治理校园内的交通安全隐患至关重要[5]。这些研究表明,智能化管理系统的实施有助于优化校园管理流程,提供更加便捷的服务。付召斌和王苹(2020)的工作则具体描述了基于OpenCV的车牌识别技术在校园车辆管理系统中的应用,展现了开源计算机视觉库的强大功能[6]。姜玉华等(2020)建议将车辆管理系统与校园监控系统功能融合,以达到简化设计、增强功能的目的[7]。梁中阁等(2019)提出的基于B/S架构的管理系统,则更注重于信息查询、统计分析以及在线审批等功能的实现,体现了综合管理系统的设计理念[8]。基于SpringBoot的校园车辆管理系统不仅是对传统管理模式的升级,更是融合了现代信息技术如物联网、深度学习、机器视觉等多领域的创新成果。
随着全球范围内高校规模的增长和技术的进步,校园内车辆管理的问题日益受到关注。国外学者在相关领域的研究主要集中在技术创新、系统集成以及用户体验提升等方面。在国外,许多研究致力于将新兴技术应用于校园车辆管理系统。例如,一些研究探索了如何利用物联网(IoT)技术实现车辆与基础设施(V2I)之间的通信,从而提高车辆进出效率和安全性。此外,人工智能(AI)和机器学习(ML)技术也被广泛应用于车牌识别、行为分析等领域,如通过深度学习算法自动检测违规停车或超速行驶等行为,以增强校园交通安全[9]。针对校园环境的特殊需求,国外的一些研究强调了系统集成的重要性。比如,开发一套集成了停车场管理、车辆追踪、预约服务等功能的综合管理系统,能够有效缓解校园内的交通压力,并提高资源利用率[10]。SpringBoot因其轻量级、易于部署的特点,成为实现这种高度集成系统的理想选择,不同功能模块可以独立开发和维护,进一步提高了系统的灵活性和可扩展性。改善用户体验也是国外研究的一个重点方向。研究表明,设计直观易用的用户界面(UI)和用户体验(UX)对于提高系统的接受度至关重要。例如,通过移动应用程序提供实时的停车位信息、导航服务及在线支付功能,可以极大地便利师生的日常出行。
1.3论文结构与章节安排
论文将分层次经行编排,除去论文摘要致谢文献参考部分,正文部分还会对系统需求做出分析,以及阐述大体的设计和实现的功能,最后罗列部分调测记录,论文主要架构如下:
第一章:绪论,主要介绍系统的研究背景和意义,同时进行了论文整体框架的结构的简要介绍。
第二章:相关技术介绍,主要对系统开发所采用的相关技术进行介绍。
第三章:系统分析,主要对系统进行可行性技术、系统功能分析、用例分析。
第四章:系统设计,主要是对系统的架构、功能结构、系统数据库进行分析。
第五章:系统实现,根据系统功能的划分,主要对系统的部分界面进行展示。
第六章:系统测试,主要对系统的主要功能进行测试。
第七章:总结,主要对系统的开发设计工作进行总结。
第2章 关键技术与理论
2.1 JAVA技术
Java通过集成CORBA分布式架构与安全防护体系,为互联网应用提供可靠的数据安全防护机制。其企业级开发生态包含以下核心组件:
EJB组件模型:原生支持分布式事务处理与容器化管理
Web开发标准:深度兼容Servlet规范、JSP动态页面技术
数据交互协议:内置XML解析与数据转换工具集
(1)面向对象范式
基于对象封装的编程范式,通过类继承、多态等机制实现代码模块化。该设计模式具有以下优势:
提升系统可维护性:以对象为单位的代码组织方式降低耦合度
增强数据安全性:通过访问控制实现数据封装保护
促进代码复用:继承与接口机制优化功能扩展
(2)平台无关性
依托JVM虚拟机技术实现"一次编译,多端运行":
字节码中间层:消除操作系统差异性,确保程序在Windows/Linux/macOS等环境的无缝运行
动态编译优化:JIT编译器实现运行时性能调优
容器化适配:完美支持Docker/Kubernetes等云原生部署模式。
2.2 SpringBoot框架
作为Java生态中主流的开源应用框架,Spring通过创新设计理念为软件开发提供多维度解决方案。该框架的核心架构基于控制反转(IoC)机制构建的轻量级容器,通过依赖注入(DI)和依赖查找(DL)实现组件生命周期的自动化管理。与传统EJB模型相比,Spring以非侵入式设计显著提升了代码可维护性与单元测试效率。
在架构设计层面,Spring采用模块化设计原则,主要技术组件包括:
AOP支持模块:基于动态代理机制实现面向切面编程,支持运行时配置的声明式事务管理。虽然原生AOP功能较AspectJ有所局限,但通过集成扩展可满足多数应用场景的横切关注点处理需求。
事务控制体系:构建统一的事务抽象层,兼容本地事务与分布式事务的嵌套处理,支持通过XML配置或注解驱动方式实现事务边界定义。该模块创新性地整合了缓存管理与消息队列等企业级特性。
数据访问抽象层:提供标准化的数据访问模板,无缝对接JDBC、JPA、MyBatis等主流持久化方案。通过资源管理优化和异常处理机制的统一封装,显著降低数据库操作的复杂度。
Web MVC框架:为弥补传统Struts框架在分层架构上的不足,Spring自主开发了高度解耦的MVC实现。其特点包括灵活的请求映射机制、可扩展的视图解析策略以及强大的数据绑定功能。
2.3 MYSQL数据库
系统的构建离不开与之匹配的数据库支持,数据库以其特定的组织结构,承担着存储与管理数据信息的核心职责。数据库作为数据持久化层的核心组件,其技术发展历经存储媒介革新(磁带→关系型→NoSQL)与处理范式升级(OLTP→OLAP→HTAP)。在本院信息平台建设中,选用MySQL关系型数据库的关键考量包括:
性能特性:基于B+树索引的查询优化、ACID事务保障
开源生态:GPL协议下的可定制化开发
架构适配:支持Linux/Windows双平台部署,兼容微服务架构
系统采用实体关系模型(ER Model)构建十余个数据表,通过主外键约束实现停车业务流的全链路数据治理。数据库作为应用系统的结构化数据中枢,其与业务逻辑层的解耦设计(DAO模式)确保了系统扩展性与维护性。
第3章 需求分析
3.1 可行性分析
基于SpringBoot框架构建校园车辆管理系统具有较高的技术可行性。SpringBoot作为一个成熟的开源框架,提供了便捷的配置和开发模式,使得开发者能够快速搭建起稳定可靠的应用程序。此外,SpringBoot良好的社区支持和丰富的插件生态为系统的扩展提供了可能,无论是与车牌识别技术、物联网设备的集成,还是与其他信息系统的对接,都能得到有效的技术支持。利用现代数据库技术(如MySQL或MongoDB)存储车辆信息及管理数据,结合RESTful API设计实现前后端分离,不仅提高了开发效率,还增强了系统的灵活性和可维护性。
随着高校规模不断扩大以及人们对校园安全管理重视程度的增加,市场上对于高效、智能的校园车辆管理系统的需求日益增长。这种背景下,基于SpringBoot开发的车辆管理系统凭借其高度定制化、易于部署的特点,能够满足不同规模校园的具体需求。而且,当前智慧校园建设成为教育信息化的重要组成部分,这也为相关产品和服务提供了广阔的市场空间。因此,推出这样一款针对性强、功能全面的产品,在市场上具备很强的竞争力。
从经济角度来看,实施基于SpringBoot的校园车辆管理系统是一项具有高性价比的投资。首先,采用开源技术和框架显著降低了软件许可费用。其次,由于SpringBoot简化了开发流程,缩短了项目周期,从而减少了人力成本。再者,通过自动化手段提高管理效率,减少因人工操作失误导致的额外开支。长远来看,该系统能够有效改善校园交通状况,降低交通事故发生率,间接节省了因事故处理带来的经济损失。同时,优化停车资源配置也有助于减少不必要的建设投入。
操作可行性方面,基于SpringBoot的校园车辆管理系统设计注重用户体验,界面友好、操作简便,无需专业培训即可上手使用。对于管理人员而言,系统提供的直观的数据展示和分析工具极大地简化了日常工作流程;对于普通用户,则可通过手机应用实时获取停车位信息、预约车位等服务,提升了出行便利性。此外,考虑到系统的日常维护和升级需求,SpringBoot架构下的模块化设计允许独立更新各个组件,而不会影响整个系统的正常运行,确保了系统的持续稳定性和可操作性。
3.2业务需求分析
基于Spring Boot的校园车辆管理系统通过整合现代信息技术,优化车辆管理流程,提升管理效率与用户体验。系统主要包括车位信息、预约车位、罚款处罚和订单信息四大功能模块。车位信息模块实时展示校园内停车位的位置、类型及状态,并提供地图界面方便用户查找,管理员可对车位信息进行维护。预约车位支持师生及访客在线查看车位并提前预定,系统自动预留车位并发送提醒,同时允许取消或修改预约,提升使用灵活性。罚款处罚模块通过车牌识别和监控系统自动检测违规行为,如超时停车、乱停乱放等,并生成罚款通知,提升管理规范性与安全性。订单信息模块记录所有交易数据,包括预约费用和罚款缴纳情况,并采用加密技术和权限控制保障数据安全。该系统实现了校园车辆的智能化管理,有效缓解交通压力,提升整体管理水平,为构建安全、有序的校园环境提供了技术支撑。
3.3功能需求分析
3.3.1系统管理员功能需求
校园车辆管理系统功能方面,管理员模块功能包括后台首页、系统用户、车位信息管理、车位预约管理、投诉举报管理、系统管理、通知公告管理、资源管理、商城管理。具体如下:
后台首页:管理员具备管理个人信息的权限,涵盖编辑个人资料、更换个人头像以及修改账户密码等多项操作。
系统用户:管理员负责系统用户的全面管理和监控职责。他们可以查阅并修改用户资料,涵盖用户名、密码及权限设置等,同时拥有增加新用户、移除现有用户或暂停用户访问权限的能力。
车位信息管理:管理员拥有查看和删除车位信息列表的权限,同时,也能够添加新的车位信息。
车位预约管理:管理员拥有查看和删除车位预约列表的权限,对车位预约信息进行结算停车费用,并填写订单备注信息。
订单信息管理:管理员拥有查看和删除订单信息列表的权限,查看系统中停车的订单信息,并对违规的停车信息进行处罚或支付违金。
罚款处罚管理:管理员拥有查看和删除罚款处罚列表的权限。
系统管理:管理员拥有查看和删除轮播图列表的权限,对轮播图更新、维护等操作。
通知公告管理:管理员拥有查看和编辑通知公告的权限,填写标题、正文等内容添加新的通知公告。
资源管理:管理员拥有查看和编辑校园资讯的权限,添加新的新闻分类。
3.3.2系统用户功能需求
普通用户模块:
普通用户模块功能包括注册登录、车位预约、车位信息、通知公告、校园资讯、个人中心。具体如下:
注册登录:允许普通用户注册新账号或使用已有账号进行登录,确保身份认证和安全访问系统。
校园资讯:普通用户能够查看校园资讯列表,对感兴趣的校园资讯点赞、收藏和评论。
车位信息:普通用户能够查看车位信息列表,详细查看车位名称、车位类型、车位位置等信息,对车位信息点赞、收藏和评论,也可以预约车位信息。
通知公告:普通用户可以查看系统中的公告信息。
个人中心:普通用户可以在个人中心查看订单管理、车位预约、车位信息的列表。
3.3.3非功能性分析
非功能性分析聚焦于评估系统的非功能性指标与质量属性,通过多维考量运行效能、容错能力、安全机制、服务持续性及架构弹性等核心要素,确保技术架构既满足终端用户体验需求,亦符合工程化部署规范。具体如下:
| 安全性 | 主要指SSM遇见网上花店管理系统数据库的安装,数据库的使用和密码的设定必须合乎规范。 |
| 可靠性 | 可靠性是指SSM遇见网上花店管理系统能够安装用户的指示进行操作,经过测试,可靠性90%以上。 |
| 性能 | 性能是影响SSM遇见网上花店管理系统占据市场的必要条件,所以性能最好要佳才好。 |
| 可扩展性 | 比如数据库预留多个属性,比如接口的使用等确保了商城的非功能性需求。 |
| 易用性 | 用户只要跟着SSM遇见网上花店管理系统的页面展示内容进行操作,就可以了。 |
| 可维护性 | SSM遇见网上花店管理系统开发的可维护性是非常重要的,经过测试,可维护性没有问题 |
表3-1校园车辆管理系统非功能需求表
3.3.4系统用例分析
系统用例分析的核心价值在于深度解构系统业务单元间的交互诉求与行为路径,通过精准捕获和结构化映射多维度用户情境,构建用户全生命周期操作模型。该方法体系有效构建用户操作链路与交互触点的认知框架,为技术实现提供行为驱动的设计依据,最终实现服务体验的精准提升。普通用户角色用例如图3-4。

图3-4普通用户角色用例图
管理员角色用例如图3-5所示。

3.4系统流程分析
3.4.1登录流程
用户打开并进入系统后,会先显示登录界面,输入正确的用户名和密码,系统自动检测信息,若信息无误,则用户会进入系统功能界面,进行操作,否则会提示错误无法登录,如图3-1所示:

图3-1登录流程图
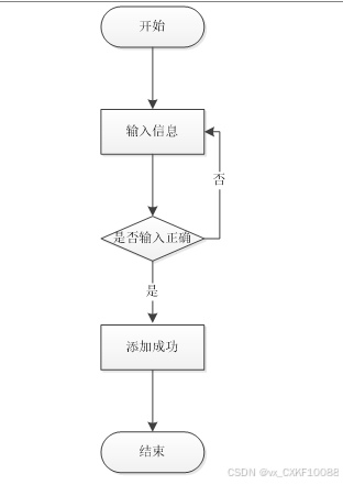
3.4.2添加信息流程
管理员可以对公告信息等进行信息的添加,用户可以对自己权限内的信息进行添加,输入信息后,系统会自行验证输入的信息和数据,若信息正确,会将其添加到数据库内,若信息有误,则会提示重新输入信息,如图3-2所示:

图3-2添加信息流程图
3.4.3删除信息流程
管理员可以对公告信息、申报信息等进行信息的删除,对要删除的信息进行选中后,点击删除按钮,系统会询问是否确定,若点击确定,则系统会删除掉选中的信息,并在数据库内对信息进行删除,如图3-3所示:

图3-3删除信息流程图
3.5本章小结
系统分析阶段构建了复合型研究矩阵,涵盖可行性验证、功能蓝图构建与用户图例建模等方法论体系,通过技术经济性评估、需求结构化解析与场景图谱化推演的三维视角,完成系统价值流的全景透视。该分析范式在技术实施路线图中形成动态决策坐标系,驱动需求精准映射与价值闭环实现,最终构建起支撑数字化服务生态的认知框架,实现技术方案与商业价值的有机共振。
第4章 系统设计
系统顶层设计阶段实施技术战略定位,构建架构逻辑层、数据服务层与交互呈现层的三维复合式设计框架。采用服务导向型弹性分层架构作为技术基座,数据建模基于范式驱动的实体关系映射机制,实现用户画像、内容资产等核心要素的语义化聚合。人机交互层遵循认知工效学准则,通过操作路径优化与视觉认知流设计构建沉浸式体验矩阵。最终形成具备容错韧性、安全闭环与智能响应的数字基座,实现业务需求与技术实现的精准映射。
4.1系统架构设计
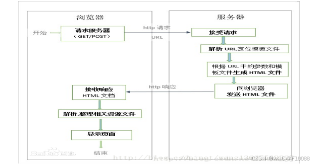
该架构通过分层设计(表现层/业务层/数据层)成为现代Web应用的主流范式,与操作系统深度集成的浏览器生态进一步强化其市场渗透率。该系统的架构设计参照B/S工作模式进行,工作原理如图4-1所示。

系统采用三层架构设计,包括表现层(前端)、逻辑层(后端)和数据层(数据库)。前端使用Vue.js框架构建,负责用户界面展示和与后端交互,提供车位信息发布、查询和更新等功能。后端使用JAVA语言和SpringBoot框架开发,负责处理业务逻辑、API请求以及与数据库的交互。数据层使用MySQL数据库存储用户信息、车位信息、公告等数据,确保数据的完整性和一致性。此架构设计具备高可扩展性、易维护性,并能有效应对高并发访问。系统三层架构图如下图所示。

图4-2系统三层架构图
4.2系统功能模块设计
校园车辆管理系统功能方面,管理员模块功能包括后台首页、系统用户、车位信息管理、车位预约管理、订单信息管理、系统管理、通知公告管理、资源管理;普通用户模块功能包括注册登录、车位预约、车位信息、通知公告、校园资讯、个人中心;具体的功能模块图如图4-3所示。

图4-3系统功能模块图
4.3数据库设计
数据架构工程作为系统开发的战略枢纽,其核心价值在于构建数据多维治理体系。基于业务价值流分析,实施范式驱动的建模框架,通过实体关系拓扑与数据契约规范的双重验证机制,解构业务实体本体、语义化属性域及约束边界条件,最终形成具备容错性数据生态与动态优化能力的存储拓扑优化方案,实现事务完整性保障与查询优化引擎的有机协同。
4.3.1数据库概念结构设计
数据本体建模阶段致力于构建领域实体拓扑范式,通过多维关系建模框架(实体关联图谱/属性约束网络)实施结构化定义机制。基于领域驱动设计原则,采用语义化建模流程完成业务对象的本体解构与领域边界界定,并建立跨实体间的动态语义关联矩阵。以下是基于实体关联图谱的可视化领域建模映射方案。
图4-4校园车辆管理系统总E-R关系图
4.3.2数据库逻辑结构设计
数据范式转化工程在概念建模基础上实施范式驱动的存储拓扑定义,通过实体关系范式映射机制(ER2SQL)实现属性域约束条件与数据契约规范的协同配置。采用事务完整性验证框架构建表空间关联图谱,形成包括主键约束网络、外键依赖链及范式合规性矩阵在内的多维约束体系,最终实现数据服务层与业务规则的无损衔接,如表4-2、4-3、4-4所示。
表4-2parking_information(车位信息)
| 编号 | 字段名 | 类型 | 长度 | 是否非空 | 是否主键 | 注释 |
| 1 | parking_information_id | int | 是 | 是 | 车位信息ID | |
| 2 | parking_space_name | varchar | 64 | 否 | 否 | 车位名称 |
| 3 | type_of_parking_space | varchar | 64 | 否 | 否 | 车位类型 |
| 4 | parking_space_picture | varchar | 255 | 否 | 否 | 车位图片 |
| 5 | parking_location | varchar | 64 | 否 | 否 | 车位位置 |
| 6 | parking_space_status | varchar | 64 | 否 | 否 | 车位状态 |
| 7 | parking_rules | longtext | 4294967295 | 否 | 否 | 停车规则 |
| 8 | hits | int | 是 | 否 | 点击数 | |
| 9 | praise_len | int | 是 | 否 | 点赞数 | |
| 10 | collect_len | int | 是 | 否 | 收藏数 | |
| 11 | comment_len | int | 是 | 否 | 评论数 | |
| 12 | parking_reservation_limit_times | int | 是 | 否 | 预约限制次数 | |
| 13 | create_time | datetime | 是 | 否 | 创建时间 | |
| 14 | update_time | timestamp | 是 | 否 | 更新时间 |
表4-3parking_reservation(车位预约)
| 编号 | 字段名 | 类型 | 长度 | 是否非空 | 是否主键 | 注释 |
| 1 | parking_reservation_id | int | 是 | 是 | 车位预约ID | |
| 2 | ordinary_user | int | 否 | 否 | 普通用户 | |
| 3 | user_name | varchar | 64 | 否 | 否 | 用户姓名 |
| 4 | parking_space_name | varchar | 64 | 否 | 否 | 车位名称 |
| 5 | type_of_parking_space | varchar | 64 | 否 | 否 | 车位类型 |
| 6 | vehicle_picture | varchar | 255 | 否 | 否 | 车辆图片 |
| 7 | appointment_time | date | 否 | 否 | 预约时间 | |
| 8 | appointment_duration | double | 否 | 否 | 预约时长 | |
| 9 | note_information | text | 65535 | 否 | 否 | 备注信息 |
| 10 | order_information_limit_times | int | 是 | 否 | 订单限制次数 | |
| 11 | create_time | datetime | 是 | 否 | 创建时间 | |
| 12 | update_time | timestamp | 是 | 否 | 更新时间 | |
| 13 | source_table | varchar | 255 | 否 | 否 | 来源表 |
| 14 | source_id | int | 否 | 否 | 来源ID | |
| 15 | source_user_id | int | 否 | 否 | 来源用户 |
表4-4penalty_penalty(罚款处罚)
| 编号 | 字段名 | 类型 | 长度 | 是否非空 | 是否主键 | 注释 |
| 1 | penalty_penalty_id | int | 是 | 是 | 罚款处罚ID | |
| 2 | ordinary_user | int | 否 | 否 | 普通用户 | |
| 3 | user_name | varchar | 64 | 否 | 否 | 用户姓名 |
| 4 | parking_space_name | varchar | 64 | 否 | 否 | 车位名称 |
| 5 | type_of_parking_space | varchar | 64 | 否 | 否 | 车位类型 |
| 6 | vehicle_picture | varchar | 255 | 否 | 否 | 车辆图片 |
| 7 | order_number | varchar | 64 | 否 | 否 | 订单编号 |
| 8 | amount_of_fine | double | 否 | 否 | 罚款金额 | |
| 9 | fines_time | datetime | 否 | 否 | 罚款时间 | |
| 10 | fines | text | 65535 | 否 | 否 | 罚款原由 |
| 11 | pay_state | varchar | 16 | 是 | 否 | 支付状态 |
| 12 | pay_type | varchar | 16 | 否 | 否 | 支付类型: 微信、支付宝、网银 |
| 13 | create_time | datetime | 是 | 否 | 创建时间 | |
| 14 | update_time | timestamp | 是 | 否 | 更新时间 | |
| 15 | source_table | varchar | 255 | 否 | 否 | 来源表 |
| 16 | source_id | int | 否 | 否 | 来源ID | |
| 17 | source_user_id | int | 否 | 否 | 来源用户 |
4.4本章小结
在系统开发的整个生命周期中,数据库设计扮演着举足轻重的角色,其重要性不言而喻。这一环节要求深入细致地识别系统中的各类实体,精心构建它们之间的复杂关系,并据此设计出合理的表结构。同时,还需要审慎地选择主键与索引,以确保数据的存储与管理既准确又一致。为了进一步提升系统的安全性与性能,在数据库设计中巧妙地融入了规范化与反规范化的技术。通过规范化,消除了数据冗余,提高了数据的完整性与一致性;而反规范化则在必要时被引入,以优化查询性能,减少系统响应时间。
第5章 系统实现
在系统开发的整个流程中,关键模块的设计与实现无疑占据着核心地位。这一环节要求深入分析系统的功能需求,精准把握用户期望,进而精心设计和实现各个关键模块,以确保系统功能的全面覆盖与稳定运行。在设计过程中,不仅要关注单个模块的内部逻辑与功能实现,更要充分考虑模块之间的交互与数据流动,确保系统整体的协调与高效。为此,需要合理选择先进的技术和框架,以支撑模块的设计与实现,并注重模块之间的接口设计与数据交换协议,以实现无缝对接与高效协同。通过单元测试、集成测试与系统测试等多层次测试手段,能够及时发现并修复潜在的问题与缺陷,确保系统的稳定性与可靠性。
5.1普通用户功能模块
5.1.1首页界面
普通用户在首页能够轻松获取最新的车位信息、车位预约、校园资讯等关键信息,及时把握网站的活动与最新动态,为普通用户提供了便捷的浏览体验。界面展示,如图5-1所示。
图5-1首页界面图
5.1.2注册界面
用户能够通过注册流程设立个人账号,从而正式加入系统用户群体。注册时,用户需提交诸如用户名、密码及电子邮箱等必要个人信息,并经历合法性校验环节。系统会对用户提交的信息执行严格的核验与保存操作,并为每位用户分配一个独一无二的身份识别码。界面展示如下图5-2所示。
图5-2用户注册界面图
5.1.3用户登录界面
普通用户凭借个人账号及密码能够登录系统。在登录流程中,用户必须准确输入用户名与密码以完成身份验证。系统会仔细比对用户输入的信息,并基于验证结果来决定是否授权用户访问。一旦成功登录,普通用户即可进入个人主页界面,浏览个人信息详情、查阅接收到的消息等丰富内容。界面如下图5-3所示。
图5-3用户登录界面图
5.1.4校园资讯界面
校园资讯模块为普通用户提供了便捷的信息获取渠道,用户可浏览平台发布的各类校园资讯列表,内容涵盖学校通知、活动预告、教学动态、校园生活等多个方面。在阅读过程中,用户可以对感兴趣的资讯内容进行互动操作,包括点赞表达支持、收藏以便后续查阅以及发表评论参与讨论。该功能不仅增强了信息传播的时效性与互动性,也提升了用户的使用体验和平台活跃度。界面如下图5-4所示。
图5-4校园资讯界面图
5.1.5车位信息界面
车位信息模块为普通用户提供全面的车位查看与管理功能。用户可浏览系统中所有车位的详细信息列表,包括车位名称、类型(如教师专用车位、访客车位、电动车车位等)、具体位置及当前状态。在了解车位详情后,用户可对感兴趣的车位进行点赞、收藏或发表评论,与其他用户分享使用体验。同时,系统还支持在线预约功能,用户可根据自身需求选择合适车位并提交预约申请,提升停车效率与使用体验。界面如图5-5所示。
图5-5车位信息界面图
5.1.6个人中心界面
个人中心是普通用户管理个人信息与相关操作的核心模块。用户可以在此查看和管理自己的订单记录、车位预约情况以及收藏或评论过的车位信息列表。系统通过清晰的界面展示每一笔订单的状态、预约车位的时间段及具体位置,方便用户随时查阅和进行后续操作。同时,个人中心还支持用户信息的维护与修改,提升系统的个性化服务能力与用户体验。界面如图5-6所示。
图5-6个人中心界面图
5.2管理员功能模块
5.2.1后台首页界面
后台首页是管理员进行系统管理和个人信息维护的核心界面。在个人信息管理模块中,管理员可根据需要编辑个人资料信息,如姓名、联系方式等基本属性,上传或更换个人头像以更新账户形象,并随时修改登录账户的密码,确保账户安全。该功能设计操作简洁、界面友好,提升了管理员对自身账户信息的掌控能力,同时也增强了系统的安全性与个性化管理体验。界面如图5-7所示。
图5-7后台首页界面图
5.2.2系统用户管理界面
管理员负责系统用户的全面管理和监控职责。他们可以查阅并修改用户资料,涵盖用户名、密码及权限设置等,同时拥有增加新用户、移除现有用户或暂停用户访问权限的能力。界面如图5-8所示。
图5-8系统用户界面图
5.2.3车位信息管理界面
车位信息管理是管理员在系统中进行的核心操作之一。管理员可以查看所有车位的详细信息列表,包括车位名称、类型、位置及当前状态等,并可根据实际需求对列表中的车位信息进行新增或删除操作。在添加新车位时,管理员需填写相关属性信息并提交至系统,确保数据准确录入。该功能为校园停车位的动态调整提供了便捷支持,有助于实现车位资源的高效管理和合理配置。界面如图5-9所示。
5.2.4车位预约管理界面
车位预约管理模块为管理员提供了对用户预约信息的全面管控功能。管理员可以查看所有车位预约记录,包括预约时间、使用人、车位编号及预约状态等详细信息,并可根据实际需求对无效或异常的预约记录进行删除操作。同时,系统支持管理员在用户停车结束后,根据实际停车时长和收费标准进行费用结算,并填写订单备注信息,用于记录特殊情况说明或处理意见。该功能不仅提升了车位预约流程的规范性与透明度,也为后续订单查询与财务管理提供了数据支持。界面如图5-10所示。
图5-10车位预约管理界面图
5.2.5订单信息管理界面
订单信息管理是管理员进行后续数据核查与违规处理的重要功能模块。管理员可以查看系统中所有停车订单的详细信息列表,包括用户信息、预约车位、进出时间、停车时长及费用状态等,并可根据需要对异常或无效的订单信息进行删除操作。对于存在违规行为的停车记录,如超时停放、未预约停车等,管理员可通过系统发起处罚流程,生成相应的罚款通知,并记录违金支付情况。该功能有效保障了校园停车秩序,提升了车辆管理的规范性与执行效率。界面如图5-11所示。
图5-11订单信息管理界面图
5.2.6罚款处罚管理界面
罚款处罚管理模块为管理员提供了对校园内违规停车行为进行统一监管的功能。管理员可以查看系统生成的所有罚款处罚记录列表,包括被处罚用户信息、违规车位、处罚原因、罚款金额及处理状态等详细内容,并可根据实际管理需要对已处理或无效的处罚记录进行删除操作。该功能不仅提升了违规行为处理的规范性和透明度,也为后续数据统计与管理决策提供了可靠的数据支持,进一步加强了校园车辆管理的秩序与效率。界面如图5-12所示。
图5-12罚款处罚管理界面图
第6章 系统测试
6.1系统测试的目的
测试环节在保障系统达成预定功能、性能标准及稳定性方面扮演着至关重要的角色。经过严谨而系统的测试流程,能够精确地探测并定位系统中潜藏的各类问题与缺陷,进而迅速采取修复与优化措施。这一过程不仅限于发现与解决问题,更在于对系统的可靠性、安全性以及用户体验进行全面而深入的评估,从而确保最终产品具备卓越的品质与良好的市场信誉。测试工作不仅是对系统是否满足用户需求和预期的一次验证,更是对系统是否符合行业规范、技术标准的一次严格考量。通过测试,能够确保系统在复杂多变的使用环境中依然能够保持稳定、高效的表现,为用户提供流畅、安全、便捷的使用体验。
6.2系统测试的方法
在校园车辆管理系统的测试环节中,一旦发现任何瑕疵,必须迅速采取行动,积极寻求解决方案,不容丝毫懈怠。这一严谨态度是确保系统开发品质达标、有效缩减开发周期的关键所在。同时,测试过程中需竭力防止重复性错误的再现,即一旦某个问题浮出水面,必须彻底追溯并根除系统中与之相关的所有潜在问题,以此强化校园车辆管理系统的安全屏障与稳定基石。
在测试策略的选择上,白盒测试与黑盒测试作为两大支柱,发挥着不可或缺的作用。
白盒测试,亦被业界称为透明盒测试或结构测试,它要求测试工程师深入洞察程序的内在逻辑与处理流程。该测试方法紧密围绕程序内部的逻辑脉络,旨在全面校验系统中每一条路径是否均能精准无误地遵循设计要求运作,确保无误差遗漏。
黑盒测试,或称行为测试或功能验证,其核心聚焦于程序功能是否严格遵循设计要求得以实现。测试活动在程序的输入输出接口层面展开,旨在细致核查程序对输入数据的处理是否准确无误,以及其与外界信息的交互是否全面且无误。
通过巧妙融合这两种测试策略,能够更加敏锐地捕捉并攻克校园车辆管理系统中潜藏的各类问题,进而大幅提升系统的综合品质与运行效能。
6.3系统测试用例
6.3.1 登录管理业务测试
本小节将对登录功能模块进行测试,测试的内容包括登录注册功能测试。本次对登录管理功能测试给出的用例与结果如表6.1以及表6.2所示。
| 登录后跨权限访问 |
6.3.2 系统用户管理业务测试
系统用户管理业务功能测试的内容包括修改用户信息、查询用户信息、删除用户三个功能测试用例及结果如表6.3、表6.4及表6.5所示。
| 输入存在的用户信息 | ||
| 删除与作者无关的用户信息 | ||
| 删除与作者有关的用户信息 |
6.3.3 车位信息管理业务测试
车位信息管理业务将对新增车位信息功能进行测试,测试内容与结果如表6.6所示。
| 输入正确的车位信息 | ||
| 车位信息错误 |
6.4系统测试结果
经过对系统用户登录、用户管理展示及车位信息三大核心功能的全面测试,系统展现出了优异的综合性能。具体而言,用户登录流程顺畅无阻,能够顺利接入系统;用户管理信息也能正常录入与使用;车位信息展示功能完备,不仅准确呈现了推荐列表、车位信息详情及内容,还灵活支持了分类筛选、关键字检索及排序操作,极大提升了用户体验。综上所述,系统各项功能均运行正常,充分满足了预设目标,顺利通过了系统测试阶段的各项考验。
第7章 结 论
基于SpringBoot的校园车辆管理系统的研究与实现,标志着高校在信息化管理和智能化建设方面迈出了重要一步。本系统通过集成车位信息管理、预约车位服务、罚款处罚机制及订单信息处理四大核心功能模块,成功解决了传统校园车辆管理中存在的诸多问题,并为校园交通管理提供了一套高效、便捷且智能的解决方案。在车位信息管理方面,系统实现了对校园内所有停车位的实时监控与状态更新,不仅提高了停车资源的利用率,还极大地方便了师生和访客查找空闲车位。借助直观的地图界面展示车位分布情况,用户能够迅速定位并选择合适的停车位,有效缓解了因寻找车位而导致的交通拥堵现象。此外,管理员可以通过后台灵活调整车位配置,以应对不同时间段的需求变化或特殊情况,进一步增强了系统的适应性和灵活性。预约车位服务作为系统的一大亮点,显著提升了用户体验。通过移动应用或网页端,用户可以提前查看未来一段时间内的车位可用情况并进行预约。这一功能不仅减少了到达目的地后找不到车位的困扰,还优化了校园内的交通流量分布。特别是对于那些有固定出行需求的教职工而言,预约车位服务极大地提高了他们的工作便利性。同时,考虑到实际情况的变化,系统允许用户随时取消或更改预约,体现了设计的人性化考虑。罚款处罚机制则是确保校园交通秩序的重要保障。利用先进的车牌识别技术和摄像头监控系统,系统能够自动检测并记录违规行为,如超时停车、乱停乱放等,并自动生成相应的罚款通知单。这种自动化处理方式大大提高了违规行为的发现率和处理效率,减少了人工干预带来的误差和延迟。更重要的是,它向全体师生传递了一个明确的信息:遵守规则是每个人的责任,任何违反规定的行为都将受到应有的惩罚。最后,订单信息管理模块涵盖了所有与停车相关的交易记录,包括预约费用支付、罚款缴纳等。每一笔交易都被详细记录下来,不仅方便用户查询历史记录,也为财务部门提供了可靠的审计依据。采用加密技术保护用户隐私,并设置严格的权限控制机制,保证了数据的安全性和准确性。
综上所述,基于SpringBoot的校园车辆管理系统通过对车位信息的有效管理、便捷的预约服务、严格的罚款处罚以及透明的订单处理流程,构建了一个全面而高效的校园车辆管理体系。该系统的成功实施,不仅提升了校园交通管理的整体水平,也为其他领域探索智能化管理模式提供了有益参考。随着信息技术的不断进步,未来的校园车辆管理系统还将融合更多先进技术,如大数据分析、人工智能等,进一步推动智慧校园建设的发展进程。
参考文献
- 田荣.基于V2X模式的智能汽车在校园中的应用研究[J].专用汽车,2025,(02):55-57.
- 张书豪,彭睿颖,高胜炜,等.基于深度学习的校园交通监管系统[J].山东理工大学学报(自然科学版),2025,39(02):16-21.
- 程冠琦.基于机器视觉的校园车速检测关键技术研究[J].信息技术与信息化,2023,(04):63-66.
- 郝慧娟,戎静怡,田志民.智慧校园出入管控系统的设计与实现[J].河南科技,2023,42(20):26-29.
- 戴玉飞,刘跃,郑大为,等.校园车辆智能管理系统的研究与设计[J].中国科技投资,2021,(36):27-29.
- 付召斌,王苹.基于OpenCV的校园车辆管理系统的设计与实现[J].通讯世界,2020,27(02):3-4.
- 姜玉华,范军,朱桦.校园车辆管理系统与校园监控系统功能融合的应用研究——以南通理工学院安保建设为例[J].科学咨询(科技·管理),2020,(01):129-130.
- 梁中阁,徐峰,胡争.基于B/S架构的校园车辆管理系统的设计与实现[J].计算机产品与流通,2019,(09):186+212.
- Muzzini F ,Montangero M .Exploiting Traffic Light Coordination and Auctions for Intersection and Emergency Vehicle Management in a Smart City Mixed Scenario[J].Sensors,2024,24(7):
- Shrivastava R ,Badwe G,Mohanty R, et al.An in-depth literature review of end-of-life vehicle management[J].International Journal of Environment and Waste Management,2024,33(2):168-193.
- 魏力.基于物联网技术的智能车辆管理系统设计[J].信息与电脑(理论版),2023,35(13):141-143.
- 冀琳.基于Elasticsearch的车辆管理系统设计与实现[J].中国安全防范技术与应用,2023,(02):60-64.
- 程冠琦.一种基于机器视觉的校园车辆超速报警系统的设计[J].大众科技,2023,25(03):9-11+65.
- 柳谦,周亮.基于车城网的智能网联车辆管理系统的设计[J].电脑编程技巧与维护,2023,(02):94-96+111.
- 易扬扬.高职院校学生美学素养培养对校园文化建设的影响——以湖南汽车工程职业学院为例[J].时代汽车,2022,(23):97-99.
- 袁润,周礼,黎洋.基于大数据的智慧校园建设问题与应用研究——以湖南汽车工程职业学院为例[J].时代汽车,2022,(15):106-108.
- 王思满,陈修魁,朱凯,等.大学校园汽车车牌的号码识别简易系统设计[J].电脑编程技巧与维护,2021,(11):108-111.
- 史渊源,周辉,于烨,等.基于Hadoop的车辆管理系统设计与实现[J].湘潭大学学报(自然科学版),2021,43(01):97-106.
- 夏琮.车辆管理系统的设计与实现[J].时代汽车,2020,(06):18-21.
- 王青青,秦贝,郝园媛.车辆信息化管理系统设计[J].电脑知识与技术,2020,16(02):97-98.
致谢
在此我要由衷感谢所有支持和帮助我的人。首先,由衷地感谢我的指导教师,大家都给予了我宝贵的指导和建议,顺利完成了研究工作离不开他们的帮助。他们的专业知识和经验对我产生了深远的影响。此外,感谢我的家人和朋友,在整个研究过程中给予了我无尽的鼓励和支持。他们相信我能够克服困难、坚持不懈地追求目标,这让我时刻保持积极向上的心态。最重要的是,我要感谢自己。在研究的过程中,少不了各种挑战和困难,但我从未放弃,始终保持着坚定的信念和努力的精神。正是这种勇气和毅力使我能够完成这项研究工作,并取得了令人满意的成果。
通过这次研究,我学到了很多知识和技能,也收获了自信和成长。我相信,只要我坚持努力和持续学习,就能够实现更大的成就和突破。因此,我将继续努力,为自己的梦想奋斗,成为一个有影响力和有价值的人。最后,我再次向所有支持和帮助过我的人表示深深的感谢。你们的支持是我前进的动力,我会铭记于心,并用更好的成绩回报你们的期望和信任。谢谢!
附录
用户注册
注册页UserController.java,传入user对象,并将"user_id"、 "state"、 "user_group"、"login_time"、"phone"、"phone_state"、 "username"、"nickname"、"password"、"email"、"email_state"、"avatar"、"create_time"输入,重点是 "username"、"nickname"、"password"必须输入,通过获取username,数据库查询是否有该用户,如果存在,则提示“用户已存在”,否则执行将UserId置为空(数据库表中该字段已设置自动递增),代码如图所示。

图注册核心代码图
用户登录
登录页,首先传入"username"、"email"、"phone"、"password",用户可通过用户名、邮箱、手机号进行登陆,通过判断resultList来确定查询结果,然后执行查询用户组UserGroup,用户组里面不存在,依然报“用户不存在”,执行完以上代码,最后涉及到用户带有“审核”的,会查询examine_state(用户的审核状态),数据库表user_group中含有source_table和source_field进行查询,以上步骤完成,对输入的密码进行存储Token到数据库,匹对账号和密码,数据库中的AccessToken为令牌,用于身份认证,代码如图所示。

用户登录核心代码图
修改密码
修改密码,通过请求data,获取旧密码,并将新密码重新赋值,期间都是需要通过加密,代码如图所示。

修改密码核心代码图
修改数据
修改一个数据,原理与add基本一致,不同点在于通过readConfig()读取关键字,以及通过readQuery()获取URL后面?指定位置的标识,转成Map对象后,执行update操作,同样通过拼接的sql语句执行,执行过程读取query,toWhereSql()语句完成数据库操作,body为修改对象的值,代码如图所示。

修改数据核心代码图
删除数据
删除一条数据,通过readQuery(),获取URL后面的对象地址,删除FROM具体的table,query删除查询FindConfig语句,代码如图示。

图4-11删除数据核心代码图
获取列表
通过请求的参数获取列表数据,代码如图所示。

图获取列表核心代码图
图片上传
通过请求的参数获取列表数据,代码如图4-13所示。

图片上传核心代码图
免费领取项目源码,请关注❥点赞收藏并私信博主,谢谢~
2132

被折叠的 条评论
为什么被折叠?



