目 录
本文基于Java Web和SSM(Spring、SpringMVC、MyBatis)框架,设计并实现了一个功能全面的房产综合信息管理系统。该系统聚焦于房产产权的全周期管理,包括产权登记、房产证件管理、产权抵押、产权变更、解押信息管理以及房产信息管理等核心功能。
系统采用Java作为后端开发语言,利用SSM框架的优势,实现了业务逻辑与数据访问的清晰分离,提高了系统的可维护性和可扩展性。通过SpringMVC的MVC架构,系统提供了友好的用户界面和流畅的交互体验。MyBatis作为持久层框架,简化了数据库操作,提高了数据访问效率。
在功能上,系统不仅支持房产信息的录入、查询、修改和删除,还针对产权管理提供了全面的解决方案。通过产权登记管理,系统能够记录房产的初始产权信息;房产证件管理则实现了证件的生成、发放和查询;产权抵押和变更管理支持房产的抵押和产权变更操作,并记录相应的历史信息;解押信息管理则跟踪和管理房产的解押过程;房产信息管理则提供了全面的房产信息查询和分析功能。
本文的研究和实现为房产管理领域提供了一种高效、可靠的信息化解决方案,有助于提升房产管理效率和产权管理的透明度。未来,我们将继续优化系统功能,加强数据安全保护,推动房产管理信息化的进一步发展。
关键词:房产综合信息管理系统:SSM框架;JavaWeb ;Mysql数据库
This article designs and implements a comprehensive real estate information management system based on Java Web and SSM (Spring, SpringMVC, MyBatis) frameworks. This system focuses on the full cycle management of real estate property rights, including core functions such as property registration, property document management, property mortgage, property change, release information management, and property information management.
The system adopts Java as the backend development language and utilizes the advantages of the SSM framework to achieve clear separation of business logic and data access, improving the maintainability and scalability of the system. Through the MVC architecture of SpringMVC, the system provides a user-friendly interface and smooth interactive experience. MyBatis, as a persistence layer framework, simplifies database operations and improves data access efficiency.
In terms of functionality, the system not only supports the input, query, modification, and deletion of real estate information, but also provides comprehensive solutions for property management. Through property registration management, the system can record the initial property ownership information of the property; Real estate document management realizes the generation, issuance, and inquiry of documents; Property mortgage and change management support the mortgage and change of property rights operations, and record corresponding historical information; The information management of property release tracks and manages the process of property release; Real estate information management provides comprehensive functions for querying and analyzing real estate information.
The research and implementation of this article provide an efficient and reliable information solution for the field of real estate management, which helps to improve the efficiency of real estate management and the transparency of property management. In the future, we will continue to optimize system functions, strengthen data security protection, and promote the further development of information technology in real estate management.
Keywords: Real estate comprehensive information management system: SSM framework; JavaWeb; MySQL database
1 绪论
1.1 选题目的及意义
随着房地产市场的不断发展,房产管理面临着越来越多的挑战和机遇。传统的房产管理方式往往依赖于纸质文档和手工操作,不仅效率低下,而且容易出现数据丢失、错误等问题。因此,开发一套基于Java Web和SSM(Spring、SpringMVC、MyBatis)框架的房产综合信息管理系统显得至关重要。
选题的主要目的在于,通过采用先进的Web技术和成熟的框架,设计并实现一个功能全面、性能稳定、易于维护的房产综合信息管理系统。该系统能够实现对房产信息的全面管理,包括产权登记、房产证件管理、产权抵押、产权变更、解押信息管理等功能,提高房产管理的效率和准确性。同时,该系统还能够提供丰富的数据分析和报表功能,帮助管理者更好地了解市场动态和房产状况,为决策提供支持。
选题的意义在于,一方面,该系统的实现可以推动房产管理领域的信息化进程,提高房产管理的现代化水平;另一方面,通过采用Java Web和SSM框架,可以充分利用这些技术的优势,提高系统的可扩展性、可维护性和性能稳定性。此外,该系统的实现还可以为其他类似的信息管理系统提供参考和借鉴,促进相关领域的技术进步和应用发展。
综上所述,基于Java Web和SSM的房产综合信息管理系统的设计与实现具有重要的实际应用价值和理论研究意义。通过该系统的实现,不仅可以提升房产管理的效率和准确性,还可以推动相关领域的技术进步和应用发展。
在国内,随着房地产市场的迅速发展和信息化建设的深入推进,房产综合信息管理系统得到了广泛的应用和研究。这些系统主要基于各种先进的计算机技术、数据库技术和网络技术,实现了对房产信息的全面、高效管理。这些系统不仅支持基本的房产信息录入、查询、修改和删除操作,还提供了丰富的数据分析、报表生成和决策支持功能。同时,随着移动互联网的普及和发展,越来越多的房产综合信息管理系统开始支持移动端访问和操作,为用户提供更加便捷的服务。
在国外,尤其是西方发达国家,房产市场同样繁荣,房产综合信息管理系统的研究和应用也十分活跃。这些系统往往更加注重系统的稳定性、安全性和可扩展性。在技术实现上,国外的研究者更倾向于采用成熟的框架和先进的技术,如云计算、大数据、人工智能等,以提高系统的性能和智能化水平。此外,国外的房产综合信息管理系统还注重与其他相关系统的集成和协同工作,以实现更加高效的信息共享和业务流程优化。
发展趋势:随着技术的不断进步和应用需求的不断变化,房产综合信息管理系统的发展趋势也日益明显。未来,这些系统将更加注重智能化、综合化、绿色化和服务化方向的发展。同时,随着政府对房地产市场的调控越来越严格,房产综合信息系统也将更加注重产品的品质和服务的质量。此外,随着移动互联网、物联网、区块链等新技术的不断发展和应用,房产综合信息管理系统的功能和性能也将得到进一步提升和完善。
综上所述,房产综合信息管理系统的国内外研究现状呈现出积极的发展态势和广阔的应用前景。未来,随着技术的不断进步和应用需求的不断变化,这些系统将在房产管理中发挥更加重要的作用。
第一章:引言部分将介绍房产综合信息管理系统的选题背景、开发现状,以及研究的内容与主要工作。
第二章:系统需求分析,将分析房产综合信息管理系统的用户需求和功能需求。
第三章:系统设计,设计房产综合信息管理系统的框架、功能模块、数据库等。
第四章:系统实现,实现房产综合信息管理系统的框架搭建以及界面设计。
第五章:系统测试,对房产综合信息管理系统进行界面测试、主要功能测试。
2 系统分析
2.1系统可行性分析
针对基于Java Web加SSM的房产综合信息管理系统的设计与实现,进行系统的可行性分析是至关重要的。可行性分析旨在评估系统的技术可行性、经济可行性和操作可行性,以确保项目的顺利进行和成功实施。
1. 技术可行性分析
技术可行性分析主要评估系统的技术资源和技术条件是否满足开发要求。在本系统中,采用Java Web和SSM(Spring、SpringMVC、MyBatis)框架进行开发,这些技术都是成熟且广泛应用的。Java Web技术提供了稳定可靠的运行环境,而SSM框架则提供了高效的开发模式和强大的数据处理能力。此外,系统还将采用数据库技术来存储和管理房产信息,确保数据的安全性和可靠性。综上所述,从技术角度来看,系统的开发是可行的。
2. 经济可行性分析
经济可行性分析主要评估系统的经济效益和投资回报。首先,系统的开发将为企业或组织带来显著的效益,如提高房产管理效率、减少人力成本、优化资源配置等。其次,通过系统的数据分析功能,企业或组织可以更好地了解市场动态和房产状况,为决策提供支持,从而带来更大的经济效益。最后,系统的投资回报期较短,长期来看,系统的经济效益将远远超过投资成本。因此,从经济角度来看,系统的开发也是可行的。
3. 操作可行性分析
操作可行性分析主要评估系统的易用性和用户接受程度。本系统将采用简洁明了的用户界面和友好的交互设计,使得用户能够轻松上手并快速掌握系统操作方法。同时,系统还将提供详细的使用手册和培训课程,以帮助用户更好地理解和使用系统。综上所述,从操作角度来看,系统的开发同样是可行的。
综上所述,基于Java Web+SSM的房产综合信息管理系统的设计与实现是可行的。该系统在技术、经济和操作三个方面都具备较好的可行性条件,为项目的顺利进行和成功实施提供了有力保障。
系统流程是用一些特定的符合和线条来进行演示用户在使用系统时的过程,在进行系统分析的时候,业务流程可以帮助开发人员更好的理解业务,发现错误,完善系统。
2.2.1 用户登录流程
用户通过登录才能访问系统及权限以内的功能,对此将实现各种应用及管理等功能,用户登录流程图如下图2-1所示。

图2-1 登录流程图
2.2.2数据删除流程
如果系统里面存在一些没有用的数据,相关的管理人员还可以对这些数据进行删除,数据删除时流程图如下图2-3所示。

图2-2 数据删除流程图
根据平台规划的角色划分,系统将划分为系统用户模块、管理员管理模块两大部分。
- 注册登录: 普通用户可以通过注册账户并登录系统,以便访问个人信息和使用系统的各项功能。
- 后台首页: 普通用户登录后可以进入系统的后台首页,查看系统的基本信息和统计数据,方便了解系统的运行情况。
- 产权登记管理: 普通用户可以进行房产产权的登记操作,包括填写房产信息、产权人信息、交易价格等,以确保房产信息的准确性和合法性。
- 房产证件管理: 普通用户可以管理自己的房产证件,包括上传、编辑、删除房产证件的相关文件,方便随时查看和备份。
- 产权抵押管理: 普通用户可以进行房产抵押操作,包括填写抵押人信息、借款金额、抵押合同等,方便进行房产抵押贷款。
- 产权变更管理: 普通用户可以申请房产产权的变更,包括转让、继承、赠与等,填写相关信息并提交申请,以便进行产权变更手续。
- 解押信息管理: 普通用户可以管理已经抵押的房产的解押信息,包括填写解押申请、相关证明文件等,以便进行解除抵押手续。
- 房产信息管理: 普通用户可以浏览和查询系统中的房产信息,包括房产的基本信息、产权人信息、交易记录等,以便获取相关房产信息。
管理员功能需求:
- 登录: 管理员可以通过登录系统,进入管理员后台,进行系统管理和用户管理等操作。
- 后台首页: 管理员登录后可以进入系统的后台首页,查看系统的基本信息和统计数据,方便了解系统的运行情况。
- 系统用户(管理员、普通用户): 管理员可以管理系统中的用户,包括查看用户列表、添加新用户、编辑用户信息以及删除用户。
- 产权登记管理: 管理员可以管理房产产权的登记操作,包括审核用户的登记申请、查看房产登记记录等,以确保登记操作的合法性和准确性。
- 房产证件管理: 管理员可以管理系统中的房产证件,包括上传、编辑、删除房产证件的相关文件,方便用户查看和备份。
- 产权抵押管理: 管理员可以管理房产抵押操作,包括审核用户的抵押申请、查看抵押记录等,以确保抵押操作的合法性和准确性。
- 产权变更管理: 管理员可以管理房产产权的变更申请,包括审核用户的变更申请、查看变更记录等,确保变更操作的合法性和准确性。
- 房商信息管理: 管理员可以管理房产商家的信息,包括添加、编辑、删除房产商家的相关信息,方便用户查询和联系房产商家。
- 解押信息管理: 管理员可以管理房产的解押信息,包括审核用户的解押申请、查看解押记录等,确保解押操作的合法性和准确性。
- 房产信息管理: 管理员可以管理系统中的房产信息,包括审核用户提交的房产信息、查看房产信息记录等,确保房产信息的真实性和准确性。
- 系统管理(轮播图): 管理员可以管理系统的轮播图资源,包括上传、编辑、删除轮播图的相关图片和链接,以提升系统的页面视觉效果和吸引力。
以上功能需求分析涵盖了普通用户和管理员在房产综合信息管理系统中的各项操作和管理需求,旨在确保系统能够满足用户的实际使用需求,提供便捷的房产信息管理和交易服务。
非功能性需求是指房产综合信息管理系统的安全性、可靠性、性能、以及可拓展性等,可以在下表中表示(表3-1)。
表3-1房产综合信息管理系统非功能需求表
| 非功能性需求 | 描述 |
| 安全性 | 系统需要确保用户信息的安全性,包括密码加密、访问控制和数据保护等方面的措施。 |
| 可靠性 | 系统应具备高可用性和稳定性,能够处理大量的用户请求并保证系统正常运行。 |
| 性能 | 系统需要具备高并发处理能力,快速响应用户请求,并能有效管理和存储大量的商品信息。 |
| 可拓展性 | 系统应具备良好的可拓展性,能够适应用户规模的增长和系统功能的扩展。 |
2.4 系统用例分析
系统用例分析是软件工程中的一个重要部分,用于描述系统的功能需求和用户与系统之间的交互。用户角色的用例图如图2-3所示。

图2-3用普通户角色用例图
另外,管理员用例图如图2-4所示。

在完成可行性分析、系统流程分析和功能分析后,我们对项目进行了全面的评估和分析。通过可行性分析,我们确定了项目的技术和经济可行性,确保了项目的可行性。在系统流程分析中,我们详细了解了系统的整体流程和各个环节之间的关系,为后续的设计和开发奠定了基础。而功能分析则帮助我们准确地识别出系统所需的各种功能,并对其进行详细描述。这些分析结果将为后续的系统设计和实现提供指导和参考。通过这些分析工作,我们对项目的目标和需求有了更清晰的认识,为接下来的开发工作奠定了坚实的基础。
本章将讨论包括房产综合信息管理系统的系统架构设计、功能模块设计、数据库系统设计等内容。
3.1 系统架构设计
在系统架构设计中,我们将确定系统的整体结构和组件之间的关系。这包括选择适当的架构风格,划分系统的层次结构,并定义各个模块的职责和交互方式。架构图如下图所示。

图3-1房产综合信息管理系统系统架构设计图
表现层(Presentation Layer):负责与用户进行交互,将系统的功能和数据以易于理解和操作的方式展示给用户。通常包括用户界面、页面设计和用户输入验证等。
业务逻辑层(Business Logic Layer):处理系统的核心业务逻辑,包括对用户请求的处理、业务规则的执行以及数据的处理和转换。它独立于表现层和数据层,实现了业务逻辑的封装和复用。
数据层(Data Layer):负责数据的存储、访问和管理,包括数据库和持久化机制。数据层提供了对数据的增删改查操作,并与业务逻辑层进行交互,使系统能够有效地存储和检索数据。
这三个层次相互独立,通过明确的接口和协议进行通信,实现了系统的模块化和可扩展性。表现层负责将用户的请求传递给业务逻辑层,业务逻辑层处理请求并返回结果,最后数据层负责与数据库交互并提供数据支持。这种分层架构有助于实现系统的可维护性、灵活性和可测试性。
3.2 系统功能模块设计
通过整体功能模块设计,我们将根据需求分析的结果,将系统的功能划分为不同的模块。每个模块负责实现特定的功能,并与其他模块进行协作。我们将详细定义每个模块的输入、输出、处理逻辑和相互依赖关系。房产综合信息管理系统的总体设计模块图如图3-2所示。

图3-2 房产综合信息管理系统功能模块图
数据库设计是系统开发中至关重要的一环,它涉及到数据的组织、存储和管理。在数据库设计中,我们将根据系统的需求设计数据库的概念结构和逻辑结构,包括定义实体、属性、关系和约束等。
3.3.1 数据库概念结构设计
数据库概念结构设计主要涉及数据库的实体和实体之间的关系。通过实体-关系模型或者其他适当的模型,我们将定义系统中涉及的各个实体以及它们之间的联系。下面是房产综合信息管理系统中,主要的数据库表的E-R实体关系图。

图3-6 房产综合信息管理系统总E-R关系图
数据库逻辑结构设计则是在概念结构的基础上,进行具体的数据库表设计。我们将定义每个表的结构、字段和约束,并建立表与表之间的关系。具体如下:
| 编号 | 名称 | 数据类型 | 长度 | 小数位 | 允许空值 | 主键 | 默认值 | 说明 |
| 1 | token_id | int | 10 | 0 | N | Y | 临时访问牌ID | |
| 2 | token | varchar | 64 | 0 | Y | N | 临时访问牌 | |
| 3 | info | text | 65535 | 0 | Y | N | ||
| 4 | maxage | int | 10 | 0 | N | N | 2 | 最大寿命:默认2小时 |
| 5 | create_time | timestamp | 19 | 0 | N | N | CURRENT_TIMESTAMP | 创建时间: |
| 6 | update_time | timestamp | 19 | 0 | N | N | CURRENT_TIMESTAMP | 更新时间: |
| 7 | user_id | int | 10 | 0 | N | N | 0 | 用户编号: |
| 编号 | 名称 | 数据类型 | 长度 | 小数位 | 允许空值 | 主键 | 默认值 | 说明 |
| 1 | auth_id | int | 10 | 0 | N | Y | 授权ID: | |
| 2 | user_group | varchar | 64 | 0 | Y | N | 用户组: | |
| 3 | mod_name | varchar | 64 | 0 | Y | N | 模块名: | |
| 4 | table_name | varchar | 64 | 0 | Y | N | 表名: | |
| 5 | page_title | varchar | 255 | 0 | Y | N | 页面标题: | |
| 6 | path | varchar | 255 | 0 | Y | N | 路由路径: | |
| 7 | position | varchar | 32 | 0 | Y | N | 位置: | |
| 8 | mode | varchar | 32 | 0 | N | N | _blank | 跳转方式: |
| 9 | add | tinyint | 3 | 0 | N | N | 1 | 是否可增加: |
| 10 | del | tinyint | 3 | 0 | N | N | 1 | 是否可删除: |
| 11 | set | tinyint | 3 | 0 | N | N | 1 | 是否可修改: |
| 12 | get | tinyint | 3 | 0 | N | N | 1 | 是否可查看: |
| 13 | field_add | text | 65535 | 0 | Y | N | 添加字段: | |
| 14 | field_set | text | 65535 | 0 | Y | N | 修改字段: | |
| 15 | field_get | text | 65535 | 0 | Y | N | 查询字段: | |
| 16 | table_nav_name | varchar | 500 | 0 | Y | N | 跨表导航名称: | |
| 17 | table_nav | varchar | 500 | 0 | Y | N | 跨表导航: | |
| 18 | option | text | 65535 | 0 | Y | N | 配置: | |
| 19 | create_time | timestamp | 19 | 0 | N | N | CURRENT_TIMESTAMP | 创建时间: |
| 20 | update_time | timestamp | 19 | 0 | N | N | CURRENT_TIMESTAMP | 更新时间: |
表change_of_property_rights (产权变更)
| 编号 | 名称 | 数据类型 | 长度 | 小数位 | 允许空值 | 主键 | 默认值 | 说明 |
| 1 | change_of_property_rights_id | int | 10 | 0 | N | Y | 产权变更ID | |
| 2 | regular_users | int | 10 | 0 | Y | N | 0 | 普通用户 |
| 3 | user_name | varchar | 64 | 0 | Y | N | 用户姓名 | |
| 4 | id_number | varchar | 64 | 0 | Y | N | 身份证号 | |
| 5 | property_number | varchar | 64 | 0 | Y | N | 产权编号 | |
| 6 | property_name | varchar | 64 | 0 | Y | N | 产权名称 | |
| 7 | nature_of_property_rights | varchar | 64 | 0 | Y | N | 产权性质 | |
| 8 | property_address | varchar | 64 | 0 | Y | N | 产权地址 | |
| 9 | unit_room_number | varchar | 64 | 0 | Y | N | 单位房号 | |
| 10 | land_use | varchar | 64 | 0 | Y | N | 土地用途 | |
| 11 | building_area | varchar | 64 | 0 | Y | N | 建筑面积 | |
| 12 | area_inside_the_set | varchar | 64 | 0 | Y | N | 套内面积 | |
| 13 | service_life | varchar | 64 | 0 | Y | N | 使用年限 | |
| 14 | all_names | varchar | 64 | 0 | Y | N | 所有人名 | |
| 15 | change_date | date | 10 | 0 | Y | N | 变更日期 | |
| 16 | change_nature | varchar | 64 | 0 | Y | N | 变更性质 | |
| 17 | name_of_transferee | varchar | 64 | 0 | Y | N | 受让方名 | |
| 18 | change_contract | varchar | 255 | 0 | Y | N | 变更合同 | |
| 19 | examine_state | varchar | 16 | 0 | N | N | 未审核 | 审核状态 |
| 20 | examine_reply | varchar | 16 | 0 | Y | N | 审核回复 | |
| 21 | create_time | datetime | 19 | 0 | N | N | CURRENT_TIMESTAMP | 创建时间 |
| 22 | update_time | timestamp | 19 | 0 | N | N | CURRENT_TIMESTAMP | 更新时间 |
| 编号 | 名称 | 数据类型 | 长度 | 小数位 | 允许空值 | 主键 | 默认值 | 说明 |
| 1 | detention_information_id | int | 10 | 0 | N | Y | 解押信息ID | |
| 2 | regular_users | int | 10 | 0 | Y | N | 0 | 普通用户 |
| 3 | user_name | varchar | 64 | 0 | Y | N | 用户姓名 | |
| 4 | id_number | varchar | 64 | 0 | Y | N | 身份证号 | |
| 5 | property_number | varchar | 64 | 0 | Y | N | 产权编号 | |
| 6 | property_name | varchar | 64 | 0 | Y | N | 产权名称 | |
| 7 | nature_of_property_rights | varchar | 64 | 0 | Y | N | 产权性质 | |
| 8 | property_address | varchar | 64 | 0 | Y | N | 产权地址 | |
| 9 | unit_room_number | varchar | 64 | 0 | Y | N | 单位房号 | |
| 10 | all_names | varchar | 64 | 0 | Y | N | 所有人名 | |
| 11 | release_date | date | 10 | 0 | Y | N | 解押日期 | |
| 12 | release_contract | varchar | 255 | 0 | Y | N | 解押合同 | |
| 13 | examine_state | varchar | 16 | 0 | N | N | 未审核 | 审核状态 |
| 14 | examine_reply | varchar | 16 | 0 | Y | N | 审核回复 | |
| 15 | create_time | datetime | 19 | 0 | N | N | CURRENT_TIMESTAMP | 创建时间 |
| 16 | update_time | timestamp | 19 | 0 | N | N | CURRENT_TIMESTAMP | 更新时间 |
| 编号 | 名称 | 数据类型 | 长度 | 小数位 | 允许空值 | 主键 | 默认值 | 说明 |
| 1 | hits_id | int | 10 | 0 | N | Y | 点赞ID: | |
| 2 | user_id | int | 10 | 0 | N | N | 0 | 点赞人: |
| 3 | create_time | timestamp | 19 | 0 | N | N | CURRENT_TIMESTAMP | 创建时间: |
| 4 | update_time | timestamp | 19 | 0 | N | N | CURRENT_TIMESTAMP | 更新时间: |
| 5 | source_table | varchar | 255 | 0 | Y | N | 来源表: | |
| 6 | source_field | varchar | 255 | 0 | Y | N | 来源字段: | |
| 7 | source_id | int | 10 | 0 | N | N | 0 | 来源ID: |
| 编号 | 名称 | 数据类型 | 长度 | 小数位 | 允许空值 | 主键 | 默认值 | 说明 |
| 1 | property_documents_id | int | 10 | 0 | N | Y | 房产证件ID | |
| 2 | regular_users | int | 10 | 0 | Y | N | 0 | 普通用户 |
| 3 | user_name | varchar | 64 | 0 | Y | N | 用户姓名 | |
| 4 | property_number | varchar | 64 | 0 | Y | N | 产权编号 | |
| 5 | property_name | varchar | 64 | 0 | Y | N | 产权名称 | |
| 6 | date_of_issuance | date | 10 | 0 | Y | N | 发证日期 | |
| 7 | electronic_documents | varchar | 255 | 0 | Y | N | 电子证件 | |
| 8 | create_time | datetime | 19 | 0 | N | N | CURRENT_TIMESTAMP | 创建时间 |
| 9 | update_time | timestamp | 19 | 0 | N | N | CURRENT_TIMESTAMP | 更新时间 |
| 编号 | 名称 | 数据类型 | 长度 | 小数位 | 允许空值 | 主键 | 默认值 | 说明 |
| 1 | property_mortgage_id | int | 10 | 0 | N | Y | 产权抵押ID | |
| 2 | regular_users | int | 10 | 0 | Y | N | 0 | 普通用户 |
| 3 | user_name | varchar | 64 | 0 | Y | N | 用户姓名 | |
| 4 | id_number | varchar | 64 | 0 | Y | N | 身份证号 | |
| 5 | property_number | varchar | 64 | 0 | Y | N | 产权编号 | |
| 6 | property_name | varchar | 64 | 0 | Y | N | 产权名称 | |
| 7 | nature_of_property_rights | varchar | 64 | 0 | Y | N | 产权性质 | |
| 8 | property_address | varchar | 64 | 0 | Y | N | 产权地址 | |
| 9 | unit_room_number | varchar | 64 | 0 | Y | N | 单位房号 | |
| 10 | all_names | varchar | 64 | 0 | Y | N | 所有人名 | |
| 11 | mortgage_date | date | 10 | 0 | Y | N | 抵押日期 | |
| 12 | mortgage_company | varchar | 64 | 0 | Y | N | 抵押公司 | |
| 13 | mortgage_status | varchar | 64 | 0 | Y | N | 抵押状态 | |
| 14 | mortgage_contract | varchar | 255 | 0 | Y | N | 抵押合同 | |
| 15 | examine_state | varchar | 16 | 0 | N | N | 未审核 | 审核状态 |
| 16 | examine_reply | varchar | 16 | 0 | Y | N | 审核回复 | |
| 17 | create_time | datetime | 19 | 0 | N | N | CURRENT_TIMESTAMP | 创建时间 |
| 18 | update_time | timestamp | 19 | 0 | N | N | CURRENT_TIMESTAMP | 更新时间 |
| 编号 | 名称 | 数据类型 | 长度 | 小数位 | 允许空值 | 主键 | 默认值 | 说明 |
| 1 | property_registration_id | int | 10 | 0 | N | Y | 产权登记ID | |
| 2 | regular_users | int | 10 | 0 | Y | N | 0 | 普通用户 |
| 3 | user_name | varchar | 64 | 0 | Y | N | 用户姓名 | |
| 4 | registration_date | date | 10 | 0 | Y | N | 登记日期 | |
| 5 | id_number | varchar | 64 | 0 | Y | N | 身份证号 | |
| 6 | property_number | varchar | 64 | 0 | Y | N | 产权编号 | |
| 7 | property_name | varchar | 64 | 0 | Y | N | 产权名称 | |
| 8 | nature_of_property_rights | varchar | 64 | 0 | Y | N | 产权性质 | |
| 9 | property_address | varchar | 64 | 0 | Y | N | 产权地址 | |
| 10 | unit_room_number | varchar | 64 | 0 | Y | N | 单位房号 | |
| 11 | land_use | varchar | 64 | 0 | Y | N | 土地用途 | |
| 12 | building_area | varchar | 64 | 0 | Y | N | 建筑面积 | |
| 13 | area_inside_the_set | varchar | 64 | 0 | Y | N | 套内面积 | |
| 14 | service_life | varchar | 64 | 0 | Y | N | 使用年限 | |
| 15 | all_names | varchar | 64 | 0 | Y | N | 所有人名 | |
| 16 | property_chart | varchar | 255 | 0 | Y | N | 楼盘图表 | |
| 17 | purchase_contract | varchar | 255 | 0 | Y | N | 购房合同 | |
| 18 | create_time | datetime | 19 | 0 | N | N | CURRENT_TIMESTAMP | 创建时间 |
| 19 | update_time | timestamp | 19 | 0 | N | N | CURRENT_TIMESTAMP | 更新时间 |
表real_estate_developer_information (房商信息)
| 编号 | 名称 | 数据类型 | 长度 | 小数位 | 允许空值 | 主键 | 默认值 | 说明 |
| 1 | real_estate_developer_information_id | int | 10 | 0 | N | Y | 房商信息ID | |
| 2 | property_name | varchar | 64 | 0 | Y | N | 楼盘名称 | |
| 3 | property_address | varchar | 64 | 0 | Y | N | 楼盘地址 | |
| 4 | development_enterprise | varchar | 64 | 0 | Y | N | 开发企业 | |
| 5 | enterprise_address | varchar | 64 | 0 | Y | N | 企业地址 | |
| 6 | enterprise_type | varchar | 64 | 0 | Y | N | 企业类型 | |
| 7 | social_tax_number | varchar | 64 | 0 | Y | N | 社会税号 | |
| 8 | corporate_legal_representative | varchar | 64 | 0 | Y | N | 企业法人 | |
| 9 | establishment_time | varchar | 64 | 0 | Y | N | 成立时间 | |
| 10 | contact_phone_number | varchar | 64 | 0 | Y | N | 联系电话 | |
| 11 | registered_capital | varchar | 64 | 0 | Y | N | 注册资本 | |
| 12 | create_time | datetime | 19 | 0 | N | N | CURRENT_TIMESTAMP | 创建时间 |
| 13 | update_time | timestamp | 19 | 0 | N | N | CURRENT_TIMESTAMP | 更新时间 |
表real_estate_information (房产信息)
| 编号 | 名称 | 数据类型 | 长度 | 小数位 | 允许空值 | 主键 | 默认值 | 说明 |
| 1 | real_estate_information_id | int | 10 | 0 | N | Y | 房产信息ID | |
| 2 | regular_users | int | 10 | 0 | Y | N | 0 | 普通用户 |
| 3 | user_name | varchar | 64 | 0 | Y | N | 用户姓名 | |
| 4 | id_number | varchar | 64 | 0 | Y | N | 身份证号 | |
| 5 | property_number | varchar | 64 | 0 | Y | N | 产权编号 | |
| 6 | property_name | varchar | 64 | 0 | Y | N | 产权名称 | |
| 7 | nature_of_property_rights | varchar | 64 | 0 | Y | N | 产权性质 | |
| 8 | property_address | varchar | 64 | 0 | Y | N | 产权地址 | |
| 9 | unit_room_number | varchar | 64 | 0 | Y | N | 单位房号 | |
| 10 | all_names | varchar | 64 | 0 | Y | N | 所有人名 | |
| 11 | mortgage_status | varchar | 64 | 0 | Y | N | 抵押状态 | |
| 12 | change_status | varchar | 64 | 0 | Y | N | 变更状态 | |
| 13 | create_time | datetime | 19 | 0 | N | N | CURRENT_TIMESTAMP | 创建时间 |
| 14 | update_time | timestamp | 19 | 0 | N | N | CURRENT_TIMESTAMP | 更新时间 |
| 编号 | 名称 | 数据类型 | 长度 | 小数位 | 允许空值 | 主键 | 默认值 | 说明 |
| 1 | regular_users_id | int | 10 | 0 | N | Y | 普通用户ID | |
| 2 | user_name | varchar | 64 | 0 | Y | N | 用户姓名 | |
| 3 | user_gender | varchar | 64 | 0 | Y | N | 用户性别 | |
| 4 | user_phone_number | varchar | 64 | 0 | Y | N | 用户电话 | |
| 5 | user_address | varchar | 64 | 0 | Y | N | 用户地址 | |
| 6 | id_number | varchar | 64 | 0 | Y | N | 身份证号 | |
| 7 | examine_state | varchar | 16 | 0 | N | N | 已通过 | 审核状态 |
| 8 | user_id | int | 10 | 0 | N | N | 0 | 用户ID |
| 9 | create_time | datetime | 19 | 0 | N | N | CURRENT_TIMESTAMP | 创建时间 |
| 10 | update_time | timestamp | 19 | 0 | N | N | CURRENT_TIMESTAMP | 更新时间 |
| 编号 | 名称 | 数据类型 | 长度 | 小数位 | 允许空值 | 主键 | 默认值 | 说明 |
| 1 | upload_id | int | 10 | 0 | N | Y | 上传ID | |
| 2 | name | varchar | 64 | 0 | Y | N | 文件名 | |
| 3 | path | varchar | 255 | 0 | Y | N | 访问路径 | |
| 4 | file | varchar | 255 | 0 | Y | N | 文件路径 | |
| 5 | display | varchar | 255 | 0 | Y | N | 显示顺序 | |
| 6 | father_id | int | 10 | 0 | Y | N | 0 | 父级ID |
| 7 | dir | varchar | 255 | 0 | Y | N | 文件夹 | |
| 8 | type | varchar | 32 | 0 | Y | N | 文件类型 |
| 编号 | 名称 | 数据类型 | 长度 | 小数位 | 允许空值 | 主键 | 默认值 | 说明 |
| 1 | user_id | mediumint | 8 | 0 | N | Y | 用户ID:[0,8388607]用户获取其他与用户相关的数据 | |
| 2 | state | smallint | 5 | 0 | N | N | 1 | 账户状态:[0,10](1可用|2异常|3已冻结|4已注销) |
| 3 | user_group | varchar | 32 | 0 | Y | N | 所在用户组:[0,32767]决定用户身份和权限 | |
| 4 | login_time | timestamp | 19 | 0 | N | N | CURRENT_TIMESTAMP | 上次登录时间: |
| 5 | phone | varchar | 11 | 0 | Y | N | 手机号码:[0,11]用户的手机号码,用于找回密码时或登录时 | |
| 6 | phone_state | smallint | 5 | 0 | N | N | 0 | 手机认证:[0,1](0未认证|1审核中|2已认证) |
| 7 | username | varchar | 16 | 0 | N | N | 用户名:[0,16]用户登录时所用的账户名称 | |
| 8 | nickname | varchar | 16 | 0 | Y | N | 昵称:[0,16] | |
| 9 | password | varchar | 64 | 0 | N | N | 密码:[0,32]用户登录所需的密码,由6-16位数字或英文组成 | |
| 10 | | varchar | 64 | 0 | Y | N | 邮箱:[0,64]用户的邮箱,用于找回密码时或登录时 | |
| 11 | email_state | smallint | 5 | 0 | N | N | 0 | 邮箱认证:[0,1](0未认证|1审核中|2已认证) |
| 12 | avatar | varchar | 255 | 0 | Y | N | 头像地址:[0,255] | |
| 13 | open_id | varchar | 255 | 0 | Y | N | 针对获取用户信息字段 | |
| 14 | create_time | timestamp | 19 | 0 | N | N | CURRENT_TIMESTAMP | 创建时间: |
| 15 | vip_level | varchar | 255 | 0 | Y | N | 会员等级 | |
| 16 | vip_discount | double | 11 | 2 | Y | N | 0.00 | 会员折扣 |
| 编号 | 名称 | 数据类型 | 长度 | 小数位 | 允许空值 | 主键 | 默认值 | 说明 |
| 1 | group_id | mediumint | 8 | 0 | N | Y | 用户组ID:[0,8388607] | |
| 2 | display | smallint | 5 | 0 | N | N | 100 | 显示顺序:[0,1000] |
| 3 | name | varchar | 16 | 0 | N | N | 名称:[0,16] | |
| 4 | description | varchar | 255 | 0 | Y | N | 描述:[0,255]描述该用户组的特点或权限范围 | |
| 5 | source_table | varchar | 255 | 0 | Y | N | 来源表: | |
| 6 | source_field | varchar | 255 | 0 | Y | N | 来源字段: | |
| 7 | source_id | int | 10 | 0 | N | N | 0 | 来源ID: |
| 8 | register | smallint | 5 | 0 | Y | N | 0 | 注册位置: |
| 9 | create_time | timestamp | 19 | 0 | N | N | CURRENT_TIMESTAMP | 创建时间: |
| 10 | update_time | timestamp | 19 | 0 | N | N | CURRENT_TIMESTAMP | 更新时间: |
通过以上的设计工作,我们将为系统的开发提供清晰的指导和规范,确保系统能够按照需求进行开发,并且具备良好的可维护性和扩展性。
4关键模块的设计与实现
在详细设计与实现阶段,我们将根据系统需求和功能模块的设计,进行具体的代码编写和系统搭建。通过编写代码、进行测试和调试,最终完成整个房产综合信息管理系统的开发。
4.1用户注册界面
用户注册界面用于新用户进行账号注册,用户需要填写必要的个人信息并选择合适的用户名和密码。注册界面应该进行输入验证和数据格式检查,确保用户提供有效的信息。界面如下图所示。

图4-1用户注册界面图
注册代码如下:

4.2 用户登录界面
用户登录界面用于已注册用户进行账号登录,用户需要输入正确的用户名和密码才能成功登录系统。登录界面应对用户的输入进行验证,并提供密码找回或重新注册的选项。界面如下图所示。

图4-2用户登录界面图
登录代码如下:

4.3产权登记管理界面
管理员和用户可以管理产权登记信息。包括查看添加和删除等操作,比如产权人姓名、产权人身份证号、性别、电话号码、登记日期、产权地址、产权编号、产权性质、土地性质、建筑面积、套内面积、购房合同等,填写详实信息确保产权信息准确、完整,为房产交易提供保障和便利。管理员需审核用户提交的房产登记申请,确保登记信息的真实性和合法性,维护系统产权信息的准确性。界面如下图所示。

图4.3产权登记管理界面图
4.4房产证件理模块
通过此功能,用户可以上传、编辑、删除自己的房产证件信息,管理员审核用户上传的房产证件,确保证件文件完整、真实,方便为用户提供可靠的证明材料。界面如下图所示。

图4.4 房产证件管理界面图
4.5产权抵押管理模块
用户可灵活进行房产抵押操作,填写相关信息,办理房产抵押贷款手续,实现资金流动,满足个人财务需求。 管理员审核用户的抵押申请,确保抵押操作的合法性和准确性,保障房产抵押交易的顺利进行。界面图如下所示。

图4.5产权抵押管理界面图
4.6产权变更管理界面
在用户可申请房产产权的变更,包括转让、继承等,提供详实信息,比如产权的使用年限、所有人名、变更日期、变更性质、受让方名、变更合同等等详细信息,确保产权变更手续合法、便捷。管理员审核用户的产权变更申请,包括转让、继承等,确保变更手续合法、规范,维护房产交易的正常秩序。界面如下图所示。

图4.6产权变更管理界面图
4.7房商信息管理界面
管理员管理系统中的房产商家企业的信息,比如楼盘名称、楼盘地址、开发企业、企业地址、企业类型、社会税号、企业法人、成立时间、联系电话、注册资本,包括添加、编辑、删除房商信息,提供丰富的房产服务资源。界面如下图所示。

图4.7房商信息管理界面图
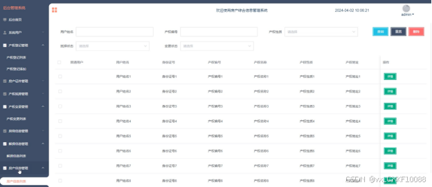
4.8解押信息管理模块
在解押信息管理页面,用户能够管理已抵押房产的解押信息,填写相关申请,办理解除抵押手续,灵活处理房产负债;管理员审核回复用户的解押申请,确保解押操作的合法性和准确性,维护房产解押交易的正常进行。此外,用户还可以对信息进行添加、删查和查询。界面如下图所示。

图4.8 解押信息列表查看界面图
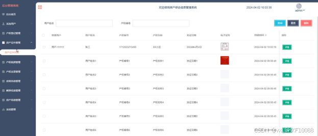
4.9房产信息管理界面
普通用户可以查看自己房产信息,如普通用户、用户姓名、产权编号、产权名称、发证日期、电子证件等信息,可对房户信息进行编辑和删除操作。管理员审核用户提交的房产信息,确保信息的真实性和准确性,维护系统房产信息的完整性和可信度。界面如下图所示。

图4.9房产信息管理界面图
4.10 系统用户界面
管理员对可以对用户账号进行管理,包括用户信息的查看、编辑和删除等操作。管理员可以根据需要进行用户权限的控制和账号状态的管理。界面如下图所示。

图4-10系统用户界面图
系统用户代码如下:

5系统测试
系统测试的目的是确保系统的功能完整、性能稳定,并验证系统是否符合预期的设计和需求。通过系统测试,可以发现和修复潜在的错误和缺陷,提高系统的质量和可靠性。同时,系统测试还可以评估系统在不同条件下的性能表现,包括并发性能、响应时间和容错能力等。通过全面的系统测试,可以确保系统在正式上线前达到高品质的状态。
通过对用户登录功能、房产信息添加功能、密码修改功能进行了测试,测试如下表5-1、5-2、5-3、所示。
| 测试用例编号 | 测试描述 | 预期结果 | 实际结果 | 是否通过 |
| TC001 | 使用正确的用户名和密码进行登录 | 成功登录系统,跳转到用户首页 | 登录成功,跳转到用户首页 | 通过 |
| TC002 | 使用不存在的用户名进行登录 | 显示错误提示信息:用户名不存在 | 显示错误提示信息:用户名不存在 | 通过 |
| TC003 | 使用正确的用户名和错误的密码进行登录 | 显示错误提示信息:密码错误 | 显示错误提示信息:密码错误 | 通过 |
| TC004 | 不输入用户名和密码直接点击登录按钮 | 显示错误提示信息:用户名和密码不能为空 | 显示错误提示信息:用户名和密码不能为空 | 通过 |
表5-2 产权登记信息添加功能测试表
| 测试用例编号 | 测试描述 | 预期结果 | 实际结果 | 是否通过 |
| TC001 | 使用合法的产权信息添加一个产权信息 | 产权登记信息成功添加到系统 | 产权登记信息成功添加到系统 | 通过 |
| TC002 | 使用已存在的产权名称添加一个新产权登记信息 | 显示错误提示信息:产权名称已存在 | 显示错误提示信息:产权名称已存在 | 通过 |
| TC003 | 添加产权登记信息时不输入必填信息 | 显示错误提示信息:必填字段不能为空 | 显示错误提示信息:必填字段不能为空 | 通过 |
表5-3 密码修改功能测试表
| 测试用例编号 | 测试描述 | 预期结果 | 实际结果 | 是否通过 |
| TC001 | 输入正确的原密码和新密码进行修改 | 密码成功修改 | 密码成功修改 | 通过 |
| TC002 | 输入错误的原密码和新密码进行修改 | 显示错误提示信息:原密码错误 | 显示错误提示信息:原密码错误 | 通过 |
| TC003 | 不输入原密码和新密码直接点击修改按钮 | 显示错误提示信息:密码不能为空 | 显示错误提示信息:密码不能为空 | 通过 |
以上是对系统测试的一些典型测试用例的描述。通过这些测试每个测试用例都有预期结果,并与实际结果进行对比,判断是否通过测试。通过全面的系统测试,可以确保系统的各项功能正常运行,并具备高质量的用户体验。
[1] Ismaeil H M E . Asset Information Model Management-Based GIS/BIM Integration in Facility Management Contract [J]. Sustainability, 2024, 16 (6):
[2] 黄翔. 大数据在事业单位房产管理中的应用 [J]. 投资与创业, 2023, 34 (24): 133-135.
[3] 白国华,李永春,孙涛,等. “数字政府”建设赋能 龙都群众网上幸福生活[N]. 濮阳日报, 2023-09-20 (001).
[4] 徐翰. 天地图在房产信息管理系统中的应用 [J]. 测绘与空间地理信息, 2023, 46 (06): 99-101+105.
[5] 赵冲. 新时代高校房产管理改革探讨 [J]. 住宅与房地产, 2023, (13): 87-89.
[6] 姜岩. 基于SWOT分析的高校房产管理信息化探究 [J]. 中国管理信息化, 2023, 26 (05): 90-94.
[7] 苏和, 智慧物业信息管理软件. 内蒙古自治区, 阿拉善盟文心知识产权服务有限公司, 2022-06-21.
[8] 李哲. 不动产统一登记对房产档案利用工作的冲击与对策——以郑州市房产档案馆为例 [J]. 未来城市设计与运营, 2022, (05): 76-78.
[9] 盛皓. 基于分布式云服务的房地产信息管理系统设计[D]. 西华大学, 2022. DOI:10.27411/d.cnki.gscgc.2022.000655.
[10] 马牧原,徐日升,徐亚飞. 基于大数据技术的房屋管理系统 [J]. 电子测试, 2022, 36 (08): 85-87. DOI:10.16520/j.cnki.1000-8519.2022.08.037.
[11] 赵雯斐. 基于SFIC模型的兰州市房地产市场监管信息共享机制优化研究[D]. 兰州大学, 2022. DOI:10.27204/d.cnki.glzhu.2022.001885.
[12] 高彦春. 基于Web的房地产租售信息管理系统设计与实现 [J]. 电子世界, 2022, (02): 70-72. DOI:10.19353/j.cnki.dzsj.2022.02.029.
[13] 王井超. GIS技术在房地产管理中的应用 [J]. 中国住宅设施, 2022, (01): 116-118.
[14] 王馨. 基于数据挖掘的房屋租赁管理系统设计与实现[D]. 哈尔滨理工大学, 2021. DOI:10.27063/d.cnki.ghlgu.2021.001145.
[15] 马亚峰. 基于天地图的房产信息动态管理 [J]. 北京测绘, 2021, 35 (06): 823-827. DOI:10.19580/j.cnki.1007-3000.2021.06.025.
[16] 岳朝阳. 房地产企业客户信息管理与服务问题研究 [J]. 质量与市场, 2020, (15): 71-73.
在完成这篇房产综合信息管理系统的设计与实现的论文之际,我要向所有为本研究提供支持和帮助的人表示最诚挚的感谢。首先,我要衷心感谢我的指导老师,在整个研究过程中给予了我宝贵的建议和指导,使我的研究工作得以顺利进行。同时,我也要感谢同学们和团队成员,他们的热情帮助和积极支持使我在面对困难和挑战时能够坚持不懈。此外,我要向家人和朋友们表达深深的感谢,他们的理解和鼓励给予了我无尽的动力和信心。最后,我要感谢所有为本研究做出贡献的人们,你们的支持和帮助使本研究得以圆满完成。在未来的学术道路上,我将继续努力,不辜负大家的期望,为信息技术领域的发展贡献自己的力量。再次向所有相关人员表示衷心的感谢!
免费领取项目源码,请关注❥点赞收藏并私信博主,谢谢~
933

被折叠的 条评论
为什么被折叠?



