摘 要
随着信息化时代的蓬勃发展,小区业主对智能化.网络化的智能服务需求越来越大。如今的社区服务存在功能简单、灵活性较差等问题,难以满足社区业主多样化的住房需求。针对以上所说的问题.我们要将传统的小区改成“互联网+”的小区管理模式。
本课题设计并开发了一个包含楼房模块、业主管理模块、社区公告模块、欠费信息模块、维修模块以及支付模块的小区智慧物业管理系统,文中采用了SSM框架的并实现了基于SSM的智慧物业管理系统﹔本系统设计的初衷是为了方便业主和物业人员的使用。通过智慧物业系统的管理,首页展示不同角色在不同模块下所起的作用,从而使系统更加的完善,条理更加的清晰,层次更加的分明。通过增加管理员的管理,扩大管理员的权限,使得通知更加的到位,从而建设一个更为人性化的智慧物业系统,切实保证住户的日常需求得到满足。
在本论文中主要实现了智慧物业系统的使用和操作。首先,使用SSM框架对整体的系统进行了主要的设计,紧接着,完成了系统的角色分类,包括管理员、居民用户两种角色.并对不同角色功能进行分层调用;最后再将三者联系起来,实现整体功能的汇聚,构成一个完整的系统。在该系统的使用下,明显减少了物业管理人员的工作量,同时也方便了社区业主对系统的使用。
本系统采用的数据库是Mysql,使用SSM技术开发。在设计过程中,充分保证了系统代码的良好可读性、实用性、易扩展性、通用性、便于后期维护、操作方便以及页面简洁等特点。
关键词:智慧物业管理系统,SSM,Mysql
SSM Smart Property Management System
ABSTRACT
With the vigorous development of the information age, the demand for intelligent and networked intelligent services by community owners is increasing. Nowadays, community services have problems such as simple functions and poor flexibility, making it difficult to meet the diverse housing needs of community owners. To solve the problems mentioned above, we will change the traditional community management mode to the "Internet plus" community management mode.
This project designs and develops a smart property management system for residential areas, which includes building modules, owner management modules, community announcement modules, arrears information modules, maintenance modules, and payment modules. The article adopts the SSM framework and implements a smart property management system based on SSM. The original intention of this system design is to facilitate the use of owners and property personnel. Through the management of the smart property system, the homepage displays the roles played by different roles in different modules, thereby making the system more complete, organized, and hierarchical. By increasing the management of administrators and expanding their authority, notifications can be more in place, thereby building a more humane intelligent property system and effectively ensuring that the daily needs of residents are met.
In this paper, the main implementation is the use and operation of a smart property system. Firstly, the main design of the overall system was carried out using the SSM framework. Subsequently, the system's role classification was completed, including two roles: administrator and resident user. Different role functions were layered and called; Finally, connect the three together to achieve the aggregation of overall functions and form a complete system. Under the use of this system, the workload of property management personnel has been significantly reduced, while also facilitating the use of the system by community owners.
The database used in this system is MySQL, developed using SSM technology. During the design process, the system code was fully guaranteed to have good readability, practicality, scalability, universality, ease of later maintenance, easy operation, and concise pages.
Keywords: Smart Property Management System, SSM, MySQL
目录
SSM Smart Property Management System
表access_control_information (门禁信息)
表parking_space_information (车位信息)
第1章 绪论
1.1背景及意义
随着经济的发展和社会的进步,如今互联网技术无处不在,逐渐深入到我们的日常生活中,体现在智能手机、无人机、机器人技术、激光传输互联网、分散式医疗记录系统等多个领域。按照当下的发展趋势,互联网技术已然正在迅速发展成为一个新兴的技术产业,朝着多元化方向发展。“互联网+”浪潮的汹涌而来,使得信息化、智能化成为未来物业管理行业发展的必然趋势,此时作为传统服务业的物业管理,就需要大力引进新技术,实现现代化智慧物业.拥抱人工智能,加快向现代服务业转型.推进标准化管理,通过扩大服务规模实现规模效益。
国家明确提出∶城市信息化建设的高级阶段是智慧城市。智慧城市的概念最早由IBM在2009年提出,目前还在不断发展完善当中。本质是融合,通过物联网、大数据计算和大数据技术等智能信息技术的运用.将城市里分散的,各自为政的信息化系统整合起来,使其具有感知化、物联网化、共享化和智能化的特点。而智慧城市中最重要的组成部分就是智慧物业。
智慧物业是信息时代的必然产物,它是多学科、多种高新技术的有机结合,也是现代物业发展的主流方向。由于信息技术的飞速发展.目前尚未给智慧物业下一个精确的定义。简单来说.智慧物业是指拥有集成的楼宇自动化控制系统与现代通信网络设施.并且能对物业的保安、消防、环境等许多方面进行自动监控,能为用户提供信息传输便利和美好环境、具有高度综合管理功能的现代物业。构建智慧物业的目的就是给住户提供一个更加舒适、安全的生活环境。
本课题的智慧物业系统,旨在对城市传统小区的改造和创新提供一些有用的思路。系统加入超级用户角色的管理,整合社区信息,完善基础设施.提高住区的生活水平和服务。系统使用过程中,物业管理人员可以对用户信息进行修改和查询,用户可以对自己的居所进行报修和提出自己宝贵的建议,从而大大减少物业管理人员的工作量.给住户们带来更好的社区居住经历。智慧物业系统优化了传统的物业管理模式,实现物业管理便利化、精细化.物业和用户整体统一化。智慧物业系统利用高效的互联网信息化手段构建区域生态链,提升智慧物业社区的生活品质,增加住户的幸福感和满足感。
1.2 国内外研究概况
在国内,我国信息技术发展起步比较晚,后期慢慢的不断地进行优化和改革,才让我们的信息技术上升到新的阶段。在现在系统开发的技术经过大量研究和生活实践基本能够达到独立开发系统应用的水平,生活中的各个行业也把系统操作替换成传统的记录模式。
近几年来,随着城市住户的不断增加,房价居高不下,各小区楼盘的物业管理愈发艰难。但除了万科,碧桂园等出名的房产物业公司拥有完善的系统以外,并非每一家物业公司都有实力拥有自己的管理系统,更多的小规模物业公司仍然进行着手工管理作业。但人的精力是有限的,所以传统的经营方式难免会存在效率低下等缺点,还伴随着人力资源的大量浪费。在管理的工作中,所涉及到的工作电脑机器比人类更为擅长,能够达到快速、准确、耗费资源小等要求。基于这些显著的优点,如果能设计一套完整且贴合物业和住户需求的智慧物业管理系统,那么将大大地提管理员的工作效率以及用户的办事的便捷程度。在具备这样的系统之下,只需配备少量管理人员对数据库进行日常数据审核、管理以及定期维护。整个过程中管理人员只需提供少量的必要信息,大部分数据处理工作皆由数据库和相关程序来完成,节省了大量时间。如果数据库中的某部分信息存在错误,那么管理人员可以通过批量修改等方式来降低排错过程中所要花费的时间和精力。基于这个背景下设计一款智慧物业管理系统,利用系统便利性的优点,提高管理员的工作效率,使住户能够享受更加便捷高效的服务。
1.3 研究的内容
目前许多人仍将传统的纸质工具作为信息管理的主要工具,而网络技术的应用只是起到辅助作用。在对网络工具的认知程度上,较为传统的office软件等仍是人们使用的主要工具,而相对全面且专业的社团信息管理软件仍没有得到大多数人的了解或认可。本选题则旨在通过标签分类管理等方式,实现主页,个人资料(个人信息、修改资料)用户管理(管理员、居民用户)小区信息、居民信息、人员信息、车位信息、巡逻记录、门禁信息、费用信息、付费信息、报修信息、投诉信息、楼栋名称、小区名称、等系统管理功能,从而实现快捷方便的居民用户查询车位信息、费用信息、报修信息等需求。
第2章 相关技术
2.1 开发技术
本系统前端部分基于MVVM模式进行开发,采用B/S模式,后端部分基于Java的SSM框架进行开发。
前端部分:前端框架采用了比较流行的渐进式JavaScript框架Vue.js。使用Vue-Router和Vuex实现动态路由和全局状态管理,Ajax实现前后端通信,Element UI组件库使页面快速成型,项目前端通过栅格布局实现响应式,可适应PC端、平板端、手机端等不同屏幕大小尺寸的完美布局展示。
后端部分:采用SSM作为开发框架,同时集成MyBatis、Redis等相关技术。
2.2 SSM框架介绍
SSM(Spring+SpringMVC+MyBatis)框架集由Spring、MyBatis两个开源框架整合而成(SpringMVC是Spring中的部分内容)。常作为数据源较简单的web项目的框架。
1.6.1 Spring
Spring就像是整个项目中装配bean的大工厂,在配置文件中可以指定使用特定的参数去调用实体类的构造方法来实例化对象。也可以称之为项目中的粘合剂。
Spring的核心思想是IoC(控制反转),即不再需要程序员去显式地`new`一个对象,而是让Spring框架帮你来完成这一切。
1.6.2 SpringMVC
SpringMVC在项目中拦截用户请求,它的核心Servlet即DispatcherServlet承担中介或是前台这样的职责,将用户请求通过HandlerMapping去匹配Controller,Controller就是具体对应请求所执行的操作。SpringMVC相当于SSH框架中struts。
1.6.3 mybatis
mybatis是对jdbc的封装,它让数据库底层操作变的透明。mybatis的操作都是围绕一个sqlSessionFactory实例展开的。mybatis通过配置文件关联到各实体类的Mapper文件,Mapper文件中配置了每个类对数据库所需进行的sql语句映射。在每次与数据库交互时,通过sqlSessionFactory拿到一个sqlSession,再执行sql命令。
页面发送请求给控制器,控制器调用业务层处理逻辑,逻辑层向持久层发送请求,持久层与数据库交互,后将结果返回给业务层,业务层将处理逻辑发送给控制器,控制器再调用视图展现数据。
2.3 MVVM模式
MVVM是Model-View-ViewModel的简写。它本质上就是MVC 的改进版。MVVM 就是将其中的View 的状态和行为抽象化,让我们将视图 UI 和业务逻辑分开。当然这些事 ViewModel 已经帮我们做了,它可以取出 Model 的数据同时帮忙处理 View 中由于需要展示内容而涉及的业务逻辑。微软的WPF带来了新的技术体验,如Silverlight、音频、视频、3D、动画……,这导致了软件UI层更加细节化、可定制化。同时,在技术层面,WPF也带来了 诸如Binding、Dependency Property、Routed Events、Command、DataTemplate、ControlTemplate等新特性。MVVM(Model-View-ViewModel)框架的由来便是MVP(Model-View-Presenter)模式与WPF结合的应用方式时发展演变过来的一种新型架构框架。它立足于原有MVP框架并且把WPF的新特性糅合进去,以应对用户日益复杂的需求变化。
2.4 B/S结构
B/S(Browser/Server)比前身架构更为省事的架构。它借助Web server完成数据的传递交流。只需要下载浏览器作为用户端,那么工作就达到“瘦身”效果, 不需要考虑不停装软件的问题[9]。
2.5 MySQL数据库
Mysql的语言是非结构化的,用户可以在数据上进行工作。MySQL因为其速度、可靠性和适应性而备受关注。大多数人都认为在不需要事务化处理的情况下,MySQL是管理内容最好的选择。并且因为Mysql的语言和结构比较简单,但是功能和存储信息量很强大,所以得到了普遍的应用。
Mysql数据库在编程过程中的作用是很广泛的,为用户进行数据查询带来了方便。Mysql数据库的应用因其灵活性强,功能强大,所以在实现某功能时只需要一小段代码,而不像其他程序需要编写大段代码。总体来说,Mysql数据库的语言相对要简洁很多。
数据流程分析主要就是数据存储的储藏室,它是在计算机上进行的,而不是现实中的储藏室。数据的存放是按固定格式,而不是无序的,其定义就是:长期有固定格式,可以共享的存储在计算机存储器上。数据库管理主要是数据存储、修改和增加以及数据表的建立。为了保证系统数据的正常运行,一些有能力的处理者可以进行管理而不需要专业的人来处理。数据表的建立,可以对数据表中的数据进行调整,数据的重新组合及重新构造,保证数据的安全性。介于数据库的功能强大等特点,本系统的开发主要应用了Mysql进行对数据的管理。
2.6 Vue.js 主要功能
Vue.js是一套构建用户界面的渐进式框架。与其他重量级框架不同的是,Vue采用自底向上增量开发的设计。Vue 的核心库只关注视图层,并且非常容易学习,非常容易与其它库或已有项目整合。另一方面,Vue 完全有能力驱动采用单文件组件和Vue生态系统支持的库开发的复杂单页应用。
Vue.js 的目标是通过尽可能简单的 API 实现响应的数据绑定和组合的视图组件。
Vue.js 自身不是一个全能框架——它只聚焦于视图层。因此它非常容易学习,非常容易与其它库或已有项目整合。另一方面,在与相关工具和支持库一起使用时,Vue.js 也能驱动复杂的单页应用。
第3章 系统分析
3.1 需求分析
智慧物业管理系统主要是为了实现快捷方便的居民用户查询车位信息、费用信息、报修信息等需求和更方便快捷的满足用户,更好存储所有数据信息及快速方便的检索功能,对系统的各个模块是通过许多今天的发达系统做出合理的分析来确定考虑用户的可操作性,遵循开发的系统优化的原则,经过全面的调查和研究。
任何一个项目在开发研究前,都需要对研发系统本身的需求做一个认真的分析,市场的调研是不可忽视的,从实际场景中确定使用用户的功能需求,从而明确目标,对整个系统的开发有一个更加准确的定位。在这个章节,需要对系统的性能分析,业务流程分析,和数据等进行分析,智慧物业管理系统的整体界面简单,功能完善。
需求的可行性是分析和讨论发达的系统能达到什么样的要求。开发的系统或网站是否符合之前的要求。只有在预先评估系统的开发中,才能在系统开发和实施之前完成需求。系统在开发和运用过程中,在技术可行性、操作可行性、经济可行性和法律可行性这几点展开的详细说明,证明了这几点是可行的。
系统所要实现的功能分析,对于现在网络方便的管理,系统要实现用户可以直接在平台上进行查看所有数据信息,根据需求可以进行在线添加,删除或修改智慧物业管理系统信息,这样既能节省时间,不用再像传统的方式耽误时间,真的很难去满足用户的各种需求。所以智慧物业管理系统的开发不仅能满足用户的需求,还能减少原有不必要的工作量,大大提高了管理员的工作效率。
3.2 系统可行性分析
3.2.1技术可行性:技术背景
本系统在Windows操作系统中进行开发,并且目前PC机的性能已经可以胜任普通网站的web服务器。系统开发所使用的技术也都是自身所具有的,也是当下广泛应用的技术之一。
系统的开发环境和配置都是可以自行安装的,系统使用SSM开发工具,使用比较成熟的Mysql数据库进行对系统前台及后台的数据交互,根据技术语言对数据库,结合需求进行修改维护,可以使得网站运行更具有稳定性和安全性,从而完成实现网站的开发。
(1)硬件可行性分析
系统管理及信息分析的设计对于所使用的计算机没有什么硬性的要求,计算机只要可以正常的使用进行代码的编写及页面设计就可行,主要是对于服务器有些要求,对于平台搭建完成要上传的服务器是有一定的要求的,服务器必须选择安全性比较高的,然后就是在打开网站必须顺畅,不能停顿太长时间;性价比高;安全性高。
(2)软件可行性分析
开发整个系统使用的是云计算,流量的可扩展性和基于流量的智能调整云计算的优点就是流量的可扩展性和基于流量的智能调整,保障系统的安全和数据信息的及时备份。
因此,我们从两个方面进行了可行性研究,可以看出系统的开发没有问题。
3.2.2经济可行性
在智慧物业管理系统开发之前所做的市场调研及其他相关的管理系统,都是没有任何费用的,都是通过开发者自己的努力,所有工作都是自己亲力亲为,在碰到自己比较难以解决的问题,大多是通过同学和指导老师的帮助进行相关信息的解决,所以对于智慧物业管理系统的开发在经济上是完全可行的,没有任何费用支出的。
使用比较成熟的技术,系统是基于SSM的开发,采用Mysql数据库。所以系统在开发人力、财力要求不高,具有经济可行性。
3.2.3操作可行性:
可操作性主要是对智慧物业管理系统设计完成后,用户的使用体验度,以及管理员可以通过系统随时管理相关的数据信息,并且对于系统,管理员和用户两种角色,都可以简单明了的进入到自己的系统界面,通过界面导航菜单可以简单明了地操作功能模块,方便用户信息的操作需求和管理员管理数据信息,对于系统的操作,不需要专业人员都可以直接进行功能模块的操作管理,所以在系统的可操作性是完全可以的。本系统的操作过程使用的也是界面窗口进行登录,所以操作人员只要会简单的电脑操作就完全可以的。
3.3 项目设计目标与原则
1、关于智慧物业管理系统的基本要求
(1)功能要求:可以管理主页,个人资料(个人信息、修改资料)用户管理(管理员、居民用户)小区信息、居民信息、人员信息、车位信息、巡逻记录、门禁信息、费用信息、付费信息、报修信息、投诉信息、楼栋名称、小区名称等系统管理功能。
(2)性能:在不同操作系统上均能无差错实现在不同类型的用户登入相应界面后能不出差错、方便地进行预期操作。
(3)安全与保密要求:用户都必须通过管理员审核才能进入系统。
(4)环境要求:支持Windows系列、Vista系统等多种操作系统使用。
2、开发目标
智慧物业管理系统的主要开发目标如下:
(1)实现管理系统信息关系的系统化、规范化和自动化;
(2)减少维护人员的工作量以及实现用户对信息的控制和管理;
(3)方便查询信息及管理信息等;
(4)通过网络操作,提高改善处理问题和操作人员工作的效率;
(5)考虑到用户多样性特点,要求界面和操作简便易懂。
3、设计原则
本系统采用SSM技术,Mysql数据库开发,充分保证了系统稳定性、完整性。
智慧物业管理系统的设计与实现的设计思想如下:
- 操作简单方便、系统界面安全良、简单明了的页面布局、方便查询社团信息、入团申请、社团成员、社团活动等相关信息。
2、即时可见:对智慧物业管理系统信息的查询、处理将立马可以查询到,从而实现“即时发布、即时见效”的系统功能。
3、功能的完善性:可以管理主页,个人资料(个人信息、修改资料)用户管理(管理员、居民用户)小区信息、居民信息、人员信息、车位信息、巡逻记录、门禁信息、费用信息、付费信息、报修信息、投诉信息、楼栋名称、小区名称等功能的修改维护操作。
3.4系统流程分析
3.4.1操作流程

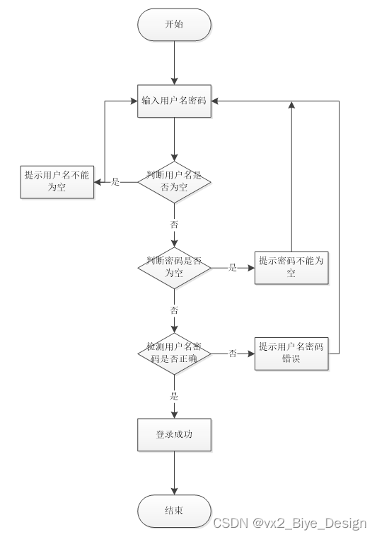
图3-1登录流程图
3.4.2添加信息流程
添加信息流程图,如图所示:

图3-2添加信息流程图
3.4.3删除信息流程
删除信息流程图,如图所示:

图3-3删除信息流程图
第4章 系统设计
4.1 系统体系结构
智慧物业管理系统的结构图4-1所示:

图4-1 系统结构
登录系统结构图,如图4-2所示:

图4-2 登录结构图
系统功能结构图,如图4-3所示。

图4-3 系统功能结构图
4.2开发流程设计
系统流程的分析是通过调查系统所涉及问题的识别、可行性、可操作性、系统分析处理能力等具体环节来调节、整理系统的设计方案以确保系统能达到理想的状态。这些操作都要从注册、登录处着眼进行一系列的流程测试保证数据库的完整,从而把控系统所涉及信息管理的安全、保证信息输入、输出正常转换。然后,通过实际操作完成流程图的绘制工作。
智慧物业管理系统的开发对管理模块和系统使用的数据库进行分析,编写代码,系统测试,如图4-4所示。

图4-4开发系统流程图
4.3 数据库设计原则
学习编程,我们都知道数据库设计是基于需要设计的系统功能,我们需要建立一个数据库关系模型,用于存储数据信息,这样当我们在程序中时,就没有必要为程序页面添加数据,从而提高系统的效率。数据库存储了很多信息,可以说是信息管理系统的核心和基础,数据库还为系统提供了添加、删除、修改和检查等操作模块,使系统能够快速找到自己想要的信息,而不是在程序代码中找到。数据库中信息表的每个部分根据一定的关系精确地组合,排列和组合成数据表。
通过智慧物业管理系统的功能进行规划分成几个实体信息,实体信息将通过ER图进行说明,本系统的主要实体图如下:
(1) 用户信息实体图,如图4-3所示:

图4-3 用户信息实体属性图
- 巡逻记录实体图,如图4-4所示:

图4-4 巡逻记录实体属性图
(3)系统的E-R图如下图所示:

图4-5 系统E-R图
4.4 数据表
将数据库概念设计的E-R图转换为关系数据库。在关系数据库中,数据关系由数据表组成,但是表的结构表现在表的字段上。
表access_control_information (门禁信息)
| 编号 | 名称 | 数据类型 | 长度 | 小数位 | 允许空值 | 主键 | 默认值 | 说明 |
| 1 | access_control_information_id | int | 10 | 0 | N | Y | 门禁信息ID | |
| 2 | resident_account | int | 10 | 0 | Y | N | 0 | 居民账号 |
| 3 | resident_name | varchar | 64 | 0 | Y | N | 居民姓名 | |
| 4 | resident_gender | varchar | 64 | 0 | Y | N | 居民性别 | |
| 5 | resident_type | varchar | 64 | 0 | Y | N | 居民类型 | |
| 6 | cell_name | varchar | 64 | 0 | Y | N | 小区名称 | |
| 7 | building_name | varchar | 64 | 0 | Y | N | 楼栋名称 | |
| 8 | floor_room_number | varchar | 64 | 0 | Y | N | 楼层房号 | |
| 9 | opening_time | datetime | 19 | 0 | Y | N | 开门时间 | |
| 10 | recommend | int | 10 | 0 | N | N | 0 | 智能推荐 |
| 11 | create_time | datetime | 19 | 0 | N | N | CURRENT_TIMESTAMP | 创建时间 |
| 12 | update_time | timestamp | 19 | 0 | N | N | CURRENT_TIMESTAMP | 更新时间 |
表access_token (登陆访问时长)
| 编号 | 名称 | 数据类型 | 长度 | 小数位 | 允许空值 | 主键 | 默认值 | 说明 |
| 1 | token_id | int | 10 | 0 | N | Y | 临时访问牌ID | |
| 2 | token | varchar | 64 | 0 | Y | N | 临时访问牌 | |
| 3 | info | text | 65535 | 0 | Y | N | ||
| 4 | maxage | int | 10 | 0 | N | N | 2 | 最大寿命:默认2小时 |
| 5 | create_time | timestamp | 19 | 0 | N | N | CURRENT_TIMESTAMP | 创建时间: |
| 6 | update_time | timestamp | 19 | 0 | N | N | CURRENT_TIMESTAMP | 更新时间: |
| 7 | user_id | int | 10 | 0 | N | N | 0 | 用户编号: |
表auth (用户权限管理)
| 编号 | 名称 | 数据类型 | 长度 | 小数位 | 允许空值 | 主键 | 默认值 | 说明 |
| 1 | auth_id | int | 10 | 0 | N | Y | 授权ID: | |
| 2 | user_group | varchar | 64 | 0 | Y | N | 用户组: | |
| 3 | mod_name | varchar | 64 | 0 | Y | N | 模块名: | |
| 4 | table_name | varchar | 64 | 0 | Y | N | 表名: | |
| 5 | page_title | varchar | 255 | 0 | Y | N | 页面标题: | |
| 6 | path | varchar | 255 | 0 | Y | N | 路由路径: | |
| 7 | position | varchar | 32 | 0 | Y | N | 位置: | |
| 8 | mode | varchar | 32 | 0 | N | N | _blank | 跳转方式: |
| 9 | add | tinyint | 3 | 0 | N | N | 1 | 是否可增加: |
| 10 | del | tinyint | 3 | 0 | N | N | 1 | 是否可删除: |
| 11 | set | tinyint | 3 | 0 | N | N | 1 | 是否可修改: |
| 12 | get | tinyint | 3 | 0 | N | N | 1 | 是否可查看: |
| 13 | field_add | text | 65535 | 0 | Y | N | 添加字段: | |
| 14 | field_set | text | 65535 | 0 | Y | N | 修改字段: | |
| 15 | field_get | text | 65535 | 0 | Y | N | 查询字段: | |
| 16 | table_nav_name | varchar | 500 | 0 | Y | N | 跨表导航名称: | |
| 17 | table_nav | varchar | 500 | 0 | Y | N | 跨表导航: | |
| 18 | option | text | 65535 | 0 | Y | N | 配置: | |
| 19 | create_time | timestamp | 19 | 0 | N | N | CURRENT_TIMESTAMP | 创建时间: |
| 20 | update_time | timestamp | 19 | 0 | N | N | CURRENT_TIMESTAMP | 更新时间: |
表building_name (楼栋名称)
| 编号 | 名称 | 数据类型 | 长度 | 小数位 | 允许空值 | 主键 | 默认值 | 说明 |
| 1 | building_name_id | int | 10 | 0 | N | Y | 楼栋名称ID | |
| 2 | cell_name | varchar | 64 | 0 | Y | N | 小区名称 | |
| 3 | building_name | varchar | 64 | 0 | Y | N | 楼栋名称 | |
| 4 | recommend | int | 10 | 0 | N | N | 0 | 智能推荐 |
| 5 | create_time | datetime | 19 | 0 | N | N | CURRENT_TIMESTAMP | 创建时间 |
| 6 | update_time | timestamp | 19 | 0 | N | N | CURRENT_TIMESTAMP | 更新时间 |
表cell_information (小区信息)
| 编号 | 名称 | 数据类型 | 长度 | 小数位 | 允许空值 | 主键 | 默认值 | 说明 |
| 1 | cell_information_id | int | 10 | 0 | N | Y | 小区信息ID | |
| 2 | cell_name | varchar | 64 | 0 | Y | N | 小区名称 | |
| 3 | number_of_residents | varchar | 64 | 0 | Y | N | 居住人数 | |
| 4 | community_address | text | 65535 | 0 | Y | N | 小区地址 | |
| 5 | community_profile | text | 65535 | 0 | Y | N | 小区简介 | |
| 6 | update_date | date | 10 | 0 | Y | N | 更新日期 | |
| 7 | recommend | int | 10 | 0 | N | N | 0 | 智能推荐 |
| 8 | create_time | datetime | 19 | 0 | N | N | CURRENT_TIMESTAMP | 创建时间 |
| 9 | update_time | timestamp | 19 | 0 | N | N | CURRENT_TIMESTAMP | 更新时间 |
表cell_name (小区名称)
| 编号 | 名称 | 数据类型 | 长度 | 小数位 | 允许空值 | 主键 | 默认值 | 说明 |
| 1 | cell_name_id | int | 10 | 0 | N | Y | 小区名称ID | |
| 2 | cell_name | varchar | 64 | 0 | Y | N | 小区名称 | |
| 3 | recommend | int | 10 | 0 | N | N | 0 | 智能推荐 |
| 4 | create_time | datetime | 19 | 0 | N | N | CURRENT_TIMESTAMP | 创建时间 |
| 5 | update_time | timestamp | 19 | 0 | N | N | CURRENT_TIMESTAMP | 更新时间 |
表complaint_information (投诉信息)
| 编号 | 名称 | 数据类型 | 长度 | 小数位 | 允许空值 | 主键 | 默认值 | 说明 |
| 1 | complaint_information_id | int | 10 | 0 | N | Y | 投诉信息ID | |
| 2 | resident_account | int | 10 | 0 | Y | N | 0 | 居民账号 |
| 3 | resident_name | varchar | 64 | 0 | Y | N | 居民姓名 | |
| 4 | contact_information | varchar | 16 | 0 | Y | N | 联系方式 | |
| 5 | submission_date | date | 10 | 0 | Y | N | 提交日期 | |
| 6 | complaint_content | longtext | 2147483647 | 0 | Y | N | 投诉内容 | |
| 7 | examine_state | varchar | 16 | 0 | N | N | 未审核 | 审核状态 |
| 8 | examine_reply | varchar | 16 | 0 | Y | N | 审核回复 | |
| 9 | recommend | int | 10 | 0 | N | N | 0 | 智能推荐 |
| 10 | create_time | datetime | 19 | 0 | N | N | CURRENT_TIMESTAMP | 创建时间 |
| 11 | update_time | timestamp | 19 | 0 | N | N | CURRENT_TIMESTAMP | 更新时间 |
表expense_information (费用信息)
| 编号 | 名称 | 数据类型 | 长度 | 小数位 | 允许空值 | 主键 | 默认值 | 说明 |
| 1 | expense_information_id | int | 10 | 0 | N | Y | 费用信息ID | |
| 2 | resident_account | int | 10 | 0 | Y | N | 0 | 居民账号 |
| 3 | resident_name | varchar | 64 | 0 | Y | N | 居民姓名 | |
| 4 | resident_type | varchar | 64 | 0 | Y | N | 居民类型 | |
| 5 | contact_information | varchar | 16 | 0 | Y | N | 联系方式 | |
| 6 | cell_name | varchar | 64 | 0 | Y | N | 小区名称 | |
| 7 | building_name | varchar | 64 | 0 | Y | N | 楼栋名称 | |
| 8 | floor_room_number | varchar | 64 | 0 | Y | N | 楼层房号 | |
| 9 | charging_month | varchar | 64 | 0 | Y | N | 收费月份 | |
| 10 | parking_expenses | int | 10 | 0 | Y | N | 0 | 停车费用 |
| 11 | property_expenses | int | 10 | 0 | Y | N | 0 | 物业费用 |
| 12 | other_expenses | int | 10 | 0 | Y | N | 0 | 其他费用 |
| 13 | total_expenses | varchar | 64 | 0 | Y | N | 费用总额 | |
| 14 | cost_description | text | 65535 | 0 | Y | N | 费用说明 | |
| 15 | recommend | int | 10 | 0 | N | N | 0 | 智能推荐 |
| 16 | create_time | datetime | 19 | 0 | N | N | CURRENT_TIMESTAMP | 创建时间 |
| 17 | update_time | timestamp | 19 | 0 | N | N | CURRENT_TIMESTAMP | 更新时间 |
表hits (用户点击)
| 编号 | 名称 | 数据类型 | 长度 | 小数位 | 允许空值 | 主键 | 默认值 | 说明 |
| 1 | hits_id | int | 10 | 0 | N | Y | 点赞ID: | |
| 2 | user_id | int | 10 | 0 | N | N | 0 | 点赞人: |
| 3 | create_time | timestamp | 19 | 0 | N | N | CURRENT_TIMESTAMP | 创建时间: |
| 4 | update_time | timestamp | 19 | 0 | N | N | CURRENT_TIMESTAMP | 更新时间: |
| 5 | source_table | varchar | 255 | 0 | Y | N | 来源表: | |
| 6 | source_field | varchar | 255 | 0 | Y | N | 来源字段: | |
| 7 | source_id | int | 10 | 0 | N | N | 0 | 来源ID: |
表parking_space_information (车位信息)
| 编号 | 名称 | 数据类型 | 长度 | 小数位 | 允许空值 | 主键 | 默认值 | 说明 |
| 1 | parking_space_information_id | int | 10 | 0 | N | Y | 车位信息ID | |
| 2 | resident_account | int | 10 | 0 | Y | N | 0 | 居民账号 |
| 3 | resident_name | varchar | 64 | 0 | Y | N | 居民姓名 | |
| 4 | contact_information | varchar | 16 | 0 | Y | N | 联系方式 | |
| 5 | resident_type | varchar | 64 | 0 | Y | N | 居民类型 | |
| 6 | cell_name | varchar | 64 | 0 | Y | N | 小区名称 | |
| 7 | building_name | varchar | 64 | 0 | Y | N | 楼栋名称 | |
| 8 | floor_room_number | varchar | 64 | 0 | Y | N | 楼层房号 | |
| 9 | parking_space_number | varchar | 64 | 0 | N | N | 车位编号 | |
| 10 | parking_position | varchar | 64 | 0 | Y | N | 车位位置 | |
| 11 | charging_rules | text | 65535 | 0 | Y | N | 收费规则 | |
| 12 | recommend | int | 10 | 0 | N | N | 0 | 智能推荐 |
| 13 | create_time | datetime | 19 | 0 | N | N | CURRENT_TIMESTAMP | 创建时间 |
| 14 | update_time | timestamp | 19 | 0 | N | N | CURRENT_TIMESTAMP | 更新时间 |
表patrol_records (巡逻记录)
| 编号 | 名称 | 数据类型 | 长度 | 小数位 | 允许空值 | 主键 | 默认值 | 说明 |
| 1 | patrol_records_id | int | 10 | 0 | N | Y | 巡逻记录ID | |
| 2 | patrol_personnel | varchar | 64 | 0 | Y | N | 巡逻人员 | |
| 3 | contact_information | varchar | 64 | 0 | Y | N | 联系方式 | |
| 4 | patrol_community | varchar | 64 | 0 | Y | N | 巡逻小区 | |
| 5 | patrol_date | date | 10 | 0 | Y | N | 巡逻日期 | |
| 6 | patrol_period | varchar | 64 | 0 | Y | N | 巡逻时段 | |
| 7 | patrol_remarks | longtext | 2147483647 | 0 | Y | N | 巡逻备注 | |
| 8 | recommend | int | 10 | 0 | N | N | 0 | 智能推荐 |
| 9 | create_time | datetime | 19 | 0 | N | N | CURRENT_TIMESTAMP | 创建时间 |
| 10 | update_time | timestamp | 19 | 0 | N | N | CURRENT_TIMESTAMP | 更新时间 |
表payment_records (付费记录)
| 编号 | 名称 | 数据类型 | 长度 | 小数位 | 允许空值 | 主键 | 默认值 | 说明 |
| 1 | payment_records_id | int | 10 | 0 | N | Y | 付费记录ID | |
| 2 | resident_account | int | 10 | 0 | Y | N | 0 | 居民账号 |
| 3 | resident_name | varchar | 64 | 0 | Y | N | 居民姓名 | |
| 4 | resident_type | varchar | 64 | 0 | Y | N | 居民类型 | |
| 5 | contact_information | varchar | 16 | 0 | Y | N | 联系方式 | |
| 6 | cell_name | varchar | 64 | 0 | Y | N | 小区名称 | |
| 7 | building_name | varchar | 64 | 0 | Y | N | 楼栋名称 | |
| 8 | floor_room_number | varchar | 64 | 0 | Y | N | 楼层房号 | |
| 9 | charging_month | varchar | 64 | 0 | Y | N | 收费月份 | |
| 10 | total_expenses | varchar | 64 | 0 | Y | N | 费用总额 | |
| 11 | cost_description | text | 65535 | 0 | Y | N | 费用说明 | |
| 12 | payment_time | datetime | 19 | 0 | Y | N | 付费时间 | |
| 13 | pay_state | varchar | 16 | 0 | N | N | 未支付 | 支付状态 |
| 14 | pay_type | varchar | 16 | 0 | Y | N | 支付类型: 微信、支付宝、网银 | |
| 15 | recommend | int | 10 | 0 | N | N | 0 | 智能推荐 |
| 16 | create_time | datetime | 19 | 0 | N | N | CURRENT_TIMESTAMP | 创建时间 |
| 17 | update_time | timestamp | 19 | 0 | N | N | CURRENT_TIMESTAMP | 更新时间 |
表personnel_information (人员信息)
| 编号 | 名称 | 数据类型 | 长度 | 小数位 | 允许空值 | 主键 | 默认值 | 说明 |
| 1 | personnel_information_id | int | 10 | 0 | N | Y | 人员信息ID | |
| 2 | employee_name | varchar | 64 | 0 | Y | N | 员工姓名 | |
| 3 | employee_id | varchar | 64 | 0 | Y | N | 员工工号 | |
| 4 | employee_gender | varchar | 64 | 0 | Y | N | 员工性别 | |
| 5 | contact_information | varchar | 16 | 0 | Y | N | 联系方式 | |
| 6 | identification_number | varchar | 64 | 0 | Y | N | 证件号码 | |
| 7 | entry_date | date | 10 | 0 | Y | N | 入职日期 | |
| 8 | position_name | varchar | 64 | 0 | Y | N | 岗位名称 | |
| 9 | personnel_remarks | text | 65535 | 0 | Y | N | 人员备注 | |
| 10 | recommend | int | 10 | 0 | N | N | 0 | 智能推荐 |
| 11 | create_time | datetime | 19 | 0 | N | N | CURRENT_TIMESTAMP | 创建时间 |
| 12 | update_time | timestamp | 19 | 0 | N | N | CURRENT_TIMESTAMP | 更新时间 |
表repair_request_information (报修信息)
| 编号 | 名称 | 数据类型 | 长度 | 小数位 | 允许空值 | 主键 | 默认值 | 说明 |
| 1 | repair_request_information_id | int | 10 | 0 | N | Y | 报修信息ID | |
| 2 | residential_account | int | 10 | 0 | Y | N | 0 | 居住账号 |
| 3 | resident_name | varchar | 64 | 0 | Y | N | 居民姓名 | |
| 4 | resident_type | varchar | 64 | 0 | Y | N | 居民类型 | |
| 5 | contact_information | varchar | 64 | 0 | Y | N | 联系方式 | |
| 6 | cell_name | varchar | 64 | 0 | Y | N | 小区名称 | |
| 7 | building_name | varchar | 64 | 0 | Y | N | 楼栋名称 | |
| 8 | floor_room_number | varchar | 64 | 0 | Y | N | 楼层房号 | |
| 9 | submission_date | date | 10 | 0 | Y | N | 提交日期 | |
| 10 | repair_request_information | text | 65535 | 0 | Y | N | 报修信息 | |
| 11 | examine_state | varchar | 16 | 0 | N | N | 未审核 | 审核状态 |
| 12 | examine_reply | varchar | 16 | 0 | Y | N | 审核回复 | |
| 13 | recommend | int | 10 | 0 | N | N | 0 | 智能推荐 |
| 14 | create_time | datetime | 19 | 0 | N | N | CURRENT_TIMESTAMP | 创建时间 |
| 15 | update_time | timestamp | 19 | 0 | N | N | CURRENT_TIMESTAMP | 更新时间 |
表resident_information (居民信息)
| 编号 | 名称 | 数据类型 | 长度 | 小数位 | 允许空值 | 主键 | 默认值 | 说明 |
| 1 | resident_information_id | int | 10 | 0 | N | Y | 居民信息ID | |
| 2 | resident_account | int | 10 | 0 | Y | N | 0 | 居民账号 |
| 3 | resident_name | varchar | 64 | 0 | Y | N | 居民姓名 | |
| 4 | resident_gender | varchar | 64 | 0 | Y | N | 居民性别 | |
| 5 | contact_information | varchar | 64 | 0 | Y | N | 联系方式 | |
| 6 | identification_number | varchar | 64 | 0 | Y | N | 证件号码 | |
| 7 | resident_type | varchar | 64 | 0 | Y | N | 居民类型 | |
| 8 | cell_name | varchar | 64 | 0 | Y | N | 小区名称 | |
| 9 | building_name | varchar | 64 | 0 | Y | N | 楼栋名称 | |
| 10 | floor_room_number | varchar | 64 | 0 | Y | N | 楼层房号 | |
| 11 | number_of_residents | int | 10 | 0 | Y | N | 0 | 居住人数 |
| 12 | other_information | text | 65535 | 0 | Y | N | 其他信息 | |
| 13 | recommend | int | 10 | 0 | N | N | 0 | 智能推荐 |
| 14 | create_time | datetime | 19 | 0 | N | N | CURRENT_TIMESTAMP | 创建时间 |
| 15 | update_time | timestamp | 19 | 0 | N | N | CURRENT_TIMESTAMP | 更新时间 |
表resident_users (居民用户)
| 编号 | 名称 | 数据类型 | 长度 | 小数位 | 允许空值 | 主键 | 默认值 | 说明 |
| 1 | resident_users_id | int | 10 | 0 | N | Y | 居民用户ID | |
| 2 | resident_name | varchar | 64 | 0 | Y | N | 居民姓名 | |
| 3 | resident_gender | varchar | 64 | 0 | Y | N | 居民性别 | |
| 4 | examine_state | varchar | 16 | 0 | N | N | 已通过 | 审核状态 |
| 5 | recommend | int | 10 | 0 | N | N | 0 | 智能推荐 |
| 6 | user_id | int | 10 | 0 | N | N | 0 | 用户ID |
| 7 | create_time | datetime | 19 | 0 | N | N | CURRENT_TIMESTAMP | 创建时间 |
| 8 | update_time | timestamp | 19 | 0 | N | N | CURRENT_TIMESTAMP | 更新时间 |
表upload (文件上传)
| 编号 | 名称 | 数据类型 | 长度 | 小数位 | 允许空值 | 主键 | 默认值 | 说明 |
| 1 | upload_id | int | 10 | 0 | N | Y | 上传ID | |
| 2 | name | varchar | 64 | 0 | Y | N | 文件名 | |
| 3 | path | varchar | 255 | 0 | Y | N | 访问路径 | |
| 4 | file | varchar | 255 | 0 | Y | N | 文件路径 | |
| 5 | display | varchar | 255 | 0 | Y | N | 显示顺序 | |
| 6 | father_id | int | 10 | 0 | Y | N | 0 | 父级ID |
| 7 | dir | varchar | 255 | 0 | Y | N | 文件夹 | |
| 8 | type | varchar | 32 | 0 | Y | N | 文件类型 |
表user (用户账户:用于保存用户登录信息)
| 编号 | 名称 | 数据类型 | 长度 | 小数位 | 允许空值 | 主键 | 默认值 | 说明 |
| 1 | user_id | mediumint | 8 | 0 | N | Y | 用户ID:[0,8388607]用户获取其他与用户相关的数据 | |
| 2 | state | smallint | 5 | 0 | N | N | 1 | 账户状态:[0,10](1可用|2异常|3已冻结|4已注销) |
| 3 | user_group | varchar | 32 | 0 | Y | N | 所在用户组:[0,32767]决定用户身份和权限 | |
| 4 | login_time | timestamp | 19 | 0 | N | N | CURRENT_TIMESTAMP | 上次登录时间: |
| 5 | phone | varchar | 11 | 0 | Y | N | 手机号码:[0,11]用户的手机号码,用于找回密码时或登录时 | |
| 6 | phone_state | smallint | 5 | 0 | N | N | 0 | 手机认证:[0,1](0未认证|1审核中|2已认证) |
| 7 | username | varchar | 16 | 0 | N | N | 用户名:[0,16]用户登录时所用的账户名称 | |
| 8 | nickname | varchar | 16 | 0 | Y | N | 昵称:[0,16] | |
| 9 | password | varchar | 64 | 0 | N | N | 密码:[0,32]用户登录所需的密码,由6-16位数字或英文组成 | |
| 10 | | varchar | 64 | 0 | Y | N | 邮箱:[0,64]用户的邮箱,用于找回密码时或登录时 | |
| 11 | email_state | smallint | 5 | 0 | N | N | 0 | 邮箱认证:[0,1](0未认证|1审核中|2已认证) |
| 12 | avatar | varchar | 255 | 0 | Y | N | 头像地址:[0,255] | |
| 13 | create_time | timestamp | 19 | 0 | N | N | CURRENT_TIMESTAMP | 创建时间: |
表user_group (用户组:用于用户前端身份和鉴权)
| 编号 | 名称 | 数据类型 | 长度 | 小数位 | 允许空值 | 主键 | 默认值 | 说明 |
| 1 | group_id | mediumint | 8 | 0 | N | Y | 用户组ID:[0,8388607] | |
| 2 | display | smallint | 5 | 0 | N | N | 100 | 显示顺序:[0,1000] |
| 3 | name | varchar | 16 | 0 | N | N | 名称:[0,16] | |
| 4 | description | varchar | 255 | 0 | Y | N | 描述:[0,255]描述该用户组的特点或权限范围 | |
| 5 | source_table | varchar | 255 | 0 | Y | N | 来源表: | |
| 6 | source_field | varchar | 255 | 0 | Y | N | 来源字段: | |
| 7 | source_id | int | 10 | 0 | N | N | 0 | 来源ID: |
| 8 | register | smallint | 5 | 0 | Y | N | 0 | 注册位置: |
| 9 | create_time | timestamp | 19 | 0 | N | N | CURRENT_TIMESTAMP | 创建时间: |
| 10 | update_time | timestamp | 19 | 0 | N | N | CURRENT_TIMESTAMP | 更新时间: |
5.1管理员功能模块
管理员登录,通过填写账号、密码、图片验证,输入完成后选择登录即可进入智慧物业管理系统,如图5-1所示。
图5-1管理员登录界面图
管理员登录进入首页后,可以编辑操作主页,个人资料(个人信息、修改资料)用户管理(管理员、居民用户)小区信息、居民信息、人员信息、车位信息、巡逻记录、门禁信息、费用信息、付费信息、报修信息、投诉信息、楼栋名称、小区名称等内容,并可根据需要进行维护管理操作,如图5-2所示。
图5-2管理员功能界面图
用户管理,在此页面可以查看用户名、昵称、居民性别、居民姓名等信息,并可根据需要对个人信息进行添加,编辑,删除或查看详细内容等操作,如图5-3所示。
图5-3用户管理界面图
小区信息,管理员在此页面中可以查看索引、小区名称、居住人数、小区地址、小区简介、更新日期等信息,还可以根据需要进行修改、添加或删除等详细操作,如图5-4 5-4-1所示。
图5-4小区信息界面图
图5-4-1小区信息添加界面图
居民信息,管理员在此页面可以查看索引、居民账号、居民姓名、居民姓名、联系方式、证件号码、居民类型、楼栋名称、楼栋房号等详细信息,还可查看分配车位、门禁开门、申请报修、添加微信、详情查看、添加、修改、删除等操作,如图5-5,5-5-1 5-5-2 所示。
图5-5居民信息管理界面图
图5-5-1添加居民车位信息界面图

图5-5-2添加费用信息界面图
楼栋名称,管理员可在此页面添加、修改、添加或删除楼栋名称等操作,如图5-6 5-6-1所示。
图5-6楼栋名称管理界面图
图5-6-1添加楼栋名称界面图
小区名称,管理员可在此页面添加、修改、添加或删除小区名称等操作,如图5-7 5-7-1所示。
图5-7小区名称管理界面图
图5-7-1添加小区名称界面图
5.2居民用户功能模块
用户注册,通过填写账号、密码、昵称、邮箱、手机号、身份、居民姓名等信息,输入完成后选择登录即可进入智慧物业管理系统,如图5-8所示。
图5-8用户注册界面图
个人信息,在此界面可以查看用户名、昵称、用户组、手机号码、状态、邮箱等信息进行修改、删除等操作,如图5-9所示。
图5-9个人信息界面图
门禁信息:用户在此页面可查看自己的门禁的开门时间等详细信息,如图5-10所示。
图5-10门禁信息界面图
车位信息:居民在此页面可查看有关自己爱车的车位等详细信息,如图5-11所示。
图5-11车位信息界面图
费用信息,居民在此页面可以查看自己的所有的费用信息,可进行提交付费操作,如图5-12 5-12-1所示。
图5-12费用信息界面图
图5-12-1 费用详情界面图
投诉信息,在此页面可以查看索引、居民账号、居民姓名、联系方式、提交日期等详细信息,可进行重置、删除、修改或添加投诉信息等操作,由管理员审核回复,如图5-13,5-13-1 5-13-2所示。
图5-13投诉信息界面图
图5-13-1添加投诉信息界面图

图5-13-2管理员审核回复投诉信息界面图
第6章 系统测试
6.1系统测试的目的
程序设计不能保证没有错误,这是一个开发过程,在错误或错误的过程中都是难以避免的。虽然这是不可避免的,但我们不能使这些错误始终存在于系统中,错误可能会造成无法估量的后果,如系统崩溃,安全信息泄露,系统无法正常启动等,为了避免这些问题,我们需要测试程序,再测试过程中发现问题,并纠正它们,从而使系统更长时间稳定成熟。本章的作用是发现这些问题,并对其进行修改,虽然耗时费力,但对于长期使用而言是非常重要和必要系统的开发。
软件在设计后必须进行测试,调试过程中使用的方法是软件测试方法。在开发新软件时,系统测试是检查软件是否合格的关键步骤,以及是否符合设计目标的参考。测试主要是查看软件中数据的准确性,正确的操作与否,以及操作的结果,还有哪些方面需要改进。
智慧物业管理系统的实现,对于系统中功能模块的实现及操作都必须通过测试进行来评判系统是否可以准确的实现。在智慧物业管理系统正式上传使用之前必须做的一步就是系统测试,对于测试发现的错误及时修改处理,保证系统准确无误的供给用户使用。
6.2系统测试方法
在对智慧物业管理系统进行测试的时候在找到问题的情况下必须在第一时间找到解决问题的办法,不要存在侥幸的心理,这样才能让智慧物业管理系统开发的质量可以过关,并且开发的周期会大大缩短,还有就是在测试时,不要出现重复性的错误,遇到一个错误问题,要将整个智慧物业管理系统开发所牵扯的该问题都必须一一解决,提高智慧物业管理系统平台的安全性、稳定性。
白盒测试与黑盒测试是测试中比较常用的两种方法。
①结构测试俗称白盒测试:这种测试是在对程序的处理过程与结构都有详尽谅解的前提下,顺从程序内部的逻辑而完成的系统测试,以确定系统中所有的通路都能够遵照设计要求正常工作,不出现任何偏差。
②功能测试又成黑盒测试:主要是针对程序功能能够按照设计正常实现的一种检测,在程序接口处进行,检测程序手法数据是否正常,与外部信息的交换是否完整。
6.3功能测试
用户登录测试:
| 模块名称 | 测试用例 | 预期结果 | 实际结果 | 是否通过 |
| 登录模块 | 用户名:admin 密码:123 | 弹出错误提示,提示密码错误 | 弹出错误提示,提示密码错误 | 通过 |
| 登录模块 | 用户名:123 密码:admin | 弹出错误提示,提示用户名错误 | 弹出错误提示,提示用户名错误 | 通过 |
| 登录模块 | 用户名:admin 密码:admin | 管理员登录成功 | 管理员登录成功 | 通过 |
修改密码测试:
| 模块名称 | 测试用例 | 预期结果 | 实际结果 | 是否通过 |
| 修改密码模块 | 原密码:666 新密码:123 确认密码:123 | 弹出错误提示,提示原密码错误 | 弹出错误提示,提示原密码错误 | 通过 |
| 修改密码模块 | 原密码:admin 新密码:123 确认密码:333 | 弹出错误提示,提示确认密码不一致 | 弹出错误提示,提示确认密码不一致 | 通过 |
| 修改密码模块 | 原密码:admin 新密码:123 确认密码:123 | 密码修改成功 | 密码修改成功 | 通过 |
通过对功能的测试,智慧物业管理系统的基本功能都是可行的,不管是系统里面的功能,还是界面的设计都是可值得推广宣传的。
此时项目已经完成,即使实施的时间不是很长,但是这个过程中需要准备很长的一段时间去对系统设计开发所实际到的技术进行学习。在学习的过程中,我逐渐认识得到了我自身存在的一些不足。对于一些控制是必要的应用技能,能够理解,整个过程中仅仅是一个掌握了常用的性能和控制方法,我觉得挺容易的。从该系统中,系统的分析和设计的调查数据,并且已经经历了几个月,并努力几个月,该系统已经完成。很显然,该系统仍有很多不成熟,在系统设计过程中有许多技术缺陷存在。在设计的过程中也涉及到了很多自己无法解决的问题,主要通过找专业的网站和论坛来解决这些问题,对于圆满完成我的毕业设计,他们也贡献了很大一部分力量。系统的开发环境和配置都是可以自行安装的,系统使用SSM开发工具,使用比较成熟的Mysql数据库进行对系统前台及后台的数据交互,根据技术语言对数据库,结合需求进行修改维护,可以使得系统运行更具有稳定性和安全性,从而完成实现系统的开发。
在以后的学习及工作中,我将继续努力学习计算机方面的技术,以期在平台开发中可以更好更快的实现需求功能。
智慧物业管理系统的完成,如何实现的更好,其中付出的努力是很大的,这段时光将会终身难忘。
首先要感谢我的指导老师,谢谢您在设计和论文中给我的指导。在您的细心指导下我才能快速的掌握系统的相关功能,在您的大力帮助下我才能将课本上的知识与自己的项目结合,真正的做到学以致用。感谢您经常牺牲自己的休息时间,利用其丰富的教学和项目经验对我进行指导。
感谢所有教过我的老师,为我倾注了大量的心血,正是你们的谆谆教诲、严谨教学才使我能顺利的完成学业,再此向你们表示深深的感谢。
感谢我的同学们,对我的大力支持及帮助,正是你们不断的帮助、鼓励,给我带来了极大的动力,最终系统可以顺利的运行。我们在交流、谈论的这段时间,将是我未来的财富,我要深深地感谢你们!
毕业在即,在今后的工作和生活中,我会铭记师长们的教诲、同学们的帮助,继续不懈努力和追求,来报答所有支持和帮助过我的人!。
参考文献
[1]任浩然,刘丹,景永强.JAVA在计算机软件开发中的应用研究[J].信息记录材料,2022,23(11):83-85.DOI:10.16009/j.cnki.cn13-1295/tq.2022.11.072.
[2]张晨.Java Web反序列化网络安全漏洞分析[J].四川职业技术学院学报,2022,32(05):158-162+168.DOI:10.13974/j.cnki.51-1645/z.2022.05.021.
[3]唐清华.小区智慧物业管理系统的设计及应用[J].中阿科技论坛(中英文),2022(10):134-139.
[4]李乐.Java语言应用研究[J].智慧中国,2022(09):80-81.
[5]刘萍,范蕤.智慧物业管理系统的设计与实现[J].电子元器件与信息技术,2022,6(03):201-203.DOI:10.19772/j.cnki.2096-4455.2022.3.071.
[6]. Ooma Boosts Hotel Guest Experiences and Employee Productivity Through Expanded Integration with Property Management Systems[J]. Manufacturing Close - Up,2022.
[7]. Ooma Boosts Hotel Guest Experiences and Employee Productivity Through Expanded Integration with Property Management Systems[J]. Wireless News,2022.
[8]周蓉,何泓位.智慧物业管理系统设计方案研究[J].内江科技,2021,42(10):39-40.
[9]. Saba Rock Resort Using Agilysys Property Management System and Point of Sale Solutions[J]. Manufacturing Close - Up,2020.
[10]. Saba Rock Resort Selects Agilysys Property Management System and Point of Sale Solutions[J]. Manufacturing Close - Up,2020.
[11]王雁. 智慧住区物业管理系统[D].山东建筑大学,2020.DOI:10.27273/d.cnki.gsajc.2020.000361.
[12]苏章坚.面向机电城的智慧物业管理系统分析[J].价值工程,2020,39(15):270-271.DOI:10.14018/j.cnki.cn13-1085/n.2020.15.120.
[13]李亚芳.互联网+时代智慧物业信息管理系统规划与建设研究[J].企业改革与管理,2020(04):60-61.DOI:10.13768/j.cnki.cn11-3793/f.2020.0234.
[14]方水平.智慧物业管理系统的设计与实现[J].北京工业职业技术学院学报,2020,19(01):37-41.
[15]范娜娜.城市智慧社区物业管理服务系统的框架设计与研究[J].农村经济与科技,2019,30(24):117-118.
[16]袁旭, 智慧物业管理系统V1.0. 湖南省,株洲南软计算机有限公司,2019-07-26.
[17]周晓雨.智慧物业管理系统的发展研究[J].现代物业(中旬刊),2018(08):25.DOI:10.16141/j.cnki.1671-8089.2018.08.018.
[18]王坤, 一种基于物业管理的智慧社区管理系统. 湖北省,湖北创尔雅科技有限公司,2018-08-02.
[19]王海洋.智慧物业管理系统的设计与实现[J].电脑知识与技术,2017,13(12):80-81+87.DOI:10.14004/j.cnki.ckt.2017.1430.
[20]娄新爱,王子牛,肖绍武,刘怡伶.智慧物业管理系统的设计与实现[J].信息与电脑(理论版),2017(08):104-107+110.
免费领取项目源码,请关注❥点赞收藏并私信博主,谢谢~
基于SSM和Vue.js的智慧物业管理系统设计与实现
1322

被折叠的 条评论
为什么被折叠?



