随着信息技术的飞速发展,传统的茶馆管理方式已难以满足现代茶馆的运营需求。为了提升茶馆的管理效率、服务质量以及用户体验,基于Spring Boot的茶馆管理系统的设计与实现变得至关重要。
Spring Boot以其简洁、快速和高效的特点,成为了众多开发者构建企业级应用的首选框架。它提供了丰富的功能和强大的扩展性,使得开发者能够快速地构建出稳定、可靠的软件系统。
基于Spring Boot的茶馆管理系统,将充分利用其提供的各种优势,实现对茶馆日常运营的全面管理。该系统将涵盖茶室信息管理、预约信息管理、取消信息管理、库存信息管理等核心功能模块,从而帮助茶馆实现自动化、智能化的管理。
此外,该系统还将注重用户体验和易用性设计,确保系统的操作界面简洁清晰,功能操作简单易懂。同时,系统还将具备高度的安全性和稳定性,确保数据的安全可靠,为茶馆的稳定运营提供有力保障。
综上所述,基于Spring Boot的茶馆管理系统的设计与实现,将为茶馆行业带来革命性的变革,推动茶馆管理的现代化和智能化发展。
关键词:JAVA;SpringBoot;茶馆管理系统
Abstract
With the rapid development of information technology, traditional tea house management methods are no longer able to meet the operational needs of modern tea houses. In order to improve the management efficiency, service quality, and user experience of tea houses, the design and implementation of a tea house management system based on Spring Boot has become crucial.
Spring Boot has become the preferred framework for many developers to build enterprise level applications due to its simplicity, speed, and efficiency. It provides rich functionality and powerful scalability, allowing developers to quickly build stable and reliable software systems.
The tea house management system based on Spring Boot will fully utilize its various advantages to achieve comprehensive management of the daily operation of the tea house. The system will cover core functional modules such as tea room information management, appointment information management, cancellation information management, and inventory information management, thereby helping tea houses achieve automated and intelligent management.
In addition, the system will also focus on user experience and usability design, ensuring that the operating interface of the system is concise and clear, and the functional operations are simple and easy to understand. At the same time, the system will also have a high degree of security and stability, ensuring the security and reliability of data, and providing strong support for the stable operation of tea houses.
In summary, the design and implementation of a tea house management system based on Spring Boot will bring revolutionary changes to the tea house industry, promoting the modernization and intelligent development of tea house management.
Keywords:JAVA; SpringBoot; Tea House Management System
1 绪论
1.1 研究背景与意义
随着社会的快速发展和科技的进步,传统的茶馆行业正面临着转型和升级的压力。传统的茶馆管理方式通常依赖于纸质记录和人工操作,这种方式不仅效率低下,而且容易出错,难以满足现代消费者对服务质量和效率的高要求。同时,随着市场竞争的加剧,茶馆需要更加精细化的管理来提升自身的竞争力。
基于Spring Boot的茶馆管理系统的设计与实现,正是在这样的背景下应运而生。Spring Boot作为一种先进的Java开发框架,具有简洁、快速和高效的特点,为茶馆管理系统的开发提供了强大的技术支持。该系统旨在通过引入信息技术手段,实现茶馆管理的自动化、智能化和数字化,从而提升茶馆的运营效率和服务质量。
该系统的研究背景在于,传统的茶馆管理方式已经无法满足现代管理的需求。通过引入Spring Boot技术,可以构建一个功能强大、易于扩展的茶馆管理系统,实现对员工、用户、茶叶等信息的全面管理。
该系统的实现具有深远的意义。首先,它可以大大提高茶馆的运营效率,减少人力成本,提升服务质量。通过自动化、智能化的管理,可以减少人工操作的错误和疏漏,提高数据的准确性和实时性。其次,系统可以为消费者提供更加个性化、贴心的服务体验。通过分析用户数据,可以了解消费者的需求和偏好,从而提供更加精准、个性化的服务。该系统的实现还可以推动茶馆行业的数字化转型和升级。通过引入信息技术手段,可以推动茶馆行业的创新和发展,为消费者提供更加多样化、高品质的服务。
综上所述,基于Spring Boot的茶馆管理系统的设计与实现具有重要的研究背景和意义。它不仅可以满足现代管理的需求,提升茶馆的运营效率和服务质量,还可以推动茶馆行业的数字化转型和升级,为消费者提供更加优质、便捷的服务体验。
在国内,随着信息技术的快速发展和茶馆行业的转型升级,越来越多的茶馆开始尝试引入基于Spring Boot的管理系统来提升运营效率和服务质量。这些系统通常涵盖了员工管理、用户管理、茶叶信息管理、订单管理等多个核心功能模块,并通过引入数据分析先进技术,实现对茶馆运营的全面智能化管理。同时,国内的研究还注重系统的稳定性和安全性,确保在高并发和大数据量的情况下,系统能够稳定运行并提供可靠的服务。
在国外,基于Spring Boot的茶馆管理系统的研究与实现也取得了显著的进展。由于国外餐饮行业的发展较为成熟,因此这些系统通常更加注重用户体验和个性化服务。例如,一些系统通过引入智能推荐算法,根据用户的消费历史和口味偏好,为其推荐合适的茶叶和茶点,提升用户的消费体验。此外,国外的系统还注重与社交媒体的整合和对接,实现线上线下一体化运营,扩大茶馆的品牌影响力和市场份额。
综上所述,基于Spring Boot的茶馆管理系统的设计与实现,在国内外都受到了广泛的关注和研究。通过不断的技术创新和模式创新,这些系统正在推动着茶馆行业的数字化转型和升级,为消费者提供更加优质、便捷的服务体验。
本文共分为六章,章节内容安排如下:
第一章为引言,此章节对所设计和实现的系统的背景和状况以及意义进行详细的论述以及说明,同时进行了论文整体框架的结构的简要介绍。
第二章为系统需求分析,章节所做的主要的工作是对系统进行了技术、经济和法律方面可行性的分析;对系统实行了总体功能的需求、用例分析。
第三章为系统的设计,主要是对系统的功能结构进行设计,并对系统数据库的概念结构以及物理结构的设计进行了分析。
第四章就是对系统的实现,根据系统功能的划分,分别的对系统所需要实现的前台客户功能和后台管理员功能进行了分析和说明。
第五章:系统测试。主要对系统的部分界面进行测试并对主要功能进行测试
2 系统分析
系统需求分析是系统开发的一个关键环节,它在系统的设计和实现上起到了一个承上启下的位置。系统需求分析是对所需要做的系统进行一个需求的挖掘,如果分析的准确可以精准的解决现实中碰到的问题。如果分析不到位会影响后期系统的实现。一个系统的优秀程度需求分析也是占据了非常大的比例,如果需求分析不到位,后面的系统设计要实现就是一个偏离导航的设计。
系统可行行分析是对系统可行性进行一个探讨。在探讨系统的可行性上主要从技术上的可行性和经济上的可行性以及法律层面的可行性上进行分析,如果三个层面度通过,我们则认为系统是比较可行的。
2.1.1 技术可行性分析
茶馆管理系统,在实现这个系统所采用的技术方案是基于JAVA语言,SpringBoot框架,MYSQL数据库,在大学的学习中这两门课程都已经学过,而且自己也用这些技术开发过小的项目,在平时的课程设计以及作业也经常用到JAVA和MYSQL,在技术上实现自己的自主开发是可行的。
茶馆管理系统在经济上具有高度的可行性。首先,Java作为一种成熟、稳定且广泛应用的编程语言,其开发成本相对较低,且拥有丰富的开源资源和社区支持,这有助于降低系统的开发成本。其次,该系统的运行和维护成本也相对较低,因为Java平台具有良好的跨平台性,可以在多种操作系统上运行,无需为不同的平台购买额外的软件和硬件。因此,从经济角度来看,茶馆管理系统是一个可行的项目。
系统从法律层面上来没有对第三方有其他放有法律层面的问题,系统数据库采用的Mysql 开源社区数据库、框架采用的是开源的SpringBoot。系统资讯和相关内容也是法律层面的。在源码的管理上采用git开源进行管理,所以在法律可行性上是成立的。
茶馆管理系统划分了会员用户和管理员这两大部分。
(一)会员用户功能介绍:
注册登录:会员用户需要能够通过注册登录界面输入个人信息,以创建账户并登录系统,以便浏览和享受茶馆服务。
公告通知:会员用户可以查看茶馆发布的公告通知,包括活动信息、优惠促销等内容。
新闻资讯:会员用户可以浏览茶馆提供的最新资讯,包括茶文化、茶叶知识等内容。
茶室信息:会员用户可以查看茶馆的基本信息,包括地址、营业时间等,以便前往体验。
我的账户:会员用户可以查看个人账户信息,包括预约记录、取消记录、收藏内容等,并进行必要的管理和修改。
预约信息:会员用户可以查看已预约的茶馆服务信息,包括预约时间、茶室类型等。
取消信息:会员用户可以查看已取消的预约信息,包括取消原因、处理状态等。
收藏:会员用户可以收藏感兴趣的茶馆服务或资讯,方便以后查阅和享受。
登录:管理员需要通过安全的登录界面输入用户名和密码,以确保系统的安全性和身份验证。
系统用户管理:管理员可以管理系统的用户,包括茶馆工作人员和其他管理员等,进行用户信息的查看、编辑和删除。
茶室信息管理:管理员可以管理茶馆的基本信息,包括地址、营业时间等,确保信息的准确性和完整性。
预约信息管理:管理员可以管理用户的预约信息,包括查看预约记录、处理预约状态、生成预约报表等操作,确保预约的顺利进行和管理。
取消信息管理:管理员可以管理用户的取消预约信息,包括记录取消原因、处理取消申请等操作,以便统计和分析取消情况。
库存信息管理:管理员可以管理茶馆的库存信息,包括茶叶种类、数量、价格等,确保供应充足和价格合理。
轮播图管理:管理员可以管理系统首页的轮播图,包括添加、编辑和删除轮播图图片,以提升用户体验和宣传重要信息。
公告通知管理:管理员可以发布、编辑和删除系统的公告通知,包括茶馆活动、特别通知等内容,方便用户了解相关信息。
新闻资讯管理:管理员可以管理系统的新闻资讯,包括添加新闻、编辑新闻信息、删除新闻等操作,方便用户了解茶文化和行业动态。
新闻分类管理:管理员可以管理新闻的分类信息,包括添加新分类、编辑分类信息、删除分类等操作,方便用户查找和阅读相关新闻。
茶馆管理系统的非功能性需求比如茶馆管理系统的安全性怎么样,可靠性怎么样,性能怎么样,可拓展性怎么样等。具体可以表示在如下2-1表格中:
表2-1茶馆管理系统非功能需求表
| 安全性 | 主要指茶馆管理系统数据库的安装,数据库的使用和密码的设定必须合乎规范。 |
| 可靠性 | 可靠性是指茶馆管理系统能够按照用户提交的指示进行操作,经过测试,可靠性90%以上。 |
| 性能 | 性能是影响茶馆管理系统占据市场的必要条件,所以性能最好要佳才好。 |
| 可扩展性 | 比如数据库预留多个属性,比如接口的使用等确保了系统的非功能性需求。 |
| 易用性 | 用户只要跟着茶馆管理系统的页面展示内容进行操作,就可以了。 |
| 可维护性 | 茶馆管理系统开发的可维护性是非常重要的,经过测试,可维护性没有问题 |
2.3 系统用例分析
茶馆管理系统的完整UML用例图分别是图2-1、图2-2。
图2-1就是会员用户角色的用例展示。
图2-2 茶馆管理系统注册用户角色用例图
图2-2就是管理员角色的用例展示。
图2-2茶馆管理系统管理员角色用例图
2.4 系统流程分析
2.4.1系统开发流程
茶馆管理系统开发时,首先进行需求分析,进而对系统进行总体的设计规划,设计系统功能模块,数据库的选择等,本系统的开发流程如图2-3所示。
图2-3系统开发流程图
2.4.2 用户登录流程
为了保证系统的安全性,要使用本系统对系统信息进行管理,必须先登陆到系统中。如图2-4所示。
图2-4登录流程图
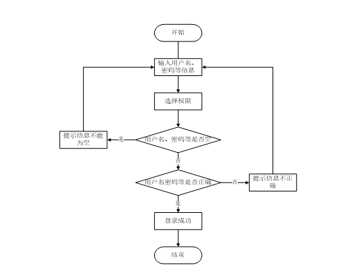
2.4.3 系统操作流程
用户打开并进入系统后,会先显示登录界面,输入正确的用户名和密码,系统自动检测信息,若信息无误,则用户会进入系统功能界面,进行操作,否则会提示错误无法登录,操作流程如图2-5所示。
图2-5 系统操作流程图
2.4.4 添加信息流程
管理员可以对茶室信息、预约信息等进行信息的添加,用户可以对自己权限内的信息进行添加,输入信息后,系统会自行验证输入的信息和数据,若信息正确,会将其添加到数据库内,若信息有误,则会提示重新输入信息,添加信息流程如图2-6所示。
图2-6添加信息流程图
2.4.5 修改信息流程
管理员可以对茶室信息、预约信息等进行的修改,用户可以对自己权限内的信息进行修改,首先进入修改信息界面,输入修改信息数据,系统进行数据的判断验证,修改信息合法则修改成功,信息更新至数据库,信息不合法则修改失败,重新输入。修改信息流程图如图2-7所示。
图2-7修改信息流程图
2.4.6 删除信息流程
管理员可以对茶室信息、预约信息等进行信息的删除,对要删除的信息进行选中后,点击删除按钮,系统会询问是否确定,若点击确定,则系统会删除掉选中的信息,并在数据库内对信息进行删除,删除信息流程图如图2-8所示。
图2-8删除信息流程图
本章主要通过对茶馆管理系统的可行性分析、功能需求分析、系统用例分析、系统流程分析,确定整个茶馆管理系统要实现的功能。同时也为茶馆管理系统的代码实现和测试提供了标准。
本章主要讨论的内容包括茶馆管理系统的功能模块设计、数据库系统设计。
3.1 系统功能模块设计
在上一章节中主要对系统的功能性需求和非功能性需求进行分析,并且根据需求分析了本茶馆管理系统中的用例。那么接下来就要开始对本茶馆管理系统的架构、主要功能和数据库开始进行设计。茶馆管理系统根据前面章节的需求分析得出,其总体设计模块图如图3-1所示。
图3-1 茶馆管理系统功能模块图
3.1.2用户模块设计
本系统的用户包括管理员和用户模块的功能基本是相同的,用户比管理员多了一个注册功能,所以以用户模块的结构图为例进行分析,用户模块结构图为例进行分析,如下图:
图3-2用户模块结构图
3.1.3 茶室信息模块设计
茶馆管理系统是中需要存储不少茶室信息,其模块功能结构,具体的结构图如下:
图3-3茶室信息模块结构图
3.1.4预约信息模块设计
茶馆管理系统,最重要的是对茶馆的预约,其模块功能结构,具体的结构图如下:
图3-4预约信息模块结构图
数据库设计一般包括需求分析、概念模型设计、数据库表建立三大过程,其中需求分析前面章节已经阐述,概念模型设计有概念模型和逻辑结构设计两部分。
3.2.1 数据库概念结构设计
下面是整个茶馆管理系统中主要的数据库表总E-R实体关系图。
图3-5 茶馆管理系统总E-R关系图
3.2.2 数据库逻辑结构设计
通过上一小节中茶馆管理系统中总E-R关系图上得出一共需要创建很多个数据表。在此主要罗列几个主要的数据库表结构设计。
| 编号 | 名称 | 数据类型 | 长度 | 小数位 | 允许空值 | 主键 | 默认值 | 说明 |
| 1 | token_id | int | 10 | 0 | N | Y | 临时访问牌ID | |
| 2 | token | varchar | 64 | 0 | Y | N | 临时访问牌 | |
| 3 | info | text | 65535 | 0 | Y | N | ||
| 4 | maxage | int | 10 | 0 | N | N | 2 | 最大寿命:默认2小时 |
| 5 | create_time | timestamp | 19 | 0 | N | N | CURRENT_TIMESTAMP | 创建时间: |
| 6 | update_time | timestamp | 19 | 0 | N | N | CURRENT_TIMESTAMP | 更新时间: |
| 7 | user_id | int | 10 | 0 | N | N | 0 | 用户编号: |
表appointment_information (预约信息)
| 编号 | 名称 | 数据类型 | 长度 | 小数位 | 允许空值 | 主键 | 默认值 | 说明 |
| 1 | appointment_information_id | int | 10 | 0 | N | Y | 预约信息ID | |
| 2 | tea_house_title | varchar | 64 | 0 | Y | N | 茶室标题 | |
| 3 | tea_room_location | varchar | 64 | 0 | Y | N | 茶室位置 | |
| 4 | tea_room_type | varchar | 64 | 0 | Y | N | 茶室类型 | |
| 5 | tea_room_price | varchar | 64 | 0 | Y | N | 茶室价格 | |
| 6 | appointment_member | int | 10 | 0 | Y | N | 0 | 预约会员 |
| 7 | appointment_status | varchar | 64 | 0 | Y | N | 预约状态 | |
| 8 | member_name | varchar | 64 | 0 | Y | N | 会员姓名 | |
| 9 | appointment_time | datetime | 19 | 0 | Y | N | 预约时间 | |
| 10 | note_details | text | 65535 | 0 | Y | N | 备注详情 | |
| 11 | pay_state | varchar | 16 | 0 | N | N | 未支付 | 支付状态 |
| 12 | pay_type | varchar | 16 | 0 | Y | N | 支付类型: 微信、支付宝、网银 | |
| 13 | create_time | datetime | 19 | 0 | N | N | CURRENT_TIMESTAMP | 创建时间 |
| 14 | update_time | timestamp | 19 | 0 | N | N | CURRENT_TIMESTAMP | 更新时间 |
| 编号 | 名称 | 数据类型 | 长度 | 小数位 | 允许空值 | 主键 | 默认值 | 说明 |
| 1 | article_id | mediumint | 8 | 0 | N | Y | 文章id:[0,8388607] | |
| 2 | title | varchar | 125 | 0 | N | Y | 标题:[0,125]用于文章和html的title标签中 | |
| 3 | type | varchar | 64 | 0 | N | N | 0 | 文章分类:[0,1000]用来搜索指定类型的文章 |
| 4 | hits | int | 10 | 0 | N | N | 0 | 点击数:[0,1000000000]访问这篇文章的人次 |
| 5 | praise_len | int | 10 | 0 | N | N | 0 | 点赞数 |
| 6 | create_time | timestamp | 19 | 0 | N | N | CURRENT_TIMESTAMP | 创建时间: |
| 7 | update_time | timestamp | 19 | 0 | N | N | CURRENT_TIMESTAMP | 更新时间: |
| 8 | source | varchar | 255 | 0 | Y | N | 来源:[0,255]文章的出处 | |
| 9 | url | varchar | 255 | 0 | Y | N | 来源地址:[0,255]用于跳转到发布该文章的网站 | |
| 10 | tag | varchar | 255 | 0 | Y | N | 标签:[0,255]用于标注文章所属相关内容,多个标签用空格隔开 | |
| 11 | content | longtext | 2147483647 | 0 | Y | N | 正文:文章的主体内容 | |
| 12 | img | varchar | 255 | 0 | Y | N | 封面图 | |
| 13 | description | text | 65535 | 0 | Y | N | 文章描述 |
| 编号 | 名称 | 数据类型 | 长度 | 小数位 | 允许空值 | 主键 | 默认值 | 说明 |
| 1 | type_id | smallint | 5 | 0 | N | Y | 分类ID:[0,10000] | |
| 2 | display | smallint | 5 | 0 | N | N | 100 | 显示顺序:[0,1000]决定分类显示的先后顺序 |
| 3 | name | varchar | 16 | 0 | N | N | 分类名称:[2,16] | |
| 4 | father_id | smallint | 5 | 0 | N | N | 0 | 上级分类ID:[0,32767] |
| 5 | description | varchar | 255 | 0 | Y | N | 描述:[0,255]描述该分类的作用 | |
| 6 | icon | text | 65535 | 0 | Y | N | 分类图标: | |
| 7 | url | varchar | 255 | 0 | Y | N | 外链地址:[0,255]如果该分类是跳转到其他网站的情况下,就在该URL上设置 | |
| 8 | create_time | timestamp | 19 | 0 | N | N | CURRENT_TIMESTAMP | 创建时间: |
| 9 | update_time | timestamp | 19 | 0 | N | N | CURRENT_TIMESTAMP | 更新时间: |
| 编号 | 名称 | 数据类型 | 长度 | 小数位 | 允许空值 | 主键 | 默认值 | 说明 |
| 1 | auth_id | int | 10 | 0 | N | Y | 授权ID: | |
| 2 | user_group | varchar | 64 | 0 | Y | N | 用户组: | |
| 3 | mod_name | varchar | 64 | 0 | Y | N | 模块名: | |
| 4 | table_name | varchar | 64 | 0 | Y | N | 表名: | |
| 5 | page_title | varchar | 255 | 0 | Y | N | 页面标题: | |
| 6 | path | varchar | 255 | 0 | Y | N | 路由路径: | |
| 7 | position | varchar | 32 | 0 | Y | N | 位置: | |
| 8 | mode | varchar | 32 | 0 | N | N | _blank | 跳转方式: |
| 9 | add | tinyint | 3 | 0 | N | N | 1 | 是否可增加: |
| 10 | del | tinyint | 3 | 0 | N | N | 1 | 是否可删除: |
| 11 | set | tinyint | 3 | 0 | N | N | 1 | 是否可修改: |
| 12 | get | tinyint | 3 | 0 | N | N | 1 | 是否可查看: |
| 13 | field_add | text | 65535 | 0 | Y | N | 添加字段: | |
| 14 | field_set | text | 65535 | 0 | Y | N | 修改字段: | |
| 15 | field_get | text | 65535 | 0 | Y | N | 查询字段: | |
| 16 | table_nav_name | varchar | 500 | 0 | Y | N | 跨表导航名称: | |
| 17 | table_nav | varchar | 500 | 0 | Y | N | 跨表导航: | |
| 18 | option | text | 65535 | 0 | Y | N | 配置: | |
| 19 | create_time | timestamp | 19 | 0 | N | N | CURRENT_TIMESTAMP | 创建时间: |
| 20 | update_time | timestamp | 19 | 0 | N | N | CURRENT_TIMESTAMP | 更新时间: |
| 编号 | 名称 | 数据类型 | 长度 | 小数位 | 允许空值 | 主键 | 默认值 | 说明 |
| 1 | cancel_information_id | int | 10 | 0 | N | Y | 取消信息ID | |
| 2 | tea_house_title | varchar | 64 | 0 | Y | N | 茶室标题 | |
| 3 | tea_room_location | varchar | 64 | 0 | Y | N | 茶室位置 | |
| 4 | tea_room_type | varchar | 64 | 0 | Y | N | 茶室类型 | |
| 5 | cancel_user | int | 10 | 0 | Y | N | 0 | 取消用户 |
| 6 | member_name | varchar | 64 | 0 | Y | N | 会员姓名 | |
| 7 | cancel_time | datetime | 19 | 0 | Y | N | 取消时间 | |
| 8 | cancel_status | varchar | 64 | 0 | Y | N | 取消状态 | |
| 9 | reason_for_cancellation | varchar | 64 | 0 | Y | N | 取消原因 | |
| 10 | cancel_details | text | 65535 | 0 | Y | N | 取消详情 | |
| 11 | create_time | datetime | 19 | 0 | N | N | CURRENT_TIMESTAMP | 创建时间 |
| 12 | update_time | timestamp | 19 | 0 | N | N | CURRENT_TIMESTAMP | 更新时间 |
| 编号 | 名称 | 数据类型 | 长度 | 小数位 | 允许空值 | 主键 | 默认值 | 说明 |
| 1 | cart_id | int | 10 | 0 | N | Y | 购物车ID: | |
| 2 | title | varchar | 64 | 0 | Y | N | 标题: | |
| 3 | img | varchar | 255 | 0 | N | N | 0 | 图片: |
| 4 | user_id | int | 10 | 0 | N | N | 0 | 用户ID: |
| 5 | create_time | timestamp | 19 | 0 | N | N | CURRENT_TIMESTAMP | 创建时间: |
| 6 | update_time | timestamp | 19 | 0 | N | N | CURRENT_TIMESTAMP | 更新时间: |
| 7 | state | int | 10 | 0 | N | N | 0 | 状态:使用中,已失效 |
| 8 | price | double | 9 | 2 | N | N | 0.00 | 单价: |
| 9 | price_ago | double | 9 | 2 | N | N | 0.00 | 原价: |
| 10 | price_count | double | 11 | 2 | N | N | 0.00 | 总价: |
| 11 | num | int | 10 | 0 | N | N | 1 | 数量: |
| 12 | goods_id | mediumint | 8 | 0 | N | N | 商品id:[0,8388607] | |
| 13 | type | varchar | 64 | 0 | N | N | 未分类 | 商品分类: |
| 14 | description | varchar | 255 | 0 | Y | N | 描述:[0,255]用于产品规格描述 |
| 编号 | 名称 | 数据类型 | 长度 | 小数位 | 允许空值 | 主键 | 默认值 | 说明 |
| 1 | collect_id | int | 10 | 0 | N | Y | 收藏ID: | |
| 2 | user_id | int | 10 | 0 | N | N | 0 | 收藏人ID: |
| 3 | source_table | varchar | 255 | 0 | Y | N | 来源表: | |
| 4 | source_field | varchar | 255 | 0 | Y | N | 来源字段: | |
| 5 | source_id | int | 10 | 0 | N | N | 0 | 来源ID: |
| 6 | title | varchar | 255 | 0 | Y | N | 标题: | |
| 7 | img | varchar | 255 | 0 | Y | N | 封面: | |
| 8 | create_time | timestamp | 19 | 0 | N | N | CURRENT_TIMESTAMP | 创建时间: |
| 9 | update_time | timestamp | 19 | 0 | N | N | CURRENT_TIMESTAMP | 更新时间: |
| 编号 | 名称 | 数据类型 | 长度 | 小数位 | 允许空值 | 主键 | 默认值 | 说明 |
| 1 | comment_id | int | 10 | 0 | N | Y | 评论ID: | |
| 2 | user_id | int | 10 | 0 | N | N | 0 | 评论人ID: |
| 3 | reply_to_id | int | 10 | 0 | N | N | 0 | 回复评论ID:空为0 |
| 4 | content | longtext | 2147483647 | 0 | Y | N | 内容: | |
| 5 | nickname | varchar | 255 | 0 | Y | N | 昵称: | |
| 6 | avatar | varchar | 255 | 0 | Y | N | 头像地址:[0,255] | |
| 7 | create_time | timestamp | 19 | 0 | N | N | CURRENT_TIMESTAMP | 创建时间: |
| 8 | update_time | timestamp | 19 | 0 | N | N | CURRENT_TIMESTAMP | 更新时间: |
| 9 | source_table | varchar | 255 | 0 | Y | N | 来源表: | |
| 10 | source_field | varchar | 255 | 0 | Y | N | 来源字段: | |
| 11 | source_id | int | 10 | 0 | N | N | 0 | 来源ID: |
| 编号 | 名称 | 数据类型 | 长度 | 小数位 | 允许空值 | 主键 | 默认值 | 说明 |
| 1 | employee_scheduling_id | int | 10 | 0 | N | Y | 员工排班ID | |
| 2 | employee_name | int | 10 | 0 | Y | N | 0 | 员工姓名 |
| 3 | scheduling_time | datetime | 19 | 0 | Y | N | 排班时间 | |
| 4 | scheduling_type | varchar | 64 | 0 | Y | N | 排班类型 | |
| 5 | scheduling_details | longtext | 2147483647 | 0 | Y | N | 排班详情 | |
| 6 | create_time | datetime | 19 | 0 | N | N | CURRENT_TIMESTAMP | 创建时间 |
| 7 | update_time | timestamp | 19 | 0 | N | N | CURRENT_TIMESTAMP | 更新时间 |
| 编号 | 名称 | 数据类型 | 长度 | 小数位 | 允许空值 | 主键 | 默认值 | 说明 |
| 1 | employee_users_id | int | 10 | 0 | N | Y | 员工用户ID | |
| 2 | employee_name | varchar | 64 | 0 | Y | N | 员工姓名 | |
| 3 | employee_title | varchar | 64 | 0 | Y | N | 员工职称 | |
| 4 | date_of_employment | varchar | 64 | 0 | Y | N | 入职时间 | |
| 5 | employee_age | int | 10 | 0 | Y | N | 0 | 员工年龄 |
| 6 | examine_state | varchar | 16 | 0 | N | N | 已通过 | 审核状态 |
| 7 | user_id | int | 10 | 0 | N | N | 0 | 用户ID |
| 8 | create_time | datetime | 19 | 0 | N | N | CURRENT_TIMESTAMP | 创建时间 |
| 9 | update_time | timestamp | 19 | 0 | N | N | CURRENT_TIMESTAMP | 更新时间 |
| 编号 | 名称 | 数据类型 | 长度 | 小数位 | 允许空值 | 主键 | 默认值 | 说明 |
| 1 | goods_id | mediumint | 8 | 0 | N | Y | 产品id:[0,8388607] | |
| 2 | title | varchar | 125 | 0 | Y | N | 标题:[0,125]用于产品和html的<title>标签中 | |
| 3 | img | text | 65535 | 0 | Y | N | 封面图:用于显示于产品列表页 | |
| 4 | description | varchar | 255 | 0 | Y | N | 描述:[0,255]用于产品规格描述 | |
| 5 | price_ago | double | 8 | 2 | N | N | 0.00 | 原价:[1] |
| 6 | price | double | 8 | 2 | N | N | 0.00 | 卖价:[1] |
| 7 | sales | int | 10 | 0 | N | N | 0 | 销量:[0,1000000000] |
| 8 | inventory | int | 10 | 0 | N | N | 0 | 商品库存 |
| 9 | type | varchar | 64 | 0 | N | N | 商品分类: | |
| 10 | hits | int | 10 | 0 | N | N | 0 | 点击量:[0,1000000000]访问这篇产品的人次 |
| 11 | content | longtext | 2147483647 | 0 | Y | N | 正文:产品的主体内容 | |
| 12 | img_1 | text | 65535 | 0 | Y | N | 主图1: | |
| 13 | img_2 | text | 65535 | 0 | Y | N | 主图2: | |
| 14 | img_3 | text | 65535 | 0 | Y | N | 主图3: | |
| 15 | img_4 | text | 65535 | 0 | Y | N | 主图4: | |
| 16 | img_5 | text | 65535 | 0 | Y | N | 主图5: | |
| 17 | create_time | timestamp | 19 | 0 | N | N | CURRENT_TIMESTAMP | 创建时间: |
| 18 | update_time | timestamp | 19 | 0 | N | N | CURRENT_TIMESTAMP | 更新时间: |
| 19 | customize_field | text | 65535 | 0 | Y | N | 自定义字段 | |
| 20 | source_table | varchar | 255 | 0 | Y | N | 来源表: | |
| 21 | source_field | varchar | 255 | 0 | Y | N | 来源字段: | |
| 22 | source_id | int | 10 | 0 | N | N | 0 | 来源ID: |
| 23 | user_id | int | 10 | 0 | Y | N | 0 | 添加人 |
| 编号 | 名称 | 数据类型 | 长度 | 小数位 | 允许空值 | 主键 | 默认值 | 说明 |
| 1 | type_id | int | 10 | 0 | N | Y | 商品分类ID: | |
| 2 | father_id | smallint | 5 | 0 | N | N | 0 | 上级分类ID:[0,32767] |
| 3 | name | varchar | 255 | 0 | Y | N | 商品名称: | |
| 4 | desc | varchar | 255 | 0 | Y | N | 描述: | |
| 5 | icon | varchar | 255 | 0 | Y | N | 图标: | |
| 6 | source_table | varchar | 255 | 0 | Y | N | 来源表: | |
| 7 | source_field | varchar | 255 | 0 | Y | N | 来源字段: | |
| 8 | create_time | timestamp | 19 | 0 | N | N | CURRENT_TIMESTAMP | 创建时间: |
| 9 | update_time | timestamp | 19 | 0 | N | N | CURRENT_TIMESTAMP | 更新时间: |
| 编号 | 名称 | 数据类型 | 长度 | 小数位 | 允许空值 | 主键 | 默认值 | 说明 |
| 1 | hits_id | int | 10 | 0 | N | Y | 点赞ID: | |
| 2 | user_id | int | 10 | 0 | N | N | 0 | 点赞人: |
| 3 | create_time | timestamp | 19 | 0 | N | N | CURRENT_TIMESTAMP | 创建时间: |
| 4 | update_time | timestamp | 19 | 0 | N | N | CURRENT_TIMESTAMP | 更新时间: |
| 5 | source_table | varchar | 255 | 0 | Y | N | 来源表: | |
| 6 | source_field | varchar | 255 | 0 | Y | N | 来源字段: | |
| 7 | source_id | int | 10 | 0 | N | N | 0 | 来源ID: |
| 编号 | 名称 | 数据类型 | 长度 | 小数位 | 允许空值 | 主键 | 默认值 | 说明 |
| 1 | member_users_id | int | 10 | 0 | N | Y | 会员用户ID | |
| 2 | member_name | varchar | 64 | 0 | Y | N | 会员姓名 | |
| 3 | member_gender | varchar | 64 | 0 | Y | N | 会员性别 | |
| 4 | membership_age | int | 10 | 0 | Y | N | 0 | 会员年龄 |
| 5 | examine_state | varchar | 16 | 0 | N | N | 已通过 | 审核状态 |
| 6 | user_id | int | 10 | 0 | N | N | 0 | 用户ID |
| 7 | create_time | datetime | 19 | 0 | N | N | CURRENT_TIMESTAMP | 创建时间 |
| 8 | update_time | timestamp | 19 | 0 | N | N | CURRENT_TIMESTAMP | 更新时间 |
| 编号 | 名称 | 数据类型 | 长度 | 小数位 | 允许空值 | 主键 | 默认值 | 说明 |
| 1 | notice_id | mediumint | 8 | 0 | N | Y | 公告id: | |
| 2 | title | varchar | 125 | 0 | N | N | 标题: | |
| 3 | content | longtext | 2147483647 | 0 | Y | N | 正文: | |
| 4 | create_time | timestamp | 19 | 0 | N | N | CURRENT_TIMESTAMP | 创建时间: |
| 5 | update_time | timestamp | 19 | 0 | N | N | CURRENT_TIMESTAMP | 更新时间: |
| 编号 | 名称 | 数据类型 | 长度 | 小数位 | 允许空值 | 主键 | 默认值 | 说明 |
| 1 | order_id | int | 10 | 0 | N | Y | 订单ID: | |
| 2 | order_number | varchar | 64 | 0 | Y | N | 订单号: | |
| 3 | goods_id | mediumint | 8 | 0 | N | N | 商品id:[0,8388607] | |
| 4 | title | varchar | 32 | 0 | Y | N | 商品标题: | |
| 5 | img | varchar | 255 | 0 | Y | N | 商品图片: | |
| 6 | price | double | 10 | 2 | N | N | 0.00 | 价格: |
| 7 | price_ago | double | 10 | 2 | N | N | 0.00 | 原价: |
| 8 | num | int | 10 | 0 | N | N | 1 | 数量: |
| 9 | price_count | double | 8 | 2 | N | N | 0.00 | 总价: |
| 10 | norms | varchar | 255 | 0 | Y | N | 规格: | |
| 11 | type | varchar | 64 | 0 | N | N | 未分类 | 商品分类: |
| 12 | contact_name | varchar | 32 | 0 | Y | N | 联系人姓名: | |
| 13 | contact_email | varchar | 125 | 0 | Y | N | 联系人邮箱: | |
| 14 | contact_phone | varchar | 11 | 0 | Y | N | 联系人手机: | |
| 15 | contact_address | varchar | 255 | 0 | Y | N | 收件地址: | |
| 16 | postal_code | varchar | 9 | 0 | Y | N | 邮政编码: | |
| 17 | user_id | int | 10 | 0 | N | N | 0 | 买家ID: |
| 18 | merchant_id | mediumint | 8 | 0 | N | N | 0 | 商家ID: |
| 19 | create_time | timestamp | 19 | 0 | N | N | CURRENT_TIMESTAMP | 创建时间: |
| 20 | update_time | timestamp | 19 | 0 | N | N | CURRENT_TIMESTAMP | 更新时间: |
| 21 | description | varchar | 255 | 0 | Y | N | 描述:[0,255]用于产品规格描述 | |
| 22 | state | varchar | 16 | 0 | N | N | 待付款 | 订单状态:待付款,待发货,待签收,已签收,待退款,已退款,已拒绝,已完成 |
| 23 | remark | text | 65535 | 0 | Y | N | 订单备注 | |
| 24 | delivery_state | varchar | 16 | 0 | Y | N | 未配送 | 发货状态:未配送,已配送 |
| 25 | vip_discount | double | 11 | 2 | Y | N | 0.00 | 折扣 |
| 编号 | 名称 | 数据类型 | 长度 | 小数位 | 允许空值 | 主键 | 默认值 | 说明 |
| 1 | praise_id | int | 10 | 0 | N | Y | 点赞ID: | |
| 2 | user_id | int | 10 | 0 | N | N | 0 | 点赞人: |
| 3 | create_time | timestamp | 19 | 0 | N | N | CURRENT_TIMESTAMP | 创建时间: |
| 4 | update_time | timestamp | 19 | 0 | N | N | CURRENT_TIMESTAMP | 更新时间: |
| 5 | source_table | varchar | 255 | 0 | Y | N | 来源表: | |
| 6 | source_field | varchar | 255 | 0 | Y | N | 来源字段: | |
| 7 | source_id | int | 10 | 0 | N | N | 0 | 来源ID: |
| 8 | status | bit | 1 | 0 | N | N | 1 | 点赞状态:1为点赞,0已取消 |
| 编号 | 名称 | 数据类型 | 长度 | 小数位 | 允许空值 | 主键 | 默认值 | 说明 |
| 1 | product_information_id | int | 10 | 0 | N | Y | 商品信息ID | |
| 2 | product_specifications | varchar | 64 | 0 | Y | N | 商品规格 | |
| 3 | responsible_employees | int | 10 | 0 | Y | N | 0 | 负责员工 |
| 4 | praise_len | int | 10 | 0 | N | N | 0 | 点赞数 |
| 5 | cart_title | varchar | 125 | 0 | Y | N | 标题:[0,125]用于产品html的标签中 | |
| 6 | cart_img | text | 65535 | 0 | Y | N | 封面图:用于显示于产品列表页 | |
| 7 | cart_description | varchar | 255 | 0 | Y | N | 描述:[0,255]用于产品规格描述 | |
| 8 | cart_price_ago | double | 8 | 2 | N | N | 0.00 | 原价:[1] |
| 9 | cart_price | double | 8 | 2 | N | N | 0.00 | 卖价:[1] |
| 10 | cart_inventory | int | 10 | 0 | N | N | 0 | 商品库存 |
| 11 | cart_type | varchar | 64 | 0 | N | N | 未分类 | 商品分类: |
| 12 | cart_content | longtext | 2147483647 | 0 | Y | N | 正文:产品的主体内容 | |
| 13 | cart_img_1 | text | 65535 | 0 | Y | N | 主图1: | |
| 14 | cart_img_2 | text | 65535 | 0 | Y | N | 主图2: | |
| 15 | cart_img_3 | text | 65535 | 0 | Y | N | 主图3: | |
| 16 | cart_img_4 | text | 65535 | 0 | Y | N | 主图4: | |
| 17 | cart_img_5 | text | 65535 | 0 | Y | N | 主图5: | |
| 18 | create_time | datetime | 19 | 0 | N | N | CURRENT_TIMESTAMP | 创建时间 |
| 19 | update_time | timestamp | 19 | 0 | N | N | CURRENT_TIMESTAMP | 更新时间 |
表slides (轮播图)
| 编号 | 名称 | 数据类型 | 长度 | 小数位 | 允许空值 | 主键 | 默认值 | 说明 |
| 1 | slides_id | int | 10 | 0 | N | Y | 轮播图ID: | |
| 2 | title | varchar | 64 | 0 | Y | N | 标题: | |
| 3 | content | varchar | 255 | 0 | Y | N | 内容: | |
| 4 | url | varchar | 255 | 0 | Y | N | 链接: | |
| 5 | img | varchar | 255 | 0 | Y | N | 轮播图: | |
| 6 | hits | int | 10 | 0 | N | N | 0 | 点击量: |
| 7 | create_time | timestamp | 19 | 0 | N | N | CURRENT_TIMESTAMP | 创建时间: |
| 8 | update_time | timestamp | 19 | 0 | N | N | CURRENT_TIMESTAMP | 更新时间: |
| 编号 | 名称 | 数据类型 | 长度 | 小数位 | 允许空值 | 主键 | 默认值 | 说明 |
| 1 | tea_house_information_id | int | 10 | 0 | N | Y | 茶室信息ID | |
| 2 | tea_house_title | varchar | 64 | 0 | Y | N | 茶室标题 | |
| 3 | tea_room_location | varchar | 64 | 0 | Y | N | 茶室位置 | |
| 4 | tea_room_type | varchar | 64 | 0 | Y | N | 茶室类型 | |
| 5 | tea_room_status | varchar | 64 | 0 | Y | N | 茶室状态 | |
| 6 | tea_room_price | int | 10 | 0 | Y | N | 0 | 茶室价格 |
| 7 | accommodation_capacity | int | 10 | 0 | Y | N | 0 | 容纳人数 |
| 8 | tea_room_pictures | varchar | 255 | 0 | Y | N | 茶室图片 | |
| 9 | tea_room_facilities | varchar | 64 | 0 | Y | N | 茶室设施 | |
| 10 | tea_room_details | longtext | 2147483647 | 0 | Y | N | 茶室详情 | |
| 11 | praise_len | int | 10 | 0 | N | N | 0 | 点赞数 |
| 12 | create_time | datetime | 19 | 0 | N | N | CURRENT_TIMESTAMP | 创建时间 |
| 13 | update_time | timestamp | 19 | 0 | N | N | CURRENT_TIMESTAMP | 更新时间 |
表upload (文件上传)
| 编号 | 名称 | 数据类型 | 长度 | 小数位 | 允许空值 | 主键 | 默认值 | 说明 |
| 1 | upload_id | int | 10 | 0 | N | Y | 上传ID | |
| 2 | name | varchar | 64 | 0 | Y | N | 文件名 | |
| 3 | path | varchar | 255 | 0 | Y | N | 访问路径 | |
| 4 | file | varchar | 255 | 0 | Y | N | 文件路径 | |
| 5 | display | varchar | 255 | 0 | Y | N | 显示顺序 | |
| 6 | father_id | int | 10 | 0 | Y | N | 0 | 父级ID |
| 7 | dir | varchar | 255 | 0 | Y | N | 文件夹 | |
| 8 | type | varchar | 32 | 0 | Y | N | 文件类型 |
表user (用户账户:用于保存用户登录信息)
| 编号 | 名称 | 数据类型 | 长度 | 小数位 | 允许空值 | 主键 | 默认值 | 说明 |
| 1 | user_id | mediumint | 8 | 0 | N | Y | 用户ID:[0,8388607]用户获取其他与用户相关的数据 | |
| 2 | state | smallint | 5 | 0 | N | N | 1 | 账户状态:[0,10](1可用|2异常|3已冻结|4已注销) |
| 3 | user_group | varchar | 32 | 0 | Y | N | 所在用户组:[0,32767]决定用户身份和权限 | |
| 4 | login_time | timestamp | 19 | 0 | N | N | CURRENT_TIMESTAMP | 上次登录时间: |
| 5 | phone | varchar | 11 | 0 | Y | N | 手机号码:[0,11]用户的手机号码,用于找回密码时或登录时 | |
| 6 | phone_state | smallint | 5 | 0 | N | N | 0 | 手机认证:[0,1](0未认证|1审核中|2已认证) |
| 7 | username | varchar | 16 | 0 | N | N | 用户名:[0,16]用户登录时所用的账户名称 | |
| 8 | nickname | varchar | 16 | 0 | Y | N | 昵称:[0,16] | |
| 9 | password | varchar | 64 | 0 | N | N | 密码:[0,32]用户登录所需的密码,由6-16位数字或英文组成 | |
| 10 | | varchar | 64 | 0 | Y | N | 邮箱:[0,64]用户的邮箱,用于找回密码时或登录时 | |
| 11 | email_state | smallint | 5 | 0 | N | N | 0 | 邮箱认证:[0,1](0未认证|1审核中|2已认证) |
| 12 | avatar | varchar | 255 | 0 | Y | N | 头像地址:[0,255] | |
| 13 | open_id | varchar | 255 | 0 | Y | N | 针对获取用户信息字段 | |
| 14 | create_time | timestamp | 19 | 0 | N | N | CURRENT_TIMESTAMP | 创建时间: |
| 15 | vip_level | varchar | 255 | 0 | Y | N | 会员等级 | |
| 16 | vip_discount | double | 11 | 2 | Y | N | 0.00 | 会员折扣 |
表user_group (用户组:用于用户前端身份和鉴权)
| 编号 | 名称 | 数据类型 | 长度 | 小数位 | 允许空值 | 主键 | 默认值 | 说明 |
| 1 | group_id | mediumint | 8 | 0 | N | Y | 用户组ID:[0,8388607] | |
| 2 | display | smallint | 5 | 0 | N | N | 100 | 显示顺序:[0,1000] |
| 3 | name | varchar | 16 | 0 | N | N | 名称:[0,16] | |
| 4 | description | varchar | 255 | 0 | Y | N | 描述:[0,255]描述该用户组的特点或权限范围 | |
| 5 | source_table | varchar | 255 | 0 | Y | N | 来源表: | |
| 6 | source_field | varchar | 255 | 0 | Y | N | 来源字段: | |
| 7 | source_id | int | 10 | 0 | N | N | 0 | 来源ID: |
| 8 | register | smallint | 5 | 0 | Y | N | 0 | 注册位置: |
| 9 | create_time | timestamp | 19 | 0 | N | N | CURRENT_TIMESTAMP | 创建时间: |
| 10 | update_time | timestamp | 19 | 0 | N | N | CURRENT_TIMESTAMP | 更新时间: |
整个茶馆管理系统的需求分析主要对系统总体架构以及功能模块的设计,通过建立E-R模型和数据库逻辑系统设计完成了数据库系统设计。
4 系统关键模块详细设计与实现
茶馆管理系统的详细设计与实现主要是根据前面的茶馆管理系统的需求分析和茶馆管理系统的总体设计来设计页面并实现业务逻辑。主要从茶馆管理系统界面实现、业务逻辑实现这两部分进行介绍。
4.1会员用户功能模块
4.1.1 前台首页界面
当进入茶馆管理系统的时候,系统以上中下的布局进行展示,首先映入眼帘的是系统的导航栏,下面是轮播图,再往下是新闻资讯,其主界面展示如下图所示。
图4-1 前台首页界面图
4.1.2 用户注册界面
茶馆管理系统的游客和注册用户时可以进行注册登录,当用户右上角“注册”按钮的时候,当填写上自己的账号+密码+确认密码+昵称+邮箱等后再点击“注册”按钮后将会先验证输入的有没有空数据,再次验证密码和确认密码是否是一样的,最后验证输入的账户名和数据库表中已经注册的账户名是否重复,只有都验证没问题后即可用户注册成功。用户注册界面展示如下图所示。
图4-2注册界面图
注册关键代码如下:
* 注册
* @param user
* @return
*/
@PostMapping("register")
public Map<String, Object> signUp(@RequestBody User user) {
// 查询用户
Map<String, String> query = new HashMap<>();
Map<String,Object> map = JSON.parseObject(JSON.toJSONString(user));
query.put("username",user.getUsername());
List list = service.selectBaseList(service.select(query, new HashMap<>()));
if (list.size()>0){
return error(30000, "用户已存在");
}
map.put("password",service.encryption(String.valueOf(map.get("password"))));
service.insert(map);
return success(1);
}
茶馆管理系统中的前台上注册后的用户是可以通过自己的账户名和密码进行登录的,当用户输入完整的自己的账户名和密码信息并点击“登录”按钮后,将会首先验证输入的有没有空数据,再次验证输入的账户名+密码和数据库中当前保存的用户信息是否一致,只有在一致后将会登录成功并自动跳转到茶馆管理系统的首页中;否则将会提示相应错误信息,用户登录界面如下图所示。
图4-3用户登录界面图
登录的逻辑代码如下所示。
/**
* 登录
* @param data
* @param httpServletRequest
* @return
*/
@PostMapping("login")
public Map<String, Object> login(@RequestBody Map<String, String> data, HttpServletRequest httpServletRequest) {
log.info("[执行登录接口]");
String username = data.get("username");
String email = data.get("email");
String phone = data.get("phone");
String password = data.get("password");
List resultList = null;
Map<String, String> map = new HashMap<>();
if(username != null && "".equals(username) == false){
map.put("username", username);
resultList = service.select(map, new HashMap<>()).getResultList();
}
else if(email != null && "".equals(email) == false){
map.put("email", email);
resultList = service.select(map, new HashMap<>()).getResultList();
}
else if(phone != null && "".equals(phone) == false){
map.put("phone", phone);
resultList = service.select(map, new HashMap<>()).getResultList();
}else{
return error(30000, "账号或密码不能为空");
}
if (resultList == null || password == null) {
return error(30000, "账号或密码不能为空");
}
//判断是否有这个用户
if (resultList.size()<=0){
return error(30000,"用户不存在");
}
User byUsername = (User) resultList.get(0);
Map<String, String> groupMap = new HashMap<>();
groupMap.put("name",byUsername.getUserGroup());
List groupList = userGroupService.select(groupMap, new HashMap<>()).getResultList();
if (groupList.size()<1){
return error(30000,"用户组不存在");
}
UserGroup userGroup = (UserGroup) groupList.get(0);
//查询用户审核状态
if (!StringUtils.isEmpty(userGroup.getSourceTable())){
String sql = "select examine_state from "+ userGroup.getSourceTable() +" WHERE user_id = " + byUsername.getUserId();
String res = String.valueOf(service.runCountSql(sql).getSingleResult());
if (res==null){
return error(30000,"用户不存在");
}
if (!res.equals("已通过")){
return error(30000,"该用户审核未通过");
}
}
//查询用户状态
if (byUsername.getState()!=1){
return error(30000,"用户非可用状态,不能登录");
}
String md5password = service.encryption(password);
if (byUsername.getPassword().equals(md5password)) {
// 存储Token到数据库
AccessToken accessToken = new AccessToken();
accessToken.setToken(UUID.randomUUID().toString().replaceAll("-", ""));
accessToken.setUser_id(byUsername.getUserId());
tokenService.save(accessToken);
// 返回用户信息
JSONObject user = JSONObject.parseObject(JSONObject.toJSONString(byUsername));
user.put("token", accessToken.getToken());
JSONObject ret = new JSONObject();
ret.put("obj",user);
return success(ret);
} else {
return error(30000, "账号或密码不正确");
}
}
4.1.4 茶室信息界面
当用户点击茶馆管理系统中导航栏上的“茶室信息”后将会进入到该“茶室信息”列表的界面,然后选择想要看的茶室信息,点击进入到详细界面,在详细界面可以预约茶室、收藏、点赞和评论等操作,茶室信息界面如下图所示。
图4-4茶室信息界面图
会员用户可以对茶室进行预约,也可以查看已预约的茶馆服务信息,包括预约时间、茶室类型等。预约信息界面如下图所示。
图4-5预约信息界面图
预约信息关键代码如下:
@PostMapping("/set")
@Transactional
public Map<String, Object> set(HttpServletRequest request) throws IOException {
service.update(service.readQuery(request), service.readConfig(request), service.readBody(request.getReader()));
return success(1);
}
4.2管理员功能模块
管理员点击“系统用户”这一菜单会显示管理员、会员用户这两个子菜单,管理员可以对这两个角色的信息进行增删改查操作。界面如下图所示。
图4-6系统用户管理界面图
管理员点击“预约信息管理”这一菜单会显示预约信息列表这个子菜单,管理员可以管理用户的预约信息,包括查看预约记录、处理预约状态、生成预约报表等操作,确保预约的顺利进行和管理。界面如下图所示。
图4-7预约信息界面图
管理员点击“取消预约管理”这一菜单会显示取消预约列表这个子菜单,管理员可以管理用户的取消预约信息,包括记录取消原因、处理取消申请等操作,以便统计和分析取消情况。界面如下图所示。
图4-8取消预约列表界面图
取消预约关键代码如下:
@RequestMapping(value = "/del")
@Transactional
public Map<String, Object> del(HttpServletRequest request) {
service.delete(service.readQuery(request), service.readConfig(request));
return success(1);
}
public void delete(Map<String,String> query,Map<String,String> config){
QueryWrapper wrapper = new QueryWrapper<E>();
toWhereWrapper(query, "0".equals(config.get(FindConfig.GROUP_BY)),wrapper);
baseMapper.delete(wrapper);
log.info("[{}] - 删除操作:{}",wrapper.getSqlSelect());
}
管理员点击“库存信息管理”这一菜单会显示库存信息列表和库存信息添加这两个子菜单,管理员可以管理茶馆的库存信息,包括茶叶种类、数量、价格等,确保供应充足和价格合理。还可以添加新的库存信息。界面如下图所示。
图4-9库存信息列表界面图
图4-10库存信息添加界面图
管理员点击“系统管理”这一菜单会显示轮播图这个子菜单,管理员可以对前台展示的轮播图进行设置,界面如下图所示。
图4-11系统管理界面图
系统管理关键代码如下:
@PostMapping("/add")
@Transactional
public Map<String, Object> add(HttpServletRequest request) throws IOException {
service.insert(service.readBody(request.getReader()));
return success(1);
}
public Map<String, Object> addMap(Map<String,Object> map){
service.insert(map);
return success(1);
}
管理员可以发布、编辑和删除系统的公告通知,包括茶馆活动、特别通知等内容,方便用户了解相关信息。界面如下图所示。
图4-12通知公告管理界面图
5系统测试
5.1 系统测试用例
系统测试包括:用户登录功能测试、茶室信息展示功能测试、茶室信息添加、茶室信息搜索、密码修改、预约信息功能测试,如表5-1、5-2、5-3、5-4、5-5、5-6所示:
表5-1 用户登录功能测试表
| 用例名称 | 用户登录系统 |
| 目的 | 测试用户通过正确的用户名和密码可否登录功能 |
| 前提 | 未登录的情况下 |
| 测试流程 | 1) 进入登录页面 2) 输入正确的用户名和密码 |
| 预期结果 | 用户名和密码正确的时候,跳转到登录成功界面,反之则显示错误信息,提示重新输入 |
| 实际结果 | 实际结果与预期结果一致 |
茶室信息查看功能测试:
表5-2 茶室信息查看功能测试表
| 用例名称 | 茶室信息查看 |
| 目的 | 测试茶室信息查看功能 |
| 前提 | 用户登录 |
| 测试流程 | 点击茶室信息列表 |
| 预期结果 | 可以查看到所有茶室信息信息 |
| 实际结果 | 实际结果与预期结果一致 |
管理员添加茶室信息界面测试:
表5-3 管理员添加茶室信息界面测试表
| 用例名称 | 添加茶室信息测试用例 |
| 目的 | 测试茶室信息添加功能 |
| 前提 | 管理员用户正常登录情况下 |
| 测试流程 | 1)管理员点击茶室信息,然后点击添加后并填写信息。 2)点击进行提交。 |
| 预期结果 | 提交以后,页面首页会显示新的茶室信息 |
| 实际结果 | 实际结果与预期结果一致 |
茶室信息搜索功能测试:
表5-4茶室信息搜索功能测试表
| 用例名称 | 茶室信息搜索测试 |
| 目的 | 测试茶室信息搜索功能 |
| 前提 | 无 |
| 测试流程 | 1)在搜索框填入搜索关键字。 2)点击搜索按钮。 |
| 预期结果 | 页面显示包含有搜索关键字的茶室信息 |
| 实际结果 | 实际结果与预期结果一致 |
密码修改搜索功能测试:
表5-5 密码修改功能测试表
| 用例名称 | 密码修改测试用例 |
| 目的 | 测试管理员密码修改功能 |
| 前提 | 管理员用户正常登录情况下 |
| 测试流程 | 1)管理员密码修改并完成填写。 2)点击进行提交。 |
| 预期结果 | 使用新的密码可以登录 |
| 实际结果 | 实际结果与预期结果一致 |
预约信息功能测试:
表5-6预约信息功能测试表
| 用例名称 | 预约信息测试用例 |
| 目的 | 测试用户预约信息功能 |
| 前提 | 用户正常登录情况下 |
| 测试流程 | 1)搜索查看预约信息,点击预约信息。 2)填写预约信息信息,点击进行提交。 |
| 预期结果 | 预约信息成功 |
| 实际结果 | 实际结果与预期结果一致 |
通过编写茶馆管理系统的测试用例,已经检测完毕用户登录功能测试、茶室信息展示功能测试、茶室信息添加、茶室信息搜索、密码修改、预约信息功能测试,通过这6大模块为茶馆管理系统的后期推广运营提供了强力的技术支撑。
本文描述了茶馆管理系统的原理和开发过程,该系统是通过SpringBoot框架来搭建后台,中间件使用的是Tomcat服务器,数据库管理平台采用开源的Mysql,前台使用的是JQuery框架,同时使用Validate校验框架,这样就可以减少前端代码的输入量,而且基于JQuery框架的Validat框架使用简单,是流行的前端使用框架,前端使用的主要是HTML页面展示技术。
在开发前做了许多的准备,在本系统的设计和开发过程中阅览和学习了许多文献资料,从开发这个茶馆管理系统的过程中我也收获了许许多多宝贵的方法以及设计思路,对系统的开发也起到了很重要的作用,系统的开发技术选用的都是自己比较熟悉的,比如Web、SpringBoot、MYSQL,这些技术都是在以前的学习中学到了,其中许多的设计思路和方法都是在以前不断地学习中摸索出来的经验,其实对于我们来说工作量还是比较大的,但是正是由于之前的积累与准备,才能顺利的完成这个项目,由此看来,积累经验跟做好准备是十分重要的事情。
当然在该系统的设计与实现的过程中也离不开老师以及同学们的帮助,正是因为他们的指导与帮助,我才能够成功的在预期内完成了这个系统。同时在这个过程当中我也收获了很多东西,此系统也有需要改进的地方,但是由于专业知识的浅薄,并不能做到十分完美,希望以后有机会可以让其真正的投入到使用之中。
[1]Suhendra R ,Takahashi R ,Agangi A , et al.Textural-compositional evolution of pyrite and metal remobilization during low-grade metamorphism of metapelite: Contribution to gold mineralization in the Luk Ulo Complex, Central Java, Indonesia[J].Ore Geology Reviews,2024,166105966-.
[2]Slameto ,Fahrudin E D ,Saputra W M .Effect of fertilizer composition and different varieties on yield, methane and nitrous oxide emission from rice field in East Java Indonesia[J].Frontiers in Agronomy,2024,6
[3]Hudalah D ,Octifanny Y ,Talitha T , et al.From Metropolitanization to Megaregionalization: Intentionality in the Urban Restructuring of Java’s North Coast, Indonesia[J].Journal of Planning Education and Research,2024,44(1):292-306.
[4]Handini E ,Hasenaka T ,Barber D N , et al.Systematics of slab-derived components in Central Java, Sunda Arc: Evidence for differential material transfer across the Southeast Asian convergent margin[J].Tectonophysics,2024,873230229-.
[5]刘霞.基于Spring Boot框架的智慧校园管理系统设计与实现[J].长江信息通信,2024,37(02):148-150.DOI:10.20153/j.issn.2096-9759.2024.02.045.
[6]Purwitaningsih S ,Asano J .Pre-disaster adaptation strategies for houses in landslide-prone residential area, case study of Giripurno Village, Borobudur Sub-District, Central Java, Indonesia[J].International Journal of Disaster Risk Reduction,2024,101104211-.
[7]石雨昕,关家兴,邹博华,等.基于SpringBoot微服务架构设计与实现实验室开放课题管理系统[J].实验室检测,2024,2(01):101-106.
[8]袁琳琳.计算机软件Java编程特点及技术分析[J].数字通信世界,2023,(12):87-89.
[9]丁福江.基于Spring Boot和Vue技术的访客管理系统设计与实现[J].电脑编程技巧与维护,2023,(12):82-87.DOI:10.16184/j.cnki.comprg.2023.12.012.
[10]马庆.计算机软件开发中JAVA编程语言的应用[J].山西电子技术,2023,(06):84-86+98.
[11]王文静,国育家,贾康铖.基于Spring Boot的信息化项目管理系统的设计与实现[J].信息技术与信息化,2023,(11):113-116.
[12]马梁,向海涵,董佳一,等.基于Spring Boot的损害保险销售系统的设计与实现[J].工业控制计算机,2023,36(09):120-122.
[13]吉秉彧,李源.基于Spring Boot框架的实验室资产管理系统的设计与实现[J].价值工程,2023,42(24):120-122.
[14]桑冉航,李晓明.基于Spring Boot的健身房管理系统的设计与实现[J].电脑知识与技术,2023,19(22):54-56.DOI:10.14004/j.cnki.ckt.2023.1239.
[15]赵凝.基于Spring Boot的购票系统的设计与实现[J].信息系统工程,2023,(07):32-35.
[16]张伟涛,赵玉娟.基于Spring Boot的家庭财务系统的设计与实现[J].网络安全技术与应用,2023,(05):48-50.
[17]胡金宇.基于Spring Boot和Vue框架的企业绩效考核系统设计与实现[D].湖北师范大学,2023.DOI:10.27796/d.cnki.ghbsf.2023.000207.
[18]雷震,焦学军,张惠怡.基于Spring Boot地质档案信息系统[J].计算机系统应用,2022,31(12):104-111.DOI:10.15888/j.cnki.csa.008834.
[19]阚文.基于Spring Boot框架的智慧医疗问诊系统的设计与实现[J].信息与电脑(理论版),2022,34(21):33-36.
[20]施宁.新型商务茶馆服务系统设计研究[D].华南理工大学,2020.DOI:10.27151/d.cnki.ghnlu.2020.005320.
逝者如斯夫,不舍昼夜。转眼间,大学生活便已经接近尾声,人面对着离别与结束,总是充满着不舍与茫然,我亦如此,仍记得那年秋天,我迫不及待的提前一天到了学校,面对学校巍峨的大门,我心里充满了期待:这里,就是我新生活的起点吗?那天,阳光明媚,学校的欢迎仪式很热烈,我面对着一个个对着我微笑的同学,仿佛一缕缕阳光透过胸口照进了我心里,同时,在那天我认识可爱的室友,我们携手共同度过了这难忘的两年。如今,我望着这篇论文的致谢,不禁又要问自己:现在,我们就要说再见了吗?
感慨莫名,不知所言。遥想当初刚来学校的时候,心里总是想着工科学校会过于板正,会缺乏一些柔情,当时心里甚至有一点点排斥,但是随着我对学校的慢慢认识与了解,我才认识到了她的美丽,她的柔情,并且慢慢的喜欢上了这个校园,但是时间太快了,快到我还没有好好体会她的美丽便要离开了,但是她带给我的回忆,永远不会离开我,也许真正离开那天我的眼里会满含泪水,我不是因为难过,我只是想将她的样子映在我的泪水里,刻在我的心里。最后,感谢我的老师们,是你们教授了我们知识与做人的道理;感谢我的室友们,是你们陪伴了我如此之久;感谢每位关心与支持我的人。
少年,追风赶月莫停留,平荒尽处是春山。
免费领取项目源码,请关注❤点赞收藏并私信博主,谢谢-
免费领取项目源码,请关注❤点赞收藏并私信博主,谢谢-

被折叠的 条评论
为什么被折叠?



