php 酒店预约管理系统
摘 要
随着科学技术的飞速发展,社会的方方面面、各行各业都在努力与现代的先进技术接轨,通过科技手段来提高自身的优势,酒店预约管理系统当然也不能排除在外。酒店预约管理系统是以实际运用为开发背景,运用软件工程开发方法,采用Thinkphp技术构建的一个管理系统。整个开发过程首先对软件系统进行需求分析,得出系统的主要功能。接着对系统进行总体设计和详细设计。总体设计主要包括系统总体结构设计、系统数据结构设计、系统功能设计和系统安全设计等;详细设计主要包括模块实现的关键代码,系统数据库访问和主要功能模块的具体实现等。最后对系统进行功能测试,并对测试结果进行分析总结,及时改进系统中存在的不足,为以后的系统维护提供了方便,也为今后开发类似系统提供了借鉴和帮助。
本酒店预约管理系统采取Mysql作为后台数据的主要存储单元,采用Thinkphp框架、Redis技术进行业务系统的编码及其开发,实现了本系统的全部功能。在设计过程中,充分保证了系统代码的良好可读性、实用性、易扩展性、通用性、便于后期维护、操作方便以及页面简洁等特点。
关键词:酒店预约管理系统,Thinkphp框架,Mysql 数据库
PHP Hotel Reservation Management System
Abstract
With the rapid development of science and technology, all aspects of society and industries are striving to integrate with modern advanced technology and improve their advantages through technological means. Of course, hotel reservation management systems cannot be excluded. The hotel reservation management system is a management system developed based on practical application, using software engineering development methods, and using ThinkPap technology. The entire development process starts with a requirement analysis of the software system to determine its main functions. Then proceed with the overall and detailed design of the system. The overall design mainly includes system overall structure design, system data structure design, system functional design, and system security design; The detailed design mainly includes the key code for module implementation, system database access, and the specific implementation of the main functional modules. Finally, functional testing was conducted on the system, and the test results were analyzed and summarized to timely improve the shortcomings of the system, providing convenience for future system maintenance and reference and assistance for the development of similar systems in the future.
This hotel reservation management system adopts MySQL as the main storage unit for backend data, and uses the Thinkphp framework and Redis technology for business system coding and development, achieving all functions of this system. During the design process, the system code was fully guaranteed to have good readability, practicality, scalability, universality, ease of later maintenance, easy operation, and concise pages.
Key words: Hotel reservation management system, Thinkphp framework, MySQL database
目录
第1章 绪论
1.1 背景及意义
随着社会的快速发展,计算机的影响是全面且深入的。人们生活水平的不断提高,日常生活中人们对酒店预约管理系统方面的要求也在不断提高,智能公寓的数量更是不断增加,使得酒店预约管理系统的开发成为必需而且紧迫的事情。酒店预约管理系统主要是借助计算机,通过对酒店预约管理系统所需的信息管理,增加客户的选择,同时也方便对广大客户信息的及时查询、修改以及对客户信息的及时了解。酒店预约管理系统对客户带来了更多的便利,该系统通过和数据库管理系统软件协作来满足客户的需求。 计算机技术在现代管理中的应用,使计算机成为人们应用现代技术的重要工具。能够有效的解决获取信息便捷化、全面化的问题,提高效率。
1.2 国内外研究概况
随着国内经济形势的不断发展,中国互联网进入了一个难得的高峰发展时期,这使得中外资本家纷纷转向互联网市场。 然而,许多管理领域的不合理结构,人员不足以及管理需求的增加使得更多的人具备了互联网管理的意识。
在当今高度发达的信息中,信息管理改革已成为一种更加广泛和全面的趋势。 酒店预约管理系统是基于Mysql数据库,在Thinkphp程序设计的基础上实现的。为确保中国经济的持续发展,信息时代日益更新,蓬勃发展。同时,随着信息社会的快速发展,酒店预约管理系统面临着越来越多的信息,因此很难获得他们对高效信息的需求,如何使用方便快捷的方式使查询者在广阔的海洋信息中查询,存储,管理和共享信息方面有效,对我们的工作和生活具有重要的现实意义。因此,国内外学术界对此进行了深入而广泛的研究,一个新的研究领域——酒店预约管理系统诞生了。
1.3 研究的内容
目前许多人仍将传统的纸质工具作为信息管理的主要工具,而网络技术的应用只是起到辅助作用。在对网络工具的认知程度上,较为传统的office软件等仍是人们使用的主要工具,而相对全面且专业的酒店预约管理系统的信息管理软件仍没有得到大多数人的了解或认可。本选题则旨在通过标签分类管理等方式,首页、个人中心,设施信息管理,租赁信息管理,客户信息管理、财务管理管理、房源信息管理等信息管理功能,从而达到对酒店预约管理系统信息的高效管理。
第2章 相关技术
2.1 开发技术说明:
本系统前端部分基于MVVM模式进行开发,采用B/S模式,后端部分基于php开发语言进行编写,采用MVC模式进行开发。
前端部分:前端框架采用了比较流行的渐进式JavaScript框架Vue.js。使用Vue-Router和Vuex实现动态路由和全局状态管理,Ajax实现前后端通信,Element UI组件库和Lay UI组件库使页面快速成型。
后端部分:采用php作为开发语言进行编译开发,同时集成Redis等相关技术。
2.2 PHP开发语言
PHP是一种面向对象的程序设计语言,类是PHP程序的基本组成单元,类中又包含了属性和方法,在类中又可以创建无数个对象。类中包含的主要成员是字段和方法,字段是指一种数据变量,方法是指对字段进行操作的集合,包括给其他变量赋值、调用方法等。PHP代码都是编写在类体中,类体中的每个数据项都可以看作是一个对象,PHP不支持类的多重继承,但可以支持接口的多重继承,并且支持类和接口的实现。由于PHP通常在网络环境中使用,所以PHP提供了一个防止代码恶意攻击的安全机制,同时,PHP具有强类型机制、自动收集垃圾和异常处理等特性,这些都是PHP语言健壮性的重要保证。
(1)PHP 结合 C、Java、Perl 以及自创的新语法形成了自己独特的语法。
(2)PHP可以更快速的执行动态网页,当然这只是相对于CGI或者Perl来说,PHP可以在HTML文档中嵌入程序,而且去执行,另外PHP能够实现CGI的所有功能,因此说明PHP具有很强大的功能。
(3)大部分当下流行的数据库和操作系统PHP语言都能够支持。
(4)PHP语言的最重要特点就是可以让C、C++进行扩展
(1)开放源代码:事实上PHP的所有源代码都可以得到。
(2)免费性:PHP是开源代码并且免费
(3)快捷性:PHP对于初学者来说,它不止编辑简单可以嵌入与HTML语言中,而且对于程序开发和运行也是非常快速的,并且非常容易掌握。
(4)跨平台性强:PHP是可以在服务器运行的脚本语言,所以在UNIX、Android、Mac OS、WINDOWS等操作平台上都可以运行。
(5)效率高:PHP对系统资源的消耗相当少,所以它的效率高。
(6)图像处理:PHP不止是可以使用GD2对图像进行处理,而且他还可以完成对图像的创建。
(7)面向对象:php4、php5对于PHP在面向对象上,有了许多的改进,PHP语言开发大型商业程序也是可以胜任的。
2.3 JavaScript脚本语言
此作品中,其中包含了页面的搭建,以及前后台数据接口的连接等,而对于实现用户页面交互以及一些页面逻辑性判断等功能都是用JavaScript完成的[7],而JavaScript是已经被广泛用于Web应用开发,是一种属于网络的脚本语言,常用来为网页添加各式各样的动态功能,为用户提供更流畅美观的浏览效果。通常JavaScript脚本是通过嵌入在HTML中来实现自身的功能。JavaScript作为一种描述语言,作用于web前端,它基于对象(object)和事件驱动(Event Driven)并且安全性也较好。它可以有效的在客户端运行并为服务器减轻负担。
(1)脚本语言。JavaScript是一种脚本语言并具有解释性,在程序运行过程中,它就可以进行解释。
(2)基于对象。JavaScript可以创建对象,而且还可以使用现在存在的对象,它是基于对象的脚本语言。
(3)简单。JavaScript不对使用的数据类型有着严格的要求,应用的是弱类型的变量类型,设计是十分紧凑简单。
(4)动态性。JavaScript是可以不经过Web服务器对用户的操作做出相应,是可以采用事件驱动的脚本语言。
(5)跨平台性。JavaScript可以不依赖操作系统,但需要浏览器的支持。所以在编写JavaScript脚本后可以在任意机器上使用,但要注意的一点,使用的浏览器是支持JavaScript脚本语言,现在大多浏览器也支持JavaScript。
JavaScript的用途是解决页面交互和数据交互,最终目的是丰富客户端效果以及数据的有效传递。
(1)实现页面交互,提升用户体验实现页面特效。即js操作html的dom节构或操作样式。
(2)客户端表单验证。当数据传送到服务端前,可以将用户填入并上交的信息快速有效的验证,进行了数据的交互,为服务器减轻了负担。
2.4 Mysql数据库
Mysql Database,通常简称为Mysql,是一款关系型数据库的管理系统。Mysql数据库系统是目前最流行的关系型数据库管理系统之一,其系统具有良好的可移植性,功能强大且使用十分方便。Mysql支持很多系统和硬件,包括HP-UX,Linux,MicrosoftWindows,SunSolaris,AppleMac等。
Mysql系统的特点:
(1)Mysql的多线索服务器的体系结构使其只利用很少的资源就能够支持多用户的、大数据的高性能事务处理;
(2)Mysql支持大量的多媒体数据,例如声音、动画、二进制图形和多维数据结构等;
(3)Mysql提供了安全保密管理系统,具有良好的安全性、一致性和完整性;
(5)提供了一些高级语言的接口软件,可以帮助快速开发基于客户端的应用程序,具有良好的移植性、可连结性和可兼容性。
Mysql数据库逻辑结构包含表空间(tablespace)、段(segment)、范围(extend)、数据块(datablock)、和模式对象(schemaobject) 。每一个数据库都可以逻辑划分为一个或多个表空间,每一个表空间都是由一个或多个数据文件来组成。Mysql数据库分为系统表空间和非系统表空间,每一个Mysql数据库都包含一个称作SYSTEM的系统表空间。
2.5AJAX技术
AJAX是创建交互式网页的一种开发技术,利用AJAX技术可以实现以无刷新网页的方式更新HTML元素中的内容。传统的网页如果要更新网页内容,必须重新加载整个页面,而AJAX使用异步数据传输在网页和Web服务器之前传递HTTP请求,这样可以使网页只请求少量信息,而不用刷新整个页面。
第3章 系统分析
3.1 需求分析
酒店预约管理系统主要是为了提高工作人员的工作效率和更方便快捷的满足客户,更好存储所有数据信息及快速方便的检索功能,对系统的各个模块是通过许多今天的发达系统做出合理的分析来确定考虑客户的可操作性,遵循开发的系统优化的原则,经过全面的调查和研究。
任何一个项目在开发研究前,都需要对研发系统本身的需求做一个认真的分析,市场的调研是不可忽视的,从实际场景中确定使用客户的功能需求,从而明确目标,对整个系统的开发有一个更加准确的定位。在这个章节,需要对系统的性能分析,业务流程分析,和数据等进行分析,酒店预约管理系统的整体界面简单,功能完善。
需求的可行性是分析和讨论发达的系统能达到什么样的要求。开发的系统或网站是否符合之前的要求。只有在预先评估系统的开发中,才能在系统开发和实施之前完成需求。系统在开发和运用过程中,在技术可行性、操作可行性、经济可行性和法律可行性这几点展开的详细说明,证明了这几点是可行的。
系统所要实现的功能分析,对于现在网络方便的管理,系统要实现客户可以直接在平台上进行查看所有数据信息,根据需求可以进行在线添加,删除或修改酒店预约管理系统信息,这样既能节省时间,不用再像传统的方式耽误时间,真的很难去满足客户的各种需求。所以酒店预约管理系统的开发不仅能满足客户的需求,还能减少原有不必要的工作量,大大提高了管理员的工作效率。
3.2 系统可行性分析
3.2.1技术可行性:技术背景
本企业网站在Windows操作系统中进行开发,并且目前PC机的性能已经可以胜任普通网站的web服务器。系统开发所使用的技术也都是自身所具有的,也是当下广泛应用的技术之一。
系统的开发环境和配置都是可以自行安装的,系统使用Thinkphp开发工具,使用比较成熟的Mysql数据库进行对系统前台及后台的数据交互,根据技术语言对数据库,结合需求进行修改维护,可以使得网站运行更具有稳定性和安全性,从而完成实现网站的开发。
(1)硬件可行性分析
系统管理及信息分析的设计对于所使用的计算机没有什么硬性的要求,计算机只要可以正常的使用进行代码的编写及页面设计就可行,主要是对于服务器有些要求,对于平台搭建完成要上传的服务器是有一定的要求的,服务器必须选择安全性比较高的,然后就是在打开网站必须顺畅,不能停顿太长时间;性价比高;安全性高。
(2)软件可行性分析
开发整个系统使用的是云计算,流量的可扩展性和基于流量的智能调整云计算的优点就是流量的可扩展性和基于流量的智能调整,保障系统的安全和数据信息的及时备份。
因此,我们从两个方面进行了可行性研究,可以看出系统的开发没有问题。
3.2.2经济可行性
在酒店预约管理系统开发之前所做的市场调研及其他相关的管理系统,都是没有任何费用的,都是通过开发者自己的努力,所有工作都是自己亲力亲为,在碰到自己比较难以解决的问题,大多是通过同学和指导老师的帮助进行相关信息的解决,所以对于酒店预约管理系统的开发在经济上是完全可行的,没有任何费用支出的。
使用比较成熟的技术,系统是基于Thinkphp的开发,采用Mysql数据库。所以系统在开发人力、财力要求不高,具有经济可行性。
3.2.3操作可行性:
可操作性主要是对酒店预约管理系统设计完成后,客户的使用体验度,以及管理员可以通过系统随时管理相关的数据信息,并且对于管理员、用户、工作人员、三个用户角色,都可以简单明了的进入到自己的系统界面,通过界面导航菜单可以简单明了地操作功能模块,方便客户信息的操作需求和管理员管理数据信息,对于系统的操作,不需要专业人员都可以直接进行功能模块的操作管理,所以在系统的可操作性是完全可以的。本系统的操作过程使用的也是界面窗口进行登录,所以操作人员只要会简单的电脑操作就完全可以的。
3.3 项目设计目标与原则
1、关于酒店预约管理系统的基本要求
(1)功能要求:可以管理首页、个人资料(个人信息、修改密码)、公告管理(轮播图、公告消息)、用户管理(管理员、工作人员、普通用户)、信息管理(酒店资讯、资讯分类)、酒店客房、预定信息、预定取消、离店申请、线下订单、客房打分等功能模块。
(2)性能:在不同操作系统上均能无差错实现在不同类型的客户登入相应界面后能不出差错、方便地进行预期操作。
(3)安全与保密要求:客户都必须通过管理员审核才能进入系统。
(4)环境要求:支持Windows系列、Vista系统等多种操作系统使用。
2、开发目标
酒店预约管理系统的主要开发目标如下:
(1)实现管理系统信息关系的系统化、规范化和自动化;
(2)减少维护人员的工作量以及实现客户对信息的控制和管理;
(3)方便查询信息及管理信息等;
(4)通过网络操作,提高改善处理问题和操作人员工作的效率;
(5)考虑到客户多样性特点,要求界面和操作简便易懂。
本酒店预约管理系统采用Thinkphp技术,Mysql数据库开发,充分保证了系统稳定性、完整性。
酒店预约管理系统的设计与实现的设计思想如下:
- 操作简单方便、系统界面安全良、简单明了的页面布局、方便查询智能公寓管理相关信息。
2、即时可见:对酒店预约管理系统信息的处理将立马在对应地点可以查询到,从而实现“即时发布、即时见效”的系统功能。
3、功能的完善性:可以管理首页、个人资料(个人信息、修改密码)、公告管理(轮播图、公告消息)、用户管理(管理员、工作人员、普通用户)、信息管理(酒店资讯、资讯分类)、酒店客房、预定信息、预定取消、离店申请、线下订单、客房打分模块的修改维护操作。
3.4系统流程分析
3.4.1操作流程

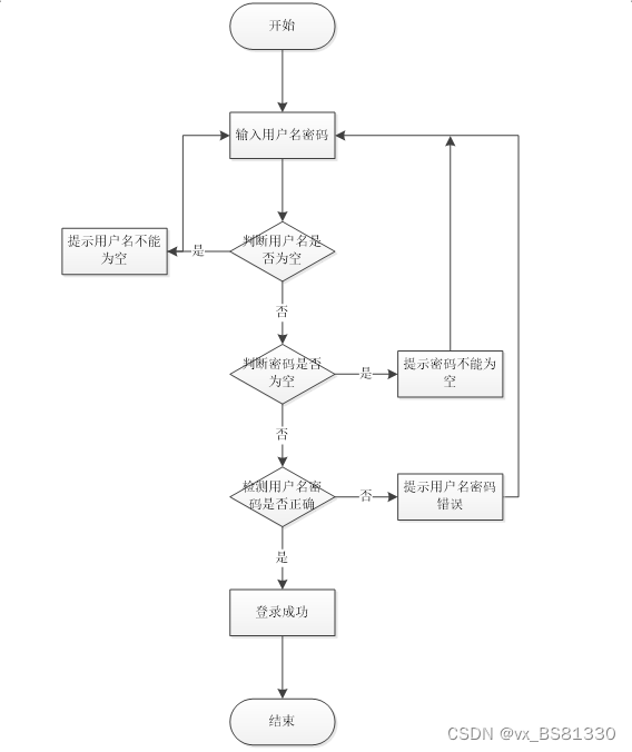
图3-1登录流程图
3.4.2添加信息流程
添加信息流程图,如图所示:

图3-2添加信息流程图
3.4.3删除信息流程
删除信息流程图,如图所示:

图3-3删除信息流程图
第4章 系统设计
4.1 系统体系结构
酒店预约管理系统的结构图4-1所示:

图4-1 系统结构
登录系统结构图,如图4-2所示:

图4-2 登录结构图
系统的功能结构,如图4-3所示。

图4-3 系统功能结构图
4.2开发流程设计
系统流程的分析是通过调查系统所涉及问题的识别、可行性、可操作性、系统分析处理能力等具体环节来调节、整理系统的设计方案以确保系统能达到理想的状态。这些操作都要从注册、登录处着眼进行一系列的流程测试保证数据库的完整,从而把控系统所涉及信息管理的安全、保证信息输入、输出正常转换。然后,通过实际操作完成流程图的绘制工作。
酒店预约管理系统的开发对管理模块和系统使用的数据库进行分析,编写代码,系统测试,如图4-4所示。

图4-4开发系统流程图
4.3 数据库设计原则
学习编程,我们都知道数据库设计是基于需要设计的系统功能,我们需要建立一个数据库关系模型,用于存储数据信息,这样当我们在程序中时,就没有必要为程序页面添加数据,从而提高系统的效率。数据库存储了很多信息,可以说是信息管理系统的核心和基础,数据库还为系统提供了添加、删除、修改和检查等操作模块,使系统能够快速找到自己想要的信息,而不是在程序代码中找到。数据库中信息表的每个部分根据一定的关系精确地组合,排列和组合成数据表。
通过酒店预约管理系统的功能进行规划分成几个实体信息,实体信息将通过ER图进行说明,本系统的主要实体图如下:
管理员信息属性图如图4-5所示。

图4-5 管理员信息实体属性图
预订信息实体属性图如图4-6所示。

图4-6预订信息实体属性图
酒店客房信息实体属性图如图4-7所示。

图4-7酒店客房实体属性图
用户注册实体属性图如图4-8所示。

图4-8用户注册实体属性图
4.4 数据表
将数据库概念设计的E-R图转换为关系数据库。在关系数据库中,数据关系由数据表组成,但是表的结构表现在表的字段上。
| 编号 | 名称 | 数据类型 | 长度 | 小数位 | 允许空值 | 主键 | 默认值 | 说明 |
| 1 | token_id | int | 10 | 0 | N | Y | 临时访问牌ID | |
| 2 | token | varchar | 64 | 0 | Y | N | 临时访问牌 | |
| 3 | info | text | 65535 | 0 | Y | N | ||
| 4 | maxage | int | 10 | 0 | N | N | 2 | 最大寿命:默认2小时 |
| 5 | create_time | timestamp | 19 | 0 | N | N | CURRENT_TIMESTAMP | 创建时间: |
| 6 | update_time | timestamp | 19 | 0 | N | N | CURRENT_TIMESTAMP | 更新时间: |
| 7 | user_id | int | 10 | 0 | N | N | 0 | 用户编号: |
| 编号 | 名称 | 数据类型 | 长度 | 小数位 | 允许空值 | 主键 | 默认值 | 说明 |
| 1 | article_id | mediumint | 8 | 0 | N | Y | 文章id:[0,8388607] | |
| 2 | title | varchar | 125 | 0 | N | Y | 标题:[0,125]用于文章和html的title标签中 | |
| 3 | type | varchar | 64 | 0 | N | N | 0 | 文章分类:[0,1000]用来搜索指定类型的文章 |
| 4 | hits | int | 10 | 0 | N | N | 0 | 点击数:[0,1000000000]访问这篇文章的人次 |
| 5 | praise_len | int | 10 | 0 | N | N | 0 | 点赞数 |
| 6 | create_time | timestamp | 19 | 0 | N | N | CURRENT_TIMESTAMP | 创建时间: |
| 7 | update_time | timestamp | 19 | 0 | N | N | CURRENT_TIMESTAMP | 更新时间: |
| 8 | source | varchar | 255 | 0 | Y | N | 来源:[0,255]文章的出处 | |
| 9 | url | varchar | 255 | 0 | Y | N | 来源地址:[0,255]用于跳转到发布该文章的网站 | |
| 10 | tag | varchar | 255 | 0 | Y | N | 标签:[0,255]用于标注文章所属相关内容,多个标签用空格隔开 | |
| 11 | content | longtext | 2147483647 | 0 | Y | N | 正文:文章的主体内容 | |
| 12 | img | varchar | 255 | 0 | Y | N | 封面图 | |
| 13 | description | text | 65535 | 0 | Y | N | 文章描述 |
| 编号 | 名称 | 数据类型 | 长度 | 小数位 | 允许空值 | 主键 | 默认值 | 说明 |
| 1 | type_id | smallint | 5 | 0 | N | Y | 分类ID:[0,10000] | |
| 2 | display | smallint | 5 | 0 | N | N | 100 | 显示顺序:[0,1000]决定分类显示的先后顺序 |
| 3 | name | varchar | 16 | 0 | N | N | 分类名称:[2,16] | |
| 4 | father_id | smallint | 5 | 0 | N | N | 0 | 上级分类ID:[0,32767] |
| 5 | description | varchar | 255 | 0 | Y | N | 描述:[0,255]描述该分类的作用 | |
| 6 | icon | text | 65535 | 0 | Y | N | 分类图标: | |
| 7 | url | varchar | 255 | 0 | Y | N | 外链地址:[0,255]如果该分类是跳转到其他网站的情况下,就在该URL上设置 | |
| 8 | create_time | timestamp | 19 | 0 | N | N | CURRENT_TIMESTAMP | 创建时间: |
| 9 | update_time | timestamp | 19 | 0 | N | N | CURRENT_TIMESTAMP | 更新时间: |
| 编号 | 名称 | 数据类型 | 长度 | 小数位 | 允许空值 | 主键 | 默认值 | 说明 |
| 1 | auth_id | int | 10 | 0 | N | Y | 授权ID: | |
| 2 | user_group | varchar | 64 | 0 | Y | N | 用户组: | |
| 3 | mod_name | varchar | 64 | 0 | Y | N | 模块名: | |
| 4 | table_name | varchar | 64 | 0 | Y | N | 表名: | |
| 5 | page_title | varchar | 255 | 0 | Y | N | 页面标题: | |
| 6 | path | varchar | 255 | 0 | Y | N | 路由路径: | |
| 7 | position | varchar | 32 | 0 | Y | N | 位置: | |
| 8 | mode | varchar | 32 | 0 | N | N | _blank | 跳转方式: |
| 9 | add | tinyint | 3 | 0 | N | N | 1 | 是否可增加: |
| 10 | del | tinyint | 3 | 0 | N | N | 1 | 是否可删除: |
| 11 | set | tinyint | 3 | 0 | N | N | 1 | 是否可修改: |
| 12 | get | tinyint | 3 | 0 | N | N | 1 | 是否可查看: |
| 13 | field_add | text | 65535 | 0 | Y | N | 添加字段: | |
| 14 | field_set | text | 65535 | 0 | Y | N | 修改字段: | |
| 15 | field_get | text | 65535 | 0 | Y | N | 查询字段: | |
| 16 | table_nav_name | varchar | 500 | 0 | Y | N | 跨表导航名称: | |
| 17 | table_nav | varchar | 500 | 0 | Y | N | 跨表导航: | |
| 18 | option | text | 65535 | 0 | Y | N | 配置: | |
| 19 | create_time | timestamp | 19 | 0 | N | N | CURRENT_TIMESTAMP | 创建时间: |
| 20 | update_time | timestamp | 19 | 0 | N | N | CURRENT_TIMESTAMP | 更新时间: |
| 编号 | 名称 | 数据类型 | 长度 | 小数位 | 允许空值 | 主键 | 默认值 | 说明 |
| 1 | booking_cancellation_id | int | 10 | 0 | N | Y | 预订取消ID | |
| 2 | room_number | varchar | 64 | 0 | Y | N | 客房房号 | |
| 3 | room_type | varchar | 64 | 0 | Y | N | 客房房型 | |
| 4 | room_specifications | varchar | 64 | 0 | Y | N | 客房规格 | |
| 5 | room_rate | int | 10 | 0 | Y | N | 0 | 客房价格 |
| 6 | booking_users | int | 10 | 0 | Y | N | 0 | 预订用户 |
| 7 | user_name | varchar | 64 | 0 | Y | N | 用户姓名 | |
| 8 | user_phone | varchar | 64 | 0 | Y | N | 用户电话 | |
| 9 | check_in_time | datetime | 19 | 0 | Y | N | 入住时间 | |
| 10 | check_out_time | datetime | 19 | 0 | Y | N | 退房时间 | |
| 11 | check_in_status | varchar | 64 | 0 | Y | N | 入住状态 | |
| 12 | reason_for_cancellation | text | 65535 | 0 | Y | N | 取消原因 | |
| 13 | examine_state | varchar | 16 | 0 | N | N | 未审核 | 审核状态 |
| 14 | recommend | int | 10 | 0 | N | N | 0 | 智能推荐 |
| 15 | create_time | datetime | 19 | 0 | N | N | CURRENT_TIMESTAMP | 创建时间 |
| 16 | update_time | timestamp | 19 | 0 | N | N | CURRENT_TIMESTAMP | 更新时间 |
| 编号 | 名称 | 数据类型 | 长度 | 小数位 | 允许空值 | 主键 | 默认值 | 说明 |
| 1 | booking_information_id | int | 10 | 0 | N | Y | 预订信息ID | |
| 2 | room_number | varchar | 64 | 0 | Y | N | 客房房号 | |
| 3 | room_type | varchar | 64 | 0 | Y | N | 客房房型 | |
| 4 | room_specifications | varchar | 64 | 0 | Y | N | 客房规格 | |
| 5 | room_rate | int | 10 | 0 | Y | N | 0 | 客房价格 |
| 6 | booking_users | int | 10 | 0 | Y | N | 0 | 预订用户 |
| 7 | user_name | varchar | 64 | 0 | Y | N | 用户姓名 | |
| 8 | user_phone | varchar | 64 | 0 | Y | N | 用户电话 | |
| 9 | check_in_time | datetime | 19 | 0 | Y | N | 入住时间 | |
| 10 | check_out_time | datetime | 19 | 0 | Y | N | 退房时间 | |
| 11 | special_needs | text | 65535 | 0 | Y | N | 特殊需求 | |
| 12 | check_in_status | varchar | 64 | 0 | Y | N | 入住状态 | |
| 13 | pay_state | varchar | 16 | 0 | N | N | 未支付 | 支付状态 |
| 14 | pay_type | varchar | 16 | 0 | Y | N | 支付类型: 微信、支付宝、网银 | |
| 15 | recommend | int | 10 | 0 | N | N | 0 | 智能推荐 |
| 16 | create_time | datetime | 19 | 0 | N | N | CURRENT_TIMESTAMP | 创建时间 |
| 17 | update_time | timestamp | 19 | 0 | N | N | CURRENT_TIMESTAMP | 更新时间 |
| 编号 | 名称 | 数据类型 | 长度 | 小数位 | 允许空值 | 主键 | 默认值 | 说明 |
| 1 | collect_id | int | 10 | 0 | N | Y | 收藏ID: | |
| 2 | user_id | int | 10 | 0 | N | N | 0 | 收藏人ID: |
| 3 | source_table | varchar | 255 | 0 | Y | N | 来源表: | |
| 4 | source_field | varchar | 255 | 0 | Y | N | 来源字段: | |
| 5 | source_id | int | 10 | 0 | N | N | 0 | 来源ID: |
| 6 | title | varchar | 255 | 0 | Y | N | 标题: | |
| 7 | img | varchar | 255 | 0 | Y | N | 封面: | |
| 8 | create_time | timestamp | 19 | 0 | N | N | CURRENT_TIMESTAMP | 创建时间: |
| 9 | update_time | timestamp | 19 | 0 | N | N | CURRENT_TIMESTAMP | 更新时间: |
| 编号 | 名称 | 数据类型 | 长度 | 小数位 | 允许空值 | 主键 | 默认值 | 说明 |
| 1 | comment_id | int | 10 | 0 | N | Y | 评论ID: | |
| 2 | user_id | int | 10 | 0 | N | N | 0 | 评论人ID: |
| 3 | reply_to_id | int | 10 | 0 | N | N | 0 | 回复评论ID:空为0 |
| 4 | content | longtext | 2147483647 | 0 | Y | N | 内容: | |
| 5 | nickname | varchar | 255 | 0 | Y | N | 昵称: | |
| 6 | avatar | varchar | 255 | 0 | Y | N | 头像地址:[0,255] | |
| 7 | create_time | timestamp | 19 | 0 | N | N | CURRENT_TIMESTAMP | 创建时间: |
| 8 | update_time | timestamp | 19 | 0 | N | N | CURRENT_TIMESTAMP | 更新时间: |
| 9 | source_table | varchar | 255 | 0 | Y | N | 来源表: | |
| 10 | source_field | varchar | 255 | 0 | Y | N | 来源字段: | |
| 11 | source_id | int | 10 | 0 | N | N | 0 | 来源ID: |
| 编号 | 名称 | 数据类型 | 长度 | 小数位 | 允许空值 | 主键 | 默认值 | 说明 |
| 1 | departure_application_id | int | 10 | 0 | N | Y | 离店申请ID | |
| 2 | room_number | varchar | 64 | 0 | Y | N | 客房房号 | |
| 3 | room_type | varchar | 64 | 0 | Y | N | 客房房型 | |
| 4 | room_specifications | varchar | 64 | 0 | Y | N | 客房规格 | |
| 5 | room_rate | int | 10 | 0 | Y | N | 0 | 客房价格 |
| 6 | booking_users | int | 10 | 0 | Y | N | 0 | 预订用户 |
| 7 | user_name | varchar | 64 | 0 | Y | N | 用户姓名 | |
| 8 | user_phone | varchar | 64 | 0 | Y | N | 用户电话 | |
| 9 | check_in_time | datetime | 19 | 0 | Y | N | 入住时间 | |
| 10 | check_out_time | datetime | 19 | 0 | Y | N | 退房时间 | |
| 11 | check_in_status | varchar | 64 | 0 | Y | N | 入住状态 | |
| 12 | application_time | datetime | 19 | 0 | Y | N | 申请时间 | |
| 13 | reason_for_application | text | 65535 | 0 | Y | N | 申请原因 | |
| 14 | examine_state | varchar | 16 | 0 | N | N | 未审核 | 审核状态 |
| 15 | examine_reply | varchar | 16 | 0 | Y | N | 审核回复 | |
| 16 | recommend | int | 10 | 0 | N | N | 0 | 智能推荐 |
| 17 | create_time | datetime | 19 | 0 | N | N | CURRENT_TIMESTAMP | 创建时间 |
| 18 | update_time | timestamp | 19 | 0 | N | N | CURRENT_TIMESTAMP | 更新时间 |
| 编号 | 名称 | 数据类型 | 长度 | 小数位 | 允许空值 | 主键 | 默认值 | 说明 |
| 1 | hits_id | int | 10 | 0 | N | Y | 点赞ID: | |
| 2 | user_id | int | 10 | 0 | N | N | 0 | 点赞人: |
| 3 | create_time | timestamp | 19 | 0 | N | N | CURRENT_TIMESTAMP | 创建时间: |
| 4 | update_time | timestamp | 19 | 0 | N | N | CURRENT_TIMESTAMP | 更新时间: |
| 5 | source_table | varchar | 255 | 0 | Y | N | 来源表: | |
| 6 | source_field | varchar | 255 | 0 | Y | N | 来源字段: | |
| 7 | source_id | int | 10 | 0 | N | N | 0 | 来源ID: |
| 编号 | 名称 | 数据类型 | 长度 | 小数位 | 允许空值 | 主键 | 默认值 | 说明 |
| 1 | hotel_rooms_id | int | 10 | 0 | N | Y | 酒店客房ID | |
| 2 | room_number | varchar | 64 | 0 | N | N | 客房房号 | |
| 3 | room_type | varchar | 64 | 0 | Y | N | 客房房型 | |
| 4 | room_specifications | varchar | 64 | 0 | Y | N | 客房规格 | |
| 5 | room_rate | int | 10 | 0 | Y | N | 0 | 客房价格 |
| 6 | guest_room_pictures | varchar | 255 | 0 | Y | N | 客房图片 | |
| 7 | room_introduction | longtext | 2147483647 | 0 | Y | N | 客房简介 | |
| 8 | recommend | int | 10 | 0 | N | N | 0 | 智能推荐 |
| 9 | create_time | datetime | 19 | 0 | N | N | CURRENT_TIMESTAMP | 创建时间 |
| 10 | update_time | timestamp | 19 | 0 | N | N | CURRENT_TIMESTAMP | 更新时间 |
| 编号 | 名称 | 数据类型 | 长度 | 小数位 | 允许空值 | 主键 | 默认值 | 说明 |
| 1 | notice_id | mediumint | 8 | 0 | N | Y | 公告id: | |
| 2 | title | varchar | 125 | 0 | N | N | 标题: | |
| 3 | content | longtext | 2147483647 | 0 | Y | N | 正文: | |
| 4 | create_time | timestamp | 19 | 0 | N | N | CURRENT_TIMESTAMP | 创建时间: |
| 5 | update_time | timestamp | 19 | 0 | N | N | CURRENT_TIMESTAMP | 更新时间: |
| 编号 | 名称 | 数据类型 | 长度 | 小数位 | 允许空值 | 主键 | 默认值 | 说明 |
| 1 | offline_orders_id | int | 10 | 0 | N | Y | 线下订单ID | |
| 2 | room_number | varchar | 64 | 0 | Y | N | 客房房号 | |
| 3 | room_type | varchar | 64 | 0 | Y | N | 客房房型 | |
| 4 | room_rate | int | 10 | 0 | Y | N | 0 | 客房价格 |
| 5 | user_name | varchar | 64 | 0 | Y | N | 用户姓名 | |
| 6 | user_phone | varchar | 64 | 0 | Y | N | 用户电话 | |
| 7 | check_in_time | datetime | 19 | 0 | Y | N | 入住时间 | |
| 8 | check_out_time | datetime | 19 | 0 | Y | N | 退房时间 | |
| 9 | special_needs | text | 65535 | 0 | Y | N | 特殊需求 | |
| 10 | recommend | int | 10 | 0 | N | N | 0 | 智能推荐 |
| 11 | create_time | datetime | 19 | 0 | N | N | CURRENT_TIMESTAMP | 创建时间 |
| 12 | update_time | timestamp | 19 | 0 | N | N | CURRENT_TIMESTAMP | 更新时间 |
| 编号 | 名称 | 数据类型 | 长度 | 小数位 | 允许空值 | 主键 | 默认值 | 说明 |
| 1 | ordinary_users_id | int | 10 | 0 | N | Y | 普通用户ID | |
| 2 | user_name | varchar | 64 | 0 | Y | N | 用户姓名 | |
| 3 | user_gender | varchar | 64 | 0 | Y | N | 用户性别 | |
| 4 | user_age | varchar | 64 | 0 | Y | N | 用户年龄 | |
| 5 | examine_state | varchar | 16 | 0 | N | N | 已通过 | 审核状态 |
| 6 | recommend | int | 10 | 0 | N | N | 0 | 智能推荐 |
| 7 | user_id | int | 10 | 0 | N | N | 0 | 用户ID |
| 8 | create_time | datetime | 19 | 0 | N | N | CURRENT_TIMESTAMP | 创建时间 |
| 9 | update_time | timestamp | 19 | 0 | N | N | CURRENT_TIMESTAMP | 更新时间 |
| 编号 | 名称 | 数据类型 | 长度 | 小数位 | 允许空值 | 主键 | 默认值 | 说明 |
| 1 | praise_id | int | 10 | 0 | N | Y | 点赞ID: | |
| 2 | user_id | int | 10 | 0 | N | N | 0 | 点赞人: |
| 3 | create_time | timestamp | 19 | 0 | N | N | CURRENT_TIMESTAMP | 创建时间: |
| 4 | update_time | timestamp | 19 | 0 | N | N | CURRENT_TIMESTAMP | 更新时间: |
| 5 | source_table | varchar | 255 | 0 | Y | N | 来源表: | |
| 6 | source_field | varchar | 255 | 0 | Y | N | 来源字段: | |
| 7 | source_id | int | 10 | 0 | N | N | 0 | 来源ID: |
| 8 | status | bit | 1 | 0 | N | N | 1 | 点赞状态:1为点赞,0已取消 |
| 编号 | 名称 | 数据类型 | 长度 | 小数位 | 允许空值 | 主键 | 默认值 | 说明 |
| 1 | room_scoring_id | int | 10 | 0 | N | Y | 客房打分ID | |
| 2 | room_number | varchar | 64 | 0 | N | N | 客房房号 | |
| 3 | room_type | varchar | 64 | 0 | Y | N | 客房房型 | |
| 4 | room_specifications | varchar | 64 | 0 | Y | N | 客房规格 | |
| 5 | room_rate | int | 10 | 0 | Y | N | 0 | 客房价格 |
| 6 | ordinary_users | int | 10 | 0 | Y | N | 0 | 普通用户 |
| 7 | scoring_points | varchar | 64 | 0 | Y | N | 打分分数 | |
| 8 | recommend | int | 10 | 0 | N | N | 0 | 智能推荐 |
| 9 | create_time | datetime | 19 | 0 | N | N | CURRENT_TIMESTAMP | 创建时间 |
| 10 | update_time | timestamp | 19 | 0 | N | N | CURRENT_TIMESTAMP | 更新时间 |
| 编号 | 名称 | 数据类型 | 长度 | 小数位 | 允许空值 | 主键 | 默认值 | 说明 |
| 1 | slides_id | int | 10 | 0 | N | Y | 轮播图ID: | |
| 2 | title | varchar | 64 | 0 | Y | N | 标题: | |
| 3 | content | varchar | 255 | 0 | Y | N | 内容: | |
| 4 | url | varchar | 255 | 0 | Y | N | 链接: | |
| 5 | img | varchar | 255 | 0 | Y | N | 轮播图: | |
| 6 | hits | int | 10 | 0 | N | N | 0 | 点击量: |
| 7 | create_time | timestamp | 19 | 0 | N | N | CURRENT_TIMESTAMP | 创建时间: |
| 8 | update_time | timestamp | 19 | 0 | N | N | CURRENT_TIMESTAMP | 更新时间: |
| 编号 | 名称 | 数据类型 | 长度 | 小数位 | 允许空值 | 主键 | 默认值 | 说明 |
| 1 | upload_id | int | 10 | 0 | N | Y | 上传ID | |
| 2 | name | varchar | 64 | 0 | Y | N | 文件名 | |
| 3 | path | varchar | 255 | 0 | Y | N | 访问路径 | |
| 4 | file | varchar | 255 | 0 | Y | N | 文件路径 | |
| 5 | display | varchar | 255 | 0 | Y | N | 显示顺序 | |
| 6 | father_id | int | 10 | 0 | Y | N | 0 | 父级ID |
| 7 | dir | varchar | 255 | 0 | Y | N | 文件夹 | |
| 8 | type | varchar | 32 | 0 | Y | N | 文件类型 |
| 编号 | 名称 | 数据类型 | 长度 | 小数位 | 允许空值 | 主键 | 默认值 | 说明 |
| 1 | user_id | mediumint | 8 | 0 | N | Y | 用户ID:[0,8388607]用户获取其他与用户相关的数据 | |
| 2 | state | smallint | 5 | 0 | N | N | 1 | 账户状态:[0,10](1可用|2异常|3已冻结|4已注销) |
| 3 | user_group | varchar | 32 | 0 | Y | N | 所在用户组:[0,32767]决定用户身份和权限 | |
| 4 | login_time | timestamp | 19 | 0 | N | N | CURRENT_TIMESTAMP | 上次登录时间: |
| 5 | phone | varchar | 11 | 0 | Y | N | 手机号码:[0,11]用户的手机号码,用于找回密码时或登录时 | |
| 6 | phone_state | smallint | 5 | 0 | N | N | 0 | 手机认证:[0,1](0未认证|1审核中|2已认证) |
| 7 | username | varchar | 16 | 0 | N | N | 用户名:[0,16]用户登录时所用的账户名称 | |
| 8 | nickname | varchar | 16 | 0 | Y | N | 昵称:[0,16] | |
| 9 | password | varchar | 64 | 0 | N | N | 密码:[0,32]用户登录所需的密码,由6-16位数字或英文组成 | |
| 10 | | varchar | 64 | 0 | Y | N | 邮箱:[0,64]用户的邮箱,用于找回密码时或登录时 | |
| 11 | email_state | smallint | 5 | 0 | N | N | 0 | 邮箱认证:[0,1](0未认证|1审核中|2已认证) |
| 12 | avatar | varchar | 255 | 0 | Y | N | 头像地址:[0,255] | |
| 13 | create_time | timestamp | 19 | 0 | N | N | CURRENT_TIMESTAMP | 创建时间: |
| 编号 | 名称 | 数据类型 | 长度 | 小数位 | 允许空值 | 主键 | 默认值 | 说明 |
| 1 | group_id | mediumint | 8 | 0 | N | Y | 用户组ID:[0,8388607] | |
| 2 | display | smallint | 5 | 0 | N | N | 100 | 显示顺序:[0,1000] |
| 3 | name | varchar | 16 | 0 | N | N | 名称:[0,16] | |
| 4 | description | varchar | 255 | 0 | Y | N | 描述:[0,255]描述该用户组的特点或权限范围 | |
| 5 | source_table | varchar | 255 | 0 | Y | N | 来源表: | |
| 6 | source_field | varchar | 255 | 0 | Y | N | 来源字段: | |
| 7 | source_id | int | 10 | 0 | N | N | 0 | 来源ID: |
| 8 | register | smallint | 5 | 0 | Y | N | 0 | 注册位置: |
| 9 | create_time | timestamp | 19 | 0 | N | N | CURRENT_TIMESTAMP | 创建时间: |
| 10 | update_time | timestamp | 19 | 0 | N | N | CURRENT_TIMESTAMP | 更新时间: |
| 编号 | 名称 | 数据类型 | 长度 | 小数位 | 允许空值 | 主键 | 默认值 | 说明 |
| 1 | working_personnel_id | int | 10 | 0 | N | Y | 工作人员ID | |
| 2 | name_of_personnel | varchar | 64 | 0 | Y | N | 人员姓名 | |
| 3 | gender_of_personnel | varchar | 64 | 0 | Y | N | 人员性别 | |
| 4 | age_of_personnel | varchar | 64 | 0 | Y | N | 人员年龄 | |
| 5 | examine_state | varchar | 16 | 0 | N | N | 已通过 | 审核状态 |
| 6 | recommend | int | 10 | 0 | N | N | 0 | 智能推荐 |
| 7 | user_id | int | 10 | 0 | N | N | 0 | 用户ID |
| 8 | create_time | datetime | 19 | 0 | N | N | CURRENT_TIMESTAMP | 创建时间 |
| 9 | update_time | timestamp | 19 | 0 | N | N | CURRENT_TIMESTAMP | 更新时间 |
第5章 系统详细设计
5.1系统界面模块
酒店预约管理系统首页功能界面图,功能分为:首页、公告消息、酒店资讯、酒店客房、后台管理;如下图所示:
酒店客房图如下:
客房详情图如下:
5.2管理员功能模块
管理员登录,通过填写用户名、密码、权限、验证码等信息,输入完成后选择登录即可进入酒店预约管理系统,如图5-1所示。
图5-1管理员登录界面图
管理员登录进入首页管理可以查看首页、个人资料(个人信息、修改密码)、公告管理(轮播图、公告消息)、用户管理(管理员、工作人员、普通用户)、信息管理(酒店资讯、资讯分类)、酒店客房、预订信息、预订取消、离店申请、线下订单、客房打分等内容,如图5-2所示。
图5-2管理员功能界面图
酒店客房管理,在酒店客房管理添加页面可以查看到客房房号、客房规格、客房房型、客房价格、客房简介、图片等信息,并可根据需要进行查询,查看评论,删除或查看详细内容等操作,如图5-3所示。
图5-3酒店客房管理界面图
轮播图管理,在轮播图管理页面可以查看标题、轮播图等内容,并可根据需要进行查询或者删除等操作,如图5-4所示。
图5-4轮播图管理界面图
酒店资讯管理,在酒店资讯管理页面可以查看封面图、标签、标题、分类、描述等信息,并可根据需要进行评论、删除、添加详细内容等操作,如图5-5所示。
图5-5酒店资讯管理界面图
5.3用户功能模块
顾客登录进入首页管理可以查看后台首页、个人资料(个人信息、修改密码)、预订信息、预订取消、离店申请、客房打分等内容,如图5-6所示。
图5-6用户功能界面图
注册用户,用户在注册页面依次填写信息用户名、密码、姓名、性别、邮箱、手机、等信息,如图5-7
图5-7注册用户界面图
用户登录,用户通过填写用户名、密码、权限、验证码等信息,输入完成后选择登录即可进入酒店预约管理系统,如图5-8所示。
图5-8用户登录界面图
个人信息,在该页面可查看昵称、手机号码、邮箱、用户名、用户组、状态等内容,如图5-9所示。
图5-9 个人信息界面图
客房打分,在此页面查看客房房号、客房房型、客房规格、客房价格、普通用户、打分分数等信息,还可根据需要在对该页面进行打查询、添加、删除操作 图5-10所示。
图5-10客房打分界面图
5.4工作人员功能模块
工作人员登录进入首页管理可以查看后台首页、个人资料(个人信息、修改密码)、预订信息、预订取消、离店申请、线下订单、客房打分等内容,如图5-11所示。
图5-11工作人员功能界面图
预订取消管理,在预订取消管理页面可以客房房号、客房房型、客房规格、客房价格、预订用户、用户姓名等信息,还可在该页面进行查询、编辑删除详情等操作,如图5-12所示:
图5-12 预订取消管理界面图
线下订单管理,在此页面可以查看客房房号、客房房型、客房价格、用户姓名、用户电话、入住时间等信息,还可在该页面进行查询、编辑删除详情等操作,如图5-13所示。
第6章 系统测试
6.1系统测试的目的
程序设计不能保证没有错误,这是一个开发过程,在错误或错误的过程中都是难以避免的。虽然这是不可避免的,但我们不能使这些错误始终存在于系统中,错误可能会造成无法估量的后果,如系统崩溃,安全信息泄露,系统无法正常启动等,为了避免这些问题,我们需要测试程序,再测试过程中发现问题,并纠正它们,从而使系统更长时间稳定成熟。本章的作用是发现这些问题,并对其进行修改,虽然耗时费力,但对于长期使用而言是非常重要和必要系统的开发。
软件在设计后必须进行测试,调试过程中使用的方法是软件测试方法。在开发新软件时,系统测试是检查软件是否合格的关键步骤,以及是否符合设计目标的参考。测试主要是查看软件中数据的准确性,正确的操作与否,以及操作的结果,还有哪些方面需要改进。
酒店预约管理系统的实现,对于系统中功能模块的实现及操作都必须通过测试进行来评判系统是否可以准确的实现。在酒店预约管理系统正式上传使用之前必须做的一步就是系统测试,对于测试发现的错误及时修改处理,保证系统准确无误的供给客户使用。
6.2系统测试方法
在对酒店预约管理系统进行测试的时候在找到问题的情况下必须在第一时间找到解决问题的办法,不要存在侥幸的心理,这样才能让酒店预约管理系统开发的质量可以过关,并且开发的周期会大大缩短,还有就是在测试时,不要出现重复性的错误,遇到一个错误问题,要将整个酒店预约管理系统开发所牵扯的该问题都必须一一解决,提高酒店预约管理系统平台的安全性、稳定性。
白盒测试与黑盒测试是测试中比较常用的两种方法。
①结构测试俗称白盒测试:这种测试是在对程序的处理过程与结构都有详尽谅解的前提下,顺从程序内部的逻辑而完成的系统测试,以确定系统中所有的通路都能够遵照设计要求正常工作,不出现任何偏差。
②功能测试又成黑盒测试:主要是针对程序功能能够按照设计正常实现的一种检测,在程序接口处进行,检测程序手法数据是否正常,与外部信息的交换是否完整。
6.3功能测试
客户登录测试:
| 模块名称 | 测试用例 | 预期结果 | 实际结果 | 是否通过 |
| 登录模块 | 客户名:admin 密码:123 | 弹出错误提示,提示密码错误 | 弹出错误提示,提示密码错误 | 通过 |
| 登录模块 | 客户名:123 密码:admin | 弹出错误提示,提示客户名错误 | 弹出错误提示,提示客户名错误 | 通过 |
| 登录模块 | 客户名:admin 密码:admin | 管理员登录成功 | 管理员登录成功 | 通过 |
删除分类测试:
| 模块名称 | 测试用例 | 预期结果 | 实际结果 | 是否通过 |
| 删除分类模块 | 分类名:最新通知 | 删除成功、页面自动跳转 | 删除成功、页面自动跳转 | 通过 |
修改密码测试:
| 模块名称 | 测试用例 | 预期结果 | 实际结果 | 是否通过 |
| 修改密码模块 | 原密码:666 新密码:123 确认密码:123 | 弹出错误提示,提示原密码错误 | 弹出错误提示,提示原密码错误 | 通过 |
| 修改密码模块 | 原密码:admin 新密码:123 确认密码:333 | 弹出错误提示,提示确认密码不一致 | 弹出错误提示,提示确认密码不一致 | 通过 |
| 修改密码模块 | 原密码:admin 新密码:123 确认密码:123 | 密码修改成功 | 密码修改成功 | 通过 |
通过对功能的测试,酒店预约管理系统的基本功能都是可行的,不管是系统里面的功能,还是界面的设计都是可值得推广宣传的。
结 论
此时项目已经完成,即使实施的时间不是很长,但是这个过程中需要准备很长的一段时间去对系统设计开发所实际到的技术进行学习。在学习的过程中,我逐渐认识得到了我自身存在的一些不足。对于一些控制是必要的应用技能,能够理解,整个过程中仅仅是一个掌握了常用的性能和控制方法,我觉得挺容易的。从该系统中,系统的分析和设计的调查数据,并且已经经历了几个月,并努力几个月,该系统已经完成。很显然,该系统仍有很多不成熟,在系统设计过程中有许多技术缺陷存在。在设计的过程中也涉及到了很多自己无法解决的问题,主要通过找专业的网站和论坛来解决这些问题,对于圆满完成我的毕业设计,他们也贡献了很大一部分力量。系统的开发环境和配置都是可以自行安装的,系统使用Thinkphp开发工具,使用比较成熟的Mysql数据库进行对系统前台及后台的数据交互,根据技术语言对数据库,结合需求进行修改维护,可以使得系统运行更具有稳定性和安全性,从而完成实现系统的开发。
在以后的学习及工作中,我将继续努力学习计算机方面的技术,以期在平台开发中可以更好更快的实现需求功能。
致 谢
酒店预约管理系统的完成,如何实现的更好,其中付出的努力是很大的,这段时光将会终身难忘。
首先要感谢我的指导老师,谢谢您在设计和论文中给我的指导。在您的细心指导下我才能快速的掌握系统的相关功能,在您的大力帮助下我才能将课本上的知识与自己的项目结合,真正的做到学以致用。感谢您经常牺牲自己的休息时间,利用其丰富的教学和项目经验对我进行指导。
感谢所有教过我的老师,为我倾注了大量的心血,正是你们的谆谆教诲、严谨教学才使我能顺利的完成学业,再此向你们表示深深的感谢。
感谢我的同学们,对我的大力支持及帮助,正是你们不断的帮助、鼓励,给我带来了极大的动力,最终系统可以顺利的运行。我们在交流、谈论的这段时间,将是我未来的财富,我要深深地感谢你们!
毕业在即,在今后的工作和生活中,我会铭记师长们的教诲、同学们的帮助,继续不懈努力和追求,来报答所有支持和帮助过我的人!
参考文献
[1]Shadmehri Mehran,Abedanzadeh Amir,Shafii Mohammad Behshad,Ghasempour Roghayeh,Mohsenzadeh Milad. Development and economic evaluation of a CPVT system with PHP cooling; An experimental study[J]. Energy Conversion and Management,2023,283.
[2]陈赵云.基于PHP+MySQL的视频上传与删除功能实现[J].现代信息科技,2023,7(05):21-23+29.DOI:10.19850/j.cnki.2096-4706.2023.05.005.
[3]Rio Américo,Brito e Abreu Fernando. PHP code smells in web apps: Evolution, survival and anomalies[J]. The Journal of Systems & Software,2023,200.
[4]张春燕,覃琼花,农铮,谢鸿稳.基于PHP的创新创业教学网络平台设计与应用[J].现代信息科技,2023,7(04):105-108.DOI:10.19850/j.cnki.2096-4706.2023.04.027.
[5]朱真真,王柯梦. php在动态网站开发中的优势与具体应用分析[C]//广东省教师继续教育学会.广东省教师继续教育学会第六届教学研讨会论文集(一).广东省教师继续教育学会第六届教学研讨会论文集(一),2023:2036-2038.DOI:10.26914/c.cnkihy.2023.000662.
[6]蒋先梅.基于PHP的学生信息管理系统的设计与实现[J].无线互联科技,2023,20(01):45-47.
[7]郭志英.基于Web的酒店管理系统的设计与实现[J].长江信息通信,2022,35(12):120-123.
[8]Husák Robert,Míšek Jakub,Zavoral Filip,Kofroň Jan. PeachPie: Mature PHP to CLI compiler[J]. Journal of Computer Languages,2022,73.
[9]Tang Li. CRM Hotel Management System and Intelligent Information Push Based on Bp Neural Network[J]. Advances in Computer, Signals and Systems,2022,6(4).
[10]钱春霞.连锁酒店管理系统的设计研究[J].电子技术与软件工程,2022(11):216-219.
[11]于盛洋.智慧酒店管理系统设计与实现——基于RFID模块[J].产业科技创新,2022,4(02):37-40.
[12]董华军.酒店管理系统的设计与实现[J].工业控制计算机,2022,35(01):140-141.
[13]岳颖颖.基于Web酒店管理系统设计分析[J].电子技术与软件工程,2021(17):196-197.
[14]Priyadharshini.S,Catherine Joy.R. Design and Implementation of an Automated Hotel Management System[J]. International Journal of Engineering and Advanced Technology (IJEAT),2021,10(5).
[15]刘映群,刘俊钦,梁健煊.智慧酒店管理系统设计与实现[J].现代信息科技,2021,5(09):87-92.DOI:10.19850/j.cnki.2096-4706.2021.09.023.
[16]Wang Qian,Zhang Bo,Sanjuán Martínez Oscar,Fenza Giuseppe,Gonzalez Crespo Ruben. Research and implementation of the customer-oriented modern hotel management system using fuzzy analytic hiererchical process (FAHP)[J]. Journal of Intelligent & Fuzzy Systems,2021,40(4).
[17]邹林辰.基于SSM的酒店管理系统开发[J].科学技术创新,2020(32):55-56.
[18]吕英华.Vue.js酒店管理系统的设计与应用[J].电子技术,2020,49(09):102-103.
[19]廖姝姝.浅谈互联网环境下酒店管理系统的新特点与发展趋势[J].中国管理信息化,2020,23(12):77-78.
[20]Liu Yu. Eco - low carbon hotel management system based on green computing model[J]. BASIC & CLINICAL PHARMACOLOGY & TOXICOLOGY,2020,126.
本文围绕PHP酒店预约管理系统展开,介绍了系统开发背景、相关技术,包括PHP、JavaScript、Mysql等。对系统进行了需求分析、可行性分析、设计与详细设计,涵盖体系结构、数据库等。最后进行系统测试,确保系统功能可行、稳定安全。

被折叠的 条评论
为什么被折叠?



