摘 要
信息化社会内需要与之针对性的信息获取途径,但是途径的扩展基本上为人们所努力的方向,由于站在的角度存在偏差,人们经常能够获得不同类型信息,这也是技术最为难以攻克的课题。针对学生就业管理等问题,对学生就业管理进行研究分析,然后开发设计出大学生就业推荐系统以解决问题。
大学生就业推荐系统主要功能模块包括系统首页、网站管理(轮播图、就业公告)人员管理(管理员、学生用户、企业用户)内容管理(就业资讯、资讯分类)模块管理(职位分类、招聘职位、简历投递、面试邀请)个人管理管理,采取面对对象的开发模式进行软件的开发和硬体的架设,能很好的满足实际使用的需求,完善了对应的软体架设以及程序编码的工作,采取Mysql作为后台数据的主要存储单元,采用springboot框架、Java技术、Ajax技术进行业务系统的编码及其开发,实现了本系统的全部功能。本次报告,首先分析了研究的背景、作用、意义,为研究工作的合理性打下了基础。针对大学生就业推荐系统的各项需求以及技术问题进行分析,证明了系统的必要性和技术可行性,然后对设计系统需要使用的技术软件以及设计思想做了基本的介绍,最后来实现大学生就业推荐系统和部署运行使用它。
关键词:学生就业管理;springboot框架;Mysql数据库
Design and implementation of spring boot college student employment recommendation system
Abstract
In the information society, there is a need for targeted access to information, but the expansion of the access is basically the direction of people's efforts. Because of the deviation in the perspective, people can often obtain different types of information, which is also the most difficult subject for technology to overcome. Aiming at the problems of student employment management, this paper studies and analyzes the student employment management, and then develops and designs a college student employment recommendation system to solve the problems.
The main functional modules of the college student employment recommendation system include the system home page, website management (rotation chart, employment announcement), personnel management (administrator, student user, enterprise user), content management (employment information, information classification), module management (job classification, recruitment position, resume delivery, interview invitation), personal management, and the object-oriented development model is adopted for software development and hardware installation, It can well meet the needs of actual use, improve the corresponding software installation and program coding work, take MySQL as the main storage unit of background data, and use the spring boot framework, Java technology, Ajax technology to code and develop the business system, and realize all the functions of the system. This report first analyzes the background, role and significance of the research, laying a foundation for the rationality of the research work. Based on the analysis of various requirements and technical problems of the college student employment recommendation system, the necessity and technical feasibility of the system are proved, and then the technical software and design ideas needed to design the system are introduced. Finally, the college student employment recommendation system is implemented and deployed to use it.
Key words: student employment management; Spring boot framework; MySQL database
目 录
随着计算机、网络和通信技术的飞速发展,互联网的快速发展已成为当今社会不可阻挡的潮流。信息水平是一个国家和社会现代化程度的重要标志。信息的处理和利用是一个国家的经济发展水平和科学技术水平测量的标准。人才是所有行业发展的关键。大学生是人才的代名词。如何招聘有真正才能的学生是所有企业都关注的问题。但他们找不到理想的工作,不能发挥自己的才智,让大学生担心。他们进入社会的第一类是工作,当涉及到找工作时,大多数人可能首先想到的是招聘会。虽然招聘会是交流人才的主要方式之一,但它远远不能满足现实的需要。
在有限的时间里,招聘会是与大学生面对面的交流。虽然一些招聘会提前发布或者其他的宣传方式,但是仍然有很多企业和大学生擦肩而过,一些人不得不放弃一些重要的事情参加招聘会。由于参加招聘会的人数众多,整个流程的流动性,管理难度很大。将会有大量的招聘会和有限的展位。企业要一个接一个地与学生见面是非常困难的,所以不能更好地分配人力资源。在现实社会中,迫切需要第三方来弥补企业与人才的差距,弥补招聘中各种不足之处。在这种条件下,将网络优势与招聘紧密地结合起来,开发了招聘会。
随着网络信息化时代的到来,在线招聘作为一种新的招聘形式迅速崛起,并很快得到了多数招聘会者和用人单位的支持和应用。在线招聘的优势,首先体现在为招聘会者和用人单位之间提供一个相互交流沟通的平台。在线招聘的兴起也是的招聘会和招聘的观念和方式较之以往发生了很大的变化。伴随着互联网的快速发展,中国网民数量的迅速增长,在线招聘的用户数量也随之增加。
前程无忧、中华英才和智联招聘被称为中国网络招聘三巨头。数据显示,这三大招聘网站的市场营收份额达61.6%。其他行业型、搜索型、社交型等网站数量及营收规模虽有所增加,但是短期内很难撼动这三巨头的网络招聘地位。
招聘企业的信息发布、品牌宣传、简历筛选、人员初试安排等需求,决定了细分招聘网站将是未来的发展趋势。
相比国外就业系统,其专业化营销和电话销售、个性简历的模板化处理、行业细分、地址簿的充分利用,本土化服务等等差距很大,国外通过这种专业化、本土化服务能够提供客户满意的增值服务,像Monster,其个人会员的收入甚至占到了总收入的三分之一,而国内的在线招聘公司完全可以从现有规模中挖掘潜力。
未来可以预见的是,在线招聘将会进一步细分,超越同质化竞争的一个有力武器就是找到细分市场做专业化服务。地方和行业这样细分的在线招聘公司将会有更大的机会,它们能够更加贴近用户,提供本土化服务。
超文本传输协议(HTTP)作为协作式与分布式的通信协议,其以万维网交换信息作为前提条件。HTTP为IEIF的国际化标准指标,在制定相关标准与实现内,W3C积极参与其中,同时发挥着不可替代的作用。其能够借助超文本标记语言,将文档在服务器与浏览器之间相互传输。HTML作为构架文档的标记语言,这些文档内将包括有关信息的链接,用户仅需要点击其中一个链接就能够访问多媒体对象与图像,同时获得该链接项所具有的附加信息[1][2]。
Java是美国sun公司所推出的一款程序设计语言,其能够在多个平台内应用,具有良好兼容性,进而其凭借自身优势在数据中心、个人PC与科技超级计算机等平台内广泛应用,具有目前最为庞大的开发者专业社群[3]。
JDK为美国sun公司为java开发员所推出的一款全新产品,要是没有JDK的情况下,所安装的java程序也就无法运行[4]。
HTML是一种制作网页的常用语言,它一般是用于制作静态页面。它的命令是可以体现文字信息、链接信息、图形信息和表格信息等等。现在它被大众普遍接受广泛应用在网络上[5]。
-
- spring boot框架介绍
Spring框架是Java平台上的一种开源应用框架,提供具有控制反转特性的容器。尽管Spring框架自身对编程模型没有限制,但其在Java应用中的频繁使用让它备受青睐,以至于后来让它作为EJB(EnterpriseJavaBeans)模型的补充,甚至是替补。Spring框架为开发提供了一系列的解决方案,比如利用控制反转的核心特性,并通过依赖注入实现控制反转来实现管理对象生命周期容器化,利用面向切面编程进行声明式的事务管理,整合多种持久化技术管理数据访问,提供大量优秀的Web框架方便开发等等。Spring框架具有控制反转(IOC)特性,IOC旨在方便项目维护和测试,它提供了一种通过Java的反射机制对Java对象进行统一的配置和管理的方法。Spring框架利用容器管理对象的生命周期,容器可以通过扫描XML文件或类上特定Java注解来配置对象,开发者可以通过依赖查找或依赖注入来获得对象。Spring框架具有面向切面编程(AOP)框架,SpringAOP框架基于代理模式,同时运行时可配置;AOP框架主要针对模块之间的交叉关注点进行模块化。Spring框架的AOP框架仅提供基本的AOP特性,虽无法与AspectJ框架相比,但通过与AspectJ的集成,也可以满足基本需求。Spring框架下的事务管理、远程访问等功能均可以通过使用SpringAOP技术实现。Spring的事务管理框架为Java平台带来了一种抽象机制,使本地和全局事务以及嵌套事务能够与保存点一起工作,并且几乎可以在Java平台的任何环境中工作。Spring集成多种事务模板,系统可以通过事务模板、XML或Java注解进行事务配置,并且事务框架集成了消息传递和缓存等功能。Spring的数据访问框架解决了开发人员在应用程序中使用数据库时遇到的常见困难。它不仅对Java:JDBC、iBATS/MyBATIs、Hibernate、Java数据对象(JDO)、ApacheOJB和ApacheCayne等所有流行的数据访问框架中提供支持,同时还可以与Spring的事务管理一起使用,为数据访问提供了灵活的抽象。Spring框架最初是没有打算构建一个自己的WebMVC框架,其开发人员在开发过程中认为现有的StrutsWeb框架的呈现层和请求处理层之间以及请求处理层和模型之间的分离不够,于是创建了SpringMVC。
现在Mysql数据库在网络上它可以支撑许多个用户,而且也可以适应客服机和服务器的部署或者配置等,我们这里的服务器和客户机其实就是一种软件上的概念,并且我们使用的计算机硬件也与他们不存在一一对应的关系[3]。
Mysql是一款非常流行的关系型数据库管理系统,它的出现一直都是佼佼者,它不仅功能非常强大,而且使用起来非常方便,并且Mysql的跨平台能力也很好,软件开发人员非常喜欢它的这些强大的优点。不同于其他关系型数据库,对于数据库的管理它有着自己的一套方案,通过对用户设定相应的权限和角色来达到对数据库的管理。由此可见,Mysql是一个能够适用于吞吐量高,可靠性高,效率高的一款数据库管理软件[4]。
优点一:Mysql中对于不同身份的用户都设定其不同的权限来完成不同的业务逻辑,这使得Mysql在安全和完整性远远超出了其他关系型数据库。
优点二:对于那些动画、图形和声音的数据类型Mysql也可以支持,这说明多数据类型Mysql也是可以支持的。
优点三:Mysql还可以做到多个平台的开发,软件开发的多种编程语言都可以实现对Mysql数据库的操作[5] [6]。
技术性方面,采用当前主流的springboot框架进行系统主体框架的搭建,前台使用jquery,ajax,实现前台页面的设计与美观调整,以上技术,均由本人经过系统学习,并且都是在课程设计中实践过的,可以使得开发更加便捷和系统。从技术角度看,这个系统是完全可以实现的。
实用性方面,本次设计的主要任务是在大学生就业推荐系统内职位搜索、简历投递、留言发表、评论职位、收藏职位等,符合当前潮流的发展。从用户角度出发,同时也考虑系统运营成本和人力资源,采用网络上的便捷方式,实现线上业务,使得业务流程更系统,也更方便用户的体验,比较实用。
经济性方面,由于本课题中设计的大学生就业推荐系统的主要目的是为了能够更加方便及快捷的进行信息的查询管理及检索服务,也就是能够可以直接投入使用的信息化软件。系统的主要成本主要是集中在对使用数据后期继续维护及其管理更新这个操作上。但是一旦系统投入到实际的运行及使用之后就能够很好的提高信息查询检索的效率,同时也需要有效的保证查询者的信息方面的安全性,同时这个大学生就业推荐系统所带来的实际应用方面的价值是远远的超过了实际系统进行开发与维护方面的成本,因此,从经济上来说开发这个软件是可行的。
大学生就业推荐系统的功能主要分为前台用户根据自己的需求进行注册登录,浏览职位信息并对选中的职位进行申请操作。管理员主要对注册用户,新闻数据,职位详细信息,企业详细信息进行处理。
系统用例图如下所示。
图3-1 系统用例图
前台用户可分为未注册用户需求和已注册用户需求。
未注册用户的功能如下:
注册账号:用户填写个人信息,并验证手机号码。
浏览新闻数据:用户可以浏览主页面的新闻数据来了解系统的最新新闻数据。
浏览职位:用户可以根据职位类型浏览职位的信息,并选中某个职位查看详情,例如:企业编号、企业名称、企业类型、地址、联系电话、职位名称、招聘人数等。
浏览企业:用户可以根据企业类型浏览企业的信息,并选中某个企业查看详情,例如:企业编号、企业名称、企业类型、图片、视频介绍、联系电话、地址、电子邮箱、联系人等。
浏览评论信息:选中某个职位可查看其用户的评论。
已注册用户的功能如下:
登录:根据账号密码进行登录操作。
维护个人信息:用户因个人信息的变更可以随时修改自己注册信息。
浏览新闻数据:用户想要了解相关的最新新闻,例如一些公告资讯信息,可以浏览主页面的新闻数据信息。
浏览评论信息:选中某间职位可查看其用户的评论。
简历投递:用户根据自己的需求选中某个职位进行申请操作。
查看历史投递简历:用户可以查看自己以往申请的信息。
查看面试邀请:用户查看自己是否有被企业邀请去面试。
评论:用户可以根据自己的观点看法对相关职位进行评论。
后台管理员可分为普通管理员和超级管理员。
普通管理员功能如下。
修改密码:管理员可以随时修改自己进入系统的登录密码,以保证系统的安全性。
对申请单信息进行处理:查看申请单信息,办理申请单审核等。
超级管理员功能如下:
修改密码:管理员可以随时修改自己进入系统的登录密码,以保证系统的安全性。
对求职申请单信息进行处理:办理申请单审核等。
管理普通管理员:对普通管理员进行管理。调动相关工作人员时可以添加或删除普通管理员。
职位信息管理:对职位信息进行维护,添加、删除、修改信息。
企业信息管理:对企业信息进行维护,添加、删除、修改信息。
新闻数据信息管理:发布、删除相关的新闻数据信息。
评论信息管理:可以查看用户的评论,及时了解用户发起的建议。
首先主要考虑的是系统功能软件,在具体设计的环节上,是不是能够较好的满足各类用户的基本功能需求,如果不能较好的满足用户需求,那么这个系统的存在是没有价值的。软件系统的非功能性求分析,从7个方面展开,一个是性能分析,针对系统;一个是安全分析,针对系统,一个是完整度分析,针对系统,一个是可维护分析,针对系统,一个是可扩展性分析,针对系统,一个是适应业务的性能分析。面对大学生就业推荐系统存在的性能、安全、扩展、完整度等7个方面性能综合比对分析后发现,需要相应的非功能性需求分析。
安全性对每一个系统来说都是非常重要的。安全性很好的系统可以保护企业的信息和用户的信息不被窃取。提高系统的安全性不仅是对用户的负责,更是对企业的负责。尤其针对于大学生就业推荐系统来说,必须要有很好的安全性来保障整个系统。
系统具有对使用者有权限控制,针对角色的不通限制使用者的权限,以此来确保系统的安全性。
数据库中的数据是从外界输入的,当数据的输入时,由于种种原因,输入的数据会无效,或者是脏数据。因此,怎样保证输入的数据符合规定,成为了数据库系统,尤其是多用户的关系数据库系统首要关注的问题。
因此,在写入数据库时,要保证数据完整性、正确性和一致性。
对系统的数据流进行分析,系统的使用者分为二类,一般用户,管理员。系统主要对界面信息传送,登录信息的验证,注册信息的接收,用户各种操作的响应做处理。
系统顶层数据流图如下图所示。
图3-2 顶层数据流图
要判断用户是是什么身份,是根据登录的数据来判断后,跳转到对应的功能界面。在系统的内部用户就可以对数据进行操作,数据库中心就可以接收到系统传输的有效数据流来对数据sql语句进行对应操作。
系统底层数据流图如下图所示。
图3-3 底层数据流图
系统可以分为前台和后台两部分,每一种操作后系统都返回操作结果。前台和后台的数据连接主要通过数据库,既分别对数据库做不同的操作。
本大学生就业推荐系统的架构设计主要分为可以3层,主要有Web层,业务层,Model层。其中web层还包括View层和Controller层,Model层包括元数据扩展层和数据访问层。
系统架构如下图所示。
图4-1 系统架构
大学生就业推荐系统总体分为前台用户模块和后台、企业及管理员模块。
两个模块表现上是分别独立存在,但是访问的数据库是一样的。每一个模块的功能都是根据先前完成的需求分析,并查阅相关资料后整理制作的。
综上所述,系统功能结构图如下图所示。
图4-2 系统功能结构图
登录模块:登录模块是进入系统的入口,所有用户必须登录后才能访问系统。登录需要输入用户名和密码,如果多次尝试登录需要输入验证码。登录时需要选择用户的角色,是一般用户还是管理员登录等。登录成功后,会通过数据库获取用户的权限,并跳转至用户的主页面。
评价模块:评价模块促进用户对职位进行点评,查看某个职位已存在的评价,发表评价可以达到真实描述职位的效果。
面试邀请数据模块:可分为面试邀请数据浏览、面试邀请数据检索、面试邀请数据维护三个模块,企业对面试邀请数据有维护的权限,发布新的面试邀请数据、更新已有的面试邀请数据等。
职位管理模块:职位管理分为职位添加、修改和简历投递。职位信息由管理员进行修改、添加、删除操作;简历投递由普通用户来执行。
企业管理模块:企业管理分为企业添加、修改和企业检索。企业信息由管理员进行修改、添加、删除操作;企业检索由普通用户来执行。
从前面可以分析到数据库中最重要的是职位信息,用户信息,面试邀请信息,同时存在企业信息。分析可以得到如下数据描述:
平台用户:用于记录用户的各种信息,包括用户名、密码、姓名、性别、地址、邮箱、联系方式等数据项。
管理员:记录管理员的登录信息。包括用户名,密码,权限等数据项。
职位:存放给职位的内容,包括职位名称、缺口人数、企业号、企业名称、行业、规模、企业地址、联系电话、联系邮箱、企业简介等数据项。
企业:存储各种企业信息。包括企业号、密码、企业名称、行业、规模、企业地址、企业照片、联系电话、联系邮箱、是否审核等数据项。
简历投递:存储用户的简历投递信息。包括简历投递的简历编号、用户名、姓名、性别、出生年月、邮箱、电话、身份证、地址、头像、附件、职位名称、企业号、企业名称等数据项。
新闻数据:存储平台内的新闻数据内容。包括标题,新闻数据内容,时间等数据项。
根据前面的数据流程图,结合系统的功能模块设计,设计出符合系统的各信息实体。
系统ER图如下图所示。
图4-3 系统ER图
大学生就业推荐系统所拥有的数据表有以下:用户信息表,职位信息表,简历投递表,企业信息表。
由于数据表较多,只展示系统主要数据表,如下表所示。
表access_token (登陆访问时长)
| 编号 | 名称 | 数据类型 | 长度 | 小数位 | 允许空值 | 主键 | 默认值 | 说明 |
| 1 | token_id | int | 10 | 0 | N | Y | 临时访问牌ID | |
| 2 | token | varchar | 64 | 0 | Y | N | 临时访问牌 | |
| 3 | info | text | 65535 | 0 | Y | N | ||
| 4 | maxage | int | 10 | 0 | N | N | 2 | 最大寿命:默认2小时 |
| 5 | create_time | timestamp | 19 | 0 | N | N | CURRENT_TIMESTAMP | 创建时间: |
| 6 | update_time | timestamp | 19 | 0 | N | N | CURRENT_TIMESTAMP | 更新时间: |
| 7 | user_id | int | 10 | 0 | N | N | 0 | 用户编号: |
| 编号 | 名称 | 数据类型 | 长度 | 小数位 | 允许空值 | 主键 | 默认值 | 说明 |
| 1 | article_id | mediumint | 8 | 0 | N | Y | 文章id:[0,8388607] | |
| 2 | title | varchar | 125 | 0 | N | Y | 标题:[0,125]用于文章和html的title标签中 | |
| 3 | type | varchar | 64 | 0 | N | N | 0 | 文章分类:[0,1000]用来搜索指定类型的文章 |
| 4 | hits | int | 10 | 0 | N | N | 0 | 点击数:[0,1000000000]访问这篇文章的人次 |
| 5 | praise_len | int | 10 | 0 | N | N | 0 | 点赞数 |
| 6 | create_time | timestamp | 19 | 0 | N | N | CURRENT_TIMESTAMP | 创建时间: |
| 7 | update_time | timestamp | 19 | 0 | N | N | CURRENT_TIMESTAMP | 更新时间: |
| 8 | source | varchar | 255 | 0 | Y | N | 来源:[0,255]文章的出处 | |
| 9 | url | varchar | 255 | 0 | Y | N | 来源地址:[0,255]用于跳转到发布该文章的网站 | |
| 10 | tag | varchar | 255 | 0 | Y | N | 标签:[0,255]用于标注文章所属相关内容,多个标签用空格隔开 | |
| 11 | content | longtext | 2147483647 | 0 | Y | N | 正文:文章的主体内容 | |
| 12 | img | varchar | 255 | 0 | Y | N | 封面图 | |
| 13 | description | text | 65535 | 0 | Y | N | 文章描述 |
| 编号 | 名称 | 数据类型 | 长度 | 小数位 | 允许空值 | 主键 | 默认值 | 说明 |
| 1 | type_id | smallint | 5 | 0 | N | Y | 分类ID:[0,10000] | |
| 2 | display | smallint | 5 | 0 | N | N | 100 | 显示顺序:[0,1000]决定分类显示的先后顺序 |
| 3 | name | varchar | 16 | 0 | N | N | 分类名称:[2,16] | |
| 4 | father_id | smallint | 5 | 0 | N | N | 0 | 上级分类ID:[0,32767] |
| 5 | description | varchar | 255 | 0 | Y | N | 描述:[0,255]描述该分类的作用 | |
| 6 | icon | text | 65535 | 0 | Y | N | 分类图标: | |
| 7 | url | varchar | 255 | 0 | Y | N | 外链地址:[0,255]如果该分类是跳转到其他网站的情况下,就在该URL上设置 | |
| 8 | create_time | timestamp | 19 | 0 | N | N | CURRENT_TIMESTAMP | 创建时间: |
| 9 | update_time | timestamp | 19 | 0 | N | N | CURRENT_TIMESTAMP | 更新时间: |
| 编号 | 名称 | 数据类型 | 长度 | 小数位 | 允许空值 | 主键 | 默认值 | 说明 |
| 1 | auth_id | int | 10 | 0 | N | Y | 授权ID: | |
| 2 | user_group | varchar | 64 | 0 | Y | N | 用户组: | |
| 3 | mod_name | varchar | 64 | 0 | Y | N | 模块名: | |
| 4 | table_name | varchar | 64 | 0 | Y | N | 表名: | |
| 5 | page_title | varchar | 255 | 0 | Y | N | 页面标题: | |
| 6 | path | varchar | 255 | 0 | Y | N | 路由路径: | |
| 7 | position | varchar | 32 | 0 | Y | N | 位置: | |
| 8 | mode | varchar | 32 | 0 | N | N | _blank | 跳转方式: |
| 9 | add | tinyint | 3 | 0 | N | N | 1 | 是否可增加: |
| 10 | del | tinyint | 3 | 0 | N | N | 1 | 是否可删除: |
| 11 | set | tinyint | 3 | 0 | N | N | 1 | 是否可修改: |
| 12 | get | tinyint | 3 | 0 | N | N | 1 | 是否可查看: |
| 13 | field_add | text | 65535 | 0 | Y | N | 添加字段: | |
| 14 | field_set | text | 65535 | 0 | Y | N | 修改字段: | |
| 15 | field_get | text | 65535 | 0 | Y | N | 查询字段: | |
| 16 | table_nav_name | varchar | 500 | 0 | Y | N | 跨表导航名称: | |
| 17 | table_nav | varchar | 500 | 0 | Y | N | 跨表导航: | |
| 18 | option | text | 65535 | 0 | Y | N | 配置: | |
| 19 | create_time | timestamp | 19 | 0 | N | N | CURRENT_TIMESTAMP | 创建时间: |
| 20 | update_time | timestamp | 19 | 0 | N | N | CURRENT_TIMESTAMP | 更新时间: |
| 编号 | 名称 | 数据类型 | 长度 | 小数位 | 允许空值 | 主键 | 默认值 | 说明 |
| 1 | collect_id | int | 10 | 0 | N | Y | 收藏ID: | |
| 2 | user_id | int | 10 | 0 | N | N | 0 | 收藏人ID: |
| 3 | source_table | varchar | 255 | 0 | Y | N | 来源表: | |
| 4 | source_field | varchar | 255 | 0 | Y | N | 来源字段: | |
| 5 | source_id | int | 10 | 0 | N | N | 0 | 来源ID: |
| 6 | title | varchar | 255 | 0 | Y | N | 标题: | |
| 7 | img | varchar | 255 | 0 | Y | N | 封面: | |
| 8 | create_time | timestamp | 19 | 0 | N | N | CURRENT_TIMESTAMP | 创建时间: |
| 9 | update_time | timestamp | 19 | 0 | N | N | CURRENT_TIMESTAMP | 更新时间: |
| 编号 | 名称 | 数据类型 | 长度 | 小数位 | 允许空值 | 主键 | 默认值 | 说明 |
| 1 | comment_id | int | 10 | 0 | N | Y | 评论ID: | |
| 2 | user_id | int | 10 | 0 | N | N | 0 | 评论人ID: |
| 3 | reply_to_id | int | 10 | 0 | N | N | 0 | 回复评论ID:空为0 |
| 4 | content | longtext | 2147483647 | 0 | Y | N | 内容: | |
| 5 | nickname | varchar | 255 | 0 | Y | N | 昵称: | |
| 6 | avatar | varchar | 255 | 0 | Y | N | 头像地址:[0,255] | |
| 7 | create_time | timestamp | 19 | 0 | N | N | CURRENT_TIMESTAMP | 创建时间: |
| 8 | update_time | timestamp | 19 | 0 | N | N | CURRENT_TIMESTAMP | 更新时间: |
| 9 | source_table | varchar | 255 | 0 | Y | N | 来源表: | |
| 10 | source_field | varchar | 255 | 0 | Y | N | 来源字段: | |
| 11 | source_id | int | 10 | 0 | N | N | 0 | 来源ID: |
| 编号 | 名称 | 数据类型 | 长度 | 小数位 | 允许空值 | 主键 | 默认值 | 说明 |
| 1 | enterprise_users_id | int | 10 | 0 | N | Y | 企业用户ID | |
| 2 | enterprise_name | varchar | 64 | 0 | Y | N | 企业名称 | |
| 3 | person_in_charge | varchar | 64 | 0 | Y | N | 负责人 | |
| 4 | examine_state | varchar | 16 | 0 | N | N | 未审核 | 审核状态 |
| 5 | recommend | int | 10 | 0 | N | N | 0 | 智能推荐 |
| 6 | user_id | int | 10 | 0 | N | N | 0 | 用户ID |
| 7 | create_time | datetime | 19 | 0 | N | N | CURRENT_TIMESTAMP | 创建时间 |
| 8 | update_time | timestamp | 19 | 0 | N | N | CURRENT_TIMESTAMP | 更新时间 |
| 编号 | 名称 | 数据类型 | 长度 | 小数位 | 允许空值 | 主键 | 默认值 | 说明 |
| 1 | hits_id | int | 10 | 0 | N | Y | 点赞ID: | |
| 2 | user_id | int | 10 | 0 | N | N | 0 | 点赞人: |
| 3 | create_time | timestamp | 19 | 0 | N | N | CURRENT_TIMESTAMP | 创建时间: |
| 4 | update_time | timestamp | 19 | 0 | N | N | CURRENT_TIMESTAMP | 更新时间: |
| 5 | source_table | varchar | 255 | 0 | Y | N | 来源表: | |
| 6 | source_field | varchar | 255 | 0 | Y | N | 来源字段: | |
| 7 | source_id | int | 10 | 0 | N | N | 0 | 来源ID: |
| 编号 | 名称 | 数据类型 | 长度 | 小数位 | 允许空值 | 主键 | 默认值 | 说明 |
| 1 | interview_invitation_id | int | 10 | 0 | N | Y | 面试邀请ID | |
| 2 | enterprise | int | 10 | 0 | Y | N | 0 | 企业 |
| 3 | enterprise_name | varchar | 64 | 0 | Y | N | 企业名称 | |
| 4 | student | int | 10 | 0 | Y | N | 0 | 学生 |
| 5 | student_name | varchar | 64 | 0 | Y | N | 学生姓名 | |
| 6 | position_name | varchar | 64 | 0 | Y | N | 职位名称 | |
| 7 | interview_time | datetime | 19 | 0 | Y | N | 面试时间 | |
| 8 | place_of_interview | varchar | 64 | 0 | Y | N | 面试地点 | |
| 9 | carrying_information | text | 65535 | 0 | Y | N | 携带资料 | |
| 10 | examine_state | varchar | 16 | 0 | N | N | 未审核 | 审核状态 |
| 11 | examine_reply | varchar | 16 | 0 | Y | N | 审核回复 | |
| 12 | recommend | int | 10 | 0 | N | N | 0 | 智能推荐 |
| 13 | create_time | datetime | 19 | 0 | N | N | CURRENT_TIMESTAMP | 创建时间 |
| 14 | update_time | timestamp | 19 | 0 | N | N | CURRENT_TIMESTAMP | 更新时间 |
| 编号 | 名称 | 数据类型 | 长度 | 小数位 | 允许空值 | 主键 | 默认值 | 说明 |
| 1 | notice_id | mediumint | 8 | 0 | N | Y | 公告id: | |
| 2 | title | varchar | 125 | 0 | N | N | 标题: | |
| 3 | content | longtext | 2147483647 | 0 | Y | N | 正文: | |
| 4 | create_time | timestamp | 19 | 0 | N | N | CURRENT_TIMESTAMP | 创建时间: |
| 5 | update_time | timestamp | 19 | 0 | N | N | CURRENT_TIMESTAMP | 更新时间: |
表position_classification (职位分类)
| 编号 | 名称 | 数据类型 | 长度 | 小数位 | 允许空值 | 主键 | 默认值 | 说明 |
| 1 | position_classification_id | int | 10 | 0 | N | Y | 职位分类ID | |
| 2 | position_category | varchar | 64 | 0 | Y | N | 职位类别 | |
| 3 | recommend | int | 10 | 0 | N | N | 0 | 智能推荐 |
| 4 | create_time | datetime | 19 | 0 | N | N | CURRENT_TIMESTAMP | 创建时间 |
| 5 | update_time | timestamp | 19 | 0 | N | N | CURRENT_TIMESTAMP | 更新时间 |
| 编号 | 名称 | 数据类型 | 长度 | 小数位 | 允许空值 | 主键 | 默认值 | 说明 |
| 1 | praise_id | int | 10 | 0 | N | Y | 点赞ID: | |
| 2 | user_id | int | 10 | 0 | N | N | 0 | 点赞人: |
| 3 | create_time | timestamp | 19 | 0 | N | N | CURRENT_TIMESTAMP | 创建时间: |
| 4 | update_time | timestamp | 19 | 0 | N | N | CURRENT_TIMESTAMP | 更新时间: |
| 5 | source_table | varchar | 255 | 0 | Y | N | 来源表: | |
| 6 | source_field | varchar | 255 | 0 | Y | N | 来源字段: | |
| 7 | source_id | int | 10 | 0 | N | N | 0 | 来源ID: |
| 8 | status | bit | 1 | 0 | N | N | 1 | 点赞状态:1为点赞,0已取消 |
| 编号 | 名称 | 数据类型 | 长度 | 小数位 | 允许空值 | 主键 | 默认值 | 说明 |
| 1 | recruitment_position_id | int | 10 | 0 | N | Y | 招聘职位ID | |
| 2 | enterprise | int | 10 | 0 | Y | N | 0 | 企业 |
| 3 | enterprise_name | varchar | 64 | 0 | Y | N | 企业名称 | |
| 4 | position_name | varchar | 64 | 0 | Y | N | 职位名称 | |
| 5 | position_category | varchar | 64 | 0 | Y | N | 职位类别 | |
| 6 | number_of_recruiters | int | 10 | 0 | Y | N | 0 | 招聘人数 |
| 7 | work_address | varchar | 64 | 0 | Y | N | 工作地址 | |
| 8 | job_content | text | 65535 | 0 | Y | N | 工作内容 | |
| 9 | educational_requirements | text | 65535 | 0 | Y | N | 学历要求 | |
| 10 | salary | text | 65535 | 0 | Y | N | 薪资待遇 | |
| 11 | publicity_map | varchar | 255 | 0 | Y | N | 宣传图 | |
| 12 | details | longtext | 2147483647 | 0 | Y | N | 详情 | |
| 13 | hits | int | 10 | 0 | N | N | 0 | 点击数 |
| 14 | praise_len | int | 10 | 0 | N | N | 0 | 点赞数 |
| 15 | examine_state | varchar | 16 | 0 | N | N | 未审核 | 审核状态 |
| 16 | examine_reply | varchar | 16 | 0 | Y | N | 审核回复 | |
| 17 | recommend | int | 10 | 0 | N | N | 0 | 智能推荐 |
| 18 | create_time | datetime | 19 | 0 | N | N | CURRENT_TIMESTAMP | 创建时间 |
| 19 | update_time | timestamp | 19 | 0 | N | N | CURRENT_TIMESTAMP | 更新时间 |
| 编号 | 名称 | 数据类型 | 长度 | 小数位 | 允许空值 | 主键 | 默认值 | 说明 |
| 1 | resume_delivery_id | int | 10 | 0 | N | Y | 简历投递ID | |
| 2 | enterprise | int | 10 | 0 | Y | N | 0 | 企业 |
| 3 | enterprise_name | varchar | 64 | 0 | Y | N | 企业名称 | |
| 4 | position_name | varchar | 64 | 0 | Y | N | 职位名称 | |
| 5 | position_category | varchar | 64 | 0 | Y | N | 职位类别 | |
| 6 | student | int | 10 | 0 | Y | N | 0 | 学生 |
| 7 | student_name | varchar | 64 | 0 | Y | N | 学生姓名 | |
| 8 | class_name | varchar | 64 | 0 | Y | N | 班级名称 | |
| 9 | education | varchar | 64 | 0 | Y | N | 学历 | |
| 10 | university_one_is_graduated_from | varchar | 64 | 0 | Y | N | 毕业院校 | |
| 11 | resume | varchar | 255 | 0 | Y | N | 简历 | |
| 12 | self_introduction | text | 65535 | 0 | Y | N | 自我介绍 | |
| 13 | recommend | int | 10 | 0 | N | N | 0 | 智能推荐 |
| 14 | create_time | datetime | 19 | 0 | N | N | CURRENT_TIMESTAMP | 创建时间 |
| 15 | update_time | timestamp | 19 | 0 | N | N | CURRENT_TIMESTAMP | 更新时间 |
| 编号 | 名称 | 数据类型 | 长度 | 小数位 | 允许空值 | 主键 | 默认值 | 说明 |
| 1 | slides_id | int | 10 | 0 | N | Y | 轮播图ID: | |
| 2 | title | varchar | 64 | 0 | Y | N | 标题: | |
| 3 | content | varchar | 255 | 0 | Y | N | 内容: | |
| 4 | url | varchar | 255 | 0 | Y | N | 链接: | |
| 5 | img | varchar | 255 | 0 | Y | N | 轮播图: | |
| 6 | hits | int | 10 | 0 | N | N | 0 | 点击量: |
| 7 | create_time | timestamp | 19 | 0 | N | N | CURRENT_TIMESTAMP | 创建时间: |
| 8 | update_time | timestamp | 19 | 0 | N | N | CURRENT_TIMESTAMP | 更新时间: |
| 编号 | 名称 | 数据类型 | 长度 | 小数位 | 允许空值 | 主键 | 默认值 | 说明 |
| 1 | student_users_id | int | 10 | 0 | N | Y | 学生用户ID | |
| 2 | student_id | varchar | 64 | 0 | Y | N | 学生学号 | |
| 3 | student_name | varchar | 64 | 0 | Y | N | 学生姓名 | |
| 4 | class_name | varchar | 64 | 0 | Y | N | 班级名称 | |
| 5 | examine_state | varchar | 16 | 0 | N | N | 已通过 | 审核状态 |
| 6 | recommend | int | 10 | 0 | N | N | 0 | 智能推荐 |
| 7 | user_id | int | 10 | 0 | N | N | 0 | 用户ID |
| 8 | create_time | datetime | 19 | 0 | N | N | CURRENT_TIMESTAMP | 创建时间 |
| 9 | update_time | timestamp | 19 | 0 | N | N | CURRENT_TIMESTAMP | 更新时间 |
| 编号 | 名称 | 数据类型 | 长度 | 小数位 | 允许空值 | 主键 | 默认值 | 说明 |
| 1 | upload_id | int | 10 | 0 | N | Y | 上传ID | |
| 2 | name | varchar | 64 | 0 | Y | N | 文件名 | |
| 3 | path | varchar | 255 | 0 | Y | N | 访问路径 | |
| 4 | file | varchar | 255 | 0 | Y | N | 文件路径 | |
| 5 | display | varchar | 255 | 0 | Y | N | 显示顺序 | |
| 6 | father_id | int | 10 | 0 | Y | N | 0 | 父级ID |
| 7 | dir | varchar | 255 | 0 | Y | N | 文件夹 | |
| 8 | type | varchar | 32 | 0 | Y | N | 文件类型 |
| 编号 | 名称 | 数据类型 | 长度 | 小数位 | 允许空值 | 主键 | 默认值 | 说明 |
| 1 | user_id | mediumint | 8 | 0 | N | Y | 用户ID:[0,8388607]用户获取其他与用户相关的数据 | |
| 2 | state | smallint | 5 | 0 | N | N | 1 | 账户状态:[0,10](1可用|2异常|3已冻结|4已注销) |
| 3 | user_group | varchar | 32 | 0 | Y | N | 所在用户组:[0,32767]决定用户身份和权限 | |
| 4 | login_time | timestamp | 19 | 0 | N | N | CURRENT_TIMESTAMP | 上次登录时间: |
| 5 | phone | varchar | 11 | 0 | Y | N | 手机号码:[0,11]用户的手机号码,用于找回密码时或登录时 | |
| 6 | phone_state | smallint | 5 | 0 | N | N | 0 | 手机认证:[0,1](0未认证|1审核中|2已认证) |
| 7 | username | varchar | 16 | 0 | N | N | 用户名:[0,16]用户登录时所用的账户名称 | |
| 8 | nickname | varchar | 16 | 0 | Y | N | 昵称:[0,16] | |
| 9 | password | varchar | 64 | 0 | N | N | 密码:[0,32]用户登录所需的密码,由6-16位数字或英文组成 | |
| 10 | | varchar | 64 | 0 | Y | N | 邮箱:[0,64]用户的邮箱,用于找回密码时或登录时 | |
| 11 | email_state | smallint | 5 | 0 | N | N | 0 | 邮箱认证:[0,1](0未认证|1审核中|2已认证) |
| 12 | avatar | varchar | 255 | 0 | Y | N | 头像地址:[0,255] | |
| 13 | create_time | timestamp | 19 | 0 | N | N | CURRENT_TIMESTAMP | 创建时间: |
| 编号 | 名称 | 数据类型 | 长度 | 小数位 | 允许空值 | 主键 | 默认值 | 说明 |
| 1 | group_id | mediumint | 8 | 0 | N | Y | 用户组ID:[0,8388607] | |
| 2 | display | smallint | 5 | 0 | N | N | 100 | 显示顺序:[0,1000] |
| 3 | name | varchar | 16 | 0 | N | N | 名称:[0,16] | |
| 4 | description | varchar | 255 | 0 | Y | N | 描述:[0,255]描述该用户组的特点或权限范围 | |
| 5 | source_table | varchar | 255 | 0 | Y | N | 来源表: | |
| 6 | source_field | varchar | 255 | 0 | Y | N | 来源字段: | |
| 7 | source_id | int | 10 | 0 | N | N | 0 | 来源ID: |
| 8 | register | smallint | 5 | 0 | Y | N | 0 | 注册位置: |
| 9 | create_time | timestamp | 19 | 0 | N | N | CURRENT_TIMESTAMP | 创建时间: |
| 10 | update_time | timestamp | 19 | 0 | N | N | CURRENT_TIMESTAMP | 更新时间: |
该系统是通过jdbc和Mysql达成连接的,新建一个jdbc.properties文件来填写与数据库连接所需要的驱动和参数。
@SpringBootApplication
@EnableJpaRepositories
public class Application {
public static void main(String[] args) {
SpringApplication.run(Application.class,args);
}
}
第一个参数代表Mysql数据库的驱动,第二个参数代表要连接的数据库,第三个和第四个参数代表数据库连接名和密码。
后台与数据库访问主要是通过HQL语句来进行查询的,查询语句中的表名是表格的实体类名,在这种查询语句中*是不允许使用的,除非适合聚合函数一起使用才可以。
用户在填写数据的时候必须与注册页面上的验证相匹配否则会注册失败,注册页面的表单验证是通过JavaScript进行验证的,用户名的长度必须在6到18之间,邮箱必须带有@符号,密码和密码确认必须相同,你输入的密码,系统会根据你输入密码的强度给出指定的值,电话号码和身份证号码必须要求输入格式与生活相符合,当你前台验证通过的时候你点击注册,表单会将你输入的值通过name值传递给后台并保存到数据库中。
用户注册流程图如下图所示。
图5-1用户注册流程图
用户注册界面如下图所示。
图5-2用户注册界面
用户注册的关键代码如下。
* 注册
* @param user
* @return
*/
@PostMapping("register")
public Map<String, Object> signUp(@RequestBody User user) {
// 查询用户
Map<String, String> query = new HashMap<>();
query.put("username",user.getUsername());
List list = service.select(query, new HashMap<>()).getResultList();
if (list.size()>0){
return error(30000, "用户已存在");
}
user.setUserId(null);
user.setPassword(service.encryption(user.getPassword()));
service.save(user);
return success(1);
}
/**
* 用户ID:[0,8388607]用户获取其他与用户相关的数据
*/
@Id
@GeneratedValue(strategy = GenerationType.IDENTITY)
@Column(name = "user_id")
private Integer userId;
/**
* 账户状态:[0,10](1可用|2异常|3已冻结|4已注销)
*/
@Basic
@Column(name = "state")
private Integer state;
/**
* 所在用户组:[0,32767]决定用户身份和权限
*/
@Basic
@Column(name = "user_group")
private String userGroup;
/**
* 上次登录时间:
*/
@Basic
@Column(name = "login_time")
private Timestamp loginTime;
/**
* 手机号码:[0,11]用户的手机号码,用于找回密码时或登录时
*/
@Basic
@Column(name = "phone")
private String phone;
/**
* 手机认证:[0,1](0未认证|1审核中|2已认证)
*/
@Basic
@Column(name = "phone_state")
private Integer phoneState;
/**
* 用户名:[0,16]用户登录时所用的账户名称
*/
@Basic
@Column(name = "username")
private String username;
/**
* 昵称:[0,16]
*/
@Basic
@Column(name = "nickname")
private String nickname;
/**
* 密码:[0,32]用户登录所需的密码,由6-16位数字或英文组成
*/
@Basic
@Column(name = "password")
private String password;
/**
* 邮箱:[0,64]用户的邮箱,用于找回密码时或登录时
*/
@Basic
@Column(name = "email")
private String email;
/**
* 邮箱认证:[0,1](0未认证|1审核中|2已认证)
*/
@Basic
@Column(name = "email_state")
private Integer emailState;
/**
* 头像地址:[0,255]
*/
@Basic
@Column(name = "avatar")
private String avatar;
/**
* 创建时间:
*/
@Basic
@Column(name = "create_time")
@JsonFormat(pattern = "yyyy-MM-dd HH:mm:ss")
private Timestamp createTime;
@Basic
@Transient
private String code;
}
-
- 登录模块的实现
主要由两部分组成,登录前的登录界面以及登录后的用户功能界面。登录界面,要求用户输入用户名和密码,当用户名和密码其中一个输入为空时,给出提示“用户名,密码不能为空”。获取用户名和密码后到数据库中查找,如果用户名存在,以及对应的密码正确,则登录成功,否则登录失败。登录失败后给出提示,并把焦点停在文本框中。登录成功后将该次会话的全局变量username设置为用户名。登录成功后进入会员的功能模块,主要有会员基本信息修改,已经发布职位信息管理,发布信息,和退出功能。退出功能是清除全局变量username的值,并跳回到首页。
登录流程图如下图所示。
图5-3登录流程图
用户登录界面如下图所示。
图5-4用户登录界面
用户登录的关键代码如下。
* 登录
* @param data
* @param httpServletRequest
* @return
*/
@PostMapping("login")
public Map<String, Object> login(@RequestBody Map<String, String> data, HttpServletRequest httpServletRequest) {
log.info("[执行登录接口]");
String username = data.get("username");
String email = data.get("email");
String phone = data.get("phone");
String password = data.get("password");
List resultList = null;
Map<String, String> map = new HashMap<>();
if(username != null && "".equals(username) == false){
map.put("username", username);
resultList = service.select(map, new HashMap<>()).getResultList();
}
else if(email != null && "".equals(email) == false){
map.put("email", email);
resultList = service.select(map, new HashMap<>()).getResultList();
}
else if(phone != null && "".equals(phone) == false){
map.put("phone", phone);
resultList = service.select(map, new HashMap<>()).getResultList();
}else{
return error(30000, "账号或密码不能为空");
}
if (resultList == null || password == null) {
return error(30000, "账号或密码不能为空");
}
//判断是否有这个用户
if (resultList.size()<=0){
return error(30000,"用户不存在");
}
User byUsername = (User) resultList.get(0);
Map<String, String> groupMap = new HashMap<>();
groupMap.put("name",byUsername.getUserGroup());
List groupList = userGroupService.select(groupMap, new HashMap<>()).getResultList();
if (groupList.size()<1){
return error(30000,"用户组不存在");
}
UserGroup userGroup = (UserGroup) groupList.get(0);
//查询用户审核状态
if (!StringUtils.isEmpty(userGroup.getSourceTable())){
String sql = "select examine_state from "+ userGroup.getSourceTable() +" WHERE user_id = " + byUsername.getUserId();
String res = String.valueOf(service.runCountSql(sql).getSingleResult());
if (res==null){
return error(30000,"用户不存在");
}
if (!res.equals("已通过")){
return error(30000,"该用户审核未通过");
}
}
//查询用户状态
if (byUsername.getState()!=1){
return error(30000,"用户非可用状态,不能登录");
}
String md5password = service.encryption(password);
if (byUsername.getPassword().equals(md5password)) {
// 存储Token到数据库
AccessToken accessToken = new AccessToken();
accessToken.setToken(UUID.randomUUID().toString().replaceAll("-", ""));
accessToken.setUser_id(byUsername.getUserId());
tokenService.save(accessToken);
// 返回用户信息
JSONObject user = JSONObject.parseObject(JSONObject.toJSONString(byUsername));
user.put("token", accessToken.getToken());
JSONObject ret = new JSONObject();
ret.put("obj",user);
return success(ret);
} else {
return error(30000, "账号或密码不正确");
}
}
-
- 用户资料修改模块的实现
用户登录/注册成功之后可以修改自己的基本信息。修改页面的表单中每一个input的name值都要与实体类中的参数相匹配,在用户点击修改页面的时候,如果改后用户名与数据库里面重复了,页面会提示该用户名已经存在了,否则通过Id来查询用户,并将用户的信息修改为表单提交的数据。
用户资料的关键代码如下。
@RequestMapping(value = {"/avg_group", "/avg"})
public Map<String, Object> avg(HttpServletRequest request) {
Query count = service.avg(service.readQuery(request), service.readConfig(request));
return success(count.getResultList());
}
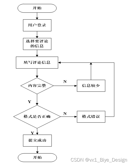
用户便可以对职位做出评论。点击按钮之后会跳转至评论填写页面,填写评论提交之后,后台通过PinglunController的publish方法将相关信息保存到数据库系统。
评论添加流程图如下图所示。
图5-5评论添加流程图
评论添加界面如下图所示。
图5-6评论添加界面
简历投递功能需要考虑高并发,防止出现职位重复申请、职位状态显示出错等情况,特对职位这一共享数据增加锁机制。在乐观锁、悲观锁以及线程锁中,综合考虑性能效率和错误的可接受性选择了乐观锁机制。乐观锁的实现方式是使用版本标识来确定读到的数据与提交时的数据是否一致,提交后修改版本标识,不一致时可以采取丢弃和再次尝试的策略。在数据库职位表(对应职位实体)设计中增加了version字段,每次数据提交时(更改职位状态)会判断version是否匹配,若不匹配停止本次提交,若匹配则提交成功并增加version的值。
简历投递功能整体流程:用户浏览职位信息时,同时会显示职位的状态,系统会在其显示详细信息的页面时便会判断职位的状态,若职位状态为可申请,则会显示申请的链接按钮。在用户点击申请按钮时,会先通过拦截器判断用户是否登录,若未登录,会跳转至登录页面,提示用户先登录,若为登录用户就会跳转至填写申请信息的页面,填写好申请信息之后,点击提交按钮,申请成功之后返回提示信息,告知用户申请成功。
简历投递流程图如下图所示。
图5-7简历投递流程图
简历投递界面如下图所示。
图5-8简历投递界面
申请管理界面如下图所示。
图5-9申请管理界面
简历投递关键代码如下。
@RequestMapping(value = {"/sum_group", "/sum"})
public Map<String, Object> sum(HttpServletRequest request) {
Query count = service.sum(service.readQuery(request), service.readConfig(request));
return success(count.getResultList());
}
-
- 面试邀请模块的实现
添加面试邀请是在“查询应聘信息 “的前提下操作的。当页面显示查询的应聘信息后,可以点击“添加面试邀请”超级链接,既可跳转到mianshiyaoqing..jsp页添加面试邀请。管理员在mianshiyaoqing_list..jsp进行面试邀请管理,mianshiyaoqing_ list..jsp通过查询数据库的面试邀请表列出所有面试邀请信息,每条面试邀请对应一个删除按钮和修改按钮,当管理员点击删除按钮,直接在数据库删除面试邀请信息,并重定向当前页面,当管理员选择点击修改,则进入mianshiyaoqing_update..jsp页面,进行面试邀请信息的修改。
面试邀请界面设计效果如下图所示。
图5-10面试邀请界面
面试邀请管理页面效果如下图所示。
图5-11 面试邀请管理界面
此页面的关键是编写职位信息,包括职位编号,名称,详情等。单击提交按钮以完成信息的添加。如果未写入完整的职位信息,例如,如果未写入职位编号,系统将给出相应的错误提示,并且无法成功输入。数据以概念的形式以onsubmit =“return checkForm()”的形式写入以进行检查,checkForm()函数是一种用于写入数据的不同类型的校对方法,是不是为空也是经过form表单中的onsubmit=”return checkForm()来检查。
管理员点击左侧菜单“职位信息管理”,页面跳转到职位信息管理外观,调用后台职位查询所有职位信息。并将信息密封到数据集合List,绑定到请求对象,然后页面跳转到相应的jsp,显示出职位信息,单击删除按钮完成职位信息的删除。
职位管理流程图如下图所示。
图5-12职位管理流程图
职位添加界面如下图所示。
图5-13职位添加界面
职位管理界面如下图所示。
图5-14职位管理界面
职位发布的关键代码如下。
@RequestMapping(value = {"/count_group", "/count"})
public Map<String, Object> count(HttpServletRequest request) {
Query count = service.count(service.readQuery(request), service.readConfig(request));
return success(count.getResultList());
}
%>
根据需求,需要对企业进行添加、删除或修改详情信息。删除或修改企业时,系统根据企业的状态判定为可删除状态下,才会给出删除和修改链接,点击删除链接按钮时,请求到达后台,还会先查询企业状态再次做出判定能否删除。点击修改链接按钮时,会跳转到修改信息的页面,重新填写好数据后,数据提交到后台会对数据库中相应的记录做出修改。
添加企业时,会给出数据填写的页面,该页面根据填写好的企业编号同样会事先发送Ajax请求查询编号是否已存在,数据填写好之后提交到后台,会调用相关服务在数据库中插入记录。
企业管理流程图如下图所示。
图5-15企业管理流程图
企业管理页面效果如下图所示。
图5-16企业管理界面
企业发布的关键代码如下。
<%
String lb=request.getParameter("lb");
HashMap ext = new HashMap();
new CommDAO().insert(request,response,"xinwentongzhi",ext,true,false,"xinwentongzhi_add.jsp?lb="+lb);
%>
对任何系统而言,测试都是必不可少的环节,测试可以发现系统存在的很多问题,所有的软件上线之前,都应该进行充足的测试之后才能保证上线后不会Bug频发,或者是功能不满足需求等问题的发生。下面分别从单元测试,功能测试和用例测试来对系统进行测试以保证系统的稳定性和可靠性。
下表是系统登录功能测试用例,检测了用户名和密码的不同的输入情况,观察系统的响应情况。得出该功能达到了设计目标。
表6-1 系统登录功能测试用例
| 功能描述 | 用于系统登录 | |
| 测试目的 | 检测登录时的合法性检查 | |
| 测试数据以及操作 | 预期结果 | 实际结果 |
| 输入的用户名和密码带有非法字符 | 提示用户名或者密码错误 | 与预期结果一致 |
| 输入的用户名或者密码为空 | 提示用户名或者密码错误 | 与预期结果一致 |
| 输入的用户名和密码不存在 | 提示用户名或者密码错误 | 与预期结果一致 |
| 输入正确的用户名和密码 | 登录成功 | 与预期结果一致 |
下表是注册功能测试用例,检测了各种数据的输入情况,观察系统的响应情况。得出该功能达到了设计目标。
表6-2 注册功能测试用例
| 功能描述 | 用于用户注册 | |
| 测试目的 | 检测用户注册时的合法性检查 | |
| 测试数据以及操作 | 预期结果 | 实际结果 |
| 输入的手机号不合法 | 提示请输入正确的手机号码 | 与预期结果一致 |
| 输入的字段为空 | 提示必填项不能为空 | 与预期结果一致 |
| 输入的密码少于6位 | 提示密码必须为6-12位 | 与预期结果一致 |
| 输入的密码大于12位 | 提示密码必须为6-12位 | 与预期结果一致 |
下表是职位管理功能的测试用例,检测了职位管理中对职位信息的增加,删除,修改,查询操作是否成功运行。观察系统的响应情况,得出该功能也达到了设计目标,系统运行正确。
前置条件;用户登录系统。
表6-3 职位管理的测试用例
| 功能描述 | 用于职位管理 | |
| 测试目的 | 检测职位管理时的各种操作的运行情况 | |
| 测试数据以及操作 | 预期结果 | 实际结果 |
| 点击添加职位,必填项合法输入,点击保存 | 提示添加成功 | 与预期结果一致 |
| 点击添加职位,必填项输入不合法,点击保存 | 提示必填项不能为空 | 与预期结果一致 |
| 点击修改职位,必填项修改为空,点击保存 | 提示必填项不能为空 | 与预期结果一致 |
| 点击修改职位,必填项输入不合法,点击保存 | 提示必填项不能为空 | 与预期结果一致 |
| 点击删除职位,选择职位删除 | 提示删除成功 | 与预期结果一致 |
| 点击搜索职位,输入存在的职位名 | 查找出职位 | 与预期结果一致 |
| 点击搜索职位,输入不存在的职位名 | 不显示职位 | 与预期结果一致 |
下表是企业管理功能的测试用例,检测了企业管理中对企业信息的增加,删除,修改,查询操作是否成功运行。观察系统的响应情况,得出该功能也达到了设计目标,系统运行正确。
前置条件;用户登录系统。
表6-4 企业管理的测试用例
| 功能描述 | 用于企业管理 | |
| 测试目的 | 检测企业管理时的各种操作的运行情况 | |
| 测试数据以及操作 | 预期结果 | 实际结果 |
| 点击添加企业,必填项合法输入,点击保存 | 提示添加成功 | 与预期结果一致 |
| 点击添加企业,必填项输入不合法,点击保存 | 提示必填项不能为空 | 与预期结果一致 |
| 点击修改企业,必填项修改为空,点击保存 | 提示必填项不能为空 | 与预期结果一致 |
| 点击修改企业,必填项输入不合法,点击保存 | 提示必填项不能为空 | 与预期结果一致 |
| 点击删除企业,选择企业删除 | 提示删除成功 | 与预期结果一致 |
| 点击搜索企业,输入存在的企业名 | 查找出企业 | 与预期结果一致 |
| 点击搜索企业,输入不存在的企业名 | 不显示企业 | 与预期结果一致 |
使用阿里云PTS(Performance Testing Service)性能测试服务对线上系统进行压力测试。线上服务器环境为:1核心CPU,1G内存,1Mbps公网带宽,Centos7.0操作系统。
压测过程中使用了2台并发机器,每台机器20个用户并发,对系统主页,登录,数据查询和数据维护等模块进行并发访问,测试结果是有40个用户并发时,数据管理相关页面的响应时间甚至达到了7s,通过查看服务器出网流量发现已经达到1381kb/s,可以看出服务器的带宽已经达到峰值,如果系统使用5Mbps的带宽,系统的响应时间和TPS将会大大增加。在整个测试的过程中,CPU的使用率占用仅8%,也提现出带宽瓶颈对系统的影响非常严重。
随着计算机互联网技术的迅猛发展,各行各业都已经实现采用计算机相关技术对日益放大的数据进行管理。该课题是大学生就业推荐系统为核心展开的,主要是为了实现学生就业信息化管理和用户在线投递简历的需求。
大学生就业推荐系统的开发是以Java编程语言作为基础,在Myeclipse平台上完成编码工作,系统整体为B/S架构,数据库系统使用Mysql。文中详细分析了大学生就业推荐系统的研究背景、研究目的和意义、开发工具和相关技术以及系统需求、系统详细设计和系统测试等等一系列内容。系统实现了大学生就业推荐系统所需的一些基本功能,并通过测试对这些实现的功能进行了完善,进而提高了系统整体的实用性。整个系统的开发过程中大量使用了Java相关的知识以及前端开发使用的html和javascript等,同时涉及到了很多开源框架和组件,例如后台系统中运用的MVC架构、Freemarker模板引擎等,前端运用的UI框架等。
系统投入运行时,各功能均运行正常。系统的每个界面的操作符合常规逻辑,对使用者来说操作简单,界面友好。整个系统的各个功能设计合理,体现了人性化。
但是由于自己在系统开发过程中对一些用到的相关知识和技术掌握不够牢固,再加上自身开发经验欠缺,因此系统在有些方面的功能还不够完善,考虑的不够全面,因此整个系统还有待日后逐步完善。
参考文献
[1]Pratap Singh Surya,Singh Jagbir,Pal Anuj. Application on Soil Bearing Capacity by Using SPT Values[J]. IOP Conference Series: Earth and Environmental Science,2023,1110(1).
[2]Maruti Endang Sri,Yulianto Bambang,Suhartono Suhartono,Yohanes Budinuryanta,Cahyono Bambang Eko Hari. Scale development as a measuring tool of critical Javanese language’ awareness for pre-service Javanese teachers[J]. Cogent Arts & Humanities,2022,9(1).
[3]Yu Yang. Design and Implementation of Student Information Management System Based on Springboot[J]. Advances in Computer, Signals and Systems,2022,6(6).
[4]夏清欢,应沈静,陶骏,龚勇,宋卫卫.基于Java语言的杨辉三角程序设计与探讨[J].电脑知识与技术,2022,18(33):34-37.DOI:10.14004/j.cnki.ckt.2022.2089.
[5]杜瑞庆,李一诺.基于Java语言的即时通讯系统设计与实现[J].电脑知识与技术,2022,18(31):29-32.DOI:10.14004/j.cnki.ckt.2022.2043.
[6]李乐.Java语言应用研究[J].智慧中国,2022(09):80-81.
[7]宋旸.使用Java语言开发Web应用软件的知识探讨[J].中国设备工程,2022(14):121-123.
[8]邢琦.基于分布式计算的大学就业信息管理系统[J].计算机与数字工程,2022,50(06):1202-1206+1228.
[9]贺斌.计算机软件开发中JAVA语言的应用研究[J].中国设备工程,2022(11):247-249.
[10]李楠.基于大数据平台的大学就业信息管理系统[J].电子设计工程,2022,30(07):42-46+52.DOI:10.14022/j.issn1674-6236.2022.07.009.
[11]李蔚妍,高葵,李雨,朱红梅.Java语言程序设计教学中的图形界面案例的探索和研究[J].电脑知识与技术,2022,18(10):142-144.DOI:10.14004/j.cnki.ckt.2022.0770.
[12]王大伟,李丛.应用型本科院校Java程序设计课程教学改革研究[J].科技视界,2022(09):129-131.DOI:10.19694/j.cnki.issn2095-2457.2022.09.38.
[13]杨迎.Java语言异常处理机制的分析[J].电子技术,2022,51(03):42-43.
[14]黄俊萍.基于推荐算法的大学生就业管理系统[J].信息技术与信息化,2021(11):6-9.
[15]Fuyuan Cheng. Talent Recruitment Management System for Small and Micro Enterprises Based on Springboot Framework[J]. Advances in Educational Technology and Psychology,2021,5(2).
[16]Guanhong Chen,Jiangming Xu. Design and implementation of efficient Learning platform based on SpringBoot Framework[J]. Journal of Electronics and Information Science,2020,6(1).
[17]张亚杰. 大学生信息管理及就业预测系统的设计与实现[D].电子科技大学,2019.
[18]王向彬. 文华学院学生就业推荐与招聘系统研究与分析[D].云南大学,2016.
[19]钱树林. 云南文华学院毕业生就业信息管理系统的研究与分析[D].云南大学,2015.
[20]王正程. 高校毕业生就业信息管理系统的设计与实现[D].东北大学,2016.
本次设计历时3个月。在这个毕业设计中,它离不开指导教师的指导,使事情基本顺利。指导老师无论是在毕业设计历经中,还是在论文做完中都给了了我特别大的助益。另1个方面,教师认真负责的工作姿态,谨慎的教学精神厚重的理论水准都使我获益匪浅。他勤恳谨慎的教学育人学习姿态也给我留下了特别特别深的感觉。我从老师那里学到了很多东西。在理论和实践中,我的技能得到了特别大的提高。在此,特向教师表示由衷的感激。
经过对该毕业设计的全部研究和开发,我的系统研发经历了从需求分析到实现详细功能,再到最终测试和维护的特殊进展。让我对系统研发有了更深层次的认识。如今我的动手本领单独处理疑惑的本领也获取到了特别大的演练学习增多,这是这次毕业设计最好的收获。
最后,在整个系统开发过程中,我周围的同学和朋友给了我很多意见,所以我很快就确认了系统的商业思想。在次,我由衷的向他们表示感激。
本文围绕大学生就业推荐系统展开,分析了研究背景与现状,介绍了HTTP、Java、HTML等相关技术。系统采用面向对象开发模式,以Mysql为数据库,用Spring Boot框架、Java技术等开发。详细阐述了系统分析、设计、实现及测试过程,最终实现基本功能,但仍有待完善。

被折叠的 条评论
为什么被折叠?



