信息化社会内需要与之针对性的信息获取途径,但是途径的扩展基本上为人们所努力的方向,由于站在的角度存在偏差,人们经常能够获得不同类型信息,这也是技术最为难以攻克的课题。针对大学生本科毕业资格审核系统等问题,对如何通过计算机大学生本科毕业资格审核系统进行研究分析,然后开发设计出大学生本科毕业资格审核系统已解决问题。
大学生本科毕业资格审核系统主要功能模块包括登录、个人资料、用户管理、审核条件、成绩审核、学分审核、审核通知、学院审核等信息维护,采取面对对象的开发模式进行软件的开发和硬体的架设,能很好的满足实际使用的需求,完善了对应的软体架设以及程序编码的工作,采取MySQL作为后台数据的主要存储单元,采用Java技术、Ajax技术进行业务系统的编码及其开发,实现了本系统的全部功能。本次报告,首先分析了研究的背景、作用、意义,为研究工作的合理性打下了基础。针对大学生本科毕业资格审核系统的各项需求以及技术问题进行分析,证明了系统的必要性和技术可行性,然后对设计系统需要使用的技术软件以及设计思想做了基本的介绍,最后来实现大学生本科毕业资格审核系统和部署运行使用它。
关键词:毕业资格审核系统;JAVA语言;ssm ;MYSQL数据库
In the information society, there is a need for targeted information acquisition channels, but the expansion of channels is basically the direction of people's efforts. Due to the deviation in perspective, people often can obtain different types of information, which is also the most difficult topic for technology to overcome. In response to issues such as the undergraduate graduation qualification review system for college students, this paper conducts research and analysis on how to use a computer based undergraduate graduation qualification review system, and then develops and designs a undergraduate graduation qualification review system to solve the problem.
The main functional modules of the undergraduate graduation qualification review system for college students include login, personal information, user management, review conditions, score review, credit review, review notice, college review, and other information maintenance. The system adopts an object-oriented development model for software development and hardware installation, which can effectively meet practical needs and improve the corresponding software installation and program coding work, Adopting MySQL as the main storage unit for backend data, and using Java and Ajax technologies for business system coding and development, all functions of this system have been achieved. This report first analyzes the background, role, and significance of the research, laying the foundation for the rationality of the research work. This article analyzes the various requirements and technical issues of the undergraduate graduation qualification review system for college students, proves the necessity and technical feasibility of the system, and then provides a basic introduction to the technical software and design ideas required for designing the system. Finally, it aims to implement the undergraduate graduation qualification review system for college students and deploy and operate it.
Keywords: Graduation qualification review system; JAVA language; ssm ; MYSQL database
目录
高校教学管理工作是高等教育中的一个极为重要的环节,是整个高校管理的核心和基础,而毕业生的毕业资格审核是高校教学管理中一项非常细致而又关键的工作环节。随着计算机技术的迅猛发展,高校教学管理的大部分管理工作都已运用了计算机进行辅助管理,但是对于毕业生的毕业资格审核工作,仍然依靠教学管理人员“看表格、查成绩、算学分”的传统人工审核工作方式。高校招生数量的不断扩大,学校办学规模的逐年增大,将面临越来越多学生的毕业资格的审核处理工作。为了能够最大限度地减轻教学管理人员的工作负担,从而进一步提高工作效率和准确性,设计、开发大学生本科毕业资格审核系统是必趋之势。
-
- 研究方法
首先,通过引擎搜索或者查阅相关文献资料,了解了本系统开发的背景以及设计系统的意义所在,收集用户需求信息。其次,在开发工具上,最终确定选用ssm平台来设计开发本系统,MySQL作为设计数据库的工具。即利用java语言实现用户界面,并同数据库连接起来实现完整的通信功能。之后,设计出系统大致的功能模块。主要从方便系统用户和系统管理员的角度进行分析,明确该系统应该具有的功能。最终是测试系统,通过用例测试发现存在的问题并找到解决的方案。利用现有的开发平台,结合自己所学的知识,在老师的指导帮助下来完成该设计,确保系统的可用性、实用性。
论文将分层次经行编排,除去论文摘要、目录、致谢、文献参考部分,正文部分还会对网站需求做出分析,以及阐述大体的设计和实现的功能,最后罗列部分调测记录,论文主要架构如下:
第1章 交代了项目的背景以及开发的实际意义。
第2章 对本系统的可行性、功能需求展开分析。
第3章 阐述了项目的总体设计。
第4章 阐明了大学生本科毕业资格审核系统详细功能的实现,主要根据技术性的功能模块功能实现。
第5章 罗列了部分系统调试与测试的记录。
大学生本科毕业资格审核系统存储所使用的是mysql数据库以及开发中所使用的是IDEA、Tomcat这些开发工具的使用,能够给我们的编写工作带来许多的便利。系统使用SSM框架进行开发,使系统的可扩展性和维护性更佳,减少java配置代码,简化编程代码,目前SSM框架也是很多企业选择的框架之一。
在开发大学生本科毕业资格审核系统中所使用的开发软件像IDEA开发工具、Tomcat8.0服务器、MySQL5.7数据库、Photoshop图片处理软件等,这些都是开源免费的,这些环境在学校都进行了系统的学习,自己能够独立操作完成,不需要额外花费,而且系统的开发工具从网上都可以直接下载,因此在经济方面是可行的。
此次项目设计的时候我参考了很多类似系统的成功案例,对它们的操作界面以及功能都进行了系统的分析,将众多案例结合在一起,突出以人为本简化操作,所以具有基本计算机知识的人都会操作本项目。因此操作可行性也没有问题。
大学生本科毕业资格审核系统的设计与实现是为了让学校的使用者更加方便的进行管理学生相关联的一些信息,使用者查找管理的时候能够节省大量的时间和精力,有效减少不必要的查找时间。系统在功能上划分为管理员、学生用户、班主任用户、校领导用户以及院领导用户五大部分。
班主任用户端:
(1)登录:班主任在后台可以通过账号和密码进行登录,班主任的账号和密码是在数据库中直接设定的;
(2)个人资料:班主任在登录以后可以修改自己的个人资料以及对自己账号登录的密码进行修改;
(3)审核条件:点击“审核条件”按钮后会查看到系统当中所有的审核条件,支持通过学院名称或者学院类型进行查询审核条件,如果想要了解某一审核条件的详细信息,点击后面的“查看”会进入详情界面;
(4)成绩审核:点击“成绩审核”这个按钮可以查看到自己提交的成绩审核,支持通过学生用户或者学生姓名进行查询成绩审核,如果想要了解某一成绩审核的详细信息,点击后面的“查看”会进入详情界面;
管理员端:
(1)个人资料:管理在登录以后可以修改自己的个人资料以及对自己账号登录的密码进行修改;
(2)用户管理:管理员可以对系统中所有的用户角色进行管控,包含了管理员、学生用户、班主任用户、校领导用户以及院领导用户这五种角色,如果需要添加新的用户,点击页面中的“添加”按钮根据提示输入上用户信息,点击“提交”以后在对应的用户界面就可以查看到了,可以点击用户后面的“删除”按钮直接删除某一用户。
(3)审核条件:管理员点击“审核条件”会显示出所有的审核条件信息,支持通过学院名称或者学院类型对审核条件信息进行查询,如果想要添加新的审核条件信息,点击“添加”按钮,输入相关信息,点击“提交”按钮就可以添加了,同时可以选择某一条审核条件信息,点击“删除”进行删除。
(4)成绩审核:管理员点击“成绩审核”会显示出所有的成绩审核信息,支持通过学生用户或者学生姓名对成绩审核信息进行查询,如果想要添加新的成绩审核信息,点击“添加”按钮,输入相关信息,点击“提交”按钮就可以添加了,同时可以选择某一条成绩审核信息,点击“删除”进行删除。
(5)学院审核:管理员点击“学院审核”会显示出所有的学院审核信息,支持通过专业或者年级或者班级对学院审核信息进行查询,如果想要添加新的学院审核信息,点击“添加”按钮,输入相关信息,点击“提交”按钮就可以添加了,同时可以选择某一条学院审核信息,点击“删除”进行删除。
(6)审核通知:管理员点击“审核通知”会显示出所有的审核通知信息,支持通过通知编号或者通知标题对审核通知信息进行查询,如果想要添加新的审核通知信息,点击“添加”按钮,输入相关信息,点击“提交”按钮就可以添加了,同时可以选择某一条审核通知信息,点击“删除”进行删除。
(7)退出:点击“退出”按钮将会退出当前用户,跳转到登录界面。
-
-
- 非功能性需求分析
-
大学生本科毕业资格审核系统的非功能性需求比如自助大学生本科毕业资格审核系统的安全性怎么样,可靠性怎么样,性能怎么样,可拓展性怎么样等。具体可以表示在如下3-1表格中:
表2.1 大学生本科毕业资格审核系统非功能需求表
| 安全性 | 主要指大学生本科毕业资格审核系统数据库的安装,数据库的使用和密码的设定必须合乎规范。 |
| 可靠性 | 可靠性是指大学生本科毕业资格审核系统能够安装用户的指示进行操作,经过测试,可靠性90%以上。 |
| 性能 | 性能是影响大学生本科毕业资格审核系统占据市场的必要条件,所以性能最好要佳才好。 |
| 可扩展性 | 比如数据库预留多个属性,比如接口的使用等确保了系统的非功能性需求。 |
| 易用性 | 用户只要跟着大学生本科毕业资格审核系统的页面展示内容进行操作,就可以了。 |
| 可维护性 | 大学生本科毕业资格审核系统开发的可维护性是非常重要的,经过测试,可维护性没有问题 |
大学生本科毕业资格审核系统中学生角色用例图如图2.1所示:

图2.1 学生角色用例图
大学生本科毕业资格审核系统班主任角色用例图如图2.2所示:

图2.2 班主任角色用例图
大学生本科毕业资格审核系统中管理员角色用例图如图2.3所示:

图2.3 管理员角色用例图
在分析了项目开发的背景、意义以及其开发的可行性后,接下来就是探讨项目的功能划分,以及具体实现的时候对项目数据库各种表的设计,在本章会做一个系统的介绍。
系功能模块的设计就是把系统具体要实现哪些功能,功能如何划分做一个系统的架构,以模块图的方式展示出来,方便我们进行功能得罗列以及涉及。在系统的功能方面,项目分成了管理员+班主任+学生+校领导+院领导五个模块,每个模块登录进去对应相应的功能,具体的功能模块图如图3.1所示。

图3.1 大学生本科毕业资格审核系统功能模块图
数据库的设计承载者系统的各种数据,在一个系统中各种数据都需要一个专门的容器,数据库就是这个容器,在建立数据库的时候,主要是数据库模型的设计以及各个数据库表的设计两部分。
下面是整个大学生本科毕业资格审核系统中主要的数据库表总E-R实体关系图。

图3.2 大学生本科毕业资格审核系统总E-R关系图
通过前面E-R关系图可以看到项目需要创建很多个数据表。以下是项目中的主要数据库表的关系模型:
表audit_conditions (审核条件)
| 编号 | 名称 | 数据类型 | 长度 | 小数位 | 允许空值 | 主键 | 默认值 | 说明 |
| 1 | audit_conditions_id | int | 10 | 0 | N | Y | 审核条件ID | |
| 2 | college_name | varchar | 64 | 0 | Y | N | 学院名称 | |
| 3 | college_type | varchar | 64 | 0 | Y | N | 学院类型 | |
| 4 | major | varchar | 64 | 0 | Y | N | 专业 | |
| 5 | general_education_required_subjects | varchar | 64 | 0 | Y | N | 通识教育必修课 | |
| 6 | general_education_elective_subjects | varchar | 64 | 0 | Y | N | 通识教育选修课 | |
| 7 | compulsory_courses_for_major_disciplines | varchar | 64 | 0 | Y | N | 学科大类必修课 | |
| 8 | elective_courses_for_major_disciplines | varchar | 64 | 0 | Y | N | 学科大类选修课 | |
| 9 | professional_compulsory_courses | varchar | 64 | 0 | Y | N | 专业必修课 | |
| 10 | professional_elective_courses | varchar | 64 | 0 | Y | N | 专业选修课 | |
| 11 | practical_teaching_process | varchar | 64 | 0 | Y | N | 实践教学环节 | |
| 12 | internship_training | varchar | 64 | 0 | Y | N | 实习实训 | |
| 13 | teacher_education_compulsory_course | varchar | 64 | 0 | Y | N | 教师教育必修课 | |
| 14 | teacher_education_elective_course | varchar | 64 | 0 | Y | N | 教师教育选修课 | |
| 15 | personalized_courses | varchar | 64 | 0 | Y | N | 个性课程 | |
| 16 | innovation_and_entrepreneurship_course | varchar | 64 | 0 | Y | N | 创新创业课 | |
| 17 | second_class_compulsory | varchar | 64 | 0 | Y | N | 第二课堂必修 | |
| 18 | computer_level_certificate | varchar | 64 | 0 | Y | N | 计算机等级证书 | |
| 19 | mandarin_level_certificate | varchar | 64 | 0 | Y | N | 普通话等级证书 | |
| 20 | british_level_4_certificate | varchar | 64 | 0 | Y | N | 大英四级证书 | |
| 21 | teacher_qualification_certificate | varchar | 64 | 0 | Y | N | 教师资格证书 | |
| 22 | national_teacher_qualification_examination_training_certificate | varchar | 64 | 0 | Y | N | 全国教师资格考试培养证书 | |
| 23 | professional_qualification_certificate | varchar | 64 | 0 | Y | N | 专业资格证书 | |
| 24 | certification_of_programming_skills | varchar | 64 | 0 | Y | N | 程序设计技能认证证书 | |
| 25 | second_classroom_elective_course | varchar | 64 | 0 | Y | N | 第二课堂选修 | |
| 26 | total | varchar | 64 | 0 | Y | N | 合计 | |
| 27 | exception_description | text | 65535 | 0 | Y | N | 异常说明 | |
| 28 | recommend | int | 10 | 0 | N | N | 0 | 智能推荐 |
| 29 | create_time | datetime | 19 | 0 | N | N | CURRENT_TIMESTAMP | 创建时间 |
| 30 | update_time | timestamp | 19 | 0 | N | N | CURRENT_TIMESTAMP | 更新时间 |
表audit_notification (审核通知)
| 编号 | 名称 | 数据类型 | 长度 | 小数位 | 允许空值 | 主键 | 默认值 | 说明 |
| 1 | audit_notification_id | int | 10 | 0 | N | Y | 审核通知ID | |
| 2 | notification_number | varchar | 64 | 0 | Y | N | 通知编号 | |
| 3 | college_name | varchar | 64 | 0 | Y | N | 学院名称 | |
| 4 | notification_title | varchar | 64 | 0 | Y | N | 通知标题 | |
| 5 | notification_type | varchar | 64 | 0 | Y | N | 通知类型 | |
| 6 | release_time | date | 10 | 0 | Y | N | 发布时间 | |
| 7 | notification_content | text | 65535 | 0 | Y | N | 通知内容 | |
| 8 | recommend | int | 10 | 0 | N | N | 0 | 智能推荐 |
| 9 | create_time | datetime | 19 | 0 | N | N | CURRENT_TIMESTAMP | 创建时间 |
| 10 | update_time | timestamp | 19 | 0 | N | N | CURRENT_TIMESTAMP | 更新时间 |
表class_teacher_user (班主任用户)
| 编号 | 名称 | 数据类型 | 长度 | 小数位 | 允许空值 | 主键 | 默认值 | 说明 |
| 1 | class_teacher_user_id | int | 10 | 0 | N | Y | 班主任用户ID | |
| 2 | teachers_name | varchar | 64 | 0 | Y | N | 教师姓名 | |
| 3 | teacher_gender | varchar | 64 | 0 | Y | N | 教师性别 | |
| 4 | teachers_teaching_experience | varchar | 64 | 0 | Y | N | 教师教龄 | |
| 5 | examine_state | varchar | 16 | 0 | N | N | 已通过 | 审核状态 |
| 6 | recommend | int | 10 | 0 | N | N | 0 | 智能推荐 |
| 7 | user_id | int | 10 | 0 | N | N | 0 | 用户ID |
| 8 | create_time | datetime | 19 | 0 | N | N | CURRENT_TIMESTAMP | 创建时间 |
| 9 | update_time | timestamp | 19 | 0 | N | N | CURRENT_TIMESTAMP | 更新时间 |
表college_review (学院审核)
| 编号 | 名称 | 数据类型 | 长度 | 小数位 | 允许空值 | 主键 | 默认值 | 说明 |
| 1 | college_review_id | int | 10 | 0 | N | Y | 学院审核ID | |
| 2 | major | varchar | 64 | 0 | Y | N | 专业 | |
| 3 | grade | varchar | 64 | 0 | Y | N | 年级 | |
| 4 | class_name | varchar | 64 | 0 | Y | N | 班级名称 | |
| 5 | student_id | varchar | 64 | 0 | N | N | 学号 | |
| 6 | full_name | varchar | 64 | 0 | Y | N | 姓名 | |
| 7 | gender | varchar | 64 | 0 | Y | N | 性别 | |
| 8 | total_credits_required | varchar | 64 | 0 | Y | N | 应修总学分 | |
| 9 | total_credits_completed | varchar | 64 | 0 | Y | N | 已修总学分 | |
| 10 | general_education_required_subjects | varchar | 64 | 0 | Y | N | 通识教育必修课 | |
| 11 | general_education_elective_subjects | varchar | 64 | 0 | Y | N | 通识教育选修课 | |
| 12 | compulsory_courses_for_major_disciplines | varchar | 64 | 0 | Y | N | 学科大类必修课 | |
| 13 | elective_courses_for_major_disciplines | varchar | 64 | 0 | Y | N | 学科大类选修课 | |
| 14 | professional_compulsory_courses | varchar | 64 | 0 | Y | N | 专业必修课 | |
| 15 | professional_elective_courses | varchar | 64 | 0 | Y | N | 专业选修课 | |
| 16 | practical_teaching_process | varchar | 64 | 0 | Y | N | 实践教学环节 | |
| 17 | internship_training | varchar | 64 | 0 | Y | N | 实习实训 | |
| 18 | teacher_education_compulsory_course | varchar | 64 | 0 | Y | N | 教师教育必修课 | |
| 19 | teacher_education_elective_course | varchar | 64 | 0 | Y | N | 教师教育选修课 | |
| 20 | personalized_courses | varchar | 64 | 0 | Y | N | 个性课程 | |
| 21 | innovation_and_entrepreneurship_course | varchar | 64 | 0 | Y | N | 创新创业课 | |
| 22 | second_class_compulsory | varchar | 64 | 0 | Y | N | 第二课堂必修 | |
| 23 | second_topic_elective_course | varchar | 64 | 0 | Y | N | 第二课题选修 | |
| 24 | physical_fitness_test | varchar | 64 | 0 | Y | N | 体质测试 | |
| 25 | enrollment_status | varchar | 64 | 0 | Y | N | 就读状态 | |
| 26 | compulsory_courses_failing_courses | varchar | 64 | 0 | Y | N | 必修课不及格课程 | |
| 27 | recommend | int | 10 | 0 | N | N | 0 | 智能推荐 |
| 28 | create_time | datetime | 19 | 0 | N | N | CURRENT_TIMESTAMP | 创建时间 |
| 29 | update_time | timestamp | 19 | 0 | N | N | CURRENT_TIMESTAMP | 更新时间 |
表credit_review (学分审核)
| 编号 | 名称 | 数据类型 | 长度 | 小数位 | 允许空值 | 主键 | 默认值 | 说明 |
| 1 | credit_review_id | int | 10 | 0 | N | Y | 学分审核ID | |
| 2 | student_users | int | 10 | 0 | Y | N | 0 | 学生用户 |
| 3 | student_id | varchar | 64 | 0 | N | N | 学生学号 | |
| 4 | student_name | varchar | 64 | 0 | Y | N | 学生姓名 | |
| 5 | college_name | varchar | 64 | 0 | Y | N | 学院名称 | |
| 6 | class_name | varchar | 64 | 0 | Y | N | 班级名称 | |
| 7 | credit_type | varchar | 64 | 0 | Y | N | 学分类型 | |
| 8 | course_credit | varchar | 64 | 0 | Y | N | 课程学分 | |
| 9 | internship_credits | varchar | 64 | 0 | Y | N | 实习学分 | |
| 10 | graduation_thesis_credits | varchar | 64 | 0 | Y | N | 毕业论文学分 | |
| 11 | graduation_design_credits | varchar | 64 | 0 | Y | N | 毕业设计学分 | |
| 12 | compulsory_courses_in_the_second_classroom | varchar | 64 | 0 | Y | N | 第二课堂必修课 | |
| 13 | second_class_elective_course | varchar | 64 | 0 | Y | N | 第二课堂选修课 | |
| 14 | total_credits | varchar | 64 | 0 | Y | N | 总学分 | |
| 15 | remarks | text | 65535 | 0 | Y | N | 备注信息 | |
| 16 | teacher_review | varchar | 64 | 0 | Y | N | 教师审核 | |
| 17 | reviewed_by_the_secretary | varchar | 64 | 0 | Y | N | 书记审核 | |
| 18 | deans_review | varchar | 64 | 0 | Y | N | 院长审核 | |
| 19 | is_there_any_breaking_condition | varchar | 64 | 0 | Y | N | 是否有破格条件 | |
| 20 | whether_to_suspend_school | varchar | 64 | 0 | Y | N | 是否休学 | |
| 21 | whether_to_drop_out_of_school | varchar | 64 | 0 | Y | N | 是否退学 | |
| 22 | whether_to_issue_a_graduation_certificate | varchar | 64 | 0 | Y | N | 是否发放毕业证书 | |
| 23 | notes_details | text | 65535 | 0 | Y | N | 备注详情 | |
| 24 | recommend | int | 10 | 0 | N | N | 0 | 智能推荐 |
| 25 | create_time | datetime | 19 | 0 | N | N | CURRENT_TIMESTAMP | 创建时间 |
| 26 | update_time | timestamp | 19 | 0 | N | N | CURRENT_TIMESTAMP | 更新时间 |
表hits (用户点击)
| 编号 | 名称 | 数据类型 | 长度 | 小数位 | 允许空值 | 主键 | 默认值 | 说明 |
| 1 | hits_id | int | 10 | 0 | N | Y | 点赞ID: | |
| 2 | user_id | int | 10 | 0 | N | N | 0 | 点赞人: |
| 3 | create_time | timestamp | 19 | 0 | N | N | CURRENT_TIMESTAMP | 创建时间: |
| 4 | update_time | timestamp | 19 | 0 | N | N | CURRENT_TIMESTAMP | 更新时间: |
| 5 | source_table | varchar | 255 | 0 | Y | N | 来源表: | |
| 6 | source_field | varchar | 255 | 0 | Y | N | 来源字段: | |
| 7 | source_id | int | 10 | 0 | N | N | 0 | 来源ID: |
表leading_users_of_the_hospital (院领导用户)
| 编号 | 名称 | 数据类型 | 长度 | 小数位 | 允许空值 | 主键 | 默认值 | 说明 |
| 1 | leading_users_of_the_hospital_id | int | 10 | 0 | N | Y | 院领导用户ID | |
| 2 | user_name | varchar | 64 | 0 | Y | N | 用户姓名 | |
| 3 | user_gender | varchar | 64 | 0 | Y | N | 用户性别 | |
| 4 | user_age | varchar | 64 | 0 | Y | N | 用户年龄 | |
| 5 | examine_state | varchar | 16 | 0 | N | N | 已通过 | 审核状态 |
| 6 | recommend | int | 10 | 0 | N | N | 0 | 智能推荐 |
| 7 | user_id | int | 10 | 0 | N | N | 0 | 用户ID |
| 8 | create_time | datetime | 19 | 0 | N | N | CURRENT_TIMESTAMP | 创建时间 |
| 9 | update_time | timestamp | 19 | 0 | N | N | CURRENT_TIMESTAMP | 更新时间 |
表school_leaders_and_users (校领导用户)
| 编号 | 名称 | 数据类型 | 长度 | 小数位 | 允许空值 | 主键 | 默认值 | 说明 |
| 1 | school_leaders_and_users_id | int | 10 | 0 | N | Y | 校领导用户ID | |
| 2 | user_name | varchar | 64 | 0 | Y | N | 用户姓名 | |
| 3 | user_gender | varchar | 64 | 0 | Y | N | 用户性别 | |
| 4 | user_age | varchar | 64 | 0 | Y | N | 用户年龄 | |
| 5 | examine_state | varchar | 16 | 0 | N | N | 已通过 | 审核状态 |
| 6 | recommend | int | 10 | 0 | N | N | 0 | 智能推荐 |
| 7 | user_id | int | 10 | 0 | N | N | 0 | 用户ID |
| 8 | create_time | datetime | 19 | 0 | N | N | CURRENT_TIMESTAMP | 创建时间 |
| 9 | update_time | timestamp | 19 | 0 | N | N | CURRENT_TIMESTAMP | 更新时间 |
表score_review (成绩审核)
| 编号 | 名称 | 数据类型 | 长度 | 小数位 | 允许空值 | 主键 | 默认值 | 说明 |
| 1 | score_review_id | int | 10 | 0 | N | Y | 成绩审核ID | |
| 2 | student_users | int | 10 | 0 | Y | N | 0 | 学生用户 |
| 3 | student_id | varchar | 64 | 0 | N | N | 学生学号 | |
| 4 | student_name | varchar | 64 | 0 | Y | N | 学生姓名 | |
| 5 | college_name | varchar | 64 | 0 | Y | N | 学院名称 | |
| 6 | major | varchar | 64 | 0 | Y | N | 专业 | |
| 7 | class_name | varchar | 64 | 0 | Y | N | 班级名称 | |
| 8 | achievement | varchar | 64 | 0 | Y | N | 成绩 | |
| 9 | gpa | varchar | 64 | 0 | Y | N | 绩点 | |
| 10 | total_number_of_courses | varchar | 64 | 0 | Y | N | 课程总数 | |
| 11 | professional_courses | varchar | 64 | 0 | Y | N | 专业课 | |
| 12 | elective_courses | varchar | 64 | 0 | Y | N | 选修课 | |
| 13 | remarks | text | 65535 | 0 | Y | N | 备注信息 | |
| 14 | teacher_review | varchar | 64 | 0 | Y | N | 教师审核 | |
| 15 | reviewed_by_the_secretary | varchar | 64 | 0 | Y | N | 书记审核 | |
| 16 | deans_review | varchar | 64 | 0 | Y | N | 院长审核 | |
| 17 | is_there_any_breaking_condition | varchar | 64 | 0 | Y | N | 是否有破格条件 | |
| 18 | whether_to_suspend_school | varchar | 64 | 0 | Y | N | 是否休学 | |
| 19 | whether_to_drop_out_of_school | varchar | 64 | 0 | Y | N | 是否退学 | |
| 20 | notes_details | text | 65535 | 0 | Y | N | 备注详情 | |
| 21 | recommend | int | 10 | 0 | N | N | 0 | 智能推荐 |
| 22 | create_time | datetime | 19 | 0 | N | N | CURRENT_TIMESTAMP | 创建时间 |
| 23 | update_time | timestamp | 19 | 0 | N | N | CURRENT_TIMESTAMP | 更新时间 |
表student_data (学生数据)
| 编号 | 名称 | 数据类型 | 长度 | 小数位 | 允许空值 | 主键 | 默认值 | 说明 |
| 1 | student_data_id | int | 10 | 0 | N | Y | 学生数据ID | |
| 2 | college_name | varchar | 64 | 0 | Y | N | 学院名称 | |
| 3 | number_of_graduates | varchar | 64 | 0 | Y | N | 毕业人数 | |
| 4 | number_of_employees_in_four_industries | varchar | 64 | 0 | Y | N | 肆业人数 | |
| 5 | recording_personnel | varchar | 64 | 0 | Y | N | 记录人员 | |
| 6 | remarks | text | 65535 | 0 | Y | N | 备注信息 | |
| 7 | recommend | int | 10 | 0 | N | N | 0 | 智能推荐 |
| 8 | create_time | datetime | 19 | 0 | N | N | CURRENT_TIMESTAMP | 创建时间 |
| 9 | update_time | timestamp | 19 | 0 | N | N | CURRENT_TIMESTAMP | 更新时间 |
表student_users (学生用户)
| 编号 | 名称 | 数据类型 | 长度 | 小数位 | 允许空值 | 主键 | 默认值 | 说明 |
| 1 | student_users_id | int | 10 | 0 | N | Y | 学生用户ID | |
| 2 | student_id | varchar | 64 | 0 | N | N | 学生学号 | |
| 3 | student_name | varchar | 64 | 0 | Y | N | 学生姓名 | |
| 4 | student_gender | varchar | 64 | 0 | Y | N | 学生性别 | |
| 5 | student_age | varchar | 64 | 0 | Y | N | 学生年龄 | |
| 6 | examine_state | varchar | 16 | 0 | N | N | 已通过 | 审核状态 |
| 7 | recommend | int | 10 | 0 | N | N | 0 | 智能推荐 |
| 8 | user_id | int | 10 | 0 | N | N | 0 | 用户ID |
| 9 | create_time | datetime | 19 | 0 | N | N | CURRENT_TIMESTAMP | 创建时间 |
| 10 | update_time | timestamp | 19 | 0 | N | N | CURRENT_TIMESTAMP | 更新时间 |
- 4 章 关键模块的设计与实现
管理员、班主任、校领导、院领导和学生在登录界面输入账号+密码,点击“登录”按钮,系统在用户数据库表中会对管理员、班主任和学生的账号进行匹配,账号+密码正确的话,就会登录到系统中各个用户的主管理界面,否则提示对应的信息,返回到登录的界面,其主界面展示如下图4.1所示。

图4.1 登录界面图
登录关键代码如下所示。
/**
* 登录
* @param data
* @param httpServletRequest
* @return
*/
@PostMapping("login")
public Map<String, Object> login(@RequestBody Map<String, String> data, HttpServletRequest httpServletRequest) {
log.info("[执行登录接口]");
String username = data.get("username");
String email = data.get("email");
String phone = data.get("phone");
String password = data.get("password");
List resultList = null;
QueryWrapper wrapper = new QueryWrapper<User>();
Map<String, String> map = new HashMap<>();
if(username != null && "".equals(username) == false){
map.put("username", username);
resultList = service.selectBaseList(service.select(map, new HashMap<>()));
}
else if(email != null && "".equals(email) == false){
map.put("email", email);
resultList = service.selectBaseList(service.select(map, new HashMap<>()));
}
else if(phone != null && "".equals(phone) == false){
map.put("phone", phone);
resultList = service.selectBaseList(service.select(map, new HashMap<>()));
}else{
return error(30000, "账号或密码不能为空");
}
if (resultList == null || password == null) {
return error(30000, "账号或密码不能为空");
}
//判断是否有这个用户
if (resultList.size()<=0){
return error(30000,"用户不存在");
}
User byUsername = (User) resultList.get(0);
Map<String, String> groupMap = new HashMap<>();
groupMap.put("name",byUsername.getUserGroup());
List groupList = userGroupService.selectBaseList(userGroupService.select(groupMap, new HashMap<>()));
if (groupList.size()<1){
return error(30000,"用户组不存在");
}
UserGroup userGroup = (UserGroup) groupList.get(0);
//查询用户审核状态
if (!StringUtils.isEmpty(userGroup.getSourceTable())){
String res = service.selectExamineState(userGroup.getSourceTable(),byUsername.getUserId());
if (res==null){
return error(30000,"用户不存在");
}
if (!res.equals("已通过")){
return error(30000,"该用户审核未通过");
}
}
//查询用户状态
if (byUsername.getState()!=1){
return error(30000,"用户非可用状态,不能登录");
}
String md5password = service.encryption(password);
if (byUsername.getPassword().equals(md5password)) {
// 存储Token到数据库
AccessToken accessToken = new AccessToken();
accessToken.setToken(UUID.randomUUID().toString().replaceAll("-", ""));
accessToken.setUser_id(byUsername.getUserId());
tokenService.save(accessToken);
// 返回用户信息
JSONObject user = JSONObject.parseObject(JSONObject.toJSONString(byUsername));
user.put("token", accessToken.getToken());
JSONObject ret = new JSONObject();
ret.put("obj",user);
return success(ret);
} else {
return error(30000, "账号或密码不正确");
}
}
public String select(Map<String,String> query,Map<String,String> config){
StringBuffer sql = new StringBuffer("select ");
sql.append(config.get(FindConfig.FIELD) == null || "".equals(config.get(FindConfig.FIELD)) ? "*" : config.get(FindConfig.FIELD)).append(" ");
sql.append("from ").append("`").append(table).append("`").append(toWhereSql(query, "0".equals(config.get(FindConfig.LIKE))));
if (config.get(FindConfig.GROUP_BY) != null && !"".equals(config.get(FindConfig.GROUP_BY))){
sql.append("group by ").append(config.get(FindConfig.GROUP_BY)).append(" ");
}
if (config.get(FindConfig.ORDER_BY) != null && !"".equals(config.get(FindConfig.ORDER_BY))){
sql.append("order by ").append(config.get(FindConfig.ORDER_BY)).append(" ");
}
if (config.get(FindConfig.PAGE) != null && !"".equals(config.get(FindConfig.PAGE))){
int page = config.get(FindConfig.PAGE) != null && !"".equals(config.get(FindConfig.PAGE)) ? Integer.parseInt(config.get(FindConfig.PAGE)) : 1;
int limit = config.get(FindConfig.SIZE) != null && !"".equals(config.get(FindConfig.SIZE)) ? Integer.parseInt(config.get(FindConfig.SIZE)) : 10;
sql.append(" limit ").append( (page-1)*limit ).append(" , ").append(limit);
}
log.info("[{}] - 查询操作,sql: {}",table,sql);
return sql.toString();
}
public List selectBaseList(String select) {
List<Map<String,Object>> mapList = baseMapper.selectBaseList(select);
List<E> list = new ArrayList<>();
for (Map<String,Object> map:mapList) {
list.add(JSON.parseObject(JSON.toJSONString(map),eClass));
}
return list;
}
-
- 用户管理模块
管理员可以对系统中所有的用户角色进行管控,包含了管理员、学生用户、班主任用户、校领导用户以及院领导用户这五种角色,如果需要添加新的用户,点击页面中的“添加”按钮根据提示输入上用户信息,点击“提交”以后在对应的用户界面就可以查看到了,可以点击用户后面的“删除”按钮直接删除某一用户,这里以学生用户为例。界面如下图4.2所示。

图4.2 用户管理界面图
用户管理关键代码如下所示。
public List selectBaseList(String select) {
List<Map<String,Object>> mapList = baseMapper.selectBaseList(select);
List<E> list = new ArrayList<>();
for (Map<String,Object> map:mapList) {
list.add(JSON.parseObject(JSON.toJSONString(map),eClass));
}
return list;
}
-
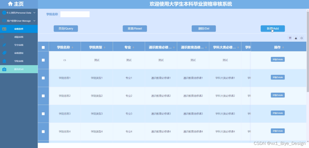
- 审核条件模块
管理员点击“审核条件”会显示出所有的审核条件信息,支持通过学院名称或者学院类型对审核条件信息进行查询,如果想要添加新的审核条件信息,点击“添加”按钮,输入相关信息,点击“提交”按钮就可以添加了,同时可以选择某一条审核条件信息,点击“删除”进行删除。界面如下图4.3所示。

图4.3 审核条件界面图
审核条件关键代码如下所示。
@RequestMapping("/get_obj")
public Map<String, Object> obj(HttpServletRequest request) {
List resultList = service.selectBaseList(service.select(service.readQuery(request), service.readConfig(request)));
if (resultList.size() > 0) {
JSONObject jsonObject = new JSONObject();
jsonObject.put("obj",resultList.get(0));
return success(jsonObject);
} else {
return success(null);
}
}
-
- 成绩审核模块
管理员点击“成绩审核”会显示出所有的成绩审核信息,支持通过学生用户或者学生姓名或者学院名称对成绩审核信息进行查询,如果想要添加新的成绩审核信息,点击“添加”按钮,输入相关信息,点击“提交”按钮就可以添加了,同时可以选择某一条成绩审核信息,点击“删除”进行删除。界面如下图4.4所示。

图4.4 成绩审核界面图
-
- 学分审核模块
管理员点击“学分审核”会显示出所有的学分审核信息,支持通过学生用户或者学生姓名或者学院名称对学分审核信息进行查询,如果想要添加新的学分审核信息,点击“添加”按钮,输入相关信息,点击“提交”按钮就可以添加了,同时可以选择某一条学分审核信息,点击“删除”进行删除。界面如下图4.5所示。

图4.5 学分审核界面图
-
- 学院审核模块
管理员点击“学院审核”会显示出所有的学院审核信息,支持通过专业或者年级对学院审核信息进行查询,如果想要添加新的学院审核信息,点击“添加”按钮,输入相关信息,点击“提交”按钮就可以添加了,同时可以选择某一条学院审核信息,点击“删除”进行删除。界面如下图4.6所示。

图4.6 学院审核界面图
-
- 审核通知模块
管理员点击“审核通知”会显示出所有的审核通知信息,支持通过通知编号或者通知标题对审核通知信息进行查询,如果想要添加新的审核通知信息,点击“添加”按钮,输入相关信息,点击“提交”按钮就可以添加了,同时可以选择某一条审核通知信息,点击“删除”进行删除。界面如下图4.7所示。

图4.7 审核通知界面图
-
- 个人信息模块
管理员、班主任用户、学生用户、校领导用户和院领导用户点击“个人信息”按钮,可以对个人的头像、昵称、手机号码等信息进行更新;个人信息界面如下图4.8所示。

图4.8 个人信息界面图
通过前面章节的介绍,我们可以看到本大学生本科毕业资格审核系统已经完成了,但是能不能投入使用还是未知,因为在每个项目正式使用之前必须对开发的项目进行测试,如果不进行测试一旦投入使用可能会出现很多未可知的问题,比如使用人数太多导致系统瘫痪,比如某一功能存在bug信息填写错误等等,这些错误将给使用者带来很多的困扰,甚至造成更大的损失,因此测试是项目投入使用的最后一步,为用户提供一个运行顺畅、完美的项目也就是我们进行最后测试的目的。
用户登录功能测试:
表5.1 用户登录功能测试表
| 测试名称 | 测试功能 | 操作过程 | 预期结果 | 测试结果 |
| 用户登录模块测试 | 用户登录成功的情况 | 点击前登录界面输入账号和密码分别输入admin和admin后点击“登录”按钮。 | 登录成功并调整到用户界面 | 正确 |
审核条件信息添加功能测试:
表5.2 审核条件信息添加功能测试表
| 测试名称 | 测试功能 | 操作过程 | 预期结果 | 测试结果 |
| 审核条件添加模块测试 | 审核条件添加成功的情况 | 在审核条件的页面中将点击添加,输入审核条件关信息,输入正确的信息后然后点击“提交”按钮。 | 提示添加成功 | 正确 |
| 审核条件添加模块测试 | 审核条件添加失败的情况 | 在审核条件页面中不填写的学院名称,其他信息正常输入“提交”按钮。 | 提示“添加失败,信息不能为空” | 正确 |
查询成绩审核信息功能模块测试:
表5.3 查询成绩审核信息功能测试表
| 测试名称 | 测试功能 | 操作过程 | 预期结果 | 测试结果 |
| 查询成绩审核信息功能测试 | 查询成功的情况 | 在成绩审核界面输入学生用户或者学生姓名进行查询 | 查询成功 | 正确 |
审核通知信息添加功能测试:
表5.4 审核通知添加功能测试表
| 测试名称 | 测试功能 | 操作过程 | 预期结果 | 测试结果 |
| 审核通知添加模块测试 | 审核通知添加成功的情况 | 在审核通知的页面中将点击添加,输入通知相关信息,输入正确的信息后然后点击“提交”按钮。 | 提示添加成功 | 正确 |
| 审核通知添加模块测试 | 审核通知添加失败的情况 | 在审核通知页面中不填写的通知编号或者通知标题,其他信息正常输入“提交”按钮。 | 提示“添加失败,信息不能为空” | 正确 |
通过编写大学生本科毕业资格审核系统的测试用例,已经检测完毕用户的登录模块、审核条件信息添加模块、查询成绩审核模块、审核通知添加模块的功能测试,在对以上功能得测试过程中,发现了系统中的很多漏送并进行了完善,经过多人在线进行测试,系统完全可以正常运行,当然在后期的维护中系统将不断完善。
在开发本大学生本科毕业资格审核系统之前我胸有成竹,觉得很简单,但在实际的开发中我发现了自身的很多问题,许多编程思想和方法都还没有掌握牢靠,比如Bootsatrp、Jquery、AJAX 、Spring、SpringMVC、mybeatis等许多Java Web开发技术,通过开发这个大学生本科毕业资格审核系统我成长了很多,懂得了做什么事情都要脚踏实地,不能眼高手低,在本次大学生本科毕业资格审核系统的开发中我逐渐掌握逐渐熟悉的技术。
本次大学生本科毕业资格审核系统的开发中我还学会了例如良好的编程思想和完善的规划思想。在着手编程之前需要罗列出程序框架的大概,脑海中构建出程序的主题框架。做好这一步我们才能胸有成竹的经行开发项目。当设计框架了熟于心之后,需要思考本次编程所需的主要知识点和技术点,并充分学习。如此一来项目的开发才能循序渐进、如丝般顺滑,长久以往就能养成良好的开发习惯。一个程序好不好还要看出的bug多不多,如果在项目完成前做好bug的查验与预防可能发生的事故才能保证程序的稳定长久性运行。如果项目在完工后出现各种问题自己,那么在进入社会后,不仅会给公司团队带来麻烦和增加不必要的工作,还会导致客户流失,公司对自己的评价下降。
在本次项目中我也暴露了诸多问题。对于Java的编程知识有所欠缺,环境配置和算法上出现诸多问题,时常导致项目运行出错,或者目标的实现有问题。或者实现想法时算法未优化,使得代码冗长,程序运行不顺畅。
[1]张浩.SSM框架在Web应用开发中的设计与实现研究[J].电脑知识与技术,2023,19(08):52-54.DOI:10.14004/j.cnki.ckt.2023.0353.
[2]伍德鹏,李佩学.基于SSM框架的高职院校教学办公用品管理信息系统设计研究[J].轻工科技,2023,39(01):99-101.
[3]张丽景,张文川.基于对比分析法的高职“MySQL数据库”课程设计——以兰州石化职业技术大学为例[J].现代信息科技,2022,6(21):188-191.DOI:10.19850/j.cnki.2096-4706.2022.21.046.
[4]梁倩,文建平. 一种基于SSM框架的云笔记系统[P]. 天津市:CN115248676A,2022-10-28.
[5]谢霜.基于Java技术的网络管理体系结构的应用[J].网络安全技术与应用,2022(10):14-15.
[6]吴泽君. 基于自然语言处理的JavaScript引擎定向模糊测试技术研究[D].战略支援部队信息工程大学,2022.DOI:10.27188/d.cnki.gzjxu.2022.000128.
[7]苏婉怡,揣小龙,赵国松,王煜尧.基于Java技术的考试系统关键点研究[J].无线互联科技,2022,19(18):58-60.
[8]Witsarut Sriratana,Vittaya Khagwian,Sutham Satthamsakul. Analysis of Electric Current by Using MySQL Database on Web Server for Machine Performance Evaluation: A Case Study of Air Conditioning System[J]. 제어로봇시스템학회 국제학술대회 논문집,2020.
[9]. Information Technology - Data Management; Data on Data Management Reported by Researchers at Port Said University (Performance Evaluation of Iot Data Management Using Mongodb Versus Mysql Databases In Different Cloud Environments)[J]. Computer Technology Journal,2020.
[10]刘元超.本科毕业资格及学位资格审核工作优化研究[J].当代教育实践与教学研究,2020(11):99-100.DOI:10.16534/j.cnki.cn13-9000/g.2020.1243.
[11]Margaretha Ohyver,Jurike V. Moniaga,Iwa Sungkawa,Bonifasius Edwin Subagyo,Ian Argus Chandra. The Comparison Firebase Realtime Database and MySQL Database Performance using Wilcoxon Signed-Rank Test[J]. Procedia Computer Science,2019,157(C).
[12]方春露,杨文琦,陈滔等. 基于Javaweb技术广东省学生体质争优运动处方数据库和视频库的构建[C]//中国生理学会运动生理学专业委员会,北京体育大学.2018年中国生理学会运动生理学专业委员会会议暨“科技创新与运动生理学”学术研讨会论文集.2018年中国生理学会运动生理学专业委员会会议暨“科技创新与运动生理学”学术研讨会论文集,2018:161-162.
[13]张肖如,陈丽婷,刘莉.基于RoR的高校毕业审核系统设计与实现[J].软件导刊,2017,16(06):81-83.
[14]秦立珍,陈荣军.本科毕业资格及学位资格审核工作探索——以常州工学院为例[J].常州工学院学报,2017,30(01):88-91.
[15]张金浩. 江门市第一职业高级中学毕业审核管理系统的研究与分析[D].云南大学,2016.
致谢
至此论文结束,感谢您的阅读。在此我要特别的感谢我的导师,虽然我在实习期间很忙,论文撰写的时候经常是停停改改,但是我的导师依旧十分的负责,时不时的询问我的任务进展情况,跟进我的论文进度,在指导老师的帮助下,我逐步完成了自己的论文和程序,从导师身上也学习到很多知识和经验,这些知识和经验令我受益匪浅。同时我也从导师身上看到了自己的不足,不论是在技术层面上还是在对待工作的态度上,导师如同明镜一般照出了我的缺点我的不足。此外,我还要感谢在我实习期间在论文和程序上帮助过我的同学和社会人士,此前我对于SSM框架方面的一些知识还不了解,是他们在我编写程序过程中给了我很多的启发和感想,也帮助了我对于程序的调试和检测。没有他们我是不能顺利完成本次毕业设计的。至此,我的毕业设计就花上了一个圆满的句号了。
免费领取项目源码,请关注❥点赞收藏并私信博主,谢谢~
本文围绕大学生本科毕业资格审核系统展开,分析了开发背景与意义,采用面向对象开发模式,以MySQL为后台数据存储,运用Java、Ajax技术编码开发。介绍了系统功能模块、数据库设计,经测试可正常运行,开发过程中开发者也积累了经验。
1796

被折叠的 条评论
为什么被折叠?



