摘 要
21世纪时信息化的时代,几乎任何一个行业都离不开计算机,将计算机运用于停车场管理也是十分常见的。过去使用手工的管理方式对停车场进行管理,造成了管理繁琐、难以维护等问题,如今使用计算机对停车场的各项基本信息进行管理,比起手工管理来说既方便又简单,而且具有易于管理、搜索速度快、存储量大等多个优点。将其使用在停车场管理中,不仅能够提高停车场管理中管理员的工作效率,而且可以使停车场管理更加科学与规范。在信息化时代的不断冲击下,停车场管理与计算机技术的结合,将会是一条提高停车场管理水平的捷径。
该系统采用SSM框架、JSP技术、Ajax技术进行业务系统的编码及其开发,实现了本系统的全部功能。本系统采取组件化的方式对系统进行拆分,并对数据库中各个表的增删查改、表与表之间的约束关系进行分析与设计,最终实现符合用户需求功能的商业级应用。
关键词:SSM框架;MySQL数据库;智能停车系统;
SSM Intelligent Parking lot management system
Abstract
In the information age in the 21st century, almost any industry is inseparable from computers. It is also very common to apply computers to parking lot management. In the past, the manual management method was used to manage the parking lot, which caused the problems of cumbersome management and difficult maintenance. Now, using the computer to manage the basic information of the parking lot is not only convenient and simple compared with the manual management, but also has many advantages, such as easy management, fast search speed, large storage capacity and so on. Using it in parking lot management can not only improve the work efficiency of administrators in parking lot management, but also make parking lot management more scientific and standardized. Under the continuous impact of the information age, the combination of parking lot management and computer technology will be a shortcut to improve the level of parking lot management.
The system adopts SSM framework, JSP technology and Ajax technology to code and develop the business system, and realizes all the functions of the system. The system adopts the component-based way to split the system, and analyzes and designs the addition, deletion, query and modification of each table in the database, and the constraint relationship between tables, so as to finally realize the commercial application that meets the needs of users.
Keywords: SSM framework; Mysql database; Intelligent parking lot management
目 录
近年来,随着社会的进步和发展,车辆也在迅速增加,车流量瓶颈不仅体现在道路交通的拥挤上,也体现在传统停车场管理效率和安全性大大滞后于社会的需要,给人们的生活带来了极大的不便。尤其,我国现代化进程的不断加快,私家车的数量急剧增加,各类停车场的车流量不断增多,对机动车的保管越来越成为社会倍受关注的问题,与之配套的智能停车系统应运而生。
随着汽车工业的迅猛发展,我国汽车拥有量急剧增加。停车场作为交通设施的组成部分,随着交通运输的繁忙和不断发展,人们对其管理的要求也不断提高,都希望管理能够达到方便、快捷以及安全的效果。停车场的规模各不相同,对其进行管理的模式也有不同之处,管理者需要根据自身的条件,选择应用经济、稳定的管理程序,以免选择了高成本的管理系统。
当前,在停车场的信息化过程中,有许多信息需要处理和管理。现今,有很多车位信息都是初步开始使用,甚至尚未使用计算机进行信息处理。根据调查得知,他们以前对信息管理的主要方式是基于文本、表格等纸介质的手工处理,对于管理过程中的很多信息都是用人工计算、手抄进行。数据信息处理工作量大,容易出错;由于数据繁多,容易丢失,且不易查找。总的来说,缺乏系统,规范的信息管理手段。
智能停车系统本着安全性、可靠性、实用性、开放性、可扩充性、高效性、智能化的指导思想和分布式结构进行设计,规划好系统硬件和软件功能模块的分工和协调。新型的智能化停车场将信息技术、建筑艺术、生活理念和电子技术等现代的高科技完美结合到一起,给人们提供的是一种使用方便、功能先进、操作简单的人性化系统。它以人为本,依靠高科技,采用人机图形化操作界面,提供给人一种更加安全、方便、舒适、开放、快捷和信息化、智能化的生活空间,大大的促进了人文环境的健康发展。
智能停车系统说到底也就是对停车场信息的数据化并进行统一系统化的管理,离不开数据库的操作与前台web页面的显示,我此次用到的就是这样的技术。
智能停车系统是现代化停车场车辆收费及设备自动化管理的统称,是将停车场完全臵于计算机管理下的高科技机电一体化产品。据恒业国际控股集团有限产品经理罗海江介绍,停车场智能管理系统兴起于2001年,发展到现在系统正日趋完善,功能越来越面向国内的实际需求,系统操作也更加人性化。如今智能智能停车系统已经经过了从早期对国外产品的跟随和模仿阶段,进入到了一个产品创新,紧随市场需求并不断壮大的阶段。目前国内停车场系统生产企业有400多家,其中国产停车场系统产品约占市场份额的80%左右,国外停车场系统市场占20%。而在欧美地区,据了解,欧洲一些国家的停车产业发展已有50年的历史,并已达到一种良性循环和有序发展。停车产业也已成为年产值数十亿美元的大产业。美国的停车产业每年收入约达260亿美元,占全美GDP的3.25%。
站在技术角度审视,国内停车场并非毫无瑕疵。据深圳市捷顺科技实业股份有限公司产品市场部副经理郭晓强介绍,目前国内停车场产品成熟度较低,技术水平和可靠性实际上还不能满足更高的要求,设备没有形成主流品牌,能提供成套设备的厂商更少,用户在设备选型时存在困难。一般的制造商生产规模都较小、技术力量弱,在品质管理和生产成本上都有一定难度。当然,智能停车系统的发展并没因此而止步,反而更为迅速。
本文的主要工作是研究如何将计算机和信息管理进行有机结合,从而利用SSM框架以及MySQL数据库技术中实现了系统的功能模块,切实的开发出一套贴近停车场管理的实际,有效管理停车场的系统。
论文结构如下:
第一章绪论:主要对智能停车系统的开发背景,研究现状,目的,及意义进行了分析。
第二章开发技术及软件:主要把系统开发工具进行介绍,另外讲解开发系统所用到的一些特殊功能技术。
第三章系统分析:主要是对智能停车系统进行需求分析,以及对其数据流程与功能进行分析。
第四章系统设计:主要根据系统需求对系统的设计进行介绍,以及对数据的开发与功能模块设计的过程。
第五章系统实现:本章主要结合系统界面截图,介绍了系统各个功能实现的结果。
第六章系统测试:本章系统进行功能模块的测试,撰写测试用例,确保系统各大功能准确无误。
第七章总结与展望:对整个论文的研究内容进行总结,概括整个论文的特点,指出不足之处,为下步深究指明方向。
- 相关技术介绍
- 开发技术
本系统前端部分基于MVVM模式进行开发,采用B/S模式,后端部分基于Java的ssm框架进行开发。
前端部分:前端框架采用了比较流行的渐进式JavaScript框架Vue.js。使用Vue-Router和Vuex实现动态路由和全局状态管理,Ajax实现前后端通信,Element UI组件库使页面快速成型,项目前端通过栅格布局实现响应式,可适应PC端、平板端、手机端等不同屏幕大小尺寸的完美布局展示。
后端部分:采用ssm作为开发框架,同时集成MyBatis、Redis等相关技术
-
- MVVM模式
MVVM是Model-View-ViewModel的简写。它本质上就是MVC 的改进版。MVVM 就是将其中的View 的状态和行为抽象化,让我们将视图 UI 和业务逻辑分开。当然这些事 ViewModel 已经帮我们做了,它可以取出 Model 的数据同时帮忙处理 View 中由于需要展示内容而涉及的业务逻辑。微软的WPF带来了新的技术体验,如Silverlight、音频、视频、3D、动画……,这导致了软件UI层更加细节化、可定制化。同时,在技术层面,WPF也带来了 诸如Binding、Dependency Property、Routed Events、Command、DataTemplate、ControlTemplate等新特性。MVVM(Model-View-ViewModel)框架的由来便是MVP(Model-View-Presenter)模式与WPF结合的应用方式时发展演变过来的一种新型架构框架。它立足于原有MVP框架并且把WPF的新特性糅合进去,以应对客户日益复杂的需求变化。
-
- SQLserver数据库
科技的进步,给日常带来许多便利:宿舍的投影器用到了虚拟成像技术,数码相机用到了光电检测技术,比如超市货物进出库的记录需要一个信息仓库。这个信息仓库就是数据库,而这次的学生后勤保障系统也需要这项技术的支持,SQlserver数据库的优点如下:
(2)系统管理先进,支持Windows图形化管理具,支持本地和远程的系统管理和配置。
(3)强壮的事务处理功能,采各种方法保证数据的完整性。
(4)支持对称多处理器结构、存储过程、ODBC, 犋有自主的SQL语言。SQL Serverl以其内置的数据复制功能、强大的管理工具与Internet的紧密集成和开放的系统结构为广大的用户、开发人员和系统集成商提供了一个出众的数据库平台。
-
- B/S结构
B/S(Browser/Server)比前身架构更为省事的架构。它借助Web server完成数据的传递交流。只需要下载浏览器作为客户端,那么工作就达到“瘦身”效果, 不需要考虑不停装软件的问题。
SSM即SpringMVVM+Spring+MySQL,这三个框架有各自最独有的优势,那么将它们组合在一起能够碰撞出很强的火花。设计者在不需消耗大量功夫,能做出Web应用程序,而且这个程序还具有层次清晰、升级更新操作不影响正常使用的、允许多次使用的特点。这个复合框架形成一个有着结构完整、功能强大和结构良好的体系:SpringMVVM使各板块分离,Spring使开发更灵活方便,让开发者直接对对象进行操纵,各层次分工明细,并实现各个层次间的解耦,让代码更加的灵活精简。这个框架使程序员能够规避在开发时期避免个别错误导致整体被破坏,也能在后期应对客户对产品提出的新需求。
-
- ssm框架各层关系:
DAO层、Service层这两个层次都可以单独开发,互相的耦合度很低,完全可以独立进行,这样的一种模式在开发大项目的过程中尤其有优势。
Controller,View层因为耦合度比较高,因而要结合在一起开发,但是也可以看作一个整体独立于前两个层进行开发。这样,在层与层之前只需要知道接口的定义,调用接口即可完成所需要的逻辑单元应用,一切显得非常清晰简单。
开发任何一个系统,都要对其可行性进行分析,对其时间和资源上的限制进行考虑,这样可以减少系统开发的风险。同时,分析之后不仅能够合理的运用人力,还能在各方面资源的消耗上得到节省。下面就对技术、经济和社会三个方面来介绍。
技术可行性主要考虑当前项目所用的技术是否能够符合,在设备上是否能够满足,及各种辅助工具是否提供帮助。本系统用的是java开发语言,调试相对简单,当前的计算机硬件配置也完全能满足开发的需求,因此在技术上是绝对可行的。软件方面:由于软件的开发平台成熟可行,它们速度快、容量大、可靠性能高、价格低,完全能满足系统的需求。采用java编程语言,已无技术上的问题。
系统所采用的SSM框架开发和MySQL后端数据库均为免费开发工具。故开发成本主要集中在后期的推广及系统维护上。相对于成本较高的C/S模式,也是选用了成本较低的B/S模式,所以经济上几乎没任何问题。
本系统是自行开发的系统,以方便高效管理停车场为出发点,是具有实际意义的系统,开发的环境软件和用到的数据库也都是开源代码,不存在侵权等问题,所以在社会方面也是可行的。
用户用例图如下所示。

图3-1 用户用例图
管理员用例图如下所示。

图3-2 管理员用例图
评判一个系统好坏的一项重要指标就是性能,下面是对此系统的一些性能进行阐述。
1.系统的安全性和稳定性: 智能停车系统在管理权限上有着严格的控制,即想登录此平台进行操作,则必须要有操作权限,没有权限的用户是不可能登录平台查看任何的信息和数据,从而确保了系统的安全性。
2.数据的完整性和准确性:第一个是各项记录信息的完整性,信息记录的内容可以为空;第二个是各项信息数据之间相互联系的准确性;第三个是数据在不同记录信息的一致性
3.用户操作系统简单方便
在系统开发中按照“简单易用”的原则,能够使用户对系统的使用一目了然,既能保证用户使用,同时又能保证维护人员方便维护。
在分析了系统的业务流程之后,就要分析系统的数据流,为后面设计系统的数据库做好基础。这里主要利用数据流程图来说明数据流程。数据流程图是一个图示工具,容易理解,容易在开发和用户方之间进行交流,以及在开发组织内部交流。因此数据流程图作为一种模型工具已经广泛使用在软件工程的实践中。
系统的顶层数据流图如下图所示。

图3-2系统数据流图(顶层)
根据系统的业务流程,用户浏览所使用到的数据归纳为输出信息。而用户提交的数据则作为系统的输入数据。相应的,根据系统管理员业务流程,管理员对系统内容的添加、更新和删除等所操作的数据定义为输入信息。
系统的底层数据流图如下图所示。

图3-3系统数据流图(底层)
MVVM 就是将其中的View 的状态和行为抽象化,让我们将视图 UI 和业务逻辑分开。当然这些事 ViewModel 已经帮我们做了,它可以取出 Model 的数据同时帮忙处理 View 中由于需要展示内容而涉及的业务逻辑。它强制性的把应用程序的输入、输出和处理全部分开,将其分为三个核心部分,这三个部分分别有不同的功能。

图4-1系统架构图
视图层视图是指被用户所看到的并且能够与之进行交互的界面。视图可以向用户展示相关的数据,并接收用户输入的数据,但对用户数据不进行任何实际业务操作处理。
模型层通过控制层来处理视图层传递的数据,同一个模型可以给不同的视图提供数据,也可以被不同的视图重复使用。由于 Model 的主要内容是数据、方法和行为,其也是 MVVM中逻辑最为复杂,代码量最多的部分,其中包含了许多应用中需要用到的业务逻辑,因此模型层的开发也变得尤为重要,后期一般不会对模型层进行大规模改动,也是 MVVM 中最稳定的部分。
控制层主要负责视图层和模型层之间的数据传输和处理请求操作。当用户通过视图发送数据和请求时,控制层可以接收请求和数据并决定调用哪些模型、通过模型的哪些操作来处理数据和请求,处理完成后,控制层再将数据返回给相应的视图。
根据对系统的功能进行分析可以总结智能停车系统的具体功能模块包括下面的几个主要的功能模块:该系统主要从两大模块进行设计的,首先就是用户参与操作需要的模块,此外还需要有管理员用到的模块,两者之间不是互相独立的,他们之间有着密切的联系,同数据库表中的数据连接起来进行操作。每个模块访问相同的数据库,但访问的表不同。系统的各个功能模块是根据所收集的资料研究得到的。在以上分析功能的基础上,系统模块分为多个模块。用户含有的功能有注册,登录,信息搜索,首页、用户管理(管理员、普通用户)更多管理(车位信息、停车场、停车信息、通知公告)管理等功能。
系统的功能结构图如下图所示。

图4-2系统功能结构图
用户模块主要实现用户的注册、登录、首页、公告信息、停车资讯、模块管理(车位信息、预约信息、缴费、停车信息)等功能。
用户注册:用户通过账号注册得到用户名和密码。
用户登录:用户在被管理员添加成功后,通过管理员提供的用户名、密码和输入验证码进行登录,操作非常简单。
个人资料管理:用户根据用户ID修改当前ID的一些属性的值。
车位管理信息:用户根据自己的需求选中某个车位进行预约停车入场操作。
停车信息:用户在停车需离开时在停车信息中进行计费离场。可在线缴费。
管理员模块是本系统重要开发部分,它的使用对象是系统管理员,在进入管理员模块前,需要输入正确的用户姓名、密码和验证码,才能进入管理员模块。界面右上方有退出系统按钮,点击可退出管理员模块界面。
个人信息管理:管理员可以根据管理员ID修改当前ID的一些属性值。
公共管理:管理员添加或删除轮播图与公告信息的权限
系统用户管理:管理员添加、管理、查询管理员信息并有修改他们密码的权限。
注册用户管理:管理员管理已注册的用户,审核刚注册的用户,修改用户的基本信息。
信息管理:停车资讯,管理员可添加或删除停车资讯信息。
车位信息,管理员可以查询、新增或删除车位信息
留言反馈,管理员可回复留言内容
E-R图一般是由实体、实体的属性与联系三个要素组成的。在规划系统中所使用的数据库实体对象及实体E-R图,则需要通过对系统的需求分析、业务流程设计和系统功能结构来确定的。
总体ER图如下图所示。

图4-3总体ER图
将实体属性模型转换为关系数据库应该遵循以下几个原则:
1.一个实体转换后要对应一个关系。
2.所有的主键必须要定义为非空(not null)。
3.针对二元联系也应该按照一对多、弱对实、一对一和多对多等联系来定义外键。
得到数据库的关系后,设计如下表结构。
-
- 表access_token (登陆访问时长)
| 编号 | 名称 | 数据类型 | 长度 | 小数位 | 允许空值 | 主键 | 默认值 | 说明 |
| 1 | token_id | int | 10 | 0 | N | Y | 临时访问牌ID | |
| 2 | token | varchar | 64 | 0 | Y | N | 临时访问牌 | |
| 3 | info | text | 65535 | 0 | Y | N | ||
| 4 | maxage | int | 10 | 0 | N | N | 2 | 最大寿命:默认2小时 |
| 5 | create_time | timestamp | 19 | 0 | N | N | CURRENT_TIMESTAMP | 创建时间: |
| 6 | update_time | timestamp | 19 | 0 | N | N | CURRENT_TIMESTAMP | 更新时间: |
| 7 | user_id | int | 10 | 0 | N | N | 0 | 用户编号: |
| 编号 | 名称 | 数据类型 | 长度 | 小数位 | 允许空值 | 主键 | 默认值 | 说明 |
| 1 | article_id | mediumint | 8 | 0 | N | Y | 文章id:[0,8388607] | |
| 2 | title | varchar | 125 | 0 | N | Y | 标题:[0,125]用于文章和html的title标签中 | |
| 3 | type | varchar | 64 | 0 | N | N | 0 | 文章分类:[0,1000]用来搜索指定类型的文章 |
| 4 | hits | int | 10 | 0 | N | N | 0 | 点击数:[0,1000000000]访问这篇文章的人次 |
| 5 | praise_len | int | 10 | 0 | N | N | 0 | 点赞数 |
| 6 | create_time | timestamp | 19 | 0 | N | N | CURRENT_TIMESTAMP | 创建时间: |
| 7 | update_time | timestamp | 19 | 0 | N | N | CURRENT_TIMESTAMP | 更新时间: |
| 8 | source | varchar | 255 | 0 | Y | N | 来源:[0,255]文章的出处 | |
| 9 | url | varchar | 255 | 0 | Y | N | 来源地址:[0,255]用于跳转到发布该文章的网站 | |
| 10 | tag | varchar | 255 | 0 | Y | N | 标签:[0,255]用于标注文章所属相关内容,多个标签用空格隔开 | |
| 11 | content | longtext | 2147483647 | 0 | Y | N | 正文:文章的主体内容 | |
| 12 | img | varchar | 255 | 0 | Y | N | 封面图 | |
| 13 | description | text | 65535 | 0 | Y | N | 文章描述 |
| 编号 | 名称 | 数据类型 | 长度 | 小数位 | 允许空值 | 主键 | 默认值 | 说明 |
| 1 | type_id | smallint | 5 | 0 | N | Y | 分类ID:[0,10000] | |
| 2 | display | smallint | 5 | 0 | N | N | 100 | 显示顺序:[0,1000]决定分类显示的先后顺序 |
| 3 | name | varchar | 16 | 0 | N | N | 分类名称:[2,16] | |
| 4 | father_id | smallint | 5 | 0 | N | N | 0 | 上级分类ID:[0,32767] |
| 5 | description | varchar | 255 | 0 | Y | N | 描述:[0,255]描述该分类的作用 | |
| 6 | icon | text | 65535 | 0 | Y | N | 分类图标: | |
| 7 | url | varchar | 255 | 0 | Y | N | 外链地址:[0,255]如果该分类是跳转到其他网站的情况下,就在该URL上设置 | |
| 8 | create_time | timestamp | 19 | 0 | N | N | CURRENT_TIMESTAMP | 创建时间: |
| 9 | update_time | timestamp | 19 | 0 | N | N | CURRENT_TIMESTAMP | 更新时间: |
| 编号 | 名称 | 数据类型 | 长度 | 小数位 | 允许空值 | 主键 | 默认值 | 说明 |
| 1 | auth_id | int | 10 | 0 | N | Y | 授权ID: | |
| 2 | user_group | varchar | 64 | 0 | Y | N | 用户组: | |
| 3 | mod_name | varchar | 64 | 0 | Y | N | 模块名: | |
| 4 | table_name | varchar | 64 | 0 | Y | N | 表名: | |
| 5 | page_title | varchar | 255 | 0 | Y | N | 页面标题: | |
| 6 | path | varchar | 255 | 0 | Y | N | 路由路径: | |
| 7 | position | varchar | 32 | 0 | Y | N | 位置: | |
| 8 | mode | varchar | 32 | 0 | N | N | _blank | 跳转方式: |
| 9 | add | tinyint | 3 | 0 | N | N | 1 | 是否可增加: |
| 10 | del | tinyint | 3 | 0 | N | N | 1 | 是否可删除: |
| 11 | set | tinyint | 3 | 0 | N | N | 1 | 是否可修改: |
| 12 | get | tinyint | 3 | 0 | N | N | 1 | 是否可查看: |
| 13 | field_add | text | 65535 | 0 | Y | N | 添加字段: | |
| 14 | field_set | text | 65535 | 0 | Y | N | 修改字段: | |
| 15 | field_get | text | 65535 | 0 | Y | N | 查询字段: | |
| 16 | table_nav_name | varchar | 500 | 0 | Y | N | 跨表导航名称: | |
| 17 | table_nav | varchar | 500 | 0 | Y | N | 跨表导航: | |
| 18 | option | text | 65535 | 0 | Y | N | 配置: | |
| 19 | create_time | timestamp | 19 | 0 | N | N | CURRENT_TIMESTAMP | 创建时间: |
| 20 | update_time | timestamp | 19 | 0 | N | N | CURRENT_TIMESTAMP | 更新时间: |
| 编号 | 名称 | 数据类型 | 长度 | 小数位 | 允许空值 | 主键 | 默认值 | 说明 |
| 1 | collect_id | int | 10 | 0 | N | Y | 收藏ID: | |
| 2 | user_id | int | 10 | 0 | N | N | 0 | 收藏人ID: |
| 3 | source_table | varchar | 255 | 0 | Y | N | 来源表: | |
| 4 | source_field | varchar | 255 | 0 | Y | N | 来源字段: | |
| 5 | source_id | int | 10 | 0 | N | N | 0 | 来源ID: |
| 6 | title | varchar | 255 | 0 | Y | N | 标题: | |
| 7 | img | varchar | 255 | 0 | Y | N | 封面: | |
| 8 | create_time | timestamp | 19 | 0 | N | N | CURRENT_TIMESTAMP | 创建时间: |
| 9 | update_time | timestamp | 19 | 0 | N | N | CURRENT_TIMESTAMP | 更新时间: |
| 编号 | 名称 | 数据类型 | 长度 | 小数位 | 允许空值 | 主键 | 默认值 | 说明 |
| 1 | comment_id | int | 10 | 0 | N | Y | 评论ID: | |
| 2 | user_id | int | 10 | 0 | N | N | 0 | 评论人ID: |
| 3 | reply_to_id | int | 10 | 0 | N | N | 0 | 回复评论ID:空为0 |
| 4 | content | longtext | 2147483647 | 0 | Y | N | 内容: | |
| 5 | nickname | varchar | 255 | 0 | Y | N | 昵称: | |
| 6 | avatar | varchar | 255 | 0 | Y | N | 头像地址:[0,255] | |
| 7 | create_time | timestamp | 19 | 0 | N | N | CURRENT_TIMESTAMP | 创建时间: |
| 8 | update_time | timestamp | 19 | 0 | N | N | CURRENT_TIMESTAMP | 更新时间: |
| 9 | source_table | varchar | 255 | 0 | Y | N | 来源表: | |
| 10 | source_field | varchar | 255 | 0 | Y | N | 来源字段: | |
| 11 | source_id | int | 10 | 0 | N | N | 0 | 来源ID: |
| 编号 | 名称 | 数据类型 | 长度 | 小数位 | 允许空值 | 主键 | 默认值 | 说明 |
| 1 | hits_id | int | 10 | 0 | N | Y | 点赞ID: | |
| 2 | user_id | int | 10 | 0 | N | N | 0 | 点赞人: |
| 3 | create_time | timestamp | 19 | 0 | N | N | CURRENT_TIMESTAMP | 创建时间: |
| 4 | update_time | timestamp | 19 | 0 | N | N | CURRENT_TIMESTAMP | 更新时间: |
| 5 | source_table | varchar | 255 | 0 | Y | N | 来源表: | |
| 6 | source_field | varchar | 255 | 0 | Y | N | 来源字段: | |
| 7 | source_id | int | 10 | 0 | N | N | 0 | 来源ID: |
| 编号 | 名称 | 数据类型 | 长度 | 小数位 | 允许空值 | 主键 | 默认值 | 说明 |
| 1 | message_feedback_id | int | 10 | 0 | N | Y | 留言反馈ID | |
| 2 | user_information | int | 10 | 0 | Y | N | 0 | 用户信息 |
| 3 | user_name | varchar | 64 | 0 | Y | N | 用户姓名 | |
| 4 | message_title | varchar | 64 | 0 | Y | N | 留言标题 | |
| 5 | message_content | text | 65535 | 0 | Y | N | 留言内容 | |
| 6 | content_reply | text | 65535 | 0 | Y | N | 内容回复 | |
| 7 | recommend | int | 10 | 0 | N | N | 0 | 智能推荐 |
| 8 | create_time | datetime | 19 | 0 | N | N | CURRENT_TIMESTAMP | 创建时间 |
| 9 | update_time | timestamp | 19 | 0 | N | N | CURRENT_TIMESTAMP | 更新时间 |
-
- 表parking_information (停车信息)
| 编号 | 名称 | 数据类型 | 长度 | 小数位 | 允许空值 | 主键 | 默认值 | 说明 |
| 1 | parking_information_id | int | 10 | 0 | N | Y | 停车信息ID | |
| 2 | user_information | int | 10 | 0 | Y | N | 0 | 用户信息 |
| 3 | parking_space_number | varchar | 64 | 0 | Y | N | 车位编号 | |
| 4 | parking_position | varchar | 64 | 0 | Y | N | 车位位置 | |
| 5 | parking_expenses | int | 10 | 0 | Y | N | 0 | 停车费用 |
| 6 | parking_duration | datetime | 19 | 0 | Y | N | 停车时间 | |
| 7 | license_plate | varchar | 64 | 0 | Y | N | 车牌号码 | |
| 8 | parking_time | int | 10 | 0 | Y | N | 0 | 停车时长 |
| 9 | total_expenses | varchar | 64 | 0 | Y | N | 总计费用 | |
| 10 | license_plate_photo | varchar | 255 | 0 | Y | N | 车牌照片 | |
| 11 | pay_state | varchar | 16 | 0 | N | N | 未支付 | 支付状态 |
| 12 | pay_type | varchar | 16 | 0 | Y | N | 支付类型: 微信、支付宝、网银 | |
| 13 | recommend | int | 10 | 0 | N | N | 0 | 智能推荐 |
| 14 | create_time | datetime | 19 | 0 | N | N | CURRENT_TIMESTAMP | 创建时间 |
| 15 | update_time | timestamp | 19 | 0 | N | N | CURRENT_TIMESTAMP | 更新时间 |
| 编号 | 名称 | 数据类型 | 长度 | 小数位 | 允许空值 | 主键 | 默认值 | 说明 |
| 1 | parking_space_information_id | int | 10 | 0 | N | Y | 车位信息ID | |
| 2 | parking_space_number | varchar | 64 | 0 | Y | N | 车位编号 | |
| 3 | parking_position | varchar | 64 | 0 | Y | N | 车位位置 | |
| 4 | parking_space_status | varchar | 64 | 0 | Y | N | 车位状态 | |
| 5 | parking_expenses | int | 10 | 0 | Y | N | 0 | 停车费用 |
| 6 | parking_space_description | text | 65535 | 0 | Y | N | 车位说明 | |
| 7 | parking_space_cover | varchar | 255 | 0 | Y | N | 车位封面 | |
| 8 | hits | int | 10 | 0 | N | N | 0 | 点击数 |
| 9 | recommend | int | 10 | 0 | N | N | 0 | 智能推荐 |
| 10 | create_time | datetime | 19 | 0 | N | N | CURRENT_TIMESTAMP | 创建时间 |
| 11 | update_time | timestamp | 19 | 0 | N | N | CURRENT_TIMESTAMP | 更新时间 |
| 编号 | 名称 | 数据类型 | 长度 | 小数位 | 允许空值 | 主键 | 默认值 | 说明 |
| 1 | praise_id | int | 10 | 0 | N | Y | 点赞ID: | |
| 2 | user_id | int | 10 | 0 | N | N | 0 | 点赞人: |
| 3 | create_time | timestamp | 19 | 0 | N | N | CURRENT_TIMESTAMP | 创建时间: |
| 4 | update_time | timestamp | 19 | 0 | N | N | CURRENT_TIMESTAMP | 更新时间: |
| 5 | source_table | varchar | 255 | 0 | Y | N | 来源表: | |
| 6 | source_field | varchar | 255 | 0 | Y | N | 来源字段: | |
| 7 | source_id | int | 10 | 0 | N | N | 0 | 来源ID: |
| 8 | status | bit | 1 | 0 | N | N | 1 | 点赞状态:1为点赞,0已取消 |
从web系统查询数据的根本的查询步骤:
Step1: 进行检查并且过滤来自用户的系统数据;
Step2: 成立起一个合适的数据库进行连接;
Step3: 进行查询系统数据库;
Step4: 获得查询的结构;
Step5: 把查询的结果展示给用户。
Step6: 数据库连接断开,释放资源。
数据库连接原理如下图所示。

图5-1数据库连接原理
为确保系统安全性,系统操作员只有在登录界面输入正确的用户名、密码、权限以及验证码,单击“登录”按钮后才能够进入本系统的主界面。
用户登录流程图如下所示。

图5-2用户登录流程图
登录界面如下图所示。

图5-3登录界面
用户登录的逻辑代码如下所示。
/**
* 登录
* @param data
* @param httpServletRequest
* @return
*/
@PostMapping("login")
public Map<String, Object> login(@RequestBody Map<String, String> data, HttpServletRequest httpServletRequest) {
log.info("[执行登录接口]");
String username = data.get("username");
String email = data.get("email");
String phone = data.get("phone");
String password = data.get("password");
List resultList = null;
Map<String, String> map = new HashMap<>();
if(username != null && "".equals(username) == false){
map.put("username", username);
resultList = service.select(map, new HashMap<>()).getResultList();
}
else if(email != null && "".equals(email) == false){
map.put("email", email);
resultList = service.select(map, new HashMap<>()).getResultList();
}
else if(phone != null && "".equals(phone) == false){
map.put("phone", phone);
resultList = service.select(map, new HashMap<>()).getResultList();
}else{
return error(30000, "账号或密码不能为空");
}
if (resultList == null || password == null) {
return error(30000, "账号或密码不能为空");
}
//判断是否有这个用户
if (resultList.size()<=0){
return error(30000,"用户不存在");
}
User byUsername = (User) resultList.get(0);
Map<String, String> groupMap = new HashMap<>();
groupMap.put("name",byUsername.getUserGroup());
List groupList = userGroupService.select(groupMap, new HashMap<>()).getResultList();
if (groupList.size()<1){
return error(30000,"用户组不存在");
}
UserGroup userGroup = (UserGroup) groupList.get(0);
//查询用户审核状态
if (!StringUtils.isEmpty(userGroup.getSourceTable())){
String sql = "select examine_state from "+ userGroup.getSourceTable() +" WHERE user_id = " + byUsername.getUserId();
String res = String.valueOf(service.runCountSql(sql).getSingleResult());
if (res==null){
return error(30000,"用户不存在");
}
if (!res.equals("已通过")){
return error(30000,"该用户审核未通过");
}
}
//查询用户状态
if (byUsername.getState()!=1){
return error(30000,"用户非可用状态,不能登录");
}
String md5password = service.encryption(password);
if (byUsername.getPassword().equals(md5password)) {
// 存储Token到数据库
AccessToken accessToken = new AccessToken();
accessToken.setToken(UUID.randomUUID().toString().replaceAll("-", ""));
accessToken.setUser_id(byUsername.getUserId());
tokenService.save(accessToken);
// 返回用户信息
JSONObject user = JSONObject.parseObject(JSONObject.toJSONString(byUsername));
user.put("token", accessToken.getToken());
JSONObject ret = new JSONObject();
ret.put("obj",user);
return success(ret);
} else {
return error(30000, "账号或密码不正确");
}
}
用户输入用户名、密码、电话、姓名等必填信息后,点击注册按钮完成用户的注册。
用户注册流程图如下所示。

图5-4用户注册流程图
用户注册界面如下图所示。

图5-5用户注册界面
用户注册逻辑代码如下:
* 注册
* @param user
* @return
*/
@PostMapping("register")
public Map<String, Object> signUp(@RequestBody User user) {
// 查询用户
Map<String, String> query = new HashMap<>();
query.put("username",user.getUsername());
List list = service.select(query, new HashMap<>()).getResultList();
if (list.size()>0){
return error(30000, "用户已存在");
}
user.setUserId(null);
user.setPassword(service.encryption(user.getPassword()));
service.save(user);
return success(1);
}
/**
* 用户ID:[0,8388607]用户获取其他与用户相关的数据
*/
@Id
@GeneratedValue(strategy = GenerationType.IDENTITY)
@Column(name = "user_id")
private Integer userId;
/**
* 账户状态:[0,10](1可用|2异常|3已冻结|4已注销)
*/
@Basic
@Column(name = "state")
private Integer state;
/**
* 所在用户组:[0,32767]决定用户身份和权限
*/
@Basic
@Column(name = "user_group")
private String userGroup;
/**
* 上次登录时间:
*/
@Basic
@Column(name = "login_time")
private Timestamp loginTime;
/**
* 手机号码:[0,11]用户的手机号码,用于找回密码时或登录时
*/
@Basic
@Column(name = "phone")
private String phone;
/**
* 手机认证:[0,1](0未认证|1审核中|2已认证)
*/
@Basic
@Column(name = "phone_state")
private Integer phoneState;
/**
* 用户名:[0,16]用户登录时所用的账户名称
*/
@Basic
@Column(name = "username")
private String username;
/**
* 昵称:[0,16]
*/
@Basic
@Column(name = "nickname")
private String nickname;
/**
* 密码:[0,32]用户登录所需的密码,由6-16位数字或英文组成
*/
@Basic
@Column(name = "password")
private String password;
/**
* 邮箱:[0,64]用户的邮箱,用于找回密码时或登录时
*/
@Basic
@Column(name = "email")
private String email;
/**
* 邮箱认证:[0,1](0未认证|1审核中|2已认证)
*/
@Basic
@Column(name = "email_state")
private Integer emailState;
/**
* 头像地址:[0,255]
*/
@Basic
@Column(name = "avatar")
private String avatar;
/**
* 创建时间:
*/
@Basic
@Column(name = "create_time")
@JsonFormat(pattern = "yyyy-MM-dd HH:mm:ss")
private Timestamp createTime;
@Basic
@Transient
private String code;
}
用户点击某个车位进入车位详细页,点击车位信息按钮进入车位信息页,提交车位信息,成功停车后,管理员管理用户的车位信息,审核停车入场信息。
车位信息流程图如下所示。

图5-6车位信息流程图
车位信息界面如图所示。

图5-7车位信息界面
车位信息的逻辑代码如下:
@PostMapping("/add")
@Transactional
public Map<String, Object> add(HttpServletRequest request) throws IOException {
service.insert(service.readBody(request.getReader()));
return success(1);
}
@Transactional
public Map<String, Object> addMap(Map<String,Object> map){
service.insert(map);
return success(1);
}
public Map<String,Object> readBody(BufferedReader reader){
BufferedReader br = null;
StringBuilder sb = new StringBuilder("");
try{
br = reader;
String str;
while ((str = br.readLine()) != null){
sb.append(str);
}
br.close();
String json = sb.toString();
return JSONObject.parseObject(json, Map.class);
}catch (IOException e){
e.printStackTrace();
}finally{
if (null != br){
try{
br.close();
}catch (IOException e){
e.printStackTrace();
}
}
}
return null;
}
public void insert(Map<String,Object> body){
StringBuffer sql = new StringBuffer("INSERT INTO ");
sql.append("`").append(table).append("`").append(" (");
for (Map.Entry<String,Object> entry:body.entrySet()){
sql.append("`"+humpToLine(entry.getKey())+"`").append(",");
}
sql.deleteCharAt(sql.length()-1);
sql.append(") VALUES (");
for (Map.Entry<String,Object> entry:body.entrySet()){
Object value = entry.getValue();
if (value instanceof String){
sql.append("'").append(entry.getValue()).append("'").append(",");
}else {
sql.append(entry.getValue()).append(",");
}
}
sql.deleteCharAt(sql.length() - 1);
sql.append(")");
log.info("[{}] - 插入操作:{}",table,sql);
Query query = runCountSql(sql.toString());
query.executeUpdate();
}
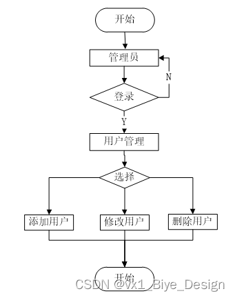
系统用户管理主要是对新用户的添加和旧用户的删除。新用户的添加主要是指添加用户名称并确定其密码;旧用户的删除也是从下拉菜单中找到对应的用户名称将其删除。不论是新用户添加还是旧用户的删除,这个权限只有管理员具有。
用户管理流程图如下所示。

图5-8用户管理流程图
用户管理界面如下图所示。

图5-9用户管理界面
密码修改是对当前登录用户的密码进行修改,在管理员登录页面后右上方也能进行密码修改。
密码修改流程图如下所示。

图5-10密码修改流程图
软件测试是软件开发完成后必须经过的一道程序,它在软件开发过程中地位十分重要,需要由专业的测试工程师来对软件进行各方面的测试,大到功能模块测试,小到代码的单元测试,这对测试工程师来说需要有足够的耐心和专业的测试方案,软件测试归根结底就是对软件的结构和功能的综合测评,需要做到结构稳定和功能正确,二者兼顾。软件测试也叫寻找系统bug的过程,世界上没有完美无缺、不存在bug的软件,只能将软件的bug降到最低最小,来追求极致。
-
- 测试目标
系统测试是用于检查软件的质量、性能、可靠性等是否符合用户需求。一套严谨的、规范的、完善的测试过程将大大提高软件的质量、可信度、可靠性,降低软件的出错率,降低用户风险系数。通过在计算机上对系统进行测试试验并从中发现此系统中存在的问题和错误然后加以修改,使之更加符合用户需求。
1.测试的目的是通过测试来发现程序在执行过程中的错误的过程。
2.好的测试方案是可以检验出还未被发现的错误的方案。
3.好的测试是发现了到目前为止还未被发现的错误的测试。
4.该系统能够完成车位信息、缴费、通知公告等功能,做到所开发的系统操作简单,尽量使系统操作不受用户对电脑知识水平的限制。
下表是系统登录功能测试用例,检测了用户名和密码的不同的输入情况,观察系统的响应情况。得出该功能达到了设计目标。
表6-1 系统登录功能测试用例
| 功能描述 | 用于系统登录 | |
| 测试目的 | 检测登录时的合法性检查 | |
| 测试数据以及操作 | 预期结果 | 实际结果 |
| 输入的用户名和密码带有非法字符 | 提示用户名或者密码错误 | 与预期结果一致 |
| 输入的用户名或者密码为空 | 提示用户名或者密码错误 | 与预期结果一致 |
| 输入的用户名和密码不存在 | 提示用户名或者密码错误 | 与预期结果一致 |
| 输入正确的用户名和密码 | 登录成功 | 与预期结果一致 |
下表是注册功能测试用例,检测了各种数据的输入情况,观察系统的响应情况。得出该功能达到了设计目标。
表6-2 注册功能测试用例
| 功能描述 | 用于用户注册 | |
| 测试目的 | 检测用户注册时的合法性检查 | |
| 测试数据以及操作 | 预期结果 | 实际结果 |
| 输入的手机号不合法 | 提示请输入正确的手机号码 | 与预期结果一致 |
| 输入的字段为空 | 提示必填项不能为空 | 与预期结果一致 |
| 输入的密码少于6位 | 提示密码必须为6-12位 | 与预期结果一致 |
| 输入的密码大于12位 | 提示密码必须为6-12位 | 与预期结果一致 |
下表是车位信息管理功能的测试用例,检测了车位信息管理中对车位信息信息的增加,删除,修改,查询操作是否成功运行。观察系统的响应情况,得出该功能也达到了设计目标,系统运行正确。
前置条件;用户登录系统。
表6-3 车位信息管理的测试用例
| 功能描述 | 用于车位信息管理 | |
| 测试目的 | 检测车位信息管理时的各种操作的运行情况 | |
| 测试数据以及操作 | 预期结果 | 实际结果 |
| 点击添加车位信息,必填项合法输入,点击保存 | 提示添加成功 | 与预期结果一致 |
| 点击添加车位信息,必填项输入不合法,点击保存 | 提示必填项不能为空 | 与预期结果一致 |
| 点击修改车位信息,必填项修改为空,点击保存 | 提示必填项不能为空 | 与预期结果一致 |
| 点击修改车位信息,必填项输入不合法,点击保存 | 提示必填项不能为空 | 与预期结果一致 |
| 点击删除车位信息,选择车位信息删除 | 提示删除成功 | 与预期结果一致 |
| 点击搜索车位信息,输入存在的车位信息名 | 查找出车位信息 | 与预期结果一致 |
| 点击搜索车位信息,输入不存在的车位信息名 | 不显示车位信息 | 与预期结果一致 |
下表是停车信息管理功能的测试用例,检测了停车信息管理中停车信息单的操作是否成功运行。观察系统的响应情况,得出该功能也达到了设计目标,系统运行正确。
前置条件;用户登录系统。
表6-5 停车信息管理的测试用例
| 功能描述 | 用于停车信息管理 | |
| 测试目的 | 检测停车信息管理时各种操作的情况 | |
| 测试数据以及操作 | 预期结果 | 实际结果 |
| 未选择车位,点击提交 | 提示请选择车位 | 与预期结果一致 |
| 未选择时间,点击提交 | 提示请选择时间 | 与预期结果一致 |
根据以上测试情况,测试结果如下表所示。
表6-1测试结果表
| 测试项目 | 测试结果 |
| 登录测试 | 成功 |
| 修改密码测试 | 成功 |
| 缴费信息测试 | 成功 |
| 车位信息测试 | 成功 |
| 缴费记录测试 | 成功 |
| 用户管理测试 | 成功 |
| 停车信息管理测试 | 成功 |
本研究针对智能停车系统地需求建模,数据建模及过程建模分析设计并实现智能停车系统的过程。给出系统应用架构并分析优劣势,通过功能分解图,系统组件图描述功能需求。设计建立了数据库,给出系统关键数据结构的定义。通过类关系图描述组件间的协作关系,给出各个类的定义方法。通过描述每一个类的字段,属性及方法实现智能停车系统的前后端代码。最终给出系统集成整合方法,完成智能停车系统地设计与实现。
本人在这个项目的实现中,不光明白了前端开发和后台在整个系统中起到了什么作用,因为前后台的连接,用户可以对系统进行操作,可以在输入自己的相关信息后,通过后台加工,完成对数据库的查找、修改、添加,而理解了这些关系与实现的方法后。再去完善整个系统的功能就更加清晰与简单了。此次的项目它涉及了前台与后台系统的搭建,在学校所学的知识基础上,此次的项目,让我对于一个系统的前端开发,以及后台的作用都有了一个更深切的认知。
参考文献
[1]徐铭.智慧停车场规划应用与研究——以青岛生态智慧城公交停车场工程为例[J].建筑设计管理,2021,38(12):49-53.
[2]苏建志,王锋,李嘉煌.基于5G网络的智慧无人值守停车场系统设计[J].泉州师范学院学报,2021,39(06):80-86.
[3]路漫漫.基于交互优化的城市商业智能停车场管理系统[J].软件,2021,42(12):158-162.
[4]雷明海.地下停车场停车智能化方案[J].现代建筑电气,2021,12(11):55-58.
[5]周哲,胡钊政,李娜,肖汉彪,伍锦祥.面向智能车的地下停车场环视特征地图构建与定位[J].测绘学报,2021,50(11):1574-1584.
[6]刘新艳.浅析地下智能停车场定位技术[J].西部特种设备,2021,4(04):37-39.
[7]潘昊飞,王晓乐,李浩宇,陈涛.基于Raspberry Pi和arduino的智能停车场设计与实现[J].电子制作,2021(15):70-72.
[8]丁姝萌,辜林.基于分布式设备及智慧决策的停车场管理系统[J].软件,2021,42(06):13-15.
[9]李怀锋.Android设备停车场管理系统的关键问题研究[J].山西建筑,2021,47(10):167-169.
[10]潘宇,张叶茂,莫淑贤.基于云平台的物联网停车场管理系统设计[J].软件工程,2021,24(04):51-54+46.
[11]田金博. 多停车场信息协同管理系统设计与实现[D].长安大学,2021.
[12]孙曜. 智能停车场信息管理系统设计与实现[D].扬州大学,2020.
致谢
在此论文完成之际,感谢我的指导老师。在指导老师的网页设计课上,当时我学到了很多东西,这对于我实习过程中也打了一定的基础,而且指导老师对于我的设计也提出许多建议,并予以悉心的指导,对于一些细小的问题都耐心的指导我去完善,授予我写论文的心得,时常的鼓励我,另外感谢教导我完善此项目的前端同学,对于这个项目,我是边学习边实现完成的,有许多东西开始并不是很明白,但前端开发的同学非常耐心的引导我去将这个项目完成,在系统的后端开发中,所用到的后台开发技术也时常会给我讲解,助于我更好的将论文完成,在此对帮助到我的同学和一直予以教导的指导老师致以衷心的感谢,祝事业有成。
免费领取项目源码,请关注❥点赞收藏并私信博主,谢谢~
本文介绍了一个采用SSM框架和MySQL数据库设计的智能停车系统。系统采用MVVM模式,实现用户和管理员的登录、注册、车位信息管理、停车信息管理等功能。管理员可以进行用户管理、信息审核,用户可以进行预约、缴费等操作。系统通过组件化设计,确保了模块的独立性和可扩展性,提高了管理效率和用户体验。
1090

被折叠的 条评论
为什么被折叠?



