一、SRIO协议与PCIe的区别
典型的PCIe结构定义了一个以单个中央处理器为核心的计算机系统,如常见的工控机、PXIe机箱控制器、服务器内的IO设备。从系统架构来看,这个结构的优势在于可有统一的软件驱动,软件模型,设备间具备优异的兼容性。兼容性才是王道,厂商就可以用一个标准包打天下。

PCIe 的帧格式如下图所示。
帧由 1 字节的帧起始、2 字节的序列号、16 或 20 字节的报头、0 到 4096 字节的数据字段、0 到 4 字节的 ECRC 字段、4 字节的 LCRC、和 1 字节的帧结束。
数据字段中传输的位数越少,开销就越大。零字节数据字段会导致 100% 的开销,因为没有传输数据。

二、RapidIO
RapidIO定义了一种高性能、分组交换互连技术,用于在微处理器、DSP、通信和网络处理器、系统内存和外围设备之间传递数据和控制信息。
RapidIO 适用于点对点的设备间通讯,不需要经过一个中央处理器进行调度,就可以完成设备间的通讯,并且包长度简单,效率相对于PCIe要更高,有效数据传输速度更快。
但是RapidIO没有定义标准的软件模型,这就导致厂家之间的设备大概率无法兼容,从而只能在某些领域进行部署,不易推广。
RapidIO 由于比PCIe更简单、更高效、延迟更低等特点,已经在嵌入式领域、图像处理、通讯系统、军工航天有了大量的应用。
在实际的应用场景中,例如医学影像等图像处理领域,经常需要扩展单块DSP、FPGA的计算能力,这时候需要将多个DSP或者FPGA通过高速串口进行互联,此时RapidIO就是当前互换性最好的一个最佳选择,因为PCIe太过复杂,Xilinx的Auraro效率也不满足要求,并且互换性不好。
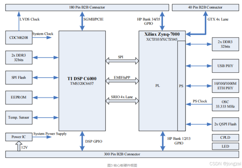
3、可用的SRIO验证硬件
目前具备SRIO接口的硬件不多,推荐广州星嵌电子科技有限公司开发的DSP+FPGA+RAM开发板: http://web.xines.cn/pingguban/28.html ,也可用于评估EMIF等接口。


2767

被折叠的 条评论
为什么被折叠?



