目录
一、查看和控制进程
内核功能:进程管理、内存管理、文件系统、网络功能、驱动程序、安全功能等
对于所有的操作系统,都有基本的功能
什么是程序?
保存在硬盘、光盘等介质中的可执行的代码和数据;
文件中静态保存的代码。
什么是进程?
在CPU及内存中运行的程序代码;
动态执行的代码;
父、子进程(每个程序可以创建一个或者多个进程)
进程是正在执行的程序
进程与线程的区别
资源分配与调度
· 进程是资源竞争的基本单位;
· 线程是程序执行的最小单位;
1.1查看进程
ps 命令— 查看静态的进程统计信息
常用选项:

直接执行不带任何选项的ps命令时,将只显示当前用户会话中打开的进程
基本格式:
ps aux #基本格式 ps aux | wc -l #结合管道符号查询具体的数量(需要-1)


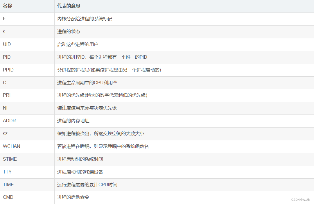
各个字段含义 :

-
STAT(五种状态)
-
D:不可被唤醒的休眠状态;
-
R:正在运行状态;
-
S:处于休眠状态,可被唤醒;
-
T:停止状态,可能是在后台暂停或进程处于跟踪调试状态;
-
Z:僵厂进程,进程己经中止,但是部分程序还在内存当中 ,但其父进程无法正常中止它
-
-
僵厂进程: 僵尸进程是当子进程比父进程先结束,而父进程又没有回收子进程,释放子进程占用的资源,此时子进程将成为一个僵尸进程。如果父进程先退出 ,子进程被init接管,子进程退出后init会回收其占用的相关资源
ps -elf 命令— 查看静态的进程统计信息
常用选项:

ps -elf(查看当前系统进程,显示信息比ps aux多)
各个字段含义 :

grep过滤查询
由于系统中运行的进程数量较多,需要查询某一个进程的信息时可以结合管道操作和grep命令进行过滤。例如,执行以下操作可以过滤出包含“bash”的进程信息


top命令—动态查看进程信息
常用选项


对查询到的进程按内存占比大小排序,top命令后按shift+m


第一行:任务队列信息
![]()
12.30.48:系统时间 up:系统已运行时常 3 users:当前登录用户数
load average:0.00,0.01,0.05 平均负载,即单位时间系统处理的任务数 1min,5min,15min 前到现在的平均值
第二行: 系统进程信息
![]()
Tasks:总进程数 running:正在运行进程数 sleeping休眠进程数
stopped:中止进程数 zombie:僵死进程数
第三行: CPU占用信息
![]()
us:用户占用 sy:内核占用 ni:优先级调度占用 id:空闲cpu
wa:I/O等待占用 hi:硬件中断占用 si:软件中断占用 st:虚拟化占用
第四行:内存占用信息
![]()
total:总空闲内存 free:空闲内存
used:已用内存 buff/cache:物理内存和交换内存的缓冲区总和
第五行:交换空间(swap)占用信息
![]()
total:总交换内存 free:空闲交换内存
used:已用交换内存 avail Mem:可用物理空间
除了top , w命令,uptime命令也可查看load average
pgrep命令— 根据特定条件查询进程PID信息
常用选项:

pstree命令—查看进程树
pstree命令可以查看当前系统的进程树,包括个各进程对应的PID号、用户名、完整命令等信息

常用选项:



1.2控制进程
进程启动方式分为手动启动和调度启动
手动启动:
-
前台启动:用户输入命令,直接执行的程序;
-
后台启动:在命令行尾加入“&”符号
当使用cp命令从光盘中制作镜像文件时,由于需要复制的数据较多,耗时较长,因此可结合“&”符号将复制操作放到后台运行,以便用户可以继续执行其他命令操作

进程的前后台调度(Ctrl + Z 组合键、 jobs命令和fg命令):
-
Ctrl + Z 组合键: 将当前进程挂起,即调入后台并停止执行
-
jobs命令:查看处于后台的任务列表
[-l]选项显示PID号
-
fg命令:将后台进程恢复到前台运行,可指定任务序列号

+号代表最后一次调入后台的进程
-号代表倒数第二次挂起的课程

终止程序的运行
Ctrl + C组合键 :中断正在执行的命令;

-
kill 、killall命令
-
kill用于终止指定PID号的进程
-
killall用于终止指定名称相关的所有进程
-
-9选项用于强制终止
-


pkill命令:根据特定条件终止相应的进程
常用选项:


二、计划任务管理
2.1使用at命令,设置一次性计划任务
at命令 一次性计划任务
服务脚本名称:/etc/init.d/atd
设置格式
-
at [HH:MM] [yyyy-mm-dd] #不带年月日为今天执行 atq #查看未执行的一次性计划任务 atrm n #删除第n条任务
-
实例:设置在2022年8月8日15:57自动执行以下任务


2.2使用crontab命令,设置周期性计划任务
crontab命令:
-
按照预先设置的时间周期(分钟、小时、天.......)重复执行用户指定的命令操作
-
属于周期性计划任务
-
服务脚本名称:/etc/init.d/crond
主要设置文件:
-
全局配置文件,位于文件: /etc/crontab(建议不要修改此文件)
-
系统默认的设置,位于目录: /etc/cron.*/
-
用户定义的设置,位于文件: /var/spool/cron/用户名
使用crontab命令管理用户计划任务
编辑计划任务 crontab -e [-u 用户名] #-u缺省时默认是针对当前用户,只有超级用户才可以用-u 查看计划任务 crontab -l [-u 用户名] 删除计划任务 crontab -r [-u 用户名]
时间数值的特殊标识方法:

eg:0 17 * * 1-5 周一到周五每天17:00
30 8 * * 1,3,5 每周一、三、五的8:30
0 8-18/2 * * * 8点到18点之间每2小时
0 * */3 * * 每三天的整点
5 * * * *和*/5 * * * *区别
5 * * * * 表示每小时的5分 */5 * * * * 每五分钟执行一次
crontab计划任务的配置格式
时间周期设置 任务内容设置 命令一定要用绝对路径,例如cp命令,要用/usr/bin/cp,可以用which查看命令的绝对路径


总结:
一、查看进程的命令:ps aux 或者ps -elf;top;pgrep;pstree;
二、pstree ap 或者 cd /proc/数字文件中的/stat查看子进程
三、启动进程:前台启动;后台启动(命令最后加&)
-
查看后台任务列表:jobs
-
调用后台进程:fg 任务列表号
-
ctrl+z挂起
-
kill -9 进程号 PID
-
pkill -9 进程号 PID
-
killall 全部进程
-
at 小时:分钟 年-月-日
命令:ctrl D保存运行
atq 序号
atrm +序号
-
crontab -e -u 用户(不写用户默认当前用户)
crontab -l -u 用户
crontab -r -u 用户
格式:分 时 日 月 周 如果忘记可以查看cat /etc/crontab
本文详细介绍了Linux系统中查看和控制进程的各种方法,包括使用ps、top、pgrep、pstree命令,以及进程的前后台调度。此外,还讲解了如何使用at和cron命令来设置一次性及周期性的计划任务,包括任务的添加、查看和删除。内容涵盖了进程的状态、CPU和内存的使用情况,以及进程控制和计划任务管理的基本操作。
8436

被折叠的 条评论
为什么被折叠?



