萤石云存储是一项基于云计算技术的录像存储服务。萤石开放平台进一步开放云存储功能,旨在满足各行各业对云端双备份的需求,为智能家居、工地、连锁、安防等行业客户提供新的存储开放能力。
针对人货流通性大,且有移动化监管需求的各类应用场景,开放平台提供事件云存储(动态触发录制)、连续云存储(24小时录制)、按时长定制存储等多种模式,为用户提供高效、智能且安全的云端存储解决方案。
1. 专属功能
智能云端备份
-
支持7天至360天循环覆盖周期,企业可按需选择存储时长。
分层存储策略
-
事件存储:仅录制动态事件(如人形移动),高效节省存储空间。
-
连续存储:全天候不间断录制(需购买专属套餐),适用于高安防场景。

分层存储
AI增强型数据价值挖掘
-
结合AI算法实现多场景分析(如人车识别、异常行为检测),未来支持大模型生成个性化报告,提升安防效率。
一站式运维工具
-
支持自助开通、续费及资源使用明细查询,降低运维成本。
-
录像回放秒级加载,助力高效巡店与管理。
2. 事件云存储 VS 连续云存储
|
功能 |
事件云存储 |
连续云存储 |
|
适用场景 |
日常监控、低流量需求场景 |
安全要求较高的安防场景 |
|
存储效率 |
仅录制动态事件,节省90%+存储空间 |
全天录制,完整记录所有画面 |
|
设备兼容性 |
萤石IPC设备都支持 海康大部分NVR设备支持(单设备1-2条通道);国标设备有待开放 |
萤石仅行业设备支持海康NVR设备需要专属定制;国标设备有待开放 |
|
成本优化 |
有多种档位事件云存储资源包,性价比高 |
专属定制连续云存储套餐,适合刚性需求 |
3. 云存储 VS SD卡存储(企业级对比)
|
权益 |
萤石云存储 |
SD卡存储 |
|
安全性 |
金融级加密,独立云空间,数据永不丢失 |
易丢失、损坏,数据泄露风险高 |
|
存储容量 |
无限空间,按需扩容 |
受限于SD卡容量(通常≤256GB) |
|
可靠性 |
99%高可用性 |
多次读写易损坏,寿命短 |
|
远程访问 |
设备异常仍可查看历史录像 |
需设备在线,无法应对掉线/损坏 |
|
智能功能 |
支持AI搜索、摘要生成、多端协同 |
无AI分析能力 |
|
运维成本 |
一站式管理,降低长期运维投入 |
需频繁更换SD卡,隐性成本高 |
4. 核心优势
金融级安全加密,数据零泄露风险
-
采用传输、存储双重金融级加密技术,通过ISO安全认证,支持异常访问验证机制,确保企业数据全程防窃取、防破解。
-
每台设备独立云空间,避免因设备损坏或SD卡丢失导致数据泄露。

安全加密
智能分层存储,按需优化资源
开放平台提供控制台查看、SDK集成、API接口取流等方式,帮助开发者快速集成云存储能力到自己的应用中。
-
事件云存储:基于AI移动检测技术,仅录制动态事件(如人形移动),高效节省存储空间与流量成本。

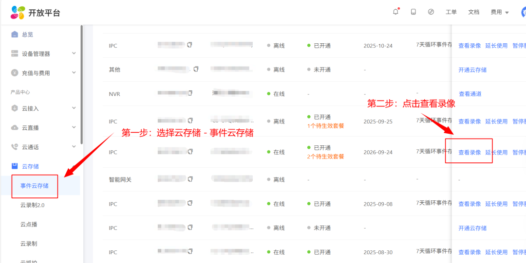
查看路径
( https://open.ys7.com/console/cloudStorage.html )

查看效果
-
连续云存储:支持24小时不间断录制(需设备支持),适用于安全要求较高的安防场景,如金融、仓储、工地等。
弹性扩容与高可靠性保障
-
存储资源池化,可线性扩展至百PB级容量;多副本容错机制,节点故障时自动恢复数据,保障业务不中断。
-
通过比对云端录像与本地录像,针对性地对缺失录像进行补录,确保录像完整度。
轻部署与高效管理
-
支持海量设备:萤石、海康、三方厂商设备都可以支持接入与开通,支持摄像机、录像机、门锁和门铃等多品类设备,一键开通。
-
支持灵活配置:支持按数据权限、资源池或存储空间等多种方式灵活购买与使用。
5. 常见应用场景
零售门店防盗
-
智能事件存储+AI人形检测,异常自动告警,录像云端加密防篡改。

零售门店防盗
智慧园区安防
-
24小时连续云存储,多摄像头集中管理,断网仍可缓存补传。
校园安全监控
-
事件存储+声光联动,危险行为实时预警,家长分权限查看。

校园安全监控
仓储物流管理
-
连续录制+电子围栏,货物出入全程追溯,支持多仓库统一调阅。
社区智能巡检
-
云存储+AI车牌识别,陌生车辆自动记录,物业快速响应异常。

社区智能巡检
安全生产监管
-
数据零丢失 ,风险安全可控,实现事前预防,事中告警,事后追溯。
/ END /
568

被折叠的 条评论
为什么被折叠?



