Shell的概念介绍
命令解释器
Shell是命令解释器(command interpreter),是Unix操作系统的⽤户接⼝,程序从⽤户接⼝得到输⼊信息,shell将⽤户程序及其输⼊翻译成操作系统内核(kernel)能够识别的指令,并且操作系统内核执⾏完将返回的输出通过shell再呈现给⽤户,下图所示⽤户、shell和操作系统的关系:

⼀个系统可以存在多个shell,可以通过cat /etc/shells命令查看系统中安装的shell。操作系统内核(kernel)与shell是独⽴的套件,⽽且都可被替换;不同的操作系统使⽤不同shell; 同⼀个kernel之上可以使⽤不同的shell。 也可以查看当前shell环境是哪种:
[root@qianfeng01 ~]# echo $SHELL
Shell脚本
Shell也是⼀⻔编程语⾔,即shell脚本。在此脚本中,我们可以使⽤⼀些编程语法来进⾏⼀些任务操作。 如:变量、类型、分⽀结构、循环结构、数组、函数等语法。在shell脚本⾥,必须指定⼀种shell命令解释器。
Shell编程规范
脚本⽂件的结构
1 ⽂件的扩展名必须是.sh
2 ⽂件的⾸⾏必须使⽤#! 指定script的运⾏shell环境(即脚本解释器)
如:#!/bin/bash
3 脚本⾥的⾏注释符号为#
4 指令、选项、参数之间即使有多个空格仍会被视为⼀个空格。
5 tab键形成的空⽩也被视为⼀个空格键
6 空⽩⾏会被忽略
脚本⽂件的执⾏
使⽤bash程序调⽤执⾏,只需要有读权限即可
[root@qianfeng01 ~]# sh *.sh
或者
[root@qianfeng01 ~]# bash *.sh
直接写script,必须要有rx权限才⾏
[root@qianfeng01 ~]# ./*.sh
绝对路径写法: /hadoop/*.sh
相对路径写法: ./*.sh
借助变量PATH功能
将*.sh放⼊~/bin⽬录下,因为PATH⾥拼接了~/bin⽬录。
注意:~/bin⽬录必须⾃⾏创建
Shell的变量
变量的⽤法
1. 变量的命名规则
- 命名只能使⽤英⽂字⺟,数字和下划线。⾸个字符不能以数字开头。
- 字⺟习惯使⽤⼤写。
- 中间不能有空格。
- 不能使⽤标点符号。
- 不能使⽤bash⾥的关键字(可⽤help命令查看保留关键字)
2. 变量的使⽤规则
- 直接定义变量名称,没有类型需要强调(类似于数学中:x=1,y=2,z=x+y)
- 赋值时,"="前后不能有空格
- 命令的执⾏结果赋值给变量时,使⽤反单引号 如:TIME=`date`
- 调⽤变量时,必须使⽤$ 格式: $变量名 或 ${变量名}
变量的分类
Linux Shell中的变量可以分为三种变量: 局部变量、环境变量、特殊变量。可以通过set 命令查看系统中存在的所有变量
局部变量:也就是⽤户⾃定义的变量,在脚本中或命令中定义
环境变量:保存和系统操作环境相关的数据。$HOME、$PWD、$SHELL、$USER等等
特殊变量:
⼀种是位置参数变量:主要⽤来向脚本中传递参数或数据,变量名不能⾃定义,变量作⽤固定。
⼀种是预定义变量:是Bash中已经定义好的变量,变量名不能⾃定义,变量作⽤也是固定的。
局部变量
⽤户⾃定义的变量由字⺟或下划线开头,由字⺟,数字或下划线序列组成,并且⼤⼩写字⺟意义不同,变量名⻓度没有限制。
定义变量
习惯上⽤⼤写字⺟来命名变量。变量名以字⺟表示的字符开头,不能⽤数字。
调⽤变量
在使⽤变量时,要在变量名前加上前缀“$”.
使⽤echo 命令查看变量值
eg: [root@qianfeng01 ~]# echo $A
变量赋值
第⼀种: 定义时赋值
# 变量=值
# 注意: 在上述的定义⽅式中,等号的左右两侧不能有空格
# eg:
[root@qianfeng01 ~]# STR="hello qianfeng"
[root@qianfeng01 ~]# A=9
第⼆种: 将⼀个命令的执⾏结果给变量赋值
[root@qianfeng01 ~]# A=`ls -la` 反引号,运⾏⾥⾯的命令,并把结果返回给变量A
[root@qianfeng01 ~]# A=$(ls -la) 等价于反引号
[root@qianfeng01 ~]# AA=$((4+5))
[root@qianfeng01 ~]# BB=`expr 4 + 5 `
第三种: 将⼀个变量的值赋给另⼀个变量
[root@qianfeng01 ~]# A=$STR
变量叠加
# 变量叠加,就是将两个字符串变量的值叠加在⼀起,类似于Java中的字符串拼接操作。
[root@qianfeng01 ~]# A=123
[root@qianfeng01 ~]# C="$A"456
[root@qianfeng01 ~]# D=${A}789
# 单引号和双引号的区别
# 现象:单引号⾥的内容会全部输出,⽽双引号⾥的内容会有变化
# 原因:单引号会将所有特殊字符脱意
[root@qianfeng01 ~]# NUM=10
[root@qianfeng01 ~]# SUM="$NUM hehe"
[root@qianfeng01 ~]# echo $SUM # 输出10 hehe
[root@qianfeng01 ~]# SUM2='$NUM hehe'
[root@qianfeng01 ~]# echo $SUM2 # 输出$NUM hehe
删除变量
# 删除之前已经定义过的变量,之后就⽆法再使⽤这个变量了。
# 撤销变量 A
[root@qianfeng01 ~]# unset A
# 声明静态的变量 B=2 ,不能 unset
[root@qianfeng01 ~]# readonly B=2
# 报错: -bash: unset: B: cannot unset: readonly variable
[root@qianfeng01 ~]# unset B
注意事项
关于局部变量的作⽤域的问题: ⽤户⾃定义的局部变量,作⽤于仅为当前的Shell环境。仅在当前的Shell示例中有效,其他的Shell启动的程序不能访问局部变量。
[root@qianfeng01 ~]# echo '#!/bin/bash' > test.sh
[root@qianfeng01 ~]# A=22
[root@qianfeng01 ~]# echo 'echo $A' >> test.sh
[root@qianfeng01 ~]# echo $A 结果:22
[root@qianfeng01 ~]# bash test.sh 结果:打印为空,因为bash会开启新的shell进程
环境变量
⽤户⾃定义的局部变量,只能在当前的Shell中⽣效,⽽环境变量会在当前Shell和其所有的⼦Shell中⽣效。如果把环境变量写⼊相应的配置⽂件,那么这个环境变量就会在所有的Shell中⽣效。
作⽤域: 当前的Shell以及所有的⼦Shell
声明变量: export 变量名=变量值
定义环境变量的常⻅配置⽂件:
/etc/profile -> 针对系统所有的⽤户⽣效,此⽂件应⽤于所有⽤户每次登录系统时的环境变量定义。每次⽤户登录的时候,都会加载这个⽂件。
**HOME/.bashprofile∗∗−>针对特定⽤户⽣效,HOME/.bash_profile** -> 针对特定⽤户⽣效,HOME/.bashprofile∗∗−>针对特定⽤户⽣效,HOME为⽤户的宿主⽬录。当这个⽤户登录时,⾸先加载/etc/profile⽂件中的定义,再加载
$HOME/.bash_profile⽂件中的定义。
位置参数变量

$ 和 $@ 的区别*
他们都表示传递给函数或脚本的所有参数,不被双引号包含时,都以"$1""$2"“3"..."3"..."3"..."n” 的形式输出所有参数。
当他们被双引号包含时
"$*"会将所有的参数作为⼀个整体,以 $1 $2 $3 … n的形式输出所有的参数。"n 的形式输出所有的参数。
"n的形式输出所有的参数。"@"会将各个参数分开,以 “$1"”$2"“3"..."3"..."3"..."n” 的形式输出所有参数。
预定义变量

read命令
命令说明
read命令,可以从控制台读取⽤户输⼊的内容,并且给指定的变量进⾏赋值。
命令的基本格式为: read [option] variable
常⻅的option:
-p : 提示语句,在输⼊之前,给⽤户提示的信息
-n : 限制输⼊的字符数量,到达这个数量的字符的时候,会⾃动的停⽌输⼊
-t : 等待时间,单位为秒。当到达这个等待时间的时候,会⾃动的结束输⼊,并且不会读取任何输⼊的内容!
即,输⼊操作且回⻋,必须在指定的时间内完成。
-s : 隐藏输⼊的内容。在控制台上不显示任何输⼊的内容,常⻅于密码的输⼊
read的实例
[root@qianfeng01 ~]# read -t 30 -p "please input your name:"
NAME
[root@qianfeng01 ~]# echo $NAME
[root@qianfeng01 ~]# read -s -p "please input your age :" AGE
[root@qianfeng01 ~]# echo $AGE 注意:如果隐藏输⼊,这⾥的结果是看不到的
[root@qianfeng01 ~]# read -n 1 -p "please input your sex
[M/F]:" GENDER
[root@qianfeng01 ~]# echo $GENDER
注意事项
在输⼊的时候,如果输错了需要删除的时候,执⾏ ctrl+delete
符号不要输⼊中⽂
变量与之前的内容需要保持有空格
运算
expr
格式 :expr m + n 或$((m+n)) 注意expr与运算符和变量间要有空格
sum=$((m+n)) 中=与$之间没有空格
expr命令:对整数型变量进⾏算术运算
(注意:运算符前后必须要有空格)
[root@qianfeng01 ~]# expr 3 + 5
[root@qianfeng01 ~]# expr 3 – 5
[root@qianfeng01 ~]# echo `expr 10 / 3`
10/3的结果为3,因为是取整
[root@qianfeng01 ~]# expr 3 \* 10
\ 是转义符
示例
计算(2 +3 )×4 的值
1 .分步计算
[root@qianfeng01 ~]# S=`expr 2 + 3`
[root@qianfeng01 ~]# expr $S \* 4
2.⼀步完成计算
[root@qianfeng01 ~]# expr `expr 2 + 3` \* 4
[root@qianfeng01 ~]# S=`expr \` expr 2 + 3 \` \* 4`
[root@qianfeng01 ~]# echo $S
或
[root@qianfeng01 ~]# echo $(((2 + 3) * 4))
()与()与()与{}
$()与${}的区别
$( )的⽤途和反引号``⼀样,⽤来表示优先执⾏的命令
eg: [root@qianfeng01 ~]# echo $(ls /root)
${ } 就是取变量了
eg:[root@qianfeng01 ~]# echo ${PATH}
$((运算内容)) 适⽤于数值运算
eg: [root@qianfeng01 ~]# echo $((3+1*4))
字符串
字符串的脚本⽤法
- 字符串不能单独出现,必须要配合变量。
- 字符串可以使⽤单引号[' '],也可以使⽤双引号[" "],也可以不⽤引号
- 单引号内的任何字符没有任何意义,都会原样输出
- 单引号内使⽤变量是⽆效的,单引号内不能出现单引号
- 双引号内可以使⽤变量
- 双引号内可以使⽤转义字符
- 在字符串拼接操作时,我们可以进⾏⽆缝拼接,或者是在双引号⾥使⽤变量
字符串的⻓度
可以使⽤${#variable} 或者 expr length "${variable}"。因为expr是指令,所以别忘记使⽤反单引号``或者是$()
直接看案例:
[root@qianfeng01 ~]# vim test3.sh
#!/bin/bash
var='welcome to china'
length1=${#var}
length2=$(expr length "${var}") <==$()写法
length3=`expr length "$var"` <==反单引号写法
Shell数组
数组的使⽤规则
- 在/bin/bash这个shell中,只有⼀维数组的概念,并且不限定数组的⻓度。
- 数组的元素下标是从0开始的,
- 获取数组的元素要使⽤下标
- 下标使⽤不当,会报错
数组的定义
定义格式: variable=(值1 值2 … 值n)
注意:元素之间除了使⽤空格作为分隔符,还可以使⽤换⾏符。
或者
name[0]=值1
name[1]=值2
…
name[n]=值n
读取数组
${variable[index]}: 读取index索引上的元素
${variable[*]}或者${variable[@]}:读取所有元素
${#variable[*]}或者${#variable[@]} : 读取数组的⻓度
[root@qianfeng01 ~]# vim test3.sh
#!/bin/bash
citys=(cc sh bj sd hlj)
hobby[0]=book
hobby[1]=film
hobby[2]=music
echo ${citys[0]} <==cc
echo ${hobby[*]} <==book film music
echo ${#hobby[@]} <==3
[root@qianfeng01 ~]# bash test3.sh
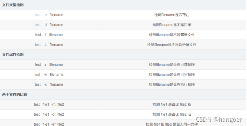
test测试命令


通常test命令不单独使⽤,⽽是与if语句连⽤,或是放在循环结构中
判断符号[]
除了好⽤的test之外,我们还可以使⽤中括号来进⾏检测条件是否成⽴
[root@qianfeng01 ~]# [ -r filename ] 检测filename是否有可读权限
[root@qianfeng01 ~]# [ -f filename -a -r filename ]检测filename是不是普通⽂件并且有可读权限
条件控制
if条件语句-单分⽀
if [ 条件判断 ]
then
条件成⽴的执⾏逻辑
fi
或者
if [ 条件判断 ] ; then
条件成⽴的执⾏逻辑
fi
注意事项:
- if语句需要使⽤fi结尾,和⼀般语⾔使⽤⼤括号结尾不同。
- [ 条件判断 ] 就是使⽤test命令判断,所以中括号和条件判断之间必须有空格
- then后⾯跟符合条件之后执⾏的程序,可以放在[]之后,⽤;分隔,也可以换⾏写⼊,就不需要;了
- if与中括号之间必须要有空格
if条件语句-多分⽀
if [ 条件判断式1]
then
当条件判断式1成⽴时,执⾏程序1
elif [ 条件判断式2 ]
then
当条件判断式2成⽴时,执⾏程序2
...省略更多条件
else
当所有条件都不成⽴时,最后执⾏此程序
fi
案例
编写⼀个坐⻋脚本,要求:
脚本名字: home.sh
逻辑: 从外⾯传⼊⼀个参数,根据参数判断: 1. 坐⻜机,2. 坐⽕⻋,3. 坐⽕箭,4.不回了
#!/bin/bash
CHOICE=$1
if [ $CHOICE == 1 ]
then
echo "坐⻜机"
elif [ $CHOICE == 2 ]
then
echo "坐⽕⻋"
elif [ $CHOICE == 3 ]
then
echo "坐⽕箭"
elif [ $CHOICE == 4 ]
then
echo "不回了"
else
echo "输⼊的参数有问题啊"
fi
case
在Java中,我们学习过switch-case结构。这种结构,我们可以捕获⼀个变量的值,对这个变量取到的某些值进⾏不同的处理。在Shell中,也有类似的结构,就是case。
- case命令是⼀个多分⽀的if/else命令,case变量的值⽤来匹配value1、value2、value3等不同的值。
- 匹配到后,则执⾏跟在后⾯的命令,直到遇到双分号为⽌。
- 类似于if命令,case命令使⽤esac作为终⽌符。
- case⾏尾必须为单词in。
- 每个分⽀必须以右括号结束。
- 匹配模式中可使⽤⽅括号表示⼀个连续的范围,如[0-9];使⽤竖杠符号“|”表示或。
- 最后的“\*)”表示默认模式,当使⽤前⾯的各种模式均⽆法匹配该变量时,将执⾏“*)”后的命令序列
# case的格式
CMD=$1
case $CMD in
.......... case⾏尾必须为 变量 in,表示捕获这个变量的值
start)
.......... 需要匹配到的值,需要以右括号作为结尾
echo "starting" ..........
匹配到之后,执⾏的逻辑语句,即⼀个分⽀
;;
.......... ⼀个分⽀的逻辑,需要以;;作为结束,不会向下穿透
stop)
echo "stopping"
;;
*)
.......... *表示以上分⽀都不满⾜的情况,类似于switch-case中的default
echo "please using start|stop"
;;
esac
.......... case语句,需要以esac结束
循环
for循环
for循环命令⽤来在⼀个列表条⽬中执⾏有限次数的命令。
⽐如,你可能会在⼀个姓名列表或⽂件列表中循环执⾏同个命令。
for命令后紧跟⼀个⾃定义变量、⼀个关键字in和⼀个字符串列表(可以是变量)。
第⼀次执⾏for循环时,字符串列表中的第⼀个字符串会赋值给⾃定义变量,然后执⾏循环命令,直到遇到done语句;
第⼆次执⾏for循环时,会右推字符串列表中的第⼆个字符串给⾃定义变量
依次类推,直到字符串列表遍历完。
⽅式⼀:
for N in 1 2 3
do
echo $N
done
或
for N in 1 2 3; do echo $N; done
或
for N in {1..3}; do echo $N; done
或
for N in {1,2,3}; do echo $N; done
注意事项: {}中的数字之间不能有空格
⽅式⼆:
for ((i = 0; i <= 5; i++))
do
echo "welcome $i times"
done
或
for ((i = 0; i <= 5; i++)); do echo "welcome $i times"; done
练习: 计算从1到100的和
#!/bin/bash
SUM=0
for((i=1;i<=100;i++))
do
SUM=$(($SUM + $i))
done
echo $SUM
while循环
while命令根据紧跟其后的命令(command)来判断是否执⾏while循环,当command执⾏后的返回值(exit status)为0时,则执⾏while循环语句块,直到遇到done语句,然后再返回到while命令,判断command的返回值,当得到返回值为⾮0时,则终⽌while循环。
第⼀种
while [ expression ]
do
command
done
# 练习: 求1-10各个数字的平⽅和
#!/bin/bash
num=1
while [ $num -le 10 ]
do
sum=`expr $num \* $num`
echo $sum
num=`expr $num + 1`
done
num=1
while [ $num -le 10 ]
do
sum=$(( $num * $num ))
echo $sum
num=$(( $num + 1 ))
done
第⼆种:
while (( expression ))
do
command
…
done
# 练习: 求1-10各个数字的平⽅和
#!/bin/bash
i=1
while (( i<= 10 ))
do
sum=$(( $i * $i ))
echo $sum
i=$(( $i + 1 ))
done
函数
函数代表着⼀个或⼀组命令的集合,表示⼀个功能模块,常⽤于模块化编程。
以下是关于函数的⼀些重要说明:
在shell中,函数必须先定义,再调⽤
使⽤return value来获取函数的返回值
函数在当前shell中执⾏,可以使⽤脚本中的变量
函数的格式如下:
函数名()
{
命令1…
命令2…
return 返回值变量
}
结构:
[ function ] funname [()]
{
action;
[return int;]
}
function start() / function start / start()
注意事项:
- 如果函数名后没有(),在函数名和{ 之间,必须要有空格以示区分。
- 函数返回值,只能通过$? 系统变量获得,可以显示加:return 返回值
- 如果不加return,将以最后⼀条命令的运⾏结果,作为返回值。
- return后的内容以字符串的形式写⼊,但是执⾏时会⾃动转成数值型,范围:数值n(0-255)
脚本调试
-x: 执⾏脚本,并显示所有变量的值
[root@qianfeng01 ~]# vim test.sh
#!/bin/bash
a=$1
set -x # 这⾥是添加的set -x
b=3
echo "b:"+$b
c=$a
echo $a
[root@qianfeng01 ~]# bash test.sh 1
+ b=3
+ echo b:+3
b:+3
+ c=1
+ echo 1
1
# 这⾥是⼿动添加的set -x,只对set -x以下的部分进⾏调试
-n: 不执⾏脚本,只是检查语法。将返回所有语法错误,例如函数没有正确闭合等
[root@qianfeng01 ~]# vim test1.sh
#!/bin/bash
for N in 1 2 3
do
echo $N
# 这⾥忘记写done,因此for循环没有正确的闭合
function start() {
echo "hahaha"
}
start
[root@qianfeng01 ~]# bash -n test1.sh
test1.sh: line 20: syntax error: unexpected end of file
-v: 执⾏并显示脚本内容
awk
1. cut命令
cut [选项] ⽂件名 默认分割符是制表符,⼀个制表符代表⼀列
选项:
-f 列号: 提取第⼏列
-d 分隔符: 按照指定分隔符分割列
eg:[root@qianfeng01 ~]# cut -f 2 aa.txt 提取第⼆列
eg:[root@qianfeng01 ~]# cut -d ":" -f 1,3 /etc/passwd 以:分割,提取第1和第3列
eg:[root@qianfeng01 ~]# cat /etc/passwd | grep /bin/bash |
grep -v root | cut -d ":" -f 1 获取所有可登陆的普通⽤户⽤户名
cut的局限性 不能分割不定⻓度的空格
⽐如:df -h 不能使⽤cut分割
[root@qianfeng01 ~]# df -h | grep sda1 | cut -f 5
2. awk介绍
⼀个强⼤的⽂本分析⼯具
把⽂件逐⾏的读⼊,以空格为默认分隔符将每⾏切⽚,切开的部分再进⾏各种分析处理。
语法:awk ‘条件1{动作1}条件2{动作2}...’⽂件名
条件(Pattern):
⼀般使⽤关系表达式作为条件: > >= <=等
动作(Action):
格式化输出
流程控制语句
eg:[root@qianfeng01 ~]# df -h | awk '{print $1 "\t" $3}'显示第⼀列和第三列
3. FS内置变量
eg: 输出可登陆⽤户的⽤户名和UID
[root@qianfeng01 ~]# cat /etc/passwd | grep "/bin/bash" | awk
'BEGIN {FS=":"} {print \$1 "\t"\$3 }'
这⾥使⽤FS内置变量指定分隔符为:,⽽且使⽤BEGIN保证第⼀⾏也操作,因为awk命
令会在读取第⼀⾏后再执⾏条件
注意:指定分隔符⽤-F更简单
eg: [root@qianfeng01 ~]# cat /etc/passwd | grep "/bin/bash" |
awk -F: '{print \$1 "\t"\$3 }' 效果同上
eg: 判断⼀下根⽬录的使⽤情况
[root@qianfeng01 ~]# df -h |grep sda1 | awk '{print \$5}' | awk
-F% '{print \$1} \$1<80{print "info"}$1>80{print "warning"}'
BEGIN 在所有数据读取之前执⾏
eg: [root@qianfeng01 ~]# awk 'BEGIN {printf "first Line \n"}
{printf $2 }' aa.txt 在输出之前使⽤BEGIN输出内容
END 在所有数据执⾏之后执⾏
eg: [root@qianfeng01 ~]# awk 'END {printf "The End \n"} {print
$2}' aa.txt 所有命令执⾏完后,输出⼀句"The End"
[root@qianfeng01 ~]# df -h | grep sda2 | awk '{print \$5}' |
awk -F% '{print \$1}'
[root@qianfeng01 ~]# df -h | grep sda2 | awk '{print $5}' | cut
-d"%" -f 1
eg: 获取所有⽤户信息⾥的⽤户名:
[root@qianfeng01 ~]# cat /etc/passwd | awk -F: '{print $1}'
[root@qianfeng01 ~]# awk -F: '{print $1}' /etc/passwd
eg: 获取当前机器的ip地址: ifconfig eth0
[root@qianfeng01 ~]# ifconfig eth0 | grep 'inet addr' | awk -F:
'{print \$2}' | awk '{print $1}'
sed
- sed命令介绍
sed: stream editor
sed是⼀个⾮交互性⽂本流编辑器。它编辑⽂件或标准输⼊导出的⽂本拷⻉。标准输⼊可能是来⾃键盘、⽂件重定向、字符串或变量,或者是⼀个管道的⽂本。
注意: sed并不与初始化⽂件打交道, 它操作的只是⼀个拷⻉,然后所有的改动如果没有重定向到⼀个⽂件,将输出到屏幕。
语法:sed [选项]’[动作]’ ⽂件名
常⽤选项:
-n 使⽤安静(silent)模式。显示经过sed特殊处理的数据。
-e 允许多点编辑。
-i 直接修改读取的档案内容,⽽不是由屏幕输出。

- sed命令的使⽤
eg: [root@qianfeng01 ~]# sed '2p' sed.txt 显示第⼆⾏和所有数据
eg: [root@qianfeng01 ~]# sed -n '2,3p' sed.txt 只显示第⼆和第三⾏
eg: [root@qianfeng01 ~]# df -h | sed -n '1p' 接收命令结果数据
eg: [root@qianfeng01 ~]# sed ‘2a bing’ sed.txt 在第⼆⾏后⾯添加数据
eg: [root@qianfeng01 ~]# sed ‘4i fengjie \ chenchen’ sed.txt在第4⾏之前添加两⾏数据
eg: [root@qianfeng01 ~]# sed ‘2c this is replace’ sed.txt 替换第⼆⾏数据
eg: [root@qianfeng01 ~]# sed ‘s/it/edu360/g’ sed.txt 把
sed.txt⽂件中的it替换为edu360,并输出
eg: [root@qianfeng01 ~]# sed -e '1s/1/34/g;3s/yangmi//g'
sed.txt 同时进⾏多个替换
eg: [root@qianfeng01 ~]# sed –i ‘s/it/edu360/g’ sed.txt要想真正替换,需要使⽤-i参数
案例代码演示:
[root@qianfeng01 ~]# more sed.txt
sldx
it spark
hadoop edu
it hadoop
it scala
[root@qianfeng01 ~]# sed -e 's/it/edu360/g' sed.txt
sldx
edu360 spark
hadoop edu
edu360 hadoop
edu360 scala
eg: 使⽤sed获取机器的ip地址
注意:在对⽂件进⾏匹配的时候,^是⼀个⽂件的开始 $是⼀个⽂件的结束
^.*addr:意思是说从开始到addr全部的内容
centos6.9系统命令
[root@qianfeng01 ~]# ifconfig eth0 | grep 'inet addr'| sed
's/^.*addr://g' | sed 's/ Bcast.*$//g'
centos7.7系统命令
[root@qianfeng01 ~]# ip addr | grep "inet " | grep "eth0" | sed 's/^.*inet //g' | sed 's/\/24.*$//g'
⼆⾏数据
eg: [root@qianfeng01 ~]# sed ‘s/it/edu360/g’ sed.txt 把
sed.txt⽂件中的it替换为edu360,并输出
eg: [root@qianfeng01 ~]# sed -e ‘1s/1/34/g;3s/yangmi//g’
sed.txt 同时进⾏多个替换
eg: [root@qianfeng01 ~]# sed –i ‘s/it/edu360/g’ sed.txt要想真正替换,需要使⽤-i参数
案例代码演示:
[root@qianfeng01 ~]# more sed.txt
sldx
it spark
hadoop edu
it hadoop
it scala
[root@qianfeng01 ~]# sed -e ‘s/it/edu360/g’ sed.txt
sldx
edu360 spark
hadoop edu
edu360 hadoop
edu360 scala
eg: 使⽤sed获取机器的ip地址
注意:在对⽂件进⾏匹配的时候,^是⼀个⽂件的开始 $是⼀个⽂件的结束
^.*addr:意思是说从开始到addr全部的内容
本文深入浅出地介绍了Shell的概念,包括命令解释器的作用、shell脚本编程、变量与运算、循环控制、函数定义以及调试技巧。涵盖了环境变量、数组、文件操作、条件判断和常用工具如awk和sed的应用实例。
2730





