摘要
随着社会发展和生活水平提高,垃圾产量增加,大部分垃圾填埋或焚烧,浪费可回收资源。为解决问题,2019年开始我国推广废物回收再利用,但存在短暂、市民分类意识不强等问题。

针对上述问题,设计了一款基于机械传动、嵌入式系统和物联网技术的智能垃圾回收箱及控制系统。结合功能需求设计了结构方案,包括尺寸、开关门、防夹手机和称重结构等;选型硬件包括主控制器、电源、称重检测、显示、电机控制、语音提示和数据传输模块;设计了软件,包括称重、测距、防夹手和烟雾报警功能;开发了基于机智云后台服务器的操作系统,实现了用户信息识别和与垃圾箱的信息交互。测试结果表明,实现了无触碰开门、投放、自动称重、容量检测、安全防护和自动报警等功能,满足了设计目标。
文章的主要内容
物联网技术可提高垃圾回收管理效率,可开发智能回收系统,实时监控回收过程,通过物联网协作,收集分析数据,及时清理满载垃圾桶,降低人力成本,改善垃圾箱环境。

1、分析智能垃圾分类技术与物联网技术发展,确定研究目标。
2、提出智能垃圾回收箱系统方案,详细设计结构。
3、详细设计控制系统硬件,包括主控制器、传感器选型及监控系统。
4、详细设计控制系统软件,包括云平台选择、信息交互和各模块实现方法。
5、测试智能垃圾回收箱功能,验证云平台功能和垃圾投放过程的有效性。
智能垃圾回收箱总体方案与结构设计
针对城市垃圾量大、回收难问题,设计了一款智能垃圾回收箱,旨在提高居民分类投放积极性,减少可回收物浪费,实现垃圾再利用。系统分为机械结构、控制系统和远程平台。根据功能要求,回收箱可处理纸张、金属、塑料和织物等多种垃圾,提高回收效率。

智能垃圾回收箱功能结构图
(1)用户识别:通过 IC 卡或者手机 APP 上的二维码对用户的身份进行验证,
验证成功后方可投放垃圾。
(2)回收门控制:能够自动开关门,在 LCD 屏上显示开关门状态;开门时伴随有语音提示,关门时系统带有防夹手检测、防挤压检测、满溢检测等功能;后台监控垃圾满溢之后,远程提醒工作人员及时对回收物进行处理。
(3)垃圾称重:对用户投放的垃圾进行称重,将称重数据上传至云平台。并能够检测桶内垃圾是否减少,投放垃圾质量太轻时,能够过滤重量。
(4)LED 显示:显示设备的工作状态和垃圾投放状态。
(5)系统开机自检:设备开机时,能够自动检查设备的状态,减少后续使用时出现的问题。
(6)减重报警:箱内垃圾减少时,设备具有报警功能,同时将减重数据上传至云平台。
(7)称重校准:对垃圾的重量进一步校核,提高称重精准度。
(8)离线数据保存:设备处于非工作状态时,能够将设备的信息自动保存并上传。
智能垃圾回收箱机械结构方案
总体结构设计
智能垃圾回收箱的主要回收目标是纸张、金属、塑料、织物四种可回收物,因此回收箱箱体分为四个部分,针对每一种可回收物分别设置一个垃圾桶,目前常用的户外垃圾桶参数如表 2.1 所示。

内部若放置容积 240L 的垃圾桶,容积过大,会导致智能垃圾回收箱外形尺寸过大,不方便用户投放;容积过小,会增加垃圾清运的频率,比较后选择仅次于最大容积的 120L 容量垃圾桶放置于回收箱内部。长度方向设计 210mm 余量,由于箱体在宽度方向需要安装的元器件较多,设计 550mm 的余量,高度方向设计 660mm 余量,以便放置称重装置和开关门装置。所以,智能垃圾回收箱总长度为(210+550)×4=3040mm,宽度为 470+550=1020m,高度为 920+660=1580mm。
每个分箱有独立的回收物投放口和内置垃圾桶,当桶满时,可取出并运往公司处理。箱体配备四种回收物投放口的控制按键,前面有扫码装置用于身份确认。中间的显示屏显示运行状态,并实时反馈投放信息给居民。顶部摄像头监控投放情况,防止盗窃。智能垃圾回收箱的三维模型见下图。

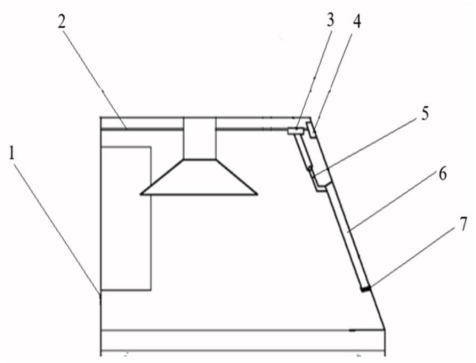
传统垃圾箱的投放口是手动打开的,用户投放垃圾时手上容易沾染垃圾桶中的细菌,对人体健康产生布良影响。部分智能垃圾箱的投放口采用弹出开盖式,桶盖打开速度很快,人在没有防备的情况下容易受到伤害。针对上述问题,本文设计的智能垃圾回收箱采用不接触垃圾桶、滑盖式的开关门机构。

智能垃圾回收开关门机构简图
投放口防夹手机构由固定板、活动板、弹簧装置、连接板、开关触板、行程开关、限位板、固定件组成。开关门机构通过连接装置控制投放门的闭合,固定板安装在投放门上,随投放门同步运动。限位板的固定件安装在固定板中,限位板中有滑槽,固定件可在滑槽内滑动,固定板和活动板两边安装有平行的限位装置和行程装置。与活动板相连的连接板与弹簧下端连接,固定板与弹簧上端连接,位于固定板的中部。
此方案中垃圾投放门关闭接触到人体时,有弹簧装置作为缓冲,两边的固定件沿着限位板滑槽滑动,减少了对人手的挤压力度。当固定件滑到滑槽最大行程时,开关触板也会触发行程开关,此时电机转向改变,回收门再次打开。回收门关闭时,投放口若有物体存在,此装置就会重复上述运动过程,直到用户将垃圾完全投入到智能垃圾回收箱内。
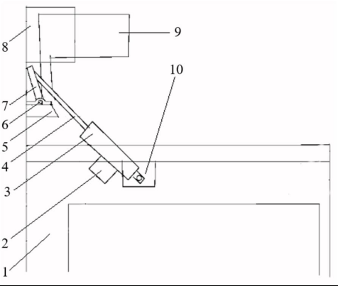
回收物称重机构设计
回收物称重方式在回收箱中安装称重装置来实现,每个垃圾桶采用一个传感器进
行称重,安装在箱内垃圾桶下方,结构如图。

回收物称重装置结构图
称重装置由固定底座、称重台、垫圈、称重传感器四部分组成。固定底座固定在智能垃圾回收箱底部,在固定底座和称重台之间安装称重传感器,称重传感器两端安装时均加装有垫圈,在有重物投放时起缓冲作用,延长零件使用寿命。这种称重装置称重精度高,不受微小振动的影响[41]。智能垃圾回收箱内的垃圾桶放于称重台上,去皮后即可称得回收物重量。
回收物压缩机构设计
垃圾满溢后,会有工作人员清理,但频繁清理增加成本。为减少清理频率,智能垃圾回收箱内设计了压缩装置,使垃圾密实,增大存储量,不影响居民使用。压缩装置由电机、螺杆等组成,通过正反转控制压块的升降,当垃圾达到一定高度时,压块开始压缩。

回收物压缩机简购图
连接杆与轴杆固定连接,无相对运动。当连接杆顺时针旋转时,轴杆同步旋转。压块手柄的旋转通过轴杆实现,轴杆旋转时,压块手柄被带动旋转,压块压缩箱内垃圾。压块固定座位于箱体后壁,可防止压块自重损伤轴杆,延长零件寿命。压块下降速度可通过调节电机转速控制,避免垃圾飞溅。
智能垃圾回收箱控制系统方案
智能垃圾回收箱控制系统分为硬件系统和软件系统两部分。
智能垃圾回收箱硬件系统方案
智能垃圾回收箱功能多、数量多,设计一个功能全面、费用适中的核心控制系统
非常重要。主要功能模块如下:
(1)主控制器
STM32 单片机是一款接口丰富、性价比高的单片机。该控制器能够同时控制多个功能模块,且联网方便,能够实现远程后台的控制。
(2)电源模块
智能垃圾回收箱一般在居民小区里投放,可以连接至小区的电力系统,市电经电源模块转换为其它模块正常工作所需要的电压。
(3)称重检测模块
要实现对垃圾的称重,须在回收箱里内置传感器,对居民每次的垃圾投递操作进行实时测量,上传数据。当垃圾超重时,能够发出信号,通知工作人员进行处理,当垃圾减少时也能够发出报警信号。
(4)显示模块
在智能垃圾回收箱上安装液晶显示屏,通过界面显示可以提醒用户进行合理操作,同时 LED 指示灯显示设备的工作状态。
(5)电机控制模块
电机控制模块控制步进电机和直流电机。步进电机对智能垃圾回收箱投放门进行控制,直流电机对智能垃圾回收箱中的垃圾进行压缩和控制灭火球的启用。
(6)语音提示模块
智能垃圾回收箱内置语音提示模块,可以将系统内各种传感器的数据以语音的方式播放出来,系统出现异常时,可以发出警报声提示附近的人员及时处理。
(7)数据传输模块
智能垃圾回收箱数据传输模块的作用是将检测到的数据上传至后台服务器,同时可以将配置参数和操作指令从后台下载下来,用于智能垃圾回收箱的控制。
智能垃圾回收箱软件系统方案
软件设计是把需求转化为软件系统的最重要的环节。智能垃圾回收箱的软件分为三部分:用户信息识别、设备功能控制和云平台。
(1)用户信息识别通过前端箱体、后台、APP 平台以及第三方后台多重识别,若有一方识别失败,用户信息则识别失败,不能进行正常的垃圾投递操作,后续第三方功能也会受到影响。
(2)各个功能的实现需要硬件和软件的配合,硬件模块选择后,要有软件的程序驱动才能够实现相应的功能。模块化程序设计主要包括软件设计流程分析,根据硬件部分的原理设计出软件流程图,编制软件程序代码。
(3)智能垃圾回收箱的设备信息、用户信息,APP 绑定、箱体定位等功能,通过云平台实现。云平台可以对数据进行储存、分析计算和传输,功能可延伸至对运输车辆的调度。
智能垃圾回收箱远程控制平台方案
由于智能垃圾回收箱系统功能较多,内含众多模块,而许多模块中又包括众多传感器装置,为了保证智能垃圾回收箱的正常工作,需要在后台远程监控设备的运行情况,在设备出现问题时及时处理。另外,智能垃圾回收箱作为一种回收设备,要对箱中的回收物实时监控,防止可回收物被盗走。监控方案如下:
(1)设备功能监控:将云平台与智能垃圾回收箱控制系统建立联系,在后台检测智能垃圾回收箱的工作状态。当功能不正常,或是火灾、满溢装置报警时,及时安排相关技术人员处理。
(2)箱体周围环境监控:在箱体周围安装摄像头,摄像头与控制系统中的网络通信模块连接,通过通信模块将监控画面上传至后台。在设备遭到人为破坏和箱内回收物丢失时可以找到相关责任人。
小结
本章从智能垃圾回收箱的功能需求出发,提出了智能垃圾回收箱的总体方案。对智能垃圾回收箱的总体结构和关键装置的结构进行了详细设计,提出了硬件和软件相配合的控制系统方案。针对智能垃圾回收箱的运行状态和安全问题,提出了在后台进行远程监控的方案。
未完,敬请期待下一章节,将详细介绍智能垃圾回收箱控制系统的硬件设计。
本文针对城市垃圾回收难题,设计了基于机械传动、嵌入式系统和物联网技术的智能垃圾回收箱及控制系统。介绍了总体方案与结构,包括用户识别、称重等功能;阐述了硬件系统如主控制器、电源模块等,以及软件系统;还提出远程控制平台监控方案,实现无触碰开门等功能。
8777

被折叠的 条评论
为什么被折叠?



