本项目包含程序+源码+数据库+LW+调试部署环境,文末可获取一份本项目的java源码和数据库参考。
系统的选题背景和意义
选题背景: 就业信息管理系统是一种用于管理和统计就业信息的软件系统,它可以帮助学校、企事业单位等机构更加高效地管理和利用就业信息。随着社会经济的发展和人才市场的竞争日益激烈,就业问题成为了广大毕业生和用人单位关注的焦点。然而,传统的就业信息管理方式存在着许多问题,如信息不准确、数据分散、处理效率低下等,这些问题严重影响了就业信息的收集、整理和利用。因此,开发一款高效、便捷的就业信息管理系统具有重要的现实意义。
选题意义: 首先,就业信息管理系统可以提高就业信息的准确性和及时性。通过系统化的数据采集和管理,可以避免人工操作中可能出现的错误和延误,保证就业信息的真实可靠性。同时,系统还可以实时更新就业信息,使得相关部门和个人能够及时获取最新的就业动态,为决策提供科学依据。
其次,就业信息管理系统可以提高就业资源的有效利用。通过系统的数据分析和挖掘,可以深入了解就业市场的需求和趋势,为学校和学生提供更加精准的就业指导和服务。同时,用人单位也可以通过系统筛选合适的人才,提高招聘效率和质量。
此外,就业信息管理系统还可以促进学校与用人单位之间的紧密合作。通过系统的信息共享和交流,学校可以更好地了解用人单位的需求,为学生提供更加符合市场需求的培养方案。而用人单位也可以通过系统发布招聘信息,吸引优秀的毕业生加入。
综上所述,开发一款高效、便捷的就业信息管理系统对于提高就业信息的管理水平、促进学校与用人单位的合作以及推动人才市场的健康发展具有重要的意义。
以上选题背景和意义内容是根据本选题撰写,非本作品实际的选题背景、意义或功能。各位童鞋可参考用于写开题选题和意义内容切勿直接引用。本作品的实际功能和技术以下列内容为准。
技术栈:
本项目的技术栈主要包括前端Vue、后端Java程序语言开发、SSM框架和MySQL5.7数据库。
Vue是一种轻量级的JavaScript框架,能够快速构建交互式的用户界面。Vue提供了易于使用的API,使得开发者可以非常容易地创建组件化、可复用的代码。
Java是一种跨平台的编程语言,拥有丰富的库和工具生态系统,广泛用于企业级应用开发。Java在后端服务开发方面拥有强大的性能和可伸缩性,并且能够很好地与其他技术栈集成,如Spring、Hibernate、MyBatis等。
SSM框架是Spring、SpringMVC和MyBatis三个框架的结合体,其整合了各自优势,形成了完整的Web开发框架。本系统客户端向服务器发送请求,SpringMVC拦截请求交给相应的控制器(Controller)处理,使用注解或配置文件定义URL和方法映射,控制器调用Service层中的业务逻辑处理方法,Service层处理完毕后将结果返回给控制器,控制器根据返回的结果选择适当的视图(View)进行展示,视图渲染完成后返回给客户端的过程。
MySQL5.7是一种开源的关系型数据库管理系统,在数据存储和管理方面表现优异。它能够轻松地集成到任何技术栈中,如Java、Python、Ruby等。除此之外,MySQL还具备高可靠性、高稳定性、易扩展性和强数据安全性等特点。
我们选择Vue、Java、SSM框架和MySQL5.7作为本作品的技术栈,具有语言间的无缝协作、代码复用性强、开发效率高、性能高等诸多优势。
3.1可行性分析
一个完整的系统,可行性分析是必须要有的,因为他关系到系统生存问题,对开发的意义进行分析,能否通过本网站来补充线下就业信息管理模式中的缺限,去解决其中的不足等,通过对本网站,不仅能使工作量不断地减少,还能使工作和管理的效率更加高。所以开发该网站能实现更大的意义和价值,网站完成后,能否达到预期效果就要通过可行性分析,分析之后,决定此系统是否开发。该就业信息管理系统的开发设计中,对技术、经济、操作方面进行了可行性分析。
3.1.1技术可行性
本系统开发选择java语言,它被研究的目的就是在于能够为网页创建等可以看到的信息。随着移动互联网技术的不断发展和创新,java俨然已成为下一代互联网的Web标准。所以后台设计选择使用mysql数据库主要用来的建立和维护信息。对于前台开发要求应具备功能完善、易于操作等优点,后台数据库的要求则是能够建立和维护数据信息的统一性和完整性。
3.1.2操作可行性
现在随着科技的飞速发展,计算机早已经进入了人们的日常生活中,人们的工作环境也不像以前有那么多的要求,需要员工一定要到公司办公,有的工作在家也可以完成。这使得人们的工作效益有了很大的提高。操作的多样性也变高了。因此,管理的计算机化,智能化是社会发展而带来的必然趋势,各种智能的软件层出不穷,不同的软件能完成用户不同的需求,这不仅提高了工作效率还能完成一些客户特定的一些需求。本系统不仅界面简洁明了还采用可视化界面,系统的操作十分简单,方便上手,对于第一次使用系统的人,只需要很少的时间就可以上手操作。由此可见,本系统在操作上是可行的。
3.1.3经济可行性
基于springboot的就业信息管理系统,该网站软件开发仅需要一台普通的计算机便可完成实现开发,其成本很低。另外,作为毕业设计作品来讲,开发成本基本上可以忽略不计,且该系统软件的投入使用,可以实现更加快速高效的就业信息管理,同时还能实现对人力资源和管理资源的有效节约,该就业信息管理系统在经济上完全可行。
利用springboot、Java、MyEclipse和mysql数据库等知识点,结合相关设计模式、以及软件工程的相关知识,设计一个就业信息管理系统,来进行记录用户的信息,以及系统信息的增删改查的功能,根据实现需求,系统需完成这些基本功能:
(1)系统合理显示系统首页界面,管理员界面,学生界面,企业界面和导师界面等界面。
(2)所有用户的信息都保存与数据库中。
(3)对就业信息能够进行查询、修改、删除、添加等操作。
根据就业信息管理系统的功能需求,进行系统设计。
前台功能:进入系统可以实现首页,招聘信息,交流论坛,公告资讯,个人中心,后台管理等功能进行操作。
后台由管理员,学生,企业和导师,主要功能包括首页,个人中心,学生管理,导师管理,企业管理,招聘信息管理,应聘信息管理,面试邀请管理,就业指导管理,交流论坛,系统管理等。
系统对这些功能进行整合,产生的功能结构图如下:

图3-1 系统总体结构图
3.4数据库设计与实现
在每一个系统中数据库有着非常重要的作用,数据库的设计得好将会增加系统的效率以及系统各逻辑功能的实现。所以数据库的设计我们要从系统的实际需要出发,才能使其更为完美的符合系统功能的实现。
3.4.1数据库概念结构设计
数据库的E-R图反映了实体、实体的属性和实体之间的联系。下面是各个实体以及实体的属性。
学生注册实体属性图如下所示:

图3-2学生注册实体属性图
招聘信息实体属性图如下所示:

图3-3招聘信息实体属性图
4.1前台功能模块
就业信息管理系统,进入到系统首页,可以查看首页,招聘信息,交流论坛,公告资讯,个人中心,后台管理等内容进行操作,如图4-1所示。

图4-1系统首页界面图
学生注册;在学生注册页面中输入学生账号,密码,确认密码,学生姓名,学生电话等内容进行注册操作;如图4-2所示。

图4-2用户注册界面图
招聘信息;在招聘信息页面中可以查看招聘编号,发布时间,岗位,岗位要求,薪资,企业账号,企业名称等内容;如图4-3所示。

图4-3招聘信息界面图
个人中心;在个人中心页面中输入学生账号,密码,学生姓名,性别,学生电话,图片等内容进行更新信息,并可以根据需要对我的发布进行详细的操作,如图4-4所示。

图4-4个人中心界面图
4.2后台功能模块
后台登录,通过填写注册时输入的用户名、密码、选择角色等信息进行登录操作,如图4-5所示。

图4-5后台登录界面图
4.2.1管理员功能
管理员登录进入就业信息管理系统可以查看首页,个人中心,学生管理,导师管理,企业管理,招聘信息管理,应聘信息管理,面试邀请管理,就业指导管理,交流论坛,系统管理等功能进行详细操作,如图4-6所示。

图4-6管理员功能界面图
学生管理;在学生管理页面中可以查看索引,学生账号,学生姓名,性别,电话,头像等内容,并进行详情,修改和删除等操作;如图4-7所示。

图4-7学生管理界面图
导师管理;在导师管理页面中可以查看索引,导师账号,导师姓名,性别,导师电话,头像等内容,并进行详情,修改和删除等操作;如图4-8所示。

图4-8导师管理界面图
企业管理;在企业管理页面中可以查看索引,企业账号,企业名称,企业封面,企业电话,地址等内容,并进行详情,修改或删除等操作;如图4-9所示。

图4-9企业管理界面图
招聘信息管理;在招聘信息管理页面中可以查看索引,照片编号,招聘标题,招聘封面,发布时间,岗位,薪资,企业账号,企业名称等内容,并进行详情,修改和删除等操作;如图4-10所示。

图4-10招聘信息管理界面图
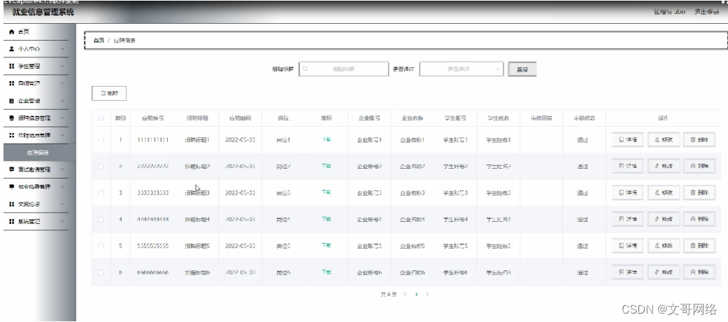
应聘信息管理;在应聘信息管理页面中可以查看索引,应聘编号,招聘标题,应聘时间,岗位,学历,企业账号,企业名称,学生账号,学生姓名,审核回复,审核状态等内容,并进行详情,修改和删除等操作;如图4-11所示。

图4-11应聘信息管理界面图
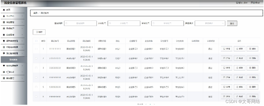
面试邀请管理;在面试邀请管理页面中可以查看索引,面试编号,面试标题,面试时间,招聘标题,岗位,企业账号,企业名称,学生账号,学生姓名,审核回复,审核状态等内容,并进行详情,修改和删除等操作;如图4-12所示。

图4-12面试邀请管理界面图
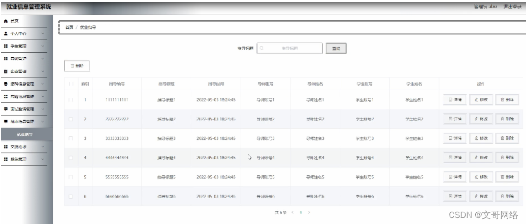
就业指导管理;在就业指导管理页面中可以查看索引,指导编号,指导标题,指导时间,导师账号,导师姓名,学生账号,学生姓名等内容,并进行详情,修改和删除等操作;如图4-13所示。

图4-13就业指导管理界面图
交流论坛;在交流论坛页面中可以查看索引,帖子标题,用户名,状态等内容,并进行详情,修改,查看评论和删除等操作;如图4-14所示。

图4-14交流论坛界面图
本文描述了一款就业信息管理系统的设计,涉及前端Vue、后端Java与SSM框架、MySQL数据库的应用。文章讨论了选题背景、系统功能(如用户管理、信息发布、查询操作等)、技术可行性、操作可行性及经济可行性,并给出了系统结构和数据库设计。
547

被折叠的 条评论
为什么被折叠?



