本项目包含程序+源码+数据库+LW+调试部署环境,文末可获取一份本项目的java源码和数据库参考。
系统的选题背景和意义
居家养老服务系统是一种为老年人提供全方位照顾和支持的服务模式。随着人口老龄化趋势的加剧,老年人的健康和生活质量成为社会关注的焦点。传统的养老方式往往需要老年人离开家庭,进入养老院或护理机构,这不仅给老年人带来心理上的不适,还可能导致与家人的情感疏远。因此,开发一种居家养老服务系统,以满足老年人在家中得到全面照顾和支持的需求,具有重要的背景和意义。
居家养老服务系统的背景是基于老年人的特殊需求和社会发展的现实。随着医疗技术的进步和社会福利政策的完善,老年人的寿命得到了显著延长。然而,老年人在身体、精神和社交方面面临着许多挑战。他们可能需要定期监测健康状况、服药提醒、日常生活照料等服务。同时,由于子女工作繁忙或地理位置的限制,无法时刻陪伴在身边。因此,开发居家养老服务系统可以为老年人提供便利和安全,同时减轻子女的负担,促进家庭和谐。
居家养老服务系统的意义在于满足老年人的需求,提高他们的生活质量。通过该系统,老年人可以在家中得到全面的照顾和支持,包括健康监测、紧急救援、社交互动等功能。这不仅能够提升老年人的自尊心和幸福感,还能延缓老年人的身体和认知功能衰退。同时,居家养老服务系统也为子女提供了一个可靠的方式来关心和照顾父母,减轻了他们的后顾之忧。此外,该系统还有助于推动养老服务行业的发展,创造就业机会,促进经济增长。
以上选题背景和意义内容是根据本选题撰写,非本作品实际的选题背景、意义或功能。各位童鞋可参考用于写开题选题和意义内容切勿直接引用。本作品的实际功能和技术以下列内容为准。
技术栈:
本项目的技术栈主要包括前端Vue、后端Java程序语言开发、SSM框架和MySQL5.7数据库。
Vue是一种轻量级的JavaScript框架,能够快速构建交互式的用户界面。Vue提供了易于使用的API,使得开发者可以非常容易地创建组件化、可复用的代码。
Java是一种跨平台的编程语言,拥有丰富的库和工具生态系统,广泛用于企业级应用开发。Java在后端服务开发方面拥有强大的性能和可伸缩性,并且能够很好地与其他技术栈集成,如Spring、Hibernate、MyBatis等。
SSM框架是Spring、SpringMVC和MyBatis三个框架的结合体,其整合了各自优势,形成了完整的Web开发框架。本系统客户端向服务器发送请求,SpringMVC拦截请求交给相应的控制器(Controller)处理,使用注解或配置文件定义URL和方法映射,控制器调用Service层中的业务逻辑处理方法,Service层处理完毕后将结果返回给控制器,控制器根据返回的结果选择适当的视图(View)进行展示,视图渲染完成后返回给客户端的过程。
MySQL5.7是一种开源的关系型数据库管理系统,在数据存储和管理方面表现优异。它能够轻松地集成到任何技术栈中,如Java、Python、Ruby等。除此之外,MySQL还具备高可靠性、高稳定性、易扩展性和强数据安全性等特点。
我们选择Vue、Java、SSM框架和MySQL5.7作为本作品的技术栈,具有语言间的无缝协作、代码复用性强、开发效率高、性能高等诸多优势。
3.3 功能需求分析
系统功能需求分析是通过软件开发者在参与市场调研,与居家养老服务管理者及居家养老服务交流后经过详细缜密的思考,再讨论研究后得出的初步系统开发所需实现功能。这是开发系统的开始,也是相当关键的一步,如果不在这个阶段制定系统所需模块,日后会带来不必要的麻烦。因此,必须严肃认真,全身心投入去做好这个步骤。
本系统采用从上往下的步骤开发,基本功能如下:
本课题要求实现一套居家养老服务系统小程序,系统主要包括前台模块(社区人员,子女,老人)和后台模块(管理员)等功能。

图3-1管理员用例图
(2)社区人员,子女和老人进入小程序首页可以实现首页,健康情况,老人事务,服务进度,我的等内容,前台用例图如下所示:

图3-2前台用例图
3.4 系统设计规则与运行环境
软件系统的优劣很大程度上是由系统设计的完善与否决定的。世间万物都必须遵循生老病死的法则,这是大自然的规则不能违反,软件设计也一样需要遵循系统设计规则。因此,在设计过程中必须遵循系统设计规则。
规则如下:
简单性:为了扩大系统使用者的受众面,系统设计应该本着操作越简单约好的原则,这样不仅能提高系统的使用率更能够扩大系统使用面。。
针对性:一个系统针对性越强,所能提供的功能必然越完善,用户体验肯定更好,所以应该明确指定系统针对性。
实用性:实用永远是检验一个系统是否成功的唯一标准,使用的语言再高端,使用的结构再新颖但不能满足用户的要求那就是失败。
运行环境:
本系统是利用B/S结构来开发的,数据库在服务器上进行部署MySQL即可,其他包括My Eclipse等常规开发程序。
3.5系统流程分析
3.5.1操作流程

图3-3登录流程图
3.5.2添加信息流程
添加信息流程图,如图所示:

图3-4添加信息流程图
3.5.3删除信息流程
删除信息流程图,如图所示:

图3-5删除信息流程图
4 系统设计
4.1 系统设计主要功能
通过市场调研及咨询研究,了解了居家养老服务及管理者的使用需求,于是制定了管理员,社区人员,子女,老人等模块。功能结构图如下所示:

图4-1系统功能结构图
4.2 数据库设计
4.2.1 数据库设计规范
数据可设计要遵循职责分离原则,即在设计时应该要考虑系统独立性,即每个系统之间互不干预不能混乱数据表和系统关系。
数据库命名也要遵循一定规范,否则容易混淆,数据库字段名要尽量做到与表名类似,多使用小写英文字母和下划线来命名并尽量使用简单单词。
4.2.2 E/R图
社区人员管理E/R图,如下所示:

图4-2 社区人员管理E/R图
子女管理E/R图,如下所示:

图4-3子女管理E/R图
老人管理E/R图,如下所示。

图4-4老人管理E/R图
5.1前台功能模块(社区人员,子女,老人)
登录,社区人员,子女,老人通过输入用户名和密码,并点击登录进行系统登录操作,如图5-1所示。

图5-1用户登录界面图
子女注册,在子女注册页面通过填写用户账号,密码,确认密码,姓名,性别,手机等信息进行注册操作;如图5-2所示。

图5-2子女注册界面图
社区人员,子女,老人登陆系统后,可以对首页,健康情况,老人事务,服务进度,我的等功能进行详细操作,如图5-3所示。

图5-3小程序首页界面图
老人,在我的页面可以对健康情况,老人事务,服务进度,意见反馈等详细信息进行操作,如图5-4所示。

图5-4老人功能界面图
子女,在我的页面可以对健康情况,老人事务,服务进度,意见反馈等详细信息进行操作,如图5-5所示。

图5-5子女功能界面图
社区人员,在我的页面可以对老人健康情况,服务进度,意见反馈等详细信息进行操作,如图5-6所示。

图5-6社区人员功能界面图
5.2后台功能模块(管理员)
管理员登录,管理员通过输入账号、密码,选择角色并点击登录进行系统登录操作,如图5-7所示。

图5-7管理员登录界面图
管理员登陆系统后,可以对首页,个人中心,社区人员管理,子女管理,老人管理,事务类型管理,健康情况管理,老人事务管理,服务进度管理,管理员管理,系统管理等功能进行相应操作,如图5-8所示。

图5-8管理员功能界面图
社区人员管理,在社区人员管理页面可以对索引,工作编号,姓名,性别,头像,手机等内容进行详情、修改或删除等操作,如图5-9所示。

图5-9社区人员管理界面图
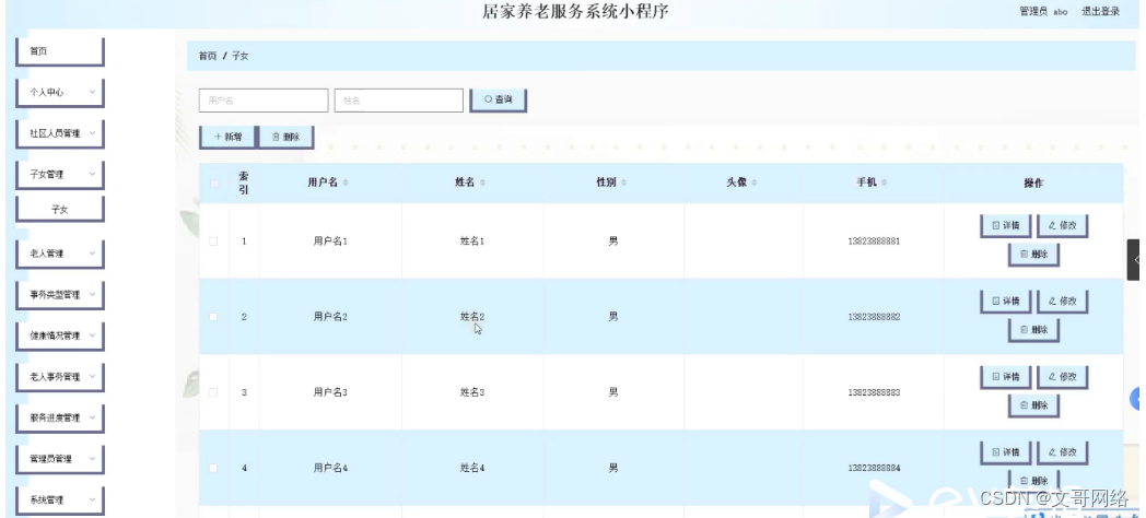
子女管理,在子女管理页面可以对索引,用户名,姓名,性别,头像,手机等内容进行详情,修改或删除等操作,如图5-10所示。

图5-10子女管理界面图
老人管理,在老人管理页面可以对索引,老人账号,老人姓名,性别,照片,年龄,联系电话,用户名,姓名等内容进行详情、修改或删除等操作,如图5-11所示。

图5-11老人管理界面图
事务类型管理,在事务类型管理页面可以对索引,事务类型内容进行详情,修改或删除等操作,如图5-12所示。

图5-12事务类型管理界面图
健康情况管理,在健康情况管理页面可以对索引,老人账号,老人姓名,照片,年龄,用户名,姓名,体检内容,体检记录,记录日期,信息备注,工作编号等内容进行详情,修改或删除等操作,如图5-13所示。

图5-13健康情况管理界面图
老人事务管理,在老人事务管理页面可以对索引,事务名称,事务类型,事务图片,事务日期,事务状态,服务地址,老人账号,用户名,审核回复,审核状态,审核等内容进行详情,服务任务,修改,删除等操作,如图5-14所示。

图5-14老人事务管理界面图
服务进度管理,在服务进度管理页面可以对索引,事务名称,事务类型,事务图片,老子账号,用户名,服务地址,任务进度,工作编号等内容进行详情,修改或删除等操作,如图5-15所示。

图5-15服务进度管理界面图
本项目采用SpringBoot框架,结合Vue前端和MySQL数据库,构建了一个涵盖管理员、社区人员、子女和老人功能的居家养老服务系统。系统包括健康监测、紧急救援、社交互动等服务,旨在满足老年人在家中得到全面照顾和支持的需求,同时也为子女提供关心和照顾父母的平台。项目提供源码和数据库分享,支持毕设帮助、指导和调试部署。

被折叠的 条评论
为什么被折叠?



