本项目包含程序+源码+数据库+LW+调试部署环境,文末可获取一份本项目的java源码和数据库参考。
系统的选题背景和意义
选题背景: 随着互联网的快速发展和人们生活水平的提高,外出就餐已经成为了人们日常生活中不可或缺的一部分。然而,传统的点餐方式存在着许多问题,比如排队等候时间长、服务效率低下、订单管理混乱等。为了解决这些问题,越来越多的餐厅开始引入点餐系统,以提升顾客的用餐体验和餐厅的运营效率。
选题意义: 设计和实现一个基于Spring Boot的点餐系统具有重要的意义。首先,通过引入点餐系统,可以大大减少顾客在餐厅排队等候的时间,提高顾客的用餐效率和满意度。其次,点餐系统可以有效地管理订单信息,避免因为人为原因导致的订单错误和混乱,提高餐厅的运营效率。此外,点餐系统还可以提供个性化的推荐服务,根据顾客的历史消费记录和偏好,为其推荐适合的菜品,增加顾客的消费欲望和忠诚度。最后,通过使用Spring Boot框架进行开发,可以简化系统的搭建和维护工作,提高开发效率和系统的稳定性。
以上选题背景和意义内容是根据本选题撰写,非本作品实际的选题背景、意义或功能。各位童鞋可参考用于写开题选题和意义内容切勿直接引用。本作品的实际功能和技术以下列内容为准。
技术栈:
本项目的技术栈主要包括前端Vue、后端Java程序语言开发、SSM框架和MySQL5.7数据库。
Vue是一种轻量级的JavaScript框架,能够快速构建交互式的用户界面。Vue提供了易于使用的API,使得开发者可以非常容易地创建组件化、可复用的代码。
Java是一种跨平台的编程语言,拥有丰富的库和工具生态系统,广泛用于企业级应用开发。Java在后端服务开发方面拥有强大的性能和可伸缩性,并且能够很好地与其他技术栈集成,如Spring、Hibernate、MyBatis等。
SSM框架是Spring、SpringMVC和MyBatis三个框架的结合体,其整合了各自优势,形成了完整的Web开发框架。本系统客户端向服务器发送请求,SpringMVC拦截请求交给相应的控制器(Controller)处理,使用注解或配置文件定义URL和方法映射,控制器调用Service层中的业务逻辑处理方法,Service层处理完毕后将结果返回给控制器,控制器根据返回的结果选择适当的视图(View)进行展示,视图渲染完成后返回给客户端的过程。
MySQL5.7是一种开源的关系型数据库管理系统,在数据存储和管理方面表现优异。它能够轻松地集成到任何技术栈中,如Java、Python、Ruby等。除此之外,MySQL还具备高可靠性、高稳定性、易扩展性和强数据安全性等特点。
我们选择Vue、Java、SSM框架和MySQL5.7作为本作品的技术栈,具有语言间的无缝协作、代码复用性强、开发效率高、性能高等诸多优势。
3.1技术可行性:技术背景
点餐系统的设计与实现是在Windows操作系统中进行开发运用的,而且目前PC机的各项性能已经可以胜任普通网站的web服务器。系统开发所使用的技术也都是自身所具有的,也是当下广泛应用的技术之一。
系统的开发环境和配置都是可以自行安装的,系统使用Java开发工具,使用比较成熟的Mysql数据库进行对系统前台及后台的数据交互,根据技术语言对数据库,结合需求进行修改维护,可以使得网站运行更具有稳定性和安全性,从而完成实现网站的开发。
硬件可行性分析:点餐管理及信息分析的设计对于所使用的计算机没有什么硬性的要求,计算机只要可以正常的使用进行代码的编写及页面设计就可行,主要是对于服务器有些要求,对于平台搭建完成要上传的服务器是有一定的要求的,服务器必须选择安全性比较高的,然后就是在打开网站必须顺畅,不能停顿太长时间;性价比高;安全性高。
因此,我们进行了可行性研究,可以看出系统的开发没有问题。
3.2经济可行性
在点餐系统的设计与实现开发之前所做的市场调研及与其相关的其他管理系统,都是没有任何费用的。所有的调查研究都是通过开发者自己的努力,所有的工作也都是自己亲力亲为的。在碰到自己比较难以解决的问题时,大多数是通过指导老师和同学的帮助进行相关问题的解决。所以对于点餐系统的设计与实现的开发在经济上是完全可行的,没有任何费用支出的。
使用比较成熟的技术,系统是基于Java的开发,采用Mysql数据库。所以系统在开发人力、财力方面的要求不高,具有经济可行性。
3.3操作可行性
可操作性主要是对在点餐系统的设计与实现设计完成后,用户的使用体验度,以及管理员可以通过系统随时管理相关的数据信息,并且对于管理员、用户和服务员三个角色,都可以简单明了的进入到自己的系统界面,通过界面导航菜单可以简单明了地操作功能模块,方便用户信息的操作需求和管理员管理数据信息。对于系统的操作,不需要专业人员都可以直接进行功能模块的操作管理,所以点餐系统的设计与实现的可操作性是完全可以的。本系统的操作使用的也是界面窗口进行登录,所以操作人员只要会简单的电脑操作就完全可以的。
3.4系统设计规则
本点餐系统的设计与实现采用Java技术,Mysql数据库开发,充分保证了系统稳定性、完整性。
点餐系统的设计与实现的设计思想如下:
操作简单方便、系统界面安全良好:简单明了的页面布局,方便查询点餐系统的设计与实现管理的相关信息。
2、即时可见:对点餐系统的设计与实现信息的处理将立马在对应地点可以查询到,从而实现“即时发布、即时见效”的系统功能。
3、功能的完善性:可以管理首页、个人中心、用户管理、服务员管理、菜品信息管理、菜品类别管理、桌号信息管理、用户点餐管理、服务员点餐管理、高峰催单管理、订单评论管理、系统管理模块的修改和维护操作。
3.5系统流程和逻辑
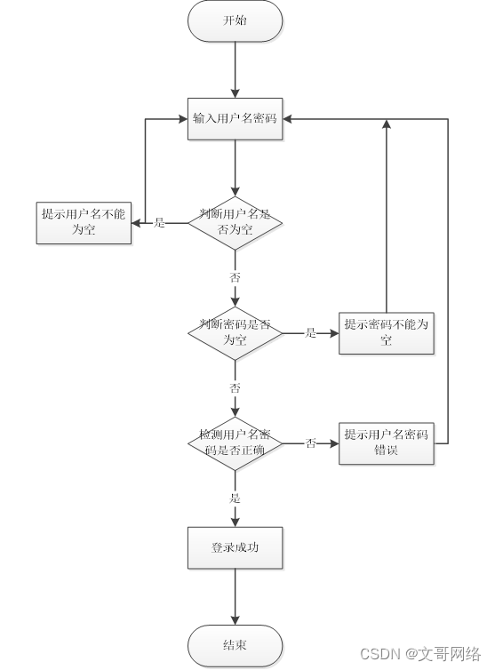
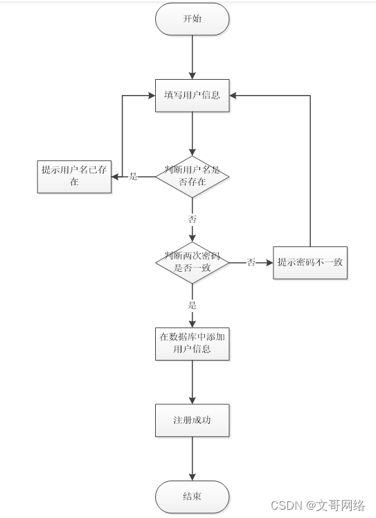
系统业务流程图,如图所示:

图3-1登录流程图

图3-2添加信息流程图

图3-3注册信息流程图
4系统概要设计
4.1 概述
点餐系统的设计与实现基于Web服务模式,是一个适用于Internet环境下的模型结构。只要用户能连上Internet,便可以在不受时间、地点的限制来使用这个系统。点餐系统的设计与实现工作原理图,如图4-1所示:

图4-1 系统工作原理图
4.2 系统结构
系统架构图属于系统设计阶段,系统架构图只是这个阶段一个产物,系统的总体架构决定了整个系统的模式,是系统的基础。点餐系统的设计与实现的整体结构设计如图4-2所示。

图4-2 系统结构图
4.3. 数据库设计
4.3.1 数据库实体
菜品信息管理结构图,如图4-3所示:

图4-3菜品信息管理实体结构图
桌号信息管理实体属性图,如图4-4所示:

图4-4桌号信息管理实体属性图
服务员点餐管理实体属性图如图4-5所示。

图4-5服务员点餐管理实体属性图
5.1系统功能模块
点餐系统的设计与实现,在系统的首页可以查看首页、菜品信息、桌号信息、菜品资讯、个人中心、后台管理、在线交流等信息进行详细操作,如图5-1所示。

图5-1系统首页界面图
菜品信息,在菜品信息页面中可以查看菜品名称、菜品编号、菜品类别、价格、点击次数、菜品介绍、图片等信息,并进行评论、收藏或点赞;如图5-2所示。

图5-2菜品信息界面图
用户注册,在用户注册页面通过填写账号、密码、姓名、手机、邮箱、地址等信息完成用户注册,如图5-3所示。

图5-3用户注册界面图
个人中心,在个人中心页面通过填写账号、密码、姓名、性别、手机、邮箱、上传图片、地址等信息进行个人信息更新信息,根据需要我的收藏进行操作,如图5-4所示。

图5-4个人中心界面图
5.2管理员功能模块
管理员登录,管理员通过输入用户名、密码、选择角色等信息,然后点击登录就能登录到系统进行系统的使用了,如图5-5所示。

图5-5管理员登录界面图
管理员登录进入系统之后,就可以对所有的信息进行查看,可以查看到首页、个人中心、用户管理、服务员管理、菜品信息管理、菜品类别管理、桌号信息管理、用户点餐管理、服务员点餐管理、高峰催单管理、订单评论管理、系统管理等,并且还可以对其进行相应的操作管理,如图5-6所示。

图5-6管理员功能界面图
用户管理,在用户管理页面中可以对索引 、账号、姓名、性别、手机、邮箱、照片、地址等信息进行详情、删除等操作,如图5-7所示。

图5-7用户管理界面图
服务员管理,在服务员管理页面中可以对索引、账号、姓名、性别、手机、邮箱、照片、地址等信息进行详情、删除等操作,如图5-8所示。

图5-8服务员管理界面图
菜品信息管理,在菜品信息管理页面中可以对索引、菜品编号、菜品名称、菜品类别、价格、图片等信息进行详情、修改、查看评论或删除等操作,如图5-9所示。

图5-9菜品信息管理界面图
菜品类别管理,在菜品类别管理页面中可以对索引、类别等信息进行修改、删除等操作,如图5-10所示。

图5-10菜品类别管理界面图
桌号信息管理,在桌号信息管理页面中可以对索引、桌号、座位状态、颜色、图片、日期等信息进行详情、修改或删除等操作,如图5-11所示。

图5-11桌号信息管理界面图
用户点餐管理,在用户点餐管理页面中可以对索引、订单编号、菜品编号、菜品名称、菜品类别、桌号、价格、数量、总金额、下单时间、备注、账号、姓名、是否支付等信息进行详情、删除等操作,如图5-12所示。

图5-12用户点餐管理界面图
服务员点餐管理,在服务员点餐管理页面中可以对索引、订单编号、菜品编号、菜品名称、菜品类别、价格、数量、总金额、下单时间、备注、账号、姓名、是否支付等信息进行详情、删除等操作,如图5-13所示。

图5-13服务员点餐管理界面图
高峰催单管理,在高峰催单管理页面中可以对索引、订单编号、菜品名称、菜品类别、催单时间、催单原因、账号、姓名、审核回复、审核状态、审核等信息进行详情等操作,如图5-14所示。

图5-14高峰催单管理界面图
订单评论管理,在订单评论管理页面中可以对索引、订单编号、菜品名称、菜品类别、菜品打分、服务评价、评价时间、评语、账号、姓名等信息进行详情、删除等操作,如图5-15所示。

图5-15订单评论管理界面图
本文档详述了一款基于Spring Boot的点餐系统的设计与实现,旨在提高餐厅运营效率和顾客用餐体验。系统选题背景是解决传统点餐方式存在的问题,如排队时间长和服务效率低。选题意义在于提升顾客满意度、订单管理和运营效率。技术栈包括Vue前端、Java后端和MySQL数据库。系统设计遵循简单易用、即时响应和功能完善的原则,包括管理员、用户和服务员三大角色的功能模块,提供源码和数据库分享以及毕设帮助。
8万+

被折叠的 条评论
为什么被折叠?



