软件设计师备考 易错知识点(数据流图、数据库设计、UML )
最新推荐文章于 2024-07-09 09:21:50 发布
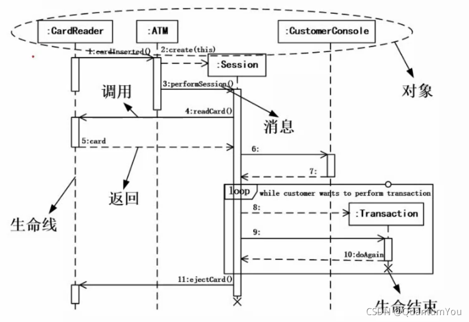
本文深入探讨了数据流图的基本概念,包括父图与子图的数据平衡原则,并提供了答题技巧。同时,文章详细阐述了数据库设计的过程,特别是ER模型的转换原则。此外,还介绍了UML的各种图表,如用例图、类图、对象图、顺序图、活动图、状态图和通信图,并给出了案例分析。
本文深入探讨了数据流图的基本概念,包括父图与子图的数据平衡原则,并提供了答题技巧。同时,文章详细阐述了数据库设计的过程,特别是ER模型的转换原则。此外,还介绍了UML的各种图表,如用例图、类图、对象图、顺序图、活动图、状态图和通信图,并给出了案例分析。
635

被折叠的 条评论
为什么被折叠?