本文为作者学习笔记
欢迎交流讨论,喜欢的话点个赞吧
欢迎去看我的主页: NicholasYe’s Hompage.
安装pyinstaller
win+R输入cmd打开cmd.exe- 输入
pip install pyinstaller安装pyinstaller
- 已安装好后再次安装会出现以下情况
- 如果没安装成功可以输入
pip uninstall pyinstaller卸载后重装

生成.exe文件
-
win+R输入cmd打开cmd.exe -
输入
E:进入E盘中 -
输入
cd E:\test\test\test想编译的python文件所在的文件夹

-
输入
pyinstaller -F <name>.py进行编译 -
在新生成的
dist文件夹中有编译好的.exe文件
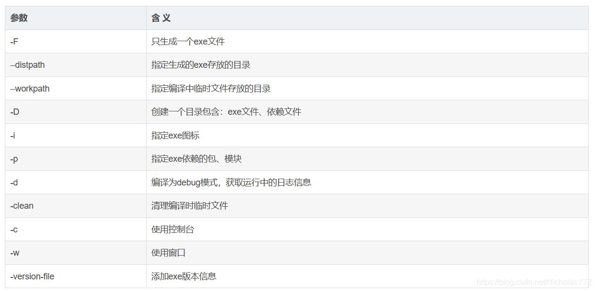
- 常用的命令参数:

请在转载文章过程中明确标注文章出处!尊重原创,尊重知识产权,谢谢!
本文介绍了如何在Windows环境下安装和使用PyInstaller将Python脚本打包成可执行的.exe文件,包括常见命令参数和注意事项。
2253

被折叠的 条评论
为什么被折叠?



