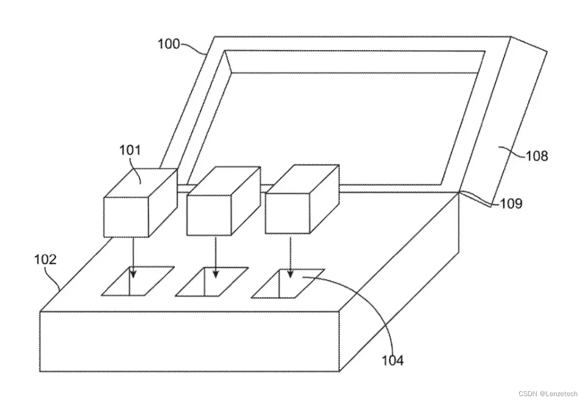
根据美国商标和专利局公示的清单,苹果公司近日获批了编号为 US 20230080598 A1 新专利。该专利主要为各种类型的无线充电器制造配件盒。

苹果表示近年来无线充电市场得到了快速发展,但目前市场尚未规范,可能使用不同的无线充电标准。这就导致用户在出行的时候,不得不携带多种类型的无线充电器。苹果公司所设计的这款配件盒可以容纳一种或者多种类型无线充电器,在内部通过磁性连接等方式连接,可以给数码设备进行充电。用户只需要将 iPhone 等手机或者 AirPods 等耳机放在充电盒的指定位置,就能给使用不同标准的产品进行无线充电。

苹果发布AirTag发布以来,大家都更加注重物品的防丢,苹果的 Find My 就可以查找 iPhone、Mac、AirPods、Apple Watch,如今的Find My已经不单单可以查找苹果的设备,随着第三方设备的加入,将丰富Find My Network的版图。产品与Find My可实现智能防丢的功能。
Find My支持的功能

有害跟踪检测功能:该功能会通知用户可能无法正常识别的配件,同时会追踪这类配件随时间而变化的位置信息。
丢失模式设置号码:支持通过该网络将特定设备或配件设置为丢失模式,还可以设置预留号码让人捡到时联系你。
发现丢失设备位置:当某用户丢失某个设备时可以将其标记为丢失模式,随后设备信息会在蓝牙网络里互相传播。最终当某个用户的蓝牙检测到这个丢失物品时会将其大致的位置传递回最开始丢失的用户帮助用户快速寻找设备。
控制设备播放声音:可以远程发起播放声音帮助用户寻找配件,该动作既支持配件所有者且也支持非所有者发起。当查找到配件的大致位置后用户可以让所有者的 iOS设备发出声音进行提醒,并有所有者取消提醒去寻找设备等。

未来Find My将独立成网,第三方设备的加入,将丰富Find My Network的版图。Find My Network将提供给第三方接口来提供更好的服务。不会破坏用户隐私,除了用户以外,苹果公司和第三方都不会知道手机的具体位置。苹果的Find My 技术使用苹果设备的蓝牙无线信号创建一个设备网络以寻找丢失的物品,他们将与第三方公司打造Find My Network防丢产品。
ST17H6x 苹果Find My芯片

支持Find My Network
内置 64 KB SRAM、96 KB ROM 存储空间,并支持多个外部 SPI、PWM、DMA、UART
支持SIG-Mesh,支持多个节点Friend、LowPower、Proxy、Relay
完善的安全机制:基于 AES-128算法的硬件加密、支持加密算法的硬件加速器
丰富的通信接口及 GPIO 管脚,可支持多种场景及复杂的应用
ST17H6x 芯片在苹果 Find My 应用

ST17H6x多场景应用平均功耗

伦茨科技有许多蓝牙产品方案中运用到Find My功能。Find My功能实际应用场景:儿童手表、车钥匙、宠物项圈、防丢鞋、智能拐杖、防丢书包、钱包、卡包。(tingting是伦茨科技旗下品牌,主要是提供Apple Find My服务应用于各大物联网产品中)

苹果获得新专利,涉及一种可容纳多种无线充电标准的配件盒,解决用户出行时需携带多款充电器的问题。同时,FindMy网络不断发展,支持更多第三方设备,提供防丢功能,包括有害跟踪检测、丢失模式设置、定位设备和播放声音等。ST17H6x芯片用于支持FindMyNetwork,具有低功耗和安全特性,广泛应用于各种物联网产品,如儿童手表、车钥匙等。
2772

被折叠的 条评论
为什么被折叠?



