论文选题
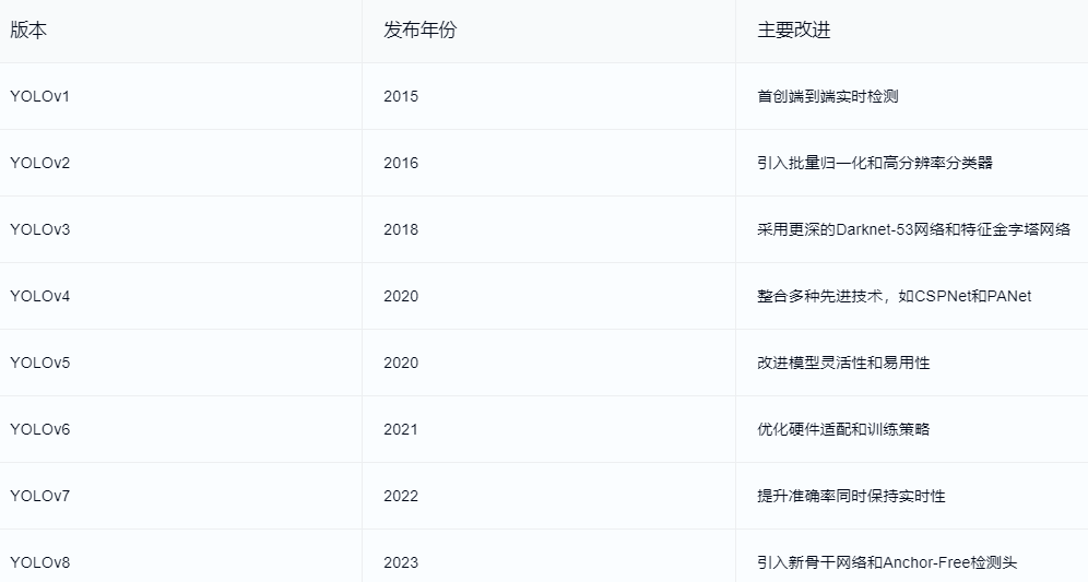
1、YOLO的发展历程
自2015年YOLOv1问世以来,该系列算法经历了一系列重大升级,不断推动着实时目标检测技术的进步。以下是YOLO各版本的关键改进:
这些迭代展示了YOLO在速度、精度和实用性方面的持续进步,反映了计算机视觉社区对实时目标检测技术的不懈探索。

2、热门研究方向
在YOLO算法不断发展的同时,研究人员也在积极探索新的研究方向,以进一步提升模型性能和适用范围。除了前文提到的轻量化改进外,还有几个值得关注的热门研究方向:
多任务学习
多任务学习是当前的一个重要研究方向。这种方法旨在让YOLO模型同时完成多个相关的视觉任务,如目标检测、语义分割和姿态估计等。通过共享底层特征提取网络,可以在保持整体效率的同时,提高各个任务的性能。例如,在行人检测场景中,可以让模型同时进行人体检测和姿态估计,从而更好地理解和描述场景。

跨域适应
另一个备受关注的方向是跨域适应。由于现实世界的数据往往存在分布差异,如何使YOLO模型能够在不同环境下保持稳定性能成为一个关键问题。研究人员正在探索迁移学习和领域适应技术,以减少模型在不同数据集之间的性能差距。这包括使用对抗训练、风格迁移等方法,使模型能够更好地适应新环境。
小目标检测
此外,小目标检测也是当前的一个研究热点。尽管YOLO在大中目标检测上表现出色,但对于小目标的检测仍面临挑战。为此,研究人员提出了多种改进方案,如:
-
增强浅层特征:通过改进网络结构,更好地利用浅层特征来捕捉小目标细节。
-
使用多尺度特征融合:结合不同层次的特征信息,提高对小目标的感知能力。
-
设计专门的损失函数:引入针对小目标的损失项,引导模型更多关注小目标的检测。
这些方法旨在提高模型对小目标的敏感度,尤其是在航空摄影测量等领域中,小目标检测尤为重要。
自监督学习
值得注意的是,自监督学习也开始在YOLO研究中崭露头角。这种方法试图利用未标注数据来改善模型性能,尤其适用于大规模数据集标注成本高昂的场景。通过设计巧妙的 pretext task(如图像拼接、旋转预测等),模型可以从无标签数据中学习到有价值的视觉表征,进而提升在下游任务(如目标检测)上的表现。
这些研究方向不仅体现了YOLO算法的活力和潜力,也为未来的计算机视觉研究开辟了新的可能性。通过这些创新,我们有望看到更加智能、通用和高效的实时目标检测系统。
创新点挖掘
1、模型架构优化
在探讨如何改进YOLO模型架构之前,我们需要明确YOLO的核心组成部分及其各自的功能。YOLO模型主要由三个部分构成:
-
Backbone:负责提取图像特征
-
Neck:进行特征融合和传递
-
Head:最终进行目标检测预测
针对这三个部分,我们可以分别进行优化:
Backbone优化
一种值得尝试的方法是引入 Ghost Bottleneck 结构。这种结构最初由华为诺亚方舟实验室提出,旨在在保持高性能的同时减少计算损耗。Ghost Bottleneck的核心思想是将传统的卷积操作分为两个阶段:
-
第一阶段:使用较少的卷积核进行初步计算

- 第二阶段:基于第一阶段的特征图,通过分块单独线性卷积生成更多的特征图
这种设计能在保持特征丰富性的同时显著减少计算量。在实际应用中,可以将Ghost Bottleneck结构应用于YOLO的主干网络中,替代原有的Bottleneck CSP模块。这种替换不仅能优化网络参数量和计算规模,还能提高模型的检测效率。
Neck优化
可以考虑引入 特征金字塔网络(FPN) 结构。FPN通过自顶向下的方式将高层语义信息与低层位置信息进行融合,有效提高了模型对多尺度目标的检测能力。在YOLO中,可以将FPN结构与原有的主干网络和检测头相结合,形成一个完整的多尺度特征提取和利用框架。这种改进特别有利于提高小目标的检测性能。
Head优化
可以采用 解耦合头 结构。这种结构将原来的耦合头拆分为独立的分类和检测头,允许模型更专注于各自的任务。具体实现时,可以在YOLO的检测头中引入两个平行的分支:
-
分类分支:专注于目标类别判断
-
检测分支:专注于目标位置预测
这种设计能提高模型的检测精度,特别是在处理复杂场景或多类目标时表现更为出色。
通过这些优化方法,我们可以全面提升YOLO模型的性能,既保证了检测精度,又兼顾了计算效率。在实际应用中,可以根据具体需求灵活选择和组合这些优化策略,以获得最佳的模型性能。
2、损失函数设计
在目标检测任务中,损失函数的设计对模型性能起着关键作用。对于YOLO这类单阶段检测器,合理的损失函数可以帮助模型更好地平衡各类目标的检测效果,尤其是面对小目标和密集场景时。近年来,研究人员提出了多种创新的损失函数设计方案,旨在进一步提升YOLO模型的检测性能。
一种值得关注的改进思路是 Normalized Wasserstein Distance (NWD)损失函数 。NWD通过将边界框建模为二维高斯分布,并使用Wasserstein距离来度量这些分布的相似性,从而克服了传统IoU损失函数在处理小目标时的不足。NWD的一个显著特点是它对不同尺度的物体不敏感,这使其特别适合测量微小物体之间的相似性。
在实际应用中,NWD损失函数可以与传统的IoU损失函数结合使用,以平衡不同尺度目标的检测效果。例如,可以通过以下方式将NWD集成到YOLO的损失函数中:
lbox += (1 - iou_ratio) * (1.0 - nwd).mean() + iou_ratio * (1.0 - iou).mean()
其中,iou_ratio控制NWD和IoU损失的相对权重。根据具体应用场景和数据集特点,可以灵活调整这个参数以达到最佳效果。
另一种值得关注的损失函数改进方案是 Focal Loss 。Focal Loss最初由Lin等人提出,旨在解决目标检测中的类别不平衡问题。它的核心思想是通过动态调整损失权重,使模型更加关注难以分类的样本。Focal Loss的数学表达式如下:
FL(p_t) = -α_t(1 - p_t)^γ log(p_t)
其中,p_t是模型预测的正确类别的概率,α_t是类别平衡因子,γ是聚焦参数。通过引入这两个参数,Focal Loss能够在训练过程中自动调整对不同样本的重视程度,从而提高模型在处理类别不平衡数据时的表现。
在YOLO中,Focal Loss可以用来改进分类损失和置信度损失。特别是对于那些包含大量背景的图像,Focal Loss可以帮助模型更好地学习前景目标的特征,减少误检和漏检的情况。
通过这些创新的损失函数设计,我们可以显著提升YOLO模型在复杂场景下的检测性能,特别是在处理小目标和类别不平衡问题时。在实际应用中,可以根据具体任务的需求,灵活选择和组合这些损失函数,以达到最佳的检测效果。
3、数据增强技术
在目标检测领域,数据增强技术一直是提高模型性能的关键因素。对于YOLO这样的单阶段检测器而言,合理运用数据增强不仅可以增加训练数据的多样性,还能显著提升模型的泛化能力和鲁棒性。近年来,研究人员开发了一些创新性的数据增强方法,特别适用于YOLO系列算法。
一种值得关注的技术是 Mosaic数据增强 。这种方法通过将四幅随机选择的训练图像拼接成一幅新的图像,创造出更加复杂的场景。Mosaic的优势在于:
-
扩大训练数据集规模
-
增加场景多样性
-
提高模型对不同光照和遮挡情况的适应能力
具体实现时,可以按照以下步骤进行:
-
随机选择四幅训练图像
-
将这四幅图像按棋盘格的方式排列,并在交界处进行平滑过渡
-
保留原始边界框信息,并相应地调整坐标
Mosaic数据增强的一个关键优点是它能够模拟出更加自然和真实的场景变化。例如,在行人检测任务中,Mosaic可以有效地模拟行人在不同背景下的出现情况,从而提高模型在复杂环境中的检测性能。
另一种值得关注的数据增强方法是 MixUp 。这种方法通过对两幅图像及其对应的标签进行线性插值,生成新的训练样本。MixUp的优势在于:
-
平滑决策边界
-
提高模型泛化能力
-
缓解过拟合问题
在YOLO中应用MixUp时,需要注意保持边界框信息的一致性。具体实现可以遵循以下步骤:
-
随机选择两幅训练图像及其对应的边界框标签
-
按照一定的比例α(通常从Beta分布中采样)对这两幅图像进行线性插值
-
同时,对边界框标签也进行相应的插值
-
使用插值后的图像和标签进行模型训练
MixUp的一个独特之处在于它能够在不增加额外计算开销的情况下,生成无限多样的训练样本。这对于处理小数据集或者稀有类别的情况特别有用。
通过综合运用Mosaic和MixUp等先进数据增强技术,YOLO模型可以在保持实时检测性能的同时,显著提升其在复杂场景下的检测准确性。这些技术不仅能够扩大训练数据集的规模,还能提高模型对不同环境和条件的适应能力,从而在实际应用中取得更好的效果。

在论文方面遇到阻碍的时候,可以联系我,一站式科研辅导服务!
汇集了包括顶会Best Paper提名得主、Top50人工智能重点实验室、知名大厂研究科学家等等多位计算机各细分领域的大牛!
如果你在科研实验和文章写作等方面遇到了问题,都可以向他们请教。还可以结合你的具体情况,结合最近热门研究方向,帮你规划课题方向
实验设计
1、数据集选择
在选择数据集时,我们需要考虑以下几个关键方面:
-
数据集类型 :根据研究目的,可以选择通用目标检测数据集(如COCO、VOC)或特定领域数据集(如自动驾驶、医学影像)。通用数据集通常包含多样化的对象类别和场景,适合评估模型的泛化能力。特定领域数据集则更适合针对性研究和实际应用。
-
数据集规模 :大型数据集(如COCO)通常能提供更好的模型性能,但也需要更高的计算资源。小型数据集可能更适合初学者或资源有限的研究者。在选择时,需要权衡数据规模与可用资源。
-
数据质量和多样性 :高质量的数据集应该具有准确的标注、丰富的场景变化和足够的类别覆盖。多样性有助于提高模型的泛化能力,使其能在不同的应用场景中表现良好。
-
自定义数据集构建 :对于特定研究需求,可能需要构建自定义数据集。这涉及图像采集、标注和数据清洗等工作。在构建过程中,应注意保持数据的多样性和代表性,以确保模型的泛化能力。
-
数据集划分 :合理划分训练集、验证集和测试集对模型评估至关重要。通常建议的比例是80%训练集、10%验证集和10%测试集。这种划分有助于在训练过程中监测模型性能,并在最终评估时提供公正的性能指标。
-
数据增强 :适当的数据增强技术可以显著提高模型性能。例如,Mosaic数据增强通过将多幅图像拼接在一起,创造更复杂的场景,增加了训练数据的多样性。MixUp技术则通过混合不同图像和标签,生成新的训练样本,有助于提高模型的泛化能力。
通过仔细考虑这些因素,研究者可以选择最适合其研究目标的数据集,或构建高质量的自定义数据集,从而为YOLO模型的训练和评估奠定坚实的基础。
2、评估指标
在目标检测任务中,评估指标的选择对于衡量模型性能至关重要。除了前文提到的mAP和FPS外,还有一些常用的评估指标值得我们关注:
-
F1 Score
F1 Score是Precision和Recall的调和平均值,计算公式为:
F1 = 2 * (Precision * Recall) / (Precision + Recall)
这个指标在处理类别不平衡的数据集时特别有用,因为它同时考虑了精确率和召回率。在实际应用中,F1 Score可以帮助我们在检测精度和召回率之间寻找平衡点。
-
Log-average Miss Rate
Log-average Miss Rate主要用于评估小目标检测的性能。它的计算方法是在不同的false positive per image (fp pi)阈值下计算miss rate,然后对miss rate取对数并计算平均值。这个指标特别适合评估在小目标检测任务中模型的表现。
-
Localization Error
Localization Error用于评估模型在目标定位方面的性能。它通常通过计算预测边界框和真实边界框之间的距离来衡量。例如,可以使用IoU(Intersection over Union)作为定位误差的度量:
IoU = Area of Overlap / Area of Union
IoU值越接近1,表示定位越准确。
-
Classification Error
Classification Error用于评估模型在目标分类方面的性能。它可以简单地通过计算分类错误的百分比来得到:
Classification Error = (Number of Misclassified Objects) / (Total Number of Objects)
在实际应用中,我们通常需要综合考虑多个评估指标来全面评估模型的性能。例如,在安防监控系统中,我们可能更关注高精度和快速响应,因此会重点考察mAP和FPS;而在医疗影像诊断中,我们可能更注重召回率和定位准确性,因此会更多地关注F1 Score和Localization Error。
通过合理选择和组合这些评估指标,我们可以更全面地评估YOLO模型在不同应用场景下的性能,从而为模型优化和改进提供有力的支持。
3、消融实验
在验证YOLO模型创新点的有效性时,精心设计的消融实验扮演着至关重要的角色。这种实验方法通过逐步移除或修改模型的不同组件,帮助研究者深入了解每个部分对整体性能的具体贡献。对于YOLO模型,我们可以重点关注以下几个关键组件:
-
Backbone网络 :通过比较不同复杂度的Backbone(如ResNet-50 vs ResNet-101)对检测性能的影响,我们可以评估深度网络结构的重要性。
-
Neck结构 :研究FPN等特征金字塔网络对多尺度目标检测的效果,特别是对小目标检测的提升。
-
Loss函数设计 :比较传统IoU损失与NWD损失在不同场景下的表现,特别是在处理小目标和密集场景时的差异。
-
数据增强技术 :分析Mosaic和MixUp等高级数据增强方法对模型泛化能力的提升效果。
在进行消融实验时,我们需要遵循以下步骤:
-
确定基准模型:选择未经改进的基本YOLO版本作为参照。

- 设计实验组:针对每个创新点创建多个变体,每次只改变一个变量。
- 控制实验条件:保持其他参数和设置一致,确保实验的可比性。
- 进行多次重复:每组实验至少重复三次,取平均值以减小随机性影响。
- 全面评估:不仅要关注mAP等主要指标,还要考虑FPS、内存消耗等次要指标。
通过这种系统性的消融实验,我们可以全面评估每个创新点对YOLO模型性能的实际贡献,为进一步优化模型提供可靠的依据。例如,假如我们发现某种新的损失函数设计在提高小目标检测精度方面有显著效果,但同时略微降低了整体检测速度,那么就可以根据具体应用场景的需求,在精度和速度之间寻求最佳平衡点。
论文写作
1、结构规划
在撰写YOLO相关论文时,通常遵循以下结构:
-
Introduction :简述目标检测的重要性及YOLO算法的独特优势。

- Methodology :详细介绍模型架构、关键技术改进和训练策略。
- Experiments :描述实验设置、数据集选择和评估指标。
- Results :呈现详细的实验结果,包括性能对比和消融实验分析。
- Discussion :讨论模型的优势、局限性和潜在的应用场景。
- Conclusion :总结研究成果,展望未来发展方向。
这种结构清晰地展示了从理论到实践的过程,便于读者理解YOLO算法的核心概念和实际应用价值。
2、图表制作
在展示YOLO模型实验结果时,制作清晰直观的图表至关重要。以下是一些关键建议:
-
折线图 :用于比较不同算法在同一指标(如mAP或FPS)上的表现。

- 柱状图 :适合展示同一算法在不同数据集或配置下的性能差异。
- 散点图 :可用于可视化模型精度与计算复杂度之间的权衡关系。
- 热力图 :适用于展示不同超参数组合对模型性能的影响。
在制作图表时,应确保:
-
标签清晰
-
图例完整
-
轴刻度适当
-
使用颜色区分不同数据系列
通过精心设计的图表,可以更有效地传达实验结果,帮助读者快速理解YOLO模型的性能特征。
3、参考文献
在撰写YOLO相关论文时,以下几篇关键文献不容忽视:
-
《YOLOv3: An incremental improvement》(2018)
-
《YOLOv4: Optimal Speed and Accuracy of Object Detection》(2020)
-
《YOLO9000: Better, Faster, Stronger》(2016)
这些文献涵盖了YOLO算法的重要发展里程碑,详细介绍了模型架构、训练策略和技术改进。它们不仅是理解YOLO演进过程的核心资料,还为后续研究提供了宝贵的参考基础。对于深入探讨YOLO算法的各个方面,这些文献都是不可或缺的资源。
投稿策略
1、期刊/会议选择
在选择投稿YOLO相关研究的期刊或会议时,应考虑以下高质量平台:
-
顶级会议:CVPR、ICCV、ECCV
-
杰出期刊:IEEE Transactions on Pattern Analysis and Machine Intelligence (TPAMI)、International Journal of Computer Vision (IJCV)
这些平台在计算机视觉领域享有盛誉,特别适合发表突破性的YOLO算法改进成果。对于专注特定应用领域的研究,如智能视频监控系统的YOLO应用,《微型机与应用》等专业期刊可能是理想之选。选择时应权衡研究主题、创新程度和受众群体,以找到最匹配的出版渠道。
2、审稿回应
在收到审稿意见后,作者应采取积极主动的态度,系统性地回应每一点批评。对于概念模糊的问题,可通过澄清术语定义和补充解释来改善。若审稿人指出英文表述不当,建议使用在线工具验证语法,并聘请母语为英语的专业人士润色。面对专业质疑,作者应深入分析问题根源,提供额外实验证据或理论论证,并虚心接受建设性反馈,视情况邀请领域专家共同完善稿件。在整个过程中,保持开放心态和专业精神至关重要。

论文最重要的就是选题和 idea 创新点设计。
一个好的idea就能决定文章是能发一区的水平还是四区的水平。
其次是成稿与润色。
如何把你的实验过程生动的用文字描述出来,如何给审稿人呈现一个具有创新性的故事。
而这些环节都有一套有效的方法论和套路,这些成熟的经验,都可以直接复用!

也许就是这次的指导,你现在的困境,就被导师的一个思路解决,少走几个月弯路!
也不会有什么损失,为什么不试一试呢?
YOLO算法论文撰写与投稿全攻略

1553

被折叠的 条评论
为什么被折叠?



