道路车辆 -静电放电产生的电干扰试验方法
本文件规定的静电放电试验适用于汽车电子模块和整车。
2023标准主要变更如下:
- 新增带场耦合平面的替代试验装置,适用于部件(通电试验)的直接放电和间接放电;
- 部件(通电试验)间接放电的最小放电次数从 50 次改为 10 次;
- 部件(通电试验)间接放电的连续单次放电间隔从 50 毫秒改为 1 秒;
- 部件封装和操作试验方法(不通电试验)中,新增对被测设备(DUT)引脚放电的接地连接要求;
- 将电子模块(通电试验)的可选试验装置和程序从附录移至正文;
- 新增附录 G
适用范围
规定了评估车用电子模块所需的静电放电(ESD)试验方法,适用于以下场景下的放电:
- 装配过程中的静电放电;
- 维修人员引发的静电放电
- 乘员引发的静电放电。
本文件描述了台架电子模块试验和整车试验的程序,适用于所有类型的道路车辆,无论其推进系统类型(如火花点火发动机、柴油发动机、电动机等)。
本文件规定的台架电子模块试验适用于任何被测设备(DUT),包括非屏蔽电源供电的 DUT、屏蔽电源供电的 DUT、自供电 DUT 等。
本文件不适用于烟火模块。
名词解释
- 烟火模块
在ISO 10605等汽车电子标准中,“烟火模块”指的是依靠微型爆炸或快速燃烧的化学反应(烟火技术)来执行关键安全功能的装置。
它之所以被特别排除在ESD抗扰度标准之外,是由于其独特的工作原理和安全要求与常规电子模块有根本不同。
烟火模块,在汽车工程中更常被称为 “Pyrotechnic Devices” 或 “烟火发生器”。简单来说,对烟火模块施加模拟人体静电的放电测试,不是在检验其“抗扰度”,而是在进行“引爆”或“破坏性”测试,这与功能验证的目的相悖,且极其危险。
汽车中最典型的烟火模块包括:
安全气囊气体发生器
安全带预紧器
气囊式行人保护系统
某些电池切断装置
- “非屏蔽电源供电的DUT”和“屏蔽电源供电的DUT”
在汽车电子ESD测试中,“非屏蔽电源供电的DUT”和“屏蔽电源供电的DUT”指的是两种不同的电源线配置,它们直接影响静电放电干扰进入被测设备的路径和严重程度。
核心区别在于电源线缆是否包含一个额外的金属屏蔽层,这个屏蔽层是改变干扰路径的关键。
- 空气放电
使试验发生器放电尖端靠近被测设备(DUT),通过在 DUT 表面产生电弧实现放电的试验方法。
接触放电
使试验发生器放电尖端与被测设备(DUT)接触,通过发生器放电开关触发放电的试验方法。
被测设备(DUT)
定义为待试验的单个部件或多个部件的组合。
直接放电
直接对被测设备(DUT)进行的放电。
静电放电(ESD)
在接触前或在静电场感应下,不同电位物体之间发生的静电电荷转移。
静电放电发生器
模拟人体静电放电模型的仪器。
接地平面(GP)
用作公共参考电位的平面导电表面。
注 :试验电压也应以接地平面为参考。
保持时间
放电前,由于泄漏导致试验电压下降不超过 10% 的时间间隔。
人体静电放电模型
表征汽车环境下带电人体作为静电放电源的无源元件网络和电压。
间接放电
对被测设备(DUT)附近的耦合平面进行的放电。
注 :放电电流会产生瞬态场,可能对 DUT 造成影响。间接放电模拟人体对 DUT 附近物体的放电。
表面
连续的外壳区域、缝隙或开口。
示例:开关、按键开关、接触点、通风口、扬声器开口。
试验条件
- 环境温度:(25±10)℃;
- 相对湿度:20%~60。
若用户之间约定其他数值,应在试验报告中注明。
试验设备和仪器
静电放电发生器
通用参数

Storage capacitances 储存电容
Discharge resistances 放电电阻
注:
若静电放电发生器由外部交流或直流电源供电,或由独立单元控制,且相关电缆未与发生器放电回流电缆捆扎在一起,则可能有非预期电流通过这些电缆。
静电放电发生器应能产生至少每秒 20 次的重复放电率,直至手动控制,且放电电流波形无任何劣化。
发生器应通过内部尖端电压监控功能持续检测尖端电压。
对于接触放电,建议使用尖端到地电阻为 1 兆欧 ±20% 的接地放电电阻,以防止预脉冲电压产生(预脉冲电压可能导致试验结果不可重复);电阻的固定方式不得改变电流波形。
若 2 米长的放电回流电缆不足以满足试验需求(如被测设备较高),可使用最长不超过 3 米的电缆,但需保证波形符合要求(如由制造商确认或通过校准验证)。
静电放电发生器的保护接地端子应连接至设施保护接地。
放电尖端
接触式放电尖端

空气放电尖端

注:当空气放电试验电压高于 15 千伏时,可使用更大的尖端(如直径 20 毫米~30 毫米)以避免预放电。
接地平面
接地平面(GP)应由金属板(如铜、黄铜或铝)制成,最小厚度为 0.25 毫米。
注:若使用铝板,应注意防止氧化影响接地连接效果。
场耦合平面
“场耦合平面”是汽车电子静电放电(ESD)抗扰度测试中的一个核心测试装置,用于模拟“间接放电” 的干扰场景。
-
核心目的:模拟真实世界中的间接干扰
想象一个真实场景:人体静电没有直接释放到车内的导航屏幕上,而是释放到了旁边的金属空调出风口或门把手上。这次放电产生的强大电磁场会辐射并耦合到敏感的导航仪电路上,可能导致其失灵。场耦合平面就是实验室里精确复现这一“场干扰”的专用工具。 -
核心结构:一个精心设计的金属组合件
在ISO 10605标准中,场耦合平面通常是一个由铜或黄铜制成的金属结构,主要包含三个部分:
部件功能描述
主体平面
放置被测设备的平台,尺寸通常比设备每边至少大10毫米。
场耦合带
一条约40毫米宽的金属带,用于铺设和固定被测设备的所有线束(电源线、信号线等)。干扰电流流过此带时,会在其周围产生测试所需的电磁场。
放电岛
位于场耦合带上的特定位置(通常是直径80毫米的圆形区域),是测试时ESD放电枪的精确接触点。
- 工作原理:制造可控的“干扰场”
测试时,操作人员将ESD放电枪(接触放电模式)直接打在“放电岛”上。放电电流会瞬间流过整个场耦合平面和场耦合带。这个快速变化的电流会产生一个强烈的瞬态电磁场,该电磁场会感应到铺设在耦合带上的线束和附近的设备外壳上,从而模拟出间接放电的干扰效果。
常见的“接地平面(GP)”进行对比:
| 场耦合平面 | 接地平面(GP) | |
|---|---|---|
| 主要角色 | “攻击者”/干扰源:主动产生辐射干扰场 | “舞台”/参考基准:提供稳定的地电位和电流返回路径 |
| 测试类型 | 专门用于间接放电测试 | 用于直接放电(对设备本身放电)和作为间接测试的基础平台 |
| 与设备关系 | 设备被动承受其产生的电磁场干扰 | 设备直接连接或放置在其上 |
| 引入目的 | 使间接放电测试更真实、更可控、可重复,解决了早期方法(仅对接地平面放电)模拟不准确的难题。 | 是几乎所有EMC测试的基础必备设施。 |
简单来说,它是一个为了更真实地模拟静电放电通过电磁场对车辆电子设备产生间接干扰,而专门设计的标准化金属测试夹具。
绝缘快
耗散垫
不确定度
放电模式
放电可采用两种模式:接触放电和空气放电。
接触式放电
空气放电
接触放电模式电流要求

静电放电发生器的接触放电波形计算示例


部件抗扰度试验方法(通电试验)
通则
本试验包括对 DUT 的直接放电和间接放电,具体如下:
- 直接放电(接触放电或空气放电模式):直接对 DUT 及车辆用户可触及的远端部件(如开关表面、诊断连接器、按钮等)进行放电;
- 间接放电(接触放电模式):模拟对 DUT 附近其他导电物体的放电,通过中间金属(如接地平面)进行放电。
- 对电子模块进行直接放电和间接放电试验时,静电放电发生器应根据 DUT 在车辆中的安装位置配置 330 皮法或 150 皮法的电容,以及 330 欧的电阻;若未明确 DUT 的安装位置,则默认使用 330 皮法的电容。
- 导电表面应采用接触放电模式进行试验,使用接触放电尖端;若试验计划有要求,也可对导电表面进行空气放电。
- 非导电表面应采用空气放电模式进行试验,使用空气放电尖端。
- 在对 DUT 进行任何放电前,应确认静电放电发生器已按照规定完成放电验证程序,且验证时间在实验室或客户规定的期限内。
仅含接地平面的试验装置 (直接放电试验程序)

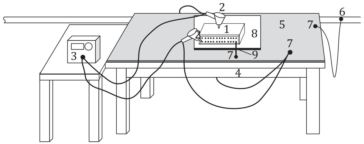
关键部件:1-DUT;2 - 静电放电发生器;3 - 静电放电发生器主机;4 - 非导电试验台;5 - 接地平面;6 - 设施保护接地;7 - 接地平面连接;8-DUT 的用户可触及部分;9 - 负载模拟器;10 - 电池;11 - 绝缘块(用于非底盘安装式 DUT);12 - 绝缘块
将 DUT 放置在接地平面上。底盘安装式 DUT 应直接放置并连接至接地平面;非底盘安装式 DUT 应通过绝缘块放置在接地平面上。
可以将底盘想象成整个车辆的“公共接地面”。底盘安装式DUT就像直接固定在“大地”上的设备,而非底盘安装式DUT则是“悬浮”在空中的设备。ISO 10605标准通过不同的测试布置,精准地复现了这两种状态,从而评估DUT在不同接地条件下的ESD抗扰度。

- 试验时,DUT 应连接所有功能试验所需的外围设备(如负载模拟器、人工网络、电源、电池等)。试验线束长度应为(1700±300)毫米(或试验计划约定的其他长度)。
- 放电过程中,发生器的放电回流电缆应与 DUT 及所有连接至 DUT 的电缆保持至少 200 毫米的距离(以减少该电缆的耦合效应对试验结果的影响)。
含接地平面和场耦合平面的试验装置 (直接放电试验程序)
将底盘安装式 DUT 放置并连接至场耦合平面;非底盘安装式 DUT 应通过耗散垫放置在场耦合平面上。

键部件:1 - 场耦合平面;2 - 场耦合条;3 - 放电岛;4-DUT 和线束隔离块;5-DUT;6-DUT 线束;7 - 电池;8 - 负载模拟器;9 - 人工网络(试验计划有要求时);10 - 接地参考点;11-DUT 本地接地(如需);12 - 耦合装置接地参考点;13 - 设施保护接地;14 - 接地平面;15 - 静电放电发生器主机;16 - 耗散垫(用于非底盘安装式 DUT);17-DUT 的用户可触及部分;18 - 绝缘块 注:尺寸公差为 ±5%
试验方法
放电应施加于 DUT 正常工作时可触及的所有点(如表面、按键开关、开关、连接器、天线、显示器等,以及带引脚的诊断插头)。对于非接地导电表面,应在规定的试验电压下测试其后续电压击穿情况。具体的放电点应在试验计划中明确。
车辆乘员可触及的 DUT 应使用配置 330 皮法电容和 330 欧电阻的静电放电模拟器进行试验;其他 DUT 使用配置 150 皮法电容和 330 欧电阻的模拟器。
进行直接放电时,静电放电发生器的放电尖端应尽可能垂直于 DUT 表面;若无法实现,与 DUT 表面的夹角至少应为 45°。
所有试验点均应在规定的试验电压等级和两种极性下进行试验。
对于每种极性和试验电压,应按照试验计划的规定,对 DUT 的每个导电试验点至少进行 3 次接触放电:将带有接触放电尖端的静电放电模拟器置于设备上,然后进行放电。
对于每种极性和试验电压,应在每个规定的放电点至少进行 3 次空气放电:将带有空气放电尖端的静电放电模拟器移向放电点。
连续单次放电的时间间隔应足够长,以确保试验产生的电荷完全消散,但不得少于 1 秒,确保每次新放电前电荷已清除。
可采用以下方法:
两次放电之间,通过 1 兆欧 ±20% 的接地放电电阻,依次触碰放电点和外壳,以清除残留电荷;或两次放电之间间隔至少 2 秒;
延长两次连续放电的时间间隔,通过自然电荷衰减消除积累的电荷;
可使用离子风机加速 DUT 向环境的 “自然” 放电过程,但进行空气放电试验时应关闭离子风机。
试验电压(符合附录 C 的要求)应至少分两个等级逐步升高至最高试验等级。
注:部分产品可能在特定试验电压下表现出敏感性,而在其他电压等级下则无此现象。
应按照试验计划的要求,监测并记录 DUT 的性能。
仅含接地平面的试验装置 (间接放电试验程序)
间接放电通过将静电放电发生器的接触放电施加于接地平面或场耦合平面,模拟对 DUT 附近放置或安装的物体的放电。

1-DUT;2 - 静电放电发生器;3 - 静电放电发生器主机;4 - 非导电试验台;5 - 接地平面;6 - 设施保护接地;7 - 接地平面连接;8-DUT 的用户可触及部分;9 - 负载模拟器;10 - 电池;11 - 绝缘块(用于非底盘安装式 DUT);12 - 绝缘块
含接地平面和场耦合平面的试验装置(间接放电试验程序)

关键部件:1 - 场耦合平面;2 - 场耦合条;3 - 放电岛;4-DUT 和线束隔离块;5-DUT;6-DUT 线束;7 - 电池;8 - 负载模拟器;9 - 人工网络(试验计划有要求时);10 - 接地参考点;11-DUT 本地接地(如需);12 - 耦合平面接地参考点;13 - 设施保护接地;14 - 接地平面;15 - 静电放电发生器主机;16-DUT 的用户可触及部分;17 - 绝缘块 注:尺寸公差为 ±5%
试验方法
除非另有规定,静电放电模拟器应配置 330 皮法电容和 330 欧电阻,并使用接触放电尖端。
放电应施加于:
接地平面(若使用仅含接地平面的试验装置);
每个规定放电岛的线束未覆盖的自由区域中心(若使用含接地平面和场耦合平面的试验装置)。
对于每种极性和试验电压,应在接地平面的每个放电点或每个放电岛至少施加 10 次接触放电。
连续单次放电的时间间隔应为 1 秒或更长。
除非试验计划另有规定,对于有多根线束分支(即独立连接器)的 DUT,应分别对各分支及合并后的线束束进行试验。
不得直接对线束进行放电。若线束束中包含的线路超过 40 根,应将线束束翻转 180°,重复进行间接耦合试验。
对耦合平面进行放电(即间接放电)时,放电尖端应与接地平面处于同一平面,接触平面边缘;不得对接地平面的平面部分进行放电。
注 1:在特定情况下(如专用软件分析),可采用更高重复频率的放电。
试验电压应至少分两个等级逐步升高至最高试验等级。
注 2:部分产品可能在特定试验电压下表现出敏感性,而在其他电压等级下则无此现象。
部件封装和操作试验方法(不通电试验)
本试验模拟装配过程或维修场景中人体对 DUT 的放电,通过直接对 DUT 施加放电进行试验。
在对 DUT 进行任何放电前,应确认静电放电发生器已按照规定完成放电验证程序,且验证时间在实验室或客户规定的期限内。
封装和操作试验中,静电放电发生器应配置 150 皮法电容和试验计划规定的电阻值。
试验前应制定试验计划,包括以下内容:
- 详细的试验装置配置;
- 试验点;
- 电子模块的工作模式;
- 任何特殊说明及与标准试验的差异。
试验程序
通则
本试验通过对所有引脚和触点(低压连接器、高压连接器等)进行直接接触放电,和 / 或对装配过程或维修场景中可触及的所有表面和点进行空气放电的方式进行。
静电放电应至少施加于 DUT 操作过程中可触及的每个连接器引脚、外壳、按钮、开关、显示器、外壳螺钉和外壳开口。对于本程序,凹陷的连接器引脚视为操作过程中可触及。
如需接触凹陷的连接器引脚,应使用截面积为 0.5 平方毫米~2 平方毫米、最大长度为 25 毫米的绝缘实心导线。
若连接器引脚间距较近,难以直接放电,可采用与凹陷引脚相同的绝缘实心导线(截面积 0.5 平方毫米~2 平方毫米、最大长度 25 毫米)进行放电。
放电应施加于试验计划中规定的所有试验点。放电极性可能影响产品响应,试验中应同时使用两种极性的放电,以确定其对 DUT 的影响。
试验装置
除非另有规定,DUT 应放置在接地平面上的耗散垫上。
仅对引脚进行试验时,应在 DUT 的接地引脚与接地平面之间连接一根铜质接地线,最大长度为 200 毫米,最小截面积为 0.5 平方毫米(或试验计划约定的其他规格)。若存在多个非电连接的接地引脚,每个接地引脚应单独连接一根接地线。
进行直接放电(接触放电模式和 / 或空气放电模式)时,静电放电发生器的放电回流电缆应连接至接地平面。
静电放电试验台(试验表面)与其他导电结构(如屏蔽室表面)的最小距离应为 100 毫米。
验证应使用同一根发生器放电回流电缆连接至接地平面。放电过程中,发生器的放电回流电缆应与 DUT 保持至少 200 毫米的距离。

关键部件:1-DUT;2 - 静电放电发生器;3 - 静电放电发生器主机;4 - 非导电试验台;5 - 接地平面;6 - 设施保护接地;7 - 接地点(位于接地平面上);8 - 耗散垫(除非另有规定);9 - 接地连接线(仅用于引脚直接放电试验)
试验方法
进行直接放电时,静电放电发生器的放电尖端应尽可能垂直于 DUT 表面;若无法实现,与 DUT 表面的夹角至少应为 45°。
对于每种规定的试验电压和极性,应在所有直接放电试验点至少施加 3 次放电。连续单次放电的时间间隔应足够长,以确保试验产生的电荷完全消散,但不得少于 1 秒,确保每次新放电前电荷已清除。
可采用以下方法:
通过 1 兆欧 ±20% 的接地放电电阻,按以下顺序短暂连接以消除电荷积累:(1)放电位置与地之间;(2)DUT 接地点与地之间。若有证据表明该导线对试验结果无影响,可保持其与 DUT 的连接;
延长两次连续放电的时间间隔,通过自然电荷衰减消除积累的电荷;
可使用离子风机加速 DUT 向环境的 “自然” 放电过程,但进行空气放电试验时应关闭离子风机。
试验电压应至少分两个等级逐步升高至最高试验等级。
注:部分产品可能在特定试验电压下表现出敏感性,而在其他电压等级下则无此现象。
试验完成后,DUT 应能成功通过完整的功能测试,无永久性损坏。此外,应按照要求,在静电放电试验后测试电磁兼容性(EMC)保护电路(如分别确保电磁干扰抗扰度和发射的输入电容)的有效性。
整车试验方法
对于仅从车辆内部易触及的区域,选择 330 皮法的发生器电容,电阻可选 330 欧或 2000 欧,最大试验电压可限制为 15 千伏;对于仅从车辆外部易触及的点,选择 150 皮法的电容,电阻可选 330 欧或 2000 欧,最大试验电压为 25 千伏;对于从车辆内外均可触及的区域,应分别使用两种发生器电容,最大试验电压分别为 15 千伏和 25 千伏。
在对 DUT 进行任何放电前,应确认静电放电发生器已按照规定完成放电验证程序,且验证时间在实验室或客户规定的期限内。
导电表面应采用接触放电模式进行试验,使用接触放电尖端;若试验计划有要求,也可对导电表面进行空气放电。
非导电表面应采用空气放电模式进行试验,使用空气放电尖端。

关键部件:1-DUT;2 - 静电放电发生器;3 - 静电放电发生器主机;4 - 静电放电发生器接地连接;5 - 金属板 a)内部点 b)外部点
5290

被折叠的 条评论
为什么被折叠?



